JP5083288B2 - 半導体冷却構造 - Google Patents

半導体冷却構造 Download PDF

Info

Publication number
JP5083288B2
JP5083288B2 JP2009222276A JP2009222276A JP5083288B2 JP 5083288 B2 JP5083288 B2 JP 5083288B2 JP 2009222276 A JP2009222276 A JP 2009222276A JP 2009222276 A JP2009222276 A JP 2009222276A JP 5083288 B2 JP5083288 B2 JP 5083288B2
Authority
JP
Japan
Prior art keywords
flow path
cooling
semiconductor
refrigerant
flow
Prior art date
Legal status (The legal status is an assumption and is not a legal conclusion. Google has not performed a legal analysis and makes no representation as to the accuracy of the status listed.)
Active
Application number
JP2009222276A
Other languages
English (en)
Other versions
JP2011071398A (ja
Inventor
幸男 細野
誠 岡村
泰幸 酒井
憲治 舩橋
優 山平
雅也 殿本
弘洋 一条
貴史 栗原
Current Assignee (The listed assignees may be inaccurate. Google has not performed a legal analysis and makes no representation or warranty as to the accuracy of the list.)
Denso Corp
Original Assignee
Denso Corp
Priority date (The priority date is an assumption and is not a legal conclusion. Google has not performed a legal analysis and makes no representation as to the accuracy of the date listed.)
Filing date
Publication date
Application filed by Denso Corp filed Critical Denso Corp
Priority to JP2009222276A priority Critical patent/JP5083288B2/ja
Publication of JP2011071398A publication Critical patent/JP2011071398A/ja
Application granted granted Critical
Publication of JP5083288B2 publication Critical patent/JP5083288B2/ja
Active legal-status Critical Current
Anticipated expiration legal-status Critical

Links

Images

Classifications

    • HELECTRICITY
    • H05ELECTRIC TECHNIQUES NOT OTHERWISE PROVIDED FOR
    • H05KPRINTED CIRCUITS; CASINGS OR CONSTRUCTIONAL DETAILS OF ELECTRIC APPARATUS; MANUFACTURE OF ASSEMBLAGES OF ELECTRICAL COMPONENTS
    • H05K7/00Constructional details common to different types of electric apparatus
    • H05K7/20Modifications to facilitate cooling, ventilating, or heating
    • H05K7/2089Modifications to facilitate cooling, ventilating, or heating for power electronics, e.g. for inverters for controlling motor
    • H05K7/20927Liquid coolant without phase change

Landscapes

  • Cooling Or The Like Of Electrical Apparatus (AREA)
  • Cooling Or The Like Of Semiconductors Or Solid State Devices (AREA)

Description

本発明は、半導体素子を内蔵する半導体モジュールと、該半導体モジュールに密着配置された冷却管とを有する半導体冷却構造に関する。
例えば、インバータ等の電力変換装置には、半導体素子を内蔵した複数の半導体モジュールが配設され、該半導体モジュールに大きな電流が流れるよう構成されている。そのため、半導体素子の温度上昇を防ぐべく、半導体素子を冷却するための冷却媒体を流通させる冷却管を、半導体モジュールに密着配置した構造がある(特許文献1参照)。
そして、上記冷却管の内側の冷媒流路にはフィンが設けられ、半導体素子の表面の温度分布に応じて、冷媒流路の幅方向に不均一な冷却効率分布を冷却面に形成するように、フィンを配列している。ここで、幅方向とは、冷却媒体の流通する方向および冷却面に直交する方向との双方に直交する方向である。
ところが、上記従来の半導体冷却構造においては、冷媒流路における冷却面に直交する方向に温度分布が生じるおそれがある。すなわち、冷却管における半導体モジュールと密着する冷却面に近い位置を流れる冷却媒体は、半導体モジュールから離れた位置を流れる冷却媒体よりも、温度が上昇しやすい。そのため、冷却媒体と半導体モジュールとの間の熱交換が効率的ではない。
また、冷却管の両面に半導体モジュールを密着配置する場合においても、冷却管の一方の面に配置した半導体素子と他方の面に配置した半導体素子との間に発熱量の差があると、上記従来の半導体冷却構造では、冷媒流路における冷却面に直交する方向に温度分布が生じるおそれがある。その結果、同様に、半導体素子の冷却効率を充分に高めることが困難となるおそれがある。
そこで、図20に示すごとく、半導体モジュールと密着する冷却面33に垂直な冷却面垂直方向Xに冷媒流路32を第一流路321と第二流路322とに仕切る中間プレート34を設けた構成が提案されている。そして、図21に示すごとく、第一流路321と第二流路322とのそれぞれに、傾斜フィン4を設けると共に中間プレート34に連通部341を設け、第一流路321と第二流路322とを交互に、スパイラル状に冷却媒体が流れるようにしている。これにより、冷媒流路32における冷却面垂直方向Xの温度分布の形成を抑制している(特許文献2の図2、図3等)。
特開2006−60114号公報 特開2009−188387号公報
しかしながら、図21(A)、(C)に示すごとく、第一流路321及び第二流路322における冷却面幅方向Zの両端には、傾斜フィン4が形成されていない端部領域91があり、この端部領域91が、冷媒入口311から冷媒出口312へ向かって一直線状に連続している。そのため、一旦この端部領域91に到達した冷却媒体Wが、冷媒入口311から冷媒出口312へ向かって一直線状に流れてしまうことがある。すなわち、この領域に到達した冷却媒体が、第一流路321から第二流路322へ、あるいは第二流路322から第一流路321へと移動し難くなるおそれがある。
しかも、上記端部領域91には、冷却すべき半導体素子21も対向配置されていないことが多く、その場合は端部領域91を流れ続ける冷却媒体Wが半導体素子21の冷却に使われることなく冷媒出口312から排出されてしまうこととなる。それゆえ、半導体素子21の冷却効率を高めることが困難となるおそれがある。
本発明は、かかる問題点に鑑みてなされたもので、半導体素子の冷却効率に優れた半導体冷却構造を提供しようとするものである。
本発明は、半導体素子を内蔵する半導体モジュールと、該半導体モジュールに密着配置された冷却管とを有する半導体冷却構造において、
上記冷却管は、冷却媒体を導入する冷媒入口と、上記冷却媒体を排出する冷媒出口とを有すると共に、上記冷媒入口から上記冷媒出口に向かって上記冷却媒体を流通させる冷媒流路を内部に有し、かつ、上記半導体モジュールと密着する冷却面に垂直な冷却面垂直方向に上記冷媒流路を第一流路と第二流路とに仕切る中間プレートを有し、
該中間プレートは、上記冷媒入口から上記冷媒出口へ直線的に向かう冷媒流通方向に直交すると共に上記冷却面に平行な冷却面幅方向の両端部に、上記第一流路と上記第二流路とを連通する連通部を有し、
上記第一流路と上記第二流路とには、それぞれ、上記冷媒流通方向に対して斜めに形成された傾斜フィンを設けてなり、上記第一流路における上記傾斜フィンと、上記第二流路における上記傾斜フィンとは、互いに傾斜方向が逆であり、
また、上記第一流路及び上記第二流路は、素子配置領域における上記冷却面幅方向の両端の流路端部に、上記冷媒流通方向の冷却媒体の直線的な流れを阻止する仕切部を形成してなり、上記素子配置領域は、上記冷媒流通方向において当該冷却管に密着配置された上記半導体モジュールの上記半導体素子のうち最上流の半導体素子と最下流の半導体素子との配置領域及びこれらの間の領域であり、
上記冷却媒体が上記連通部を介して上記第一流路と上記第二流路とを交互に流れるよう構成されていることを特徴とする半導体冷却構造にある(請求項1)。
上記半導体冷却構造においては、冷媒流路に第一流路と第二流路とを仕切る中間プレートを設け、第一流路と第二流路とには傾斜フィンを設けることによって、冷却媒体が第一流路と第二流路とを交互に流れるよう構成してある。これにより、冷却管における冷却面直交方向の温度分布の形成を抑制している。
そして、特に本発明においては、上記第一流路及び上記第二流路が、素子配置領域に、上記冷媒流通方向の冷却媒体の直線的な流れを阻止する仕切部を形成してなる。これにより、第一流路或いは第二流路において傾斜フィンに沿って、冷媒流路の冷却面幅方向の一端に到達した冷却媒体が、冷媒流通方向へ直線的に流れてしまうことを抑制することができる。これにより、一旦、冷媒流路の冷却面幅方向の両端へ到達した冷却媒体を、第二流路から第一流路へ、あるいは第一流路から第二流路へと移動させ、再度傾斜フィンに沿って冷却管における冷却面幅方向の中心へ向かって流すことができる。
そのため、冷却媒体が、効率的に、第一流路と第二流路とを交互にスパイラル状に移動する。
また、仕切部は、上記素子配置領域に形成されているため、少なくとも、半導体素子と熱交換をした、あるいはこれから熱交換をする冷却媒体を、効率的に第一流路と第二流路との間で移動させることができる。その結果、効果的に半導体素子を冷却することが可能となる。
すなわち、仮に仕切部が素子配置領域から外れた位置にのみ形成されているとすると、素子配置領域においては、結局、冷却媒体が冷媒流路の冷却面幅方向の端部において、冷媒流通方向へ直線的に流れてしまうこととなり、上述の効果を得ることが困難となる。
以上のごとく、本発明によれば、半導体素子の冷却効率に優れた半導体冷却構造を提供することができる。
実施例1における、半導体冷却構造の説明図。 (A)図1のA−A線矢視断面図、(B)図1のB−B線矢視断面図、(C)図1のC−C線矢視断面図。 実施例1における、仕切部を設けた冷却管の冷却面側から見た正面図。 図3のD−D線矢視断面図。 図3のE−E線矢視断面図。 実施例1における、半導体冷却構造を用いた電力変換装置の説明図。 実施例1における、片面に半導体モジュールが密着配置された冷却管に流れる冷却媒体の流れの説明図。 実施例1における、両面に発熱量の異なる半導体モジュールが密着配置された冷却管に流れる冷却媒体の流れの説明図。 実施例1における、冷却面垂直方向Xから見た冷却媒体の流れの説明図。 実施例1における、図2のF−F線矢視断面相当の説明図。 実施例1における、(A)図2のG−G線矢視断面相当の説明図、(B)図2のH−H線矢視断面相当の説明図。 実施例2における、(A)図1のA−A線矢視断面相当図、(B)図1のB−B線矢視断面相当図、(C)図1のC−C線矢視断面相当図。 実施例2における、冷却面垂直方向Xから見た冷却媒体の流れの説明図。 実施例2における、図12のI−I線矢視断面相当の説明図。 実施例2における、(A)図12のJ−J線矢視断面相当の説明図、(B)図12のK−K線矢視断面相当の説明図。 実施例3における、IGBTとFWDとを冷却面幅方向Zに並べた半導体冷却構造において、冷却面垂直方向Xから見た冷却媒体の流れの説明図。 実施例3における、IGBTとFWDとを冷媒流通方向Yに並べた半導体冷却構造において、冷却面垂直方向Xから見た冷却媒体の流れの説明図。 実施例4における、(A)図1のA−A線矢視断面相当図、(B)図1のB−B線矢視断面相当図、(C)図1のC−C線矢視断面相当図。 実施例4における、(A)図18のL−L線矢視断面相当の説明図、(B)図18のM−M線矢視断面相当の説明図。 従来例における、冷却管の断面図。 従来例における、(A)図20のN−N線矢視断面図、(B)図20のO−O線矢視断面図、(C)図20のP−P線矢視断面図。
本発明(請求項1)において、上記半導体モジュールは、上記半導体素子を1個内蔵していてもよいし、複数個内蔵していてもよい。
また、上記半導体冷却構造は、たとえば、インバータ等の電力変換装置の一部を構成する構造とすることができる。
また、上記仕切部は、上記傾斜フィンの端部に連続又は近接して配置されていることが好ましい(請求項2)。
この場合には、上記仕切部において直線的な流れを阻止された冷却媒体を、傾斜フィンに沿って流通させやすくなり、冷媒流路内の圧力損失を低減することができる。
また、上記冷却面幅方向の両端の一対の上記流路端部に設けた上記仕切部は、互いに同じ上記傾斜フィンの端部に連続又は近接して配置されていることが好ましい(請求項3)。
この場合には、仕切部とこれに端部が連続又は近接する傾斜フィンとによって、冷媒流路が複数の流路ブロックに分けられることとなる。これによって、冷媒流路内における圧力損失を低減して、冷却媒体を円滑に流通させることができる。
また、上記流路端部は、上記仕切部によって上記冷媒流通方向に仕切られた複数の端部セルを有し、上記第一流路及び上記第二流路は、上記傾斜フィンによって仕切られた複数の小流路を有し、各端部セルには、上記第一流路の複数の上記小流路の端部及び上記第二流路の複数の上記小流路の端部が面していることが好ましい(請求項4)。
この場合には、複数の小流路をそれぞれ流れてきた冷却媒体が、上記端部セルにおいて一旦混合されることとなる。これによって、各小流路を流れる冷却媒体の温度分布を抑制して、半導体素子を均一に冷却することができる。
また、上記流路端部は、上記仕切部によって上記冷媒流通方向に仕切られた複数の端部セルを有し、上記第一流路及び上記第二流路は、上記傾斜フィンによって仕切られた複数の小流路を有し、各端部セルには、上記第一流路の各小流路の端部及び上記第二流路の各小流路の端部が面していることが好ましい(請求項5)。
この場合には、各小流路を流れる冷却媒体が、冷媒入口付近から冷媒出口付近まで、他と交わることがほとんどない状態で流れる。そのため、圧力損失を小さくすることができ、半導体素子の冷却効率を向上させることができる。
また、上記仕切部は、上記傾斜フィンと連結されていることが好ましい(請求項6)。
この場合には、冷却媒体を第一流路から第二流路へ、あるいは第二流路から第一流路へ、効率的に導くことができる。また、冷却媒体の圧力損失を小さくすることができる。
また、上記仕切部は、上記冷却管の外表面を構成する外側プレートの一部を上記冷媒流路側に突出させてなることが好ましい(請求項7)。
この場合には、上記仕切板を容易に形成することができる。そして、上記仕切部を設けるに当たって特別に部材を用いる必要もないため、安価な半導体冷却構造を得ることができる。
(実施例1)
本発明の実施例にかかる半導体冷却構造につき、図1〜図11を用いて説明する。
本例の半導体冷却構造1は、図1に示すごとく、半導体素子21を内蔵する半導体モジュール2と、該半導体モジュール2に密着配置された冷却管3とを有する。
冷却管3は、冷却媒体を導入する冷媒入口311と、冷却媒体を排出する冷媒出口312とを有する。冷却管3の内部には、冷媒入口311から冷媒出口312に向かって冷却媒体を流通させる冷媒流路32が形成されている。また、冷却管3は、半導体モジュール2と密着する冷却面33に垂直な冷却面垂直方向Xに冷媒流路32を第一流路321と第二流路322とに仕切る中間プレート34を有する。
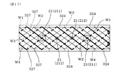
図4に示すごとく、中間プレート34は、冷媒入口311から冷媒出口312へ直線的に向かう冷媒流通方向Yに直交すると共に冷却面33に平行な冷却面幅方向Zの両端部に、第一流路311と第二流路312とを連通する連通部341を有する。
図2に示すごとく、第一流路311と第二流路312とには、それぞれ、冷媒流通方向Yに対して斜めに形成された傾斜フィン4を設けてなり、第一流路311における傾斜フィン4(図2(A))と、第二流路312における傾斜フィン4(図2(C))とは、互いに傾斜方向が逆である。
また、第一流路311及び第二流路312は、素子配置領域Vにおける冷却面幅方向Zの両端の流路端部323に、冷媒流通方向Yの冷却媒体の直線的な流れを阻止する仕切部5を形成してなる。ここで、素子配置領域Vは、冷媒流通方向Yにおいて当該冷却管3に密着配置された半導体モジュール2の半導体素子21のうち最上流の半導体素子21と最下流の半導体素子21との配置領域及びこれらの間の領域である。
そして、冷却管3は、図7、図8に示すごとく、冷却媒体Wが連通部341を介して第一流路311と第二流路312とを交互に流れるよう構成されている。なお、図7、図8における半導体モジュール2は、半導体素子21と片面側の放熱板22のみ表し、他の記載は省略してある。
図2(A)、(C)に示すごとく、仕切部5は、傾斜フィン4の端部に連続又は近接して配置されている。そして、冷却面幅方向Xの両端の一対の流路端部323に設けた仕切部5は、互いに同じ傾斜フィン4の端部に連続又は近接して配置されている。
流路端部323は、仕切部5によって冷媒流通方向Yに仕切られた複数の端部セル324を有する。また、第一流路321及び第二流路322は、傾斜フィン4によって仕切られた複数の小流路325を有する。各端部セル324には、第一流路321の複数の小流路325の端部及び第二流路322の複数の小流路325の端部が面している。
図2(B)に示すごとく、中間プレート34に設けた連通部341は、冷媒流通方向Yに複数に分割されており、分割された各連通部341は各端部セル324に対して一対一にて面している。
また、複数の傾斜フィン4は、一定の間隔を持って互いに平行に形成されており、冷媒流通方向Yに対する傾斜フィン4の傾斜角度は、例えば45°とすることができる。
冷却管3は、アルミニウム又はその合金からなる複数の部材から構成される。すなわち、図4、図5に示すごとく、冷却管3は、外殻部を構成する一対の外殻プレート35と、該一対の外殻プレート35の間に配される中間プレート34とをその周縁においてろう付け等によって接合してなる。一対の外殻プレート35は、周縁の内側において、互いに離れる方向へ後退した凹部を形成している。この凹部と平板状の中間プレート34の両面との間に、それぞれ第一流路321及び第二流路322が形成される。
仕切部5は、図3、図5に示すごとく、冷却管3の外表面を構成する外側プレートすなわち上記外殻プレート35の一部を冷媒流路32側に突出させてなる。すなわち、冷却管3における冷却面幅方向Zの上下端部付近において、外殻プレート35を、流路端部323へ向かって、例えばクサビ状に屈曲変形させる。この仕切部5は、傾斜フィン4の端部に接触又は近接する。
外殻プレート35及び中間プレート34は、図2に示すごとく、上記冷媒流通方向Yに長い形状を有する。外殻プレート35は、その両端部に、それぞれ冷媒入口311と冷媒出口312とを形成してなる。また、中間プレート34は、外殻プレート35の冷媒入口311と冷媒出口312とにそれぞれ対向する位置に、開口部342を設けてある。また、上述のごとく、中間プレート35における冷却面幅方向Zの両端部付近には、それぞれ連通部341が、冷媒流通方向Yに沿って複数形成されている。
また、中間プレート34と外殻プレート35との間には、互いに平行な複数の傾斜フィン4が配設されている。これらの傾斜フィン4は、中間プレート34と外殻プレート35とのいずれか一方又は双方にろう付け接合されている。
図2(A)に示すごとく、第一流路321に配設された傾斜フィン4は、冷媒入口311から中間プレート34における上側の連通部341uに向かって、又は下側の連通部341dから上側の連通部341uもしくは冷媒出口312に向かって形成されている。
一方、図2(C)に示すごとく、第二流路322に配設された傾斜フィン4は、冷媒入口311から中間プレート34における下側の連通部341dに向かって、又は上側の連通部341uから下側の連通部341dもしくは冷媒出口312に向かって形成されている。
ここで、「上側」、「下側」とは、図2における上下を意味する便宜上の表現であって、本発明の構成を特に限定するものではない。以下においても同様である。
このように構成された冷却管3の主面(冷却面33)に、図1に示すごとく、半導体モジュール2が密着配置されている。本例において、半導体モジュール2は、2個の半導体素子21を内蔵している。また、半導体モジュール2は、これら2個の半導体素子21を挟持するように配設された一対の放熱板22を有する。半導体素子21は、一方の放熱板22とは直接接触しているが、他方の放熱板22との間には、熱伝導性に優れたスペーサ23を介在させている。
半導体素子21としては、例えば、MOSFET(Metal Oxide Semiconductor Field Effect Transistor)、IGBT(Insulated Gate Bipolar Transistor)、ダイオード等がある。本例においては、半導体モジュール2に内蔵した一方の半導体素子21をIGBTとし、他方の半導体素子21をフライホイールダイオードとする。
また、半導体モジュール2は、冷却管3における一方の冷却面33と他方の冷却面に対してそれぞれ2個ずつ、冷媒流通方向Yに並べて配置してある。また、半導体モジュール2における放熱板22と冷却管3との間には、熱伝導性に優れた絶縁部材を介在させてもよい。
本例の半導体冷却構造1は、インバータ等の電力変換装置の一部を構成する構造とすることができ、図6に示すごとく、冷却管3と半導体モジュール2とを交互に積層した積層型の冷却構造とすることができる。この冷却構造において、積層方向に隣り合う冷却管3同士は、その冷媒流通方向Yの両端部にそれぞれ設けた冷媒入口311及び冷媒出口312を互いに連結管36によって連結している。積層方向の一端に配される冷却管3には、冷却管3の積層体全体に冷却媒体Wを導入するための冷媒導入管371と、積層体全体から冷却媒体Wを排出するための冷媒排出管372とを配設してなる。
連結管36は、冷却管3の一部を構成する外殻プレート35の一部によって構成してもよいし、冷却管3とは別部材を用いて冷媒入口311と冷媒出口312に固定してもよい。
また、積層方向の両端に配される冷却管3は、片側にのみ半導体モジュール2と密着する冷却面33を有し、それ以外の冷却管3は、図1に示したように両側に冷却面33を有する。
このように構成することにより、冷媒導入管371から導入された冷却媒体Wは、連結管36を介して複数の冷却管3に分配される。すなわち、冷却媒体Wは、各冷却管3における冷媒入口311から導入されて、それぞれの冷媒流路32を流れる。このとき、冷却媒体Wは、各冷却管3に密着配置された半導体モジュール2との間で熱交換を行う。熱交換を行った後の冷却媒体Wは、各冷却管3における冷媒出口312から、連結管36を通じて冷媒排出管372に達し、排出される。
特に、本例においては、図2に示すごとく、冷却面幅方向Xの両端の一対の流路端部323に設けた仕切部5は、互いに同じ傾斜フィン4の端部に連続又は近接して配置されており、流路端部323は、仕切部5によって複数の端部セル324に分けられている。そのため、冷媒流路32の全体においても、所定の傾斜フィン4とその両端に隣接する仕切部5とによって、複数の流路ブロック326に分割されている。
本例においては、図9に示すごとく、流路ブロック326は2つ形成されており、冷媒入口311付近において一旦各流路ブロック326に分配された冷却媒体W1、W2は、冷媒出口312付近まで互いに混ざり合うことがほとんどない状態で流れる。なお、図9において、第一流路321を流れる冷却媒体W1、W2は破線、第二流路322を流れる冷却媒体W3、W4は実線にて表す。図13、図16、図17においても同様とする。また、図9、図13、図16、図17においては、傾斜フィン4の記載を省略してある。
そして、それぞれの流路ブロック326は、第一流路321と第二流路322とを交互にスパイラル状に移動するように形成され、これに沿って、冷却媒体W1、W2が流れる。また、各流路ブロック326内においては、傾斜フィン4の間の小流路325をそれぞれ流れた冷却媒体W1(W2)が、流路端部323の端部セル324において混ざり合う。ただし、上記のごとく、一方の流路ブロック326を流れる冷却媒体W1と、他方の流路ブロック326を流れる冷却媒体W2とは、傾斜フィン4が形成されている冷媒流通方向Yの領域においては、全く或いは殆ど混ざり合うことがない。
そして、半導体素子21は、各流路ブロック326の略中央位置に対向するように配置されている。
具体的には、まず、冷媒入口311から、第一流路321及び第二流路322にそれぞれ導入された冷却媒体W1、W2は、図10に示すごとく複数に分割された小流路325に更に分かれて斜めに流れる。ここで、最初に第一流路321に導入された冷却媒体W1はすべて一つの流路ブロック326に導入されることとなり、最初に第二流路322に導入された冷却媒体W2はすべて他の一つの流路ブロック326に導入されることとなる。
すなわち、図9に示すごとく、最初に第一流路321に導入された冷却媒体W1は、各小流路325を斜め上方に向って流れ、上側の流路端部323に達する。ここで、流路端部323は、上述のごとく、流路ブロック326に対応する端部セル324に分かれており、複数の小流路325の端部が面している。そのため、第一流路321における複数の小流路325を斜め上方に流れてきた冷却媒体W1は、この端部セル324の中で互いに混ざり合う。そして、図11(A)に示すごとく、冷却媒体W1は、端部セル324において、第二流路322側へ移動し、第二流路322における複数の小流路325に再び分かれて、斜め下方へ向かって流れていく。
一方、最初に第二流路322に導入された冷却媒体W2は、各小流路325を斜め下方に向って流れて下側の流路端部323に達し、端部セル324において混ざり合う。そして、図11(B)に示すごとく、冷却媒体W2は、第二流路322から第一流路321へ移動し、第一流路321における複数の小流路325に再び分かれて、斜め上方へ向かって流れていく。
このような冷却媒体W1、W2の動きが二つの流路ブロック326においてそれぞれ繰り返される(図9)。
そして、各流路ブロック326の略中央位置に対向配置された半導体素子21と熱交換をした後、冷却媒体W1、W2は冷媒出口312から排出される。
冷却媒体としては、水やアンモニア等の自然冷媒、エチレングリコール系の不凍液を混入した水、フロリナート等のフッ化炭素系冷媒、HCFC123、HFC134a等のフロン系冷媒、メタノール、アルコール等のアルコール系冷媒、アセトン等のケトン系冷媒等の冷媒等を用いることができる。
次に、本発明の作用効果につき説明する。
本例の半導体冷却構造1においては、冷媒流路32に第一流路321と第二流路322とを仕切る中間プレート34を設け、第一流路321と第二流路322とには傾斜フィン4を設けることによって、図7〜図9に示すごとく、冷却媒体Wが第一流路321と第二流路322とを交互に流れるよう構成してある。これにより、冷却管3における冷却面直交方向Xの温度分布の形成を抑制している。
すなわち、図7に示すごとく、冷却管3における一方の冷却面33にのみ半導体モジュール2が密着配置している場合や、図8に示すごとく、冷却管3における両方の冷却面33に発熱量の異なる半導体モジュール2が密着配置している場合などにも、冷媒流路32における冷却面垂直方向Xに温度分布が生じることを抑制することができる。
その結果、冷媒流路32に供給される冷却媒体の全体を効率的に、半導体素子21との間の熱交換に利用することができる。それ故、半導体冷却構造1は、半導体素子21の冷却効率を向上させることができる。
そして、特に本発明においては、第一流路321及び第二流路322が、素子配置領域Vに、冷媒流通方向Yの冷却媒体の直線的な流れを阻止する仕切部5を形成してなる。これにより、第一流路321或いは第二流路322において傾斜フィン4に沿って、冷媒流路32の冷却面幅方向Zの一端(流路端部323)に到達した冷却媒体が、冷媒流通方向Yへ直線的に流れてしまうことを抑制することができる。これにより、一旦、冷媒流路32の冷却面幅方向Zの両端(流路端部323)へ到達した冷却媒体を、第二流路322から第一流路321へ、あるいは第一流路321から第二流路322へと移動させ、再度傾斜フィン4に沿って冷却管3における冷却面幅方向Zの中心へ向かって流すことができる。
そのため、冷却媒体が、効率的に、第一流路321と第二流路322とを交互にスパイラル状に移動する(図7〜図9)。
また、仕切部5は、素子配置領域Vに形成されているため、少なくとも、半導体素子21と熱交換をした、あるいはこれから熱交換をする冷却媒体を、効率的に第一流路321と第二流路322との間で移動させることができる。その結果、効果的に半導体素子21を冷却することが可能となる。
すなわち、仮に仕切部5が素子配置領域Vから外れた位置にのみ形成されているとすると、素子配置領域Vにおいては、結局、冷却媒体が流路端部323において、冷媒流通方向Yへ直線的に流れてしまうこととなり、上述の効果を得ることが困難となる。
また、仕切部5は、傾斜フィン4の端部に連続又は近接して配置されているため、仕切部5において直線的な流れを阻止された冷却媒体を、傾斜フィン4に沿って流通させやすくなり、冷媒流路32内の圧力損失を低減することができる。
また、冷却面幅方向Zの両端の一対の流路端部323に設けた仕切部5は、互いに同じ傾斜フィン4の端部に連続又は近接して配置されているため、仕切部5とこれに端部が連続又は近接する傾斜フィン4とによって、冷媒流路32が複数の流路ブロック326に分けられることとなる。これによって、冷媒流路32内における圧力損失を低減して、冷却媒体を円滑に流通させることができる。
また、流路端部323における各端部セル324には、第一流路321の複数の小流路325の端部及び第二流路322の複数の小流路325の端部が面している。そのため、複数の小流路325をそれぞれ流れてきた冷却媒体が、端部セル324において一旦混合されることとなる。これによって、各小流路325を流れる冷却媒体の温度分布を抑制して、半導体素子21を均一に冷却することができる。
また、仕切部5は、外殻プレート35の一部を冷媒流路32側に突出させてなるものであり、容易に形成することができる。そして、仕切部5を設けるに当たって特別に部材を用いる必要もないため、安価な半導体冷却構造1を得ることができる。
なお、仕切部5は、傾斜フィン4と連結されていることが好ましいが、仕切部5と傾斜フィン4との間に隙間が形成されていてもよい。仕切部5と傾斜フィン4とが互いに連結されていると、冷却媒体を、第一流路321から第二流路322へ、あるいは第二流路322から第一流路321へ、効率的に導くことができ、冷却媒体の圧力損失を小さくすることができる。ただし、仕切部5と傾斜フィンと4の間に隙間が形成されていても、本発明の効果は充分に発揮しうる。
以上のごとく、本例によれば、半導体素子の冷却効率に優れた半導体冷却構造を提供することができる。
(実施例2)
本例は、図12〜図15に示すごとく、冷媒流路32を、更に細かく流路ブロック326に分割した例である。すなわち、本例においては、図12に示すごとく、傾斜フィン4の端部に連続又は近接する仕切部5の数を増やし、実施例1における流路ブロック326を更に二つに分割した流路ブロック327を設けている。
この場合、冷媒入口311から、第一流路321及び第二流路322にそれぞれ導入された冷却媒体Wは、図14に示すごとく複数に分割された小流路325に更に分かれる。ここで、上端又は下端が仕切部5と連続または近接する傾斜フィン40の上側と下側とでは、流路ブロック327が異なっている。それゆえ、最初に第一流路321に導入された冷却媒体W1、W2は、二つの流路ブロック327に分割され、最初に第二流路322に導入された冷却媒体W3、W4も、二つの流路ブロック327に分割されることとなる。
図13に示すごとく、最初に第一流路321から二つの流路ブロック327にそれぞれ導入された冷却媒体W1、W2は、小流路325を斜め上方に向って流れ、上側の流路端部323の端部セル324に達する。この端部セル324内において、それぞれの流路ブロック327における冷却媒体W1同士、冷却媒体W2同士が混ざり合う。そして、図15(A)に示すごとく、冷却媒体W1、W2は、端部セル324において、第二流路322側へ移動し、第二流路322における複数の小流路325に再び分かれて、図13に示すごとく、斜め下方へ向かって流れていく。すなわち、二つの流路ブロック327の冷却媒体W1、W2は、互いに混ざり合うことなく並行して流れる。
一方、最初に第二流路322から二つの流路ブロック327にそれぞれ導入された冷却媒体W3、W4は、小流路325を斜め下方に向って流れ、下側の流路端部323の端部セル324に達する。この端部セル324内において、それぞれの流路ブロック327における冷却媒体W3同士、冷却媒体W4同士が混ざり合う。そして、図15(B)に示すごとく、冷却媒体W3、W4は、端部セル324において、第一流路321側へ移動し、第一流路321における複数の小流路325に再び分かれて、図13に示すごとく、斜め上方へ向かって流れていく。すなわち、二つの流路ブロック327の冷却媒体W3、W4は、互いに混ざり合うことなく並行して流れる。
このような冷却媒体Wの動きが4つの流路ブロック327においてそれぞれ繰り返される。
そして、各流路ブロック327には、それぞれ一つの半導体素子21が対向配置されることとなり、一つの流路ブロック327を流れる冷却媒体が、一つの半導体素子21を冷却するよう構成されている。
その他は、実施例1と同様である。
本例の場合には、各半導体素子21が、温度の低い冷却媒体と熱交換しやすくなるため、冷却効率を向上させることができる。
その他、実施例1と同様の作用効果を有する。
(実施例3)
本例は、図16、図17に示すごとく、実施例2と同様の構成の冷却管3を用いた半導体冷却構造1の例であって、異なる種類の半導体素子21を異なる流路ブロック327に対向配置した例である。
たとえば、半導体素子21として、IGBT(絶縁ゲートバイポーラトランジスタ)211とFWD(フライホイールダイオード)212とがある場合、それぞれを、異なる流路ブロック327に対向配置させる。
なお、図16に示す半導体冷却構造1は、異なる半導体素子21同士を冷却面幅方向Zに並べたものであり、図17に示す半導体冷却構造1は、異なる半導体素子21同士を冷却流通方向Yに並べたものであり、
その他は、実施例2と同様である。
本例の場合には、発熱量の大きい半導体素子21(IGBT211)によって温度上昇した冷却媒体が、発熱量の小さい半導体素子21(FWD212)と熱交換することを避けることが可能となる。その結果、効果的に複数種類の半導体素子21を冷却することができる。
その他、実施例2と同様の作用効果を有する。
(実施例4)
本例は、図18、図19に示すごとく、各端部セル324には、第一流路321の各小流路325の端部及び第二流路322の各小流路325の端部が面している例である。
すなわち、流路端部323に面した傾斜フィン4の端部のすべてに対して、仕切部5が連続又は近接している。
また、中間プレート34には、一つの小流路325に対して一つ連通部341が形成されている。
このような構成においては、各小流路325を流れて流路端部323に達した冷却媒体Wは、流路端部323においても、図19(A)、(B)に示すごとく、他の小流路325を流れてきた冷却媒体Wと交わることなく、第一流路321から第二流路322、あるいは第二流路322から第一流路321へ移動する。
その他は、実施例1と同様である。
この場合には、各小流路325を流れる冷却媒体が、冷媒入口311付近から冷媒出口312付近まで、他と交わることがほとんどない状態で流れる。そのため、各小流路325における圧力損失を均一にすることができ、冷却媒体の流量分布がなくなり、半導体素子21を効率的に冷却することができる。
その他、実施例1と同様の作用効果を有する。
なお、仕切部5の形成手段については、上記実施例に示したものに限られるものではなく、種々の手段が考えられる。
たとえば、一部又はすべての傾斜フィン4を冷媒流路32における冷却面幅方向Zの端部にまで延長することにより、その延長部分を仕切部5とすることもできる。
また、連通部341の間の枠部分を仕切部5とすることもできる。
あるいは、すべての傾斜フィン4を冷媒流路32における冷却面幅方向Zの端部にまで延長すると共に、冷却管3を冷却面幅方向Zに開口させ、その開口部に仕切部5を設けたヘッダ部材を取り付けることにより、ヘッダ部材内を流路端部323とすると共に仕切部5を配置することもできる。
1 半導体冷却構造
2 半導体モジュール
21 半導体素子
3 冷却管
311 冷媒入口
312 冷媒出口
32 冷媒流路
321 第一流路
322 第二流路
33 冷却面
34 中間プレート
4 傾斜フィン
5 仕切部
X 冷却面垂直方向
Y 冷媒流通方向
Z 冷却面幅方向

Claims (7)

  1. 半導体素子を内蔵する半導体モジュールと、該半導体モジュールに密着配置された冷却管とを有する半導体冷却構造において、
    上記冷却管は、冷却媒体を導入する冷媒入口と、上記冷却媒体を排出する冷媒出口とを有すると共に、上記冷媒入口から上記冷媒出口に向かって上記冷却媒体を流通させる冷媒流路を内部に有し、かつ、上記半導体モジュールと密着する冷却面に垂直な冷却面垂直方向に上記冷媒流路を第一流路と第二流路とに仕切る中間プレートを有し、
    該中間プレートは、上記冷媒入口から上記冷媒出口へ直線的に向かう冷媒流通方向に直交すると共に上記冷却面に平行な冷却面幅方向の両端部に、上記第一流路と上記第二流路とを連通する連通部を有し、
    上記第一流路と上記第二流路とには、それぞれ、上記冷媒流通方向に対して斜めに形成された傾斜フィンを設けてなり、上記第一流路における上記傾斜フィンと、上記第二流路における上記傾斜フィンとは、互いに傾斜方向が逆であり、
    また、上記第一流路及び上記第二流路は、素子配置領域における上記冷却面幅方向の両端の流路端部に、上記冷媒流通方向の冷却媒体の直線的な流れを阻止する仕切部を形成してなり、上記素子配置領域は、上記冷媒流通方向において当該冷却管に密着配置された上記半導体モジュールの上記半導体素子のうち最上流の半導体素子と最下流の半導体素子との配置領域及びこれらの間の領域であり、
    上記冷却媒体が上記連通部を介して上記第一流路と上記第二流路とを交互に流れるよう構成されていることを特徴とする半導体冷却構造。
  2. 請求項1に記載の半導体冷却構造において、上記仕切部は、上記傾斜フィンの端部に連続又は近接して配置されていることを特徴とする半導体冷却構造。
  3. 請求項2に記載の半導体冷却構造において、上記冷却面幅方向の両端の一対の上記流路端部に設けた上記仕切部は、互いに同じ上記傾斜フィンの端部に連続又は近接して配置されていることを特徴とする半導体冷却構造。
  4. 請求項1〜3にいずれか一項に記載の半導体冷却構造において、上記流路端部は、上記仕切部によって上記冷媒流通方向に仕切られた複数の端部セルを有し、上記第一流路及び上記第二流路は、上記傾斜フィンによって仕切られた複数の小流路を有し、各端部セルには、上記第一流路の複数の上記小流路の端部及び上記第二流路の複数の上記小流路の端部が面していることを特徴とする半導体冷却構造。
  5. 請求項1〜3にいずれか一項に記載の半導体冷却構造において、上記流路端部は、上記仕切部によって上記冷媒流通方向に仕切られた複数の端部セルを有し、上記第一流路及び上記第二流路は、上記傾斜フィンによって仕切られた複数の小流路を有し、各端部セルには、上記第一流路の各小流路の端部及び上記第二流路の各小流路の端部が面していることを特徴とする半導体冷却構造。
  6. 請求項1〜5のいずれか一項に記載の半導体冷却構造において、上記仕切部は、上記傾斜フィンと連結されていることを特徴とする半導体冷却構造。
  7. 請求項1〜6のいずれか一項に記載の半導体冷却構造において、上記仕切部は、上記冷却管の外表面を構成する外側プレートの一部を上記冷媒流路側に突出させてなることを特徴とする半導体冷却構造。
JP2009222276A 2009-09-28 2009-09-28 半導体冷却構造 Active JP5083288B2 (ja)

Priority Applications (1)

Application Number Priority Date Filing Date Title
JP2009222276A JP5083288B2 (ja) 2009-09-28 2009-09-28 半導体冷却構造

Applications Claiming Priority (1)

Application Number Priority Date Filing Date Title
JP2009222276A JP5083288B2 (ja) 2009-09-28 2009-09-28 半導体冷却構造

Publications (2)

Publication Number Publication Date
JP2011071398A JP2011071398A (ja) 2011-04-07
JP5083288B2 true JP5083288B2 (ja) 2012-11-28

Family

ID=44016361

Family Applications (1)

Application Number Title Priority Date Filing Date
JP2009222276A Active JP5083288B2 (ja) 2009-09-28 2009-09-28 半導体冷却構造

Country Status (1)

Country Link
JP (1) JP5083288B2 (ja)

Families Citing this family (9)

* Cited by examiner, † Cited by third party
Publication number Priority date Publication date Assignee Title
JP5287922B2 (ja) * 2011-04-19 2013-09-11 株式会社豊田自動織機 冷却装置
JP6319060B2 (ja) * 2014-11-26 2018-05-09 株式会社デンソー 熱交換器
JP6555159B2 (ja) * 2016-03-08 2019-08-07 株式会社デンソー 冷却チューブ
JP6610505B2 (ja) * 2016-11-01 2019-11-27 株式会社デンソー 積層型熱交換器、および積層型熱交換器の製造方法
JP6627720B2 (ja) * 2016-11-04 2020-01-08 株式会社デンソー 積層型熱交換器
JP6844499B2 (ja) * 2017-10-24 2021-03-17 三菱電機株式会社 冷却装置及びこれを備えた半導体モジュール
JP7024870B2 (ja) * 2018-06-27 2022-02-24 富士電機株式会社 冷却装置、半導体モジュールおよび車両
EP3715767A1 (en) * 2019-03-27 2020-09-30 Cooler Master Co., Ltd. Heat dissipation plate and method for manufacturing the same
FR3154799A1 (fr) * 2023-10-26 2025-05-02 Valeo Systemes Thermiques Dispositif de régulation thermique

Family Cites Families (2)

* Cited by examiner, † Cited by third party
Publication number Priority date Publication date Assignee Title
JP4881583B2 (ja) * 2005-06-27 2012-02-22 株式会社豊田自動織機 パワーモジュール用ヒートシンク
JP4766110B2 (ja) * 2008-01-10 2011-09-07 株式会社デンソー 半導体冷却構造

Also Published As

Publication number Publication date
JP2011071398A (ja) 2011-04-07

Similar Documents

Publication Publication Date Title
JP5083288B2 (ja) 半導体冷却構造
JP4766110B2 (ja) 半導体冷却構造
JP6512266B2 (ja) 半導体装置
JP5975110B2 (ja) 半導体装置
JP5983565B2 (ja) 冷却器
JP6227970B2 (ja) 半導体装置
JP4985382B2 (ja) 半導体冷却構造
JP5565459B2 (ja) 半導体モジュール及び冷却器
CN103503131B (zh) 半导体模块用冷却器以及半导体模块
KR101731337B1 (ko) 냉각튜브 및 방열판 일체형 배터리 팩
KR20140088089A (ko) 반도체 모듈용 냉각기 및 반도체 모듈
JP2001035981A (ja) 半導体素子用冷却器及びこれを用いた電力変換装置
US20090178788A1 (en) Semiconductor cooling structure
JP2011233688A (ja) 半導体冷却器
US20250300041A1 (en) Double-side-cooling power semiconductor package
JP5445305B2 (ja) 冷却器
JP2014086505A (ja) 電力変換装置
JP5145996B2 (ja) 冷却器及びこれを用いた電力変換装置
CN116646320A (zh) 散热器及功率模块
JP2023154549A (ja) 冷却装置
JP5218306B2 (ja) 冷却装置
CN223108961U (zh) 一种电池包组件中的散热组件
US20260082914A1 (en) Cooler and cooling system
TW202541345A (zh) 液冷式散熱板及包含該液冷式散熱板之鋰電池模組
CN121335067A (zh) 一种高效换热的微通道冷板

Legal Events

Date Code Title Description
A621 Written request for application examination

Free format text: JAPANESE INTERMEDIATE CODE: A621

Effective date: 20120126

A977 Report on retrieval

Free format text: JAPANESE INTERMEDIATE CODE: A971007

Effective date: 20120727

TRDD Decision of grant or rejection written
A01 Written decision to grant a patent or to grant a registration (utility model)

Free format text: JAPANESE INTERMEDIATE CODE: A01

Effective date: 20120807

A01 Written decision to grant a patent or to grant a registration (utility model)

Free format text: JAPANESE INTERMEDIATE CODE: A01

A61 First payment of annual fees (during grant procedure)

Free format text: JAPANESE INTERMEDIATE CODE: A61

Effective date: 20120820

R151 Written notification of patent or utility model registration

Ref document number: 5083288

Country of ref document: JP

Free format text: JAPANESE INTERMEDIATE CODE: R151

FPAY Renewal fee payment (event date is renewal date of database)

Free format text: PAYMENT UNTIL: 20150914

Year of fee payment: 3

R250 Receipt of annual fees

Free format text: JAPANESE INTERMEDIATE CODE: R250

R250 Receipt of annual fees

Free format text: JAPANESE INTERMEDIATE CODE: R250

R250 Receipt of annual fees

Free format text: JAPANESE INTERMEDIATE CODE: R250

R250 Receipt of annual fees

Free format text: JAPANESE INTERMEDIATE CODE: R250

R250 Receipt of annual fees

Free format text: JAPANESE INTERMEDIATE CODE: R250

R250 Receipt of annual fees

Free format text: JAPANESE INTERMEDIATE CODE: R250

R250 Receipt of annual fees

Free format text: JAPANESE INTERMEDIATE CODE: R250

R250 Receipt of annual fees

Free format text: JAPANESE INTERMEDIATE CODE: R250

R250 Receipt of annual fees

Free format text: JAPANESE INTERMEDIATE CODE: R250

R250 Receipt of annual fees

Free format text: JAPANESE INTERMEDIATE CODE: R250

R250 Receipt of annual fees

Free format text: JAPANESE INTERMEDIATE CODE: R250