JP5080299B2 - 無端伝動帯用テンショナ - Google Patents

無端伝動帯用テンショナ Download PDF

Info

Publication number
JP5080299B2
JP5080299B2 JP2008022050A JP2008022050A JP5080299B2 JP 5080299 B2 JP5080299 B2 JP 5080299B2 JP 2008022050 A JP2008022050 A JP 2008022050A JP 2008022050 A JP2008022050 A JP 2008022050A JP 5080299 B2 JP5080299 B2 JP 5080299B2
Authority
JP
Japan
Prior art keywords
plunger
valve
endless transmission
pressure
tensioner
Prior art date
Legal status (The legal status is an assumption and is not a legal conclusion. Google has not performed a legal analysis and makes no representation as to the accuracy of the status listed.)
Expired - Fee Related
Application number
JP2008022050A
Other languages
English (en)
Other versions
JP2009180359A (ja
Inventor
治 江水
浩 山浦
竜太 新村
康弘 福吉
隆夫 工東
Current Assignee (The listed assignees may be inaccurate. Google has not performed a legal analysis and makes no representation or warranty as to the accuracy of the list.)
Honda Motor Co Ltd
Original Assignee
Honda Motor Co Ltd
Priority date (The priority date is an assumption and is not a legal conclusion. Google has not performed a legal analysis and makes no representation as to the accuracy of the date listed.)
Filing date
Publication date
Application filed by Honda Motor Co Ltd filed Critical Honda Motor Co Ltd
Priority to JP2008022050A priority Critical patent/JP5080299B2/ja
Priority to ITTO2008A000850A priority patent/IT1392364B1/it
Priority to DE102008059212.9A priority patent/DE102008059212B4/de
Priority to US12/335,117 priority patent/US8002656B2/en
Publication of JP2009180359A publication Critical patent/JP2009180359A/ja
Application granted granted Critical
Publication of JP5080299B2 publication Critical patent/JP5080299B2/ja
Expired - Fee Related legal-status Critical Current
Anticipated expiration legal-status Critical

Links

Images

Classifications

    • FMECHANICAL ENGINEERING; LIGHTING; HEATING; WEAPONS; BLASTING
    • F16ENGINEERING ELEMENTS AND UNITS; GENERAL MEASURES FOR PRODUCING AND MAINTAINING EFFECTIVE FUNCTIONING OF MACHINES OR INSTALLATIONS; THERMAL INSULATION IN GENERAL
    • F16HGEARING
    • F16H7/00Gearings for conveying rotary motion by endless flexible members
    • F16H7/08Means for varying tension of belts, ropes or chains 
    • F16H7/0848Means for varying tension of belts, ropes or chains  with means for impeding reverse motion
    • FMECHANICAL ENGINEERING; LIGHTING; HEATING; WEAPONS; BLASTING
    • F16ENGINEERING ELEMENTS AND UNITS; GENERAL MEASURES FOR PRODUCING AND MAINTAINING EFFECTIVE FUNCTIONING OF MACHINES OR INSTALLATIONS; THERMAL INSULATION IN GENERAL
    • F16HGEARING
    • F16H7/00Gearings for conveying rotary motion by endless flexible members
    • F16H7/08Means for varying tension of belts, ropes or chains 
    • F16H7/0829Means for varying tension of belts, ropes or chains  with vibration damping means
    • F16H7/0836Means for varying tension of belts, ropes or chains  with vibration damping means of the fluid and restriction type, e.g. dashpot
    • FMECHANICAL ENGINEERING; LIGHTING; HEATING; WEAPONS; BLASTING
    • F16ENGINEERING ELEMENTS AND UNITS; GENERAL MEASURES FOR PRODUCING AND MAINTAINING EFFECTIVE FUNCTIONING OF MACHINES OR INSTALLATIONS; THERMAL INSULATION IN GENERAL
    • F16HGEARING
    • F16H7/00Gearings for conveying rotary motion by endless flexible members
    • F16H7/08Means for varying tension of belts, ropes or chains 
    • F16H2007/0802Actuators for final output members
    • F16H2007/0806Compression coil springs
    • FMECHANICAL ENGINEERING; LIGHTING; HEATING; WEAPONS; BLASTING
    • F16ENGINEERING ELEMENTS AND UNITS; GENERAL MEASURES FOR PRODUCING AND MAINTAINING EFFECTIVE FUNCTIONING OF MACHINES OR INSTALLATIONS; THERMAL INSULATION IN GENERAL
    • F16HGEARING
    • F16H7/00Gearings for conveying rotary motion by endless flexible members
    • F16H7/08Means for varying tension of belts, ropes or chains 
    • F16H2007/0802Actuators for final output members
    • F16H2007/0812Fluid pressure
    • FMECHANICAL ENGINEERING; LIGHTING; HEATING; WEAPONS; BLASTING
    • F16ENGINEERING ELEMENTS AND UNITS; GENERAL MEASURES FOR PRODUCING AND MAINTAINING EFFECTIVE FUNCTIONING OF MACHINES OR INSTALLATIONS; THERMAL INSULATION IN GENERAL
    • F16HGEARING
    • F16H7/00Gearings for conveying rotary motion by endless flexible members
    • F16H7/08Means for varying tension of belts, ropes or chains 
    • F16H2007/0802Actuators for final output members
    • F16H2007/0812Fluid pressure
    • F16H2007/0814Fluid pressure with valves opening on surplus pressure
    • FMECHANICAL ENGINEERING; LIGHTING; HEATING; WEAPONS; BLASTING
    • F16ENGINEERING ELEMENTS AND UNITS; GENERAL MEASURES FOR PRODUCING AND MAINTAINING EFFECTIVE FUNCTIONING OF MACHINES OR INSTALLATIONS; THERMAL INSULATION IN GENERAL
    • F16HGEARING
    • F16H7/00Gearings for conveying rotary motion by endless flexible members
    • F16H7/08Means for varying tension of belts, ropes or chains 
    • F16H7/0848Means for varying tension of belts, ropes or chains  with means for impeding reverse motion
    • F16H2007/0859Check valves

Landscapes

  • Engineering & Computer Science (AREA)
  • General Engineering & Computer Science (AREA)
  • Mechanical Engineering (AREA)
  • Devices For Conveying Motion By Means Of Endless Flexible Members (AREA)
  • Safety Valves (AREA)

Description

本発明は、内燃機関の伝動機構に使用されるチェーン、ベルトなどの無端伝動帯に、張力を付与する油圧式テンショナに関する。
油圧式テンショナは、スプリングと油圧とでプランジャを、無端伝動帯へ押し付けることを基本原理とする張力維持機構であり、このような油圧式テンショナには各種の構造のものが提案されている(例えば、特許文献1参照。)。
特開2000−170855公報(図1)
特許文献1の図1において、油圧テンショナ(1)(かっこ付き符号は、特許文献1に記載された符号を意味する。以下同じ)は、シリンダ穴(8)が形成されたテンショナボディ(3)と、シリンダ穴(8)に摺動自在にかつ往復動自在に嵌合されるとともに、テンショナボディ(3)の先端面から突出して伝動用無端可撓部材を押圧可能なプランジャ(7)と、シリンダ穴(8)とプランジャ(7)との間に形成されてプランジャ(7)の突出方向に油圧が作用する油圧室(14)、(15)と、油圧室(14)、(15)と連通したリリーフ通路(21)と、リリーフスプリング(5e)と油圧室(14)、(15)の油圧による開弁力とリリーフスプリング(5e)の付勢力による閉弁力との差に応じてリリーフ通路(21)を開閉する弁体(5b)を有するリリーフ弁(5)を備えており、リリーフ弁(5)が、プランジャ(7)に対してテンショナボディ(3)に設けられている。
ところで、特許文献1の図1から明らかなように、リリーフ弁(5)は、テンショナボディ(3)に設けられているものの、プランジャ(7)の長手方向と直交する方向にプランジャ(7)から離れて配置されている。
すなわち、プランジャ(7)の外にリリーフ弁(5)を配置したため、プランジャ(7)の長手方向と直交する方向にテンショナボディ(3)は大型化し、結果、油圧テンショナ(1)は大型化する。
内燃機関の小型化を促すには、より一層のテンショナの小型化が望まれる。
本発明は、小型の無端伝動帯用テンショナを提供することを課題とする。
請求項1に係る発明は、収納孔が設けられているプランジャボディと、このプランジャボディの前記収納孔に移動可能に収納され前記収納孔から突出された先端で無端伝動帯に押圧するプランジャと、このプランジャと前記プランジャボディとの間に介設され前記プランジャを前記無端伝動帯へ押出すプランジャスプリングと、前記プランジャと前記プランジャボディとの間に形成されオイルポンプから供給された圧油を蓄える高油圧室と、この高油圧室の圧力が低くなると、前記オイルポンプから圧油を前記高油圧室へ供給できるように開き、前記高油圧室の圧力が前記オイルポンプからの圧油より高くなると閉じるチェック弁と、前記高油圧室の圧力が所定値を超えたら圧油を逃がして前記高油圧室の圧力上昇を防止するリリーフ弁と、からなる無端伝動帯用テンショナにおいて、前記チェック弁と前記リリーフ弁が、前記プランジャボディに設けられると共に、前記リリーフ弁が前記プランジャの長手方向と直交する方向での前記プランジャ幅内に配置され、前記プランジャボディの一部を分割し、この分割された分割ボディを前記収納孔に抜き差し可能な形状とし、このような分割ボディに前記チェック弁と前記リリーフ弁とを設け、前記リリーフ弁は、前記分割ボディに設けられている第1弁座部と、この第1弁座部に当接する第1弁体と、この第1弁体を前記第1弁座部に押圧する第1ばねとからなり、前記チェック弁は、前記第1弁体に開けられている通孔の前記高圧室側の縁に設けられている第2弁座部と、この第2弁座部に臨んで配置され前記高油圧室の圧力が高くなるとこの圧力で押されて前記第2弁座部を塞ぐ第2弁体と、からなることを特徴とする。
請求項に係る発明では、チェック弁とリリーフ弁は、プランジャより無端伝動帯から遠い部位に、収納孔の軸に沿って配置されていることを特徴とする。
請求項に係る発明は、分割ボディには、無端伝動帯を臨む面と逆の面に開口する収納凹部が設けられており、この収納凹部にチェック弁とリリーフ弁とを収納し、前記開口を蓋部材で塞ぐようにしたことを特徴とする。
請求項に係る発明では、プランジャは、収納孔に沿って延びる筒部と、この筒部の先端を塞ぐ底部とからなる有底筒体であり、分割ボディは、前記筒部内に延ばされ、前記収納孔より無端伝動帯側に突出している突部を備えており、この突部と前記筒部との間にプランジャスプリングが配置されていることを特徴とする。
請求項1に係る発明では、チェック弁とリリーフ弁が、プランジャボディに設けられている。すなわち、本発明ではプランジャボディにリリーフ弁を設けた。この結果、本発明のプランジャは構造が簡単になり、軽量化及び小型化が図れる。
また、リリーフ弁をプランジャの幅内に配置したので、リリーフ弁の長手方向と直交する方向で、テンショナの小型化が図れる。
加えて、請求項に係る発明は、収納孔に差し込まれる分割ボディにチェック弁とリリーフ弁とを設けた。すなわち、プランジャが収納される収納孔に、リリーフ弁とチェック弁とを備えた分割ボディを差し込むことができる。プランジャの収納孔と、リリーフ弁の収納孔と、チェック弁の収納孔とを個別にプランジャボディに開ける場合に比較して、プランジャボディの小型、小径化が図れ、無端伝動帯用テンショナの小型化が達成できる。
さらに、請求項に係る発明では、リリーフ弁の第1弁体に、通孔を開けると共にチェック弁のための第2弁座部を形成した。すなわち、弁の構成部品を一部共用した。リリーフ弁とチェック弁とを別々に構成するのに比べ、本発明によれば、部品点数の削減が図れ、無端伝動帯用テンショナの小型化が達成できる。
請求項に係る発明では、チェック弁とリリーフ弁は、プランジャより無端伝動帯から遠い部位に、収納孔の軸に沿って配置されている。すなわち、プランジャとチェック弁とリリーフ弁は直列に配置した。この結果、プランジャボディの小径化が図れる。
請求項に係る発明は、分割ボディには、無端伝動帯を臨む面と逆の面に開口する収納凹部が設けられており、この収納凹部にチェック弁とリリーフ弁とを収納し、開口を蓋部材で塞ぐようにした。蓋部材を外すことで、チェック弁とリリーフ弁とを取り出すことができる。この結果、プランジャボディを内燃機関に取付けたままで且つ分割ボディをプランジャボディに取付けたままで、外側から、チェック弁とリリーフ弁とを点検し交換することができる。
すなわち、無端伝動帯用テンショナを全て分解することなく、保守整備作業が行え、保守整備作業の効率を向上させることができる。
請求項に係る発明では、プランジャを有底筒体とし、この有底筒体に分割ボディから突部を差込むようにした。突部の分だけ有底筒体の内容積が減少する。高油圧室の容積が小さければ、油圧によるプランジャの応答性を向上させることができる。
本発明を実施するための最良の形態を添付図に基づいて以下に説明する。なお、図面は符号の向きに見るものとする。
図1は本発明に係る無端伝動帯用テンショナを備えた内燃機関の正面図であり、内燃機関10には、クランクシャフト11にドライブスプロケット12が設けられ、一対のカム軸13、13にドリブンスプロケット14、14が設けられ、3個のスプロケット12、14、14に無端伝動帯としてのカムチェーン15が巻回されている。
ドライブスプロケット12が、図面で時計回りに回されると、カムチェーン15の図右側の部分が緊張して、ドリブンスプロケット14、14が回される。カムチェーン15の図左側の部分が弛み側となる。この弛み側にも張力を付与して、緊張させると、起動時、加速時、減速時、逆転時でもカムチェーン15のばたつきを抑えることができる。
緩み側に、テンショナシュー17を配置し、このテンショナシュー17の下端を揺動点18として、テンショナシュー17の上部を無端伝動帯用テンショナ20で押すことにより、カムチェーン15に張力を付与する構造が採用されている。
無端伝動帯用テンショナ20の詳細な構造を以下に説明する。先ず、分解図に基づいて構成要素の形状を説明し、次に、組立姿を示す。
図2は本発明に係る分割ボディ、リリーフ弁及びチェック弁の分解図であり、分割ボディ30は、後述するプランジャボディの一部を分割した部品であるため、分割ボディと呼ぶ。
分割ボディ30は、鍔部31を備える円柱部32と、この円柱部32より小径とされ円柱部32から延びている突起部33と、円柱部32の中心に開けられた収納凹部34と、この収納凹部34に繋がるように突起部33の中心に開けられた貫通孔35と、収納凹部34の開口側に設けられた雌ねじ部36とからなる。
収納凹部34には、球状の第2弁体38を案内する弁ガイド50が圧入され、この弁ガイド50(詳細後述)に第2弁体38が挿入される。この第2弁体38を抑えるように収納凹部34に有底筒体状の第1弁体40が挿入され、この第1弁体40は、雌ねじ部36にねじ込む蓋部材41により第1ばね42を介して抑えられる。蓋部材41から柱状のばねガイド43が突出している。ばねガイド43は、第1ばね42の組付け作業時にずれるのを防ぐ役割を果たす。また、44はリング状のシムであり、用途は後述する。
第1弁体40は、底45に通孔46が開けられており、この通孔46の外側の縁が面取りされて第2弁座部47が形成されている。この第2弁座部47へ球状の第2弁体38が接触する。
図3は弁ガイドの構造説明図であり、(b)が断面図、(a)は(b)のa矢視図、(c)は(b)のc矢視図である。
(a)に示すように、弁ガイド50は、円柱体51に開けられた大径凹部52と、この大径凹部52の奥に開けられ想像線で示す第2弁体38より僅かに大径とされたガイド凹部53と、大径凹部52に内接するように開けられた複数(実施例では3個)の孔54とからなる。
(b)に示すように、第2弁体38は想像線で示すようにガイド凹部53内を移動可能に案内される。大径凹部52の開放端は面取りされ、第1弁座部55が形成されている。
(c)に示すように、円柱体51に3個の孔54が開けられている。
(a)に示すように、想像線で示す第2弁体38で孔54の開口面積の約半分が塞がれても、残りの開口は塞がれない。すなわち、第2弁体38がガイド凹部53内を図面表裏方向へ移動するため、孔54が完全に塞がれる心配はない。
図4はプランジャとプランジャボディと圧力保持弁の分解図であり、プランジャ60は筒部61と、この筒部61の一端(先端)を閉じる底部62とからなる有底筒体であって、基部が僅かに大径になっており、この大径部63の一端(図右側)が段部64になっている。図示するように、プランジャ60は、単純形状部品であり、筒部61が薄肉であるため、軽量化が図れる。
図右に示すプランジャボディ70には、プランジャ60の大径部63の外径に対応する内径の収納孔71が中央に貫通形成されている。なお、収納孔71は途中にストッパ部72を備え、このストッパ部72より先(図右側)は僅かに小径となっている。
また、収納孔71に平行に保持弁収納室74が設けられ、この保持弁収納室74に、有底形状の保持弁体75と保持ばね76が収納される。
プランジャボディ70に、内燃機関に当てる座面が77が設けられており、この座面77から延ばされ保持弁収納室74に至るようにオイル供給路78が設けられている。また、保持弁収納室74は第1連通路79で収納孔71に連通されている。
73は、保持弁収納室74の長手軸(後述する圧力保持弁94の長手軸)であり、収納孔71の長手軸71Bと平行とされている。
また、収納孔71に平行にエアパージ弁80が設けられている。エアパージ弁80は収納孔71から延びて座面77に至るL字状のパージ通路81の途中に設けられボール状のパージ弁体82と、このパージ弁体82を座面77から離れる方向に付勢するパージばね83と、このパージばね83で押されるパージ弁体82を受けるパージ第1弁座84と、パージ弁体82を挟んでパージ第1弁座84の逆側に設けられるパージ第2弁座85とからなる。エアパージ弁80の作用は後述する。
このような分解図において、収納孔71に図左からプランジャ60を挿入する。このプランジャ60は段部64がストッパ部72に当たるまでは最大限挿入可能である。次に、プランジャ60に突出部33を挿入するようにして、プランジャボディ70に分割ボディ30及びプランジャスプリング56を組付ける。組立後の形態を次図で説明する。
図5は本発明に係る無端伝動帯用テンショナの断面図であり、プランジャボディ70の収納孔71に、プランジャ60が取付けられ、分割ボディ30が取付けられている。収納孔71と円柱部32との間にOリング86を介在させことで、この間のシール性を確保する。また、鍔部31でシール材87を圧縮することで、保持弁収納室74から外部へ流体が漏れることを防止する。また、シム44の厚さを変えることで、第1ばね42の設定およびリリーフ弁のストローク量の設定を変更することができる。
また、プランジャ60の内部は圧油を蓄える高油圧室88となるが、突起部33を深く進入させることで、高油圧室88の容積を減少させることができる。
図6は図5の6矢視図であり、図面奥のプランジャボディ70には一対の取付け部89、89が設けられている。この取付け部89、89はプランジャボディ70を内燃機関へ固定する際に用いる部位であり、例えばボルト孔である。このような取付け部89、89は、高い位置に配置するエアパージ弁80や低い位置に配置されている保圧弁収納室74とは干渉しない位置に配置される。
図面斜めに延びた鍔部31は、2本のボルト90、90でプランジャボディ70に固定される。
破線で示すプランジャ60を囲うように、エアパージ弁80、保圧弁収納室74、取付け部89、89及びボルト90、90が配置されている。このように配置することで、プランジャボディ70の外径を小さくすることができる。
図7は図6の7−7線断面図であり、保圧弁収納室74の上部から流体を逃がす溝91を鍔部31に設け、溝91の一端から座面77に至る連通路92をプランジャボディ70に設ける。保圧弁収納室74に保持弁体75を嵌めただけであるから、オイル供給路78から微量のオイルが保持ばね76側へ漏れることがある。漏れたオイルは、溝91と連通路92を介して排出すれば、保持弁体75の移動は円滑になる。
また、保圧弁収納室74内の空気が圧縮されないので保圧弁体75の移動はより円滑になる。
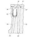
以上の構成からなる無端伝動帯用テンショナの作用を説明する。
図8は無端伝動帯用テンショナの作用説明図であり、94はチェック弁、95はリリーフ弁、96は圧力保持弁であり、これらの弁94、95、96の詳細は後述するが、チェック弁94とリリーフ弁95は、プランジャ60の幅内(外径内)に配置されている。リリーフ弁95をプランジャ60の幅内に配置したので、リリーフ弁95の長手方向と直交する方向で、プランジャボディ70の小型化が図れ、テンショナの小型化が図れる。
図で、オイルポンプ93を作動させると、オイル供給路78に高圧の圧油を供給することができる。圧油の圧力が一定以上になると、保持ばね76に抗して保持弁体75が移動し、弁開状態となり、圧油が矢印(1)のように流れる。球状の第2弁体38は圧油で押されて第2弁座部47から離れる。結果、圧油は矢印(2)、(3)のごとく流れて高油圧室88に至り、そこに溜まる。
運転の初期には、高油圧室88に空気が残っている場合がある。この場合は、空気は圧油で押されて、パージ弁体82を押す。パージばね83に抗してパージ弁体82が図右へ移動すると、空気はパージ通路81を介して座面77へ排出される。空気が無くなると代わりに圧油がパージ弁体82を直接押す。圧油は空気より格段に密度が大きいため、パージ弁体82を強く押す。すると、パージ弁体82はパージ第2弁座85に当たる。これでパージ通路81は閉じられる。以降、圧油が座面77側へ漏れる心配はない。
高油圧室88の圧力が著しく低下することがある。このときには、パージばね83がパージ弁体82をパージ第1弁座84へ付勢する。これで、座面77側から空気が高油圧室88へ浸入する心配はなくなる。
すなわち、エアパージ弁80は外からの空気の侵入を防止しつつ、空気だけを選択して座面77側へ排出する作用を発揮する。
プランジャ60は、圧油による付勢力とプランジャスプリング56による付勢力の合計が、想像線で示すテンショナシュー17の反力に合致するまで、前進する。
テンショナシュー17の反力が増加すると、プランジャスプリング56が縮むとともに、第2弁体38が図左へ移動する。
図9はチェック弁とリリーフ弁との作用図であり、(a)に示すように、第2弁体38が第2弁座部47に当たることで、図左への圧油の移動は阻止される。第2弁座部47と第2弁体部38とで、逆流を阻止するチェック弁94が構成される。
高油圧室88の圧力が更に増加した場合には、(b)に示すように第1ばね42に抗して第1弁体40及び第2弁体38が一緒に図左へ移動する。この結果、第1弁体40は第1弁座部55から離れ、圧油は矢印(4)のように流れる。この圧油は図8のオイル供給路78へ戻る。すなわち、第2弁体38と第1弁体40と第1弁座部55と第1ばね42とで、リリーフ弁(圧逃がし弁)95が構成される。
通常の運転では、図8、図9(a)又は図9(b)の何れかの形態になるが、特に、図9(b)では、圧逃がしを目的に排出する圧油は、オイル供給路78に戻されることに特徴がある。カムチェーン室などの内燃機関へ排出する従来の技術に比較して、カムチェーン室にオイルを放出する心配が無く、圧油を効率よく用いることができ、オイルポンプの負荷を低減させることができる。
次に、オイル供給路78の圧力が低下したときの作用を説明する。
図8において、エンジン停止時には、オイルポンプ93は止まり、オイル供給路78の圧力が低下する。すると、保持ばね76の付勢作用により、保持弁体75が図右へ移動する。この結果、図5に示すように、保持弁体75でオイル供給路78が閉じられ、高油圧室88の圧油がオイル供給路78へ戻らない。すなわち、高油圧室88の圧力が保持される。このように、オイル供給路78に設けた、保持弁収納室74と保持弁体75と保持ばね76とで、圧力保持弁96が構成される。
圧力保持弁96を設けると、エンジン停止直後の高油圧室88の圧力低下が防止される。
また、図8に示すように、収納孔の軸方向(図4、符号71B)で、リリーフ弁95とチェック弁94が隣接配置されている。
リリーフ弁95の背面(図左側の面)に、オイルポンプ93からの圧油の圧がかかっているため、エンジンの回転数に応じて、リリーフ弁95を開弁圧が変化する。これにより、テンショナのチェーンへの押圧力を、エンジンの回転数に応じたものにすることができる。詳細には、オイルポンプの圧油は、エンジンの回転数の上昇に伴って上昇する。そのため、エンジンの回転数が低い状態では、リリーフ弁の開弁圧も低くなり、エンジンの回転数が高くなると、リリーフ弁の開弁圧は高くなり、リリーフ弁は開きにくくなる。
高圧室88は、オイルポンプ93からの圧油を蓄えると共に、プランジャ60がチェーンにより押し戻されにくくするのと、プランジャ60をチェーン側に押し出す役割とを果たす。
以上の説明に基づいて本発明を次のようにまとめることもできる。
本発明では、図8に示すように、チェック弁94とリリーフ弁95が、プランジャボディ70側に設けられている。この結果、本発明のプランジャ60は構造が簡単になり、軽量化及び小型化が図れる。
また、リリーフ弁95をプランジャ60の幅内に配置したので、リリーフ弁95の長手方向と直交する方向で、テンショナの小型化が図れる。
本発明は、図4に示す収納孔71に差し込まれる分割ボディ30に、図9(a)(b)に示すチェック弁94とリリーフ弁95とを設けた。すなわち、プランジャが収納される収納孔に、リリーフ弁とチェック弁とを備えた分割ボディを差し込むことができる。プランジャの収納孔と、リリーフ弁の収納孔と、チェック弁の収納孔とを個別にプランジャボディに開ける場合に比較して、プランジャボディの小型、小径化が図れ、無端伝動帯用テンショナの小型化が達成できる。
本発明では、図2に示す第1弁体40に、通孔46を開けると共にチェック弁のための第2弁座部47を形成した。すなわち、弁の構成部品を一部共用した。リリーフ弁とチェック弁とを別々に構成するのに比べ、本発明によれば、部品点数の削減が図れ、無端伝動帯用テンショナの小型化が達成できる。
本発明では、図8に示すように、チェック弁94とリリーフ弁95は、プランジャ60より無端伝動帯17から遠い部位に、収納孔の軸に沿って配置されている。すなわち、プランジャとチェック弁とリリーフ弁は直列に配置した。この結果、プランジャボディの小径化が図れる。
本発明は、図2に示すように分割ボディ30には、無端伝動帯を臨む面と逆の面(図左側)に開口する収納凹部34が設けられており、この収納凹部34に図9(a)(b)のチェック弁94とリリーフ弁95とを収納し、開口を蓋部材41で塞ぐようにした。蓋部材41を外すことで、チェック弁とリリーフ弁とを取り出すことができる。この結果、プランジャボディを内燃機関に取付けたままで且つ分割ボディをプランジャボディに取付けたままで、外側から、チェック弁とリリーフ弁とを点検し交換することができる。
すなわち、無端伝動帯用テンショナを全て分解することなく、保守整備作業が行え、保守整備作業の効率を向上させることができる。
本発明では、図4に示すようにプランジャ60を有底筒体とし、この有底筒体に分割ボディ30から突出部33を差込むようにした。突出部の分だけ有底筒体の内容積が減少する。高油圧室の容積が小さければ、油圧によるプランジャの応答性を向上させることができる。
本発明は、内燃機関に付属する無端伝動帯用テンショナに好適である。
本発明に係る無端伝動帯用テンショナを備えた内燃機関の正面図である。 本発明に係る分割ボディ、リリーフ弁及びチェック弁の分解図である。 弁ガイドの構造説明図である。 プランジャとプランジャボディと圧力保持弁の分解図である。 本発明に係る無端伝動帯用テンショナの断面図である。 図5の6矢視図である。 図6の7−7線断面図である。 無端伝動帯用テンショナの作用説明図である。 チェック弁とリリーフ弁との作用図である。
符号の説明
10…内燃機関、15…無端伝動帯(カムチェーン)、20…無端伝動帯用テンショナ、30…分割ボディ、33…突起部、34…収納凹部、38…第2弁体、40…第1弁体、41…蓋部材、42…第1ばね、46…通孔、47…第2弁座部、55…第1弁座部、56…プランジャスプリング、60…プランジャ、61…筒部、62…底部、70…プランジャボディ、71…収納孔、88…高油圧室、93…オイルポンプ、94…チェック弁、95…リリーフ弁。

Claims (4)

  1. 収納孔が設けられているプランジャボディと、このプランジャボディの前記収納孔に移動可能に収納され前記収納孔から突出された先端で無端伝動帯に押圧するプランジャと、このプランジャと前記プランジャボディとの間に介設され前記プランジャを前記無端伝動帯へ押出すプランジャスプリングと、前記プランジャと前記プランジャボディとの間に形成されオイルポンプから供給された圧油を蓄える高油圧室と、この高油圧室の圧力が低くなると、前記オイルポンプから圧油を前記高油圧室へ供給できるように開き、前記高油圧室の圧力が前記オイルポンプからの圧油より高くなると閉じるチェック弁と、前記高油圧室の圧力が所定値を超えたら圧油を逃がして前記高油圧室の圧力上昇を防止するリリーフ弁と、からなる無端伝動帯用テンショナにおいて、
    前記チェック弁と前記リリーフ弁が、前記プランジャボディに設けられると共に、前記リリーフ弁が前記プランジャの長手方向と直交する方向での前記プランジャ幅内に配置され、
    前記プランジャボディの一部を分割し、この分割された分割ボディを前記収納孔に抜き差し可能な形状とし、このような分割ボディに前記チェック弁と前記リリーフ弁とを設け、
    前記リリーフ弁は、前記分割ボディに設けられている第1弁座部と、この第1弁座部に当接する第1弁体と、この第1弁体を前記第1弁座部に押圧する第1ばねとからなり、
    前記チェック弁は、前記第1弁体に開けられている通孔の前記高圧室側の縁に設けられている第2弁座部と、この第2弁座部に臨んで配置され前記高油圧室の圧力が高くなるとこの圧力で押されて前記第2弁座部を塞ぐ第2弁体と、からなることを特徴とする無端伝動帯用テンショナ。
  2. 前記チェック弁と前記リリーフ弁は、前記プランジャより前記無端伝動帯から遠い部位に、前記収納孔の軸に沿って配置されていることを特徴とする請求項1記載の無端伝動帯用テンショナ。
  3. 前記分割ボディには、前記無端伝動帯を臨む面と逆の面に開口する収納凹部が設けられており、この収納凹部に前記チェック弁と前記リリーフ弁とを収納し、前記開口を蓋部材で塞ぐようにしたことを特徴とする請求項記載の無端伝動帯用テンショナ。
  4. 前記プランジャは、前記収納孔に沿って延びる筒部と、この筒部の先端を塞ぐ底部とからなる有底筒体であり、前記分割ボディは、前記筒部内に延ばされ、前記収納孔より前記無端伝動帯側に突出している突部を備えており、この突部と前記筒部との間に前記プランジャスプリングが配置されていることを特徴とする請求項記載の無端伝動帯用テンショナ。
JP2008022050A 2008-01-31 2008-01-31 無端伝動帯用テンショナ Expired - Fee Related JP5080299B2 (ja)

Priority Applications (4)

Application Number Priority Date Filing Date Title
JP2008022050A JP5080299B2 (ja) 2008-01-31 2008-01-31 無端伝動帯用テンショナ
ITTO2008A000850A IT1392364B1 (it) 2008-01-31 2008-11-18 Tenditore per cinghia di trasmissione ad anello.
DE102008059212.9A DE102008059212B4 (de) 2008-01-31 2008-11-27 Spanner für einen endlosen Übertragungsstrang
US12/335,117 US8002656B2 (en) 2008-01-31 2008-12-15 Tensioner for endless transmission belt

Applications Claiming Priority (1)

Application Number Priority Date Filing Date Title
JP2008022050A JP5080299B2 (ja) 2008-01-31 2008-01-31 無端伝動帯用テンショナ

Publications (2)

Publication Number Publication Date
JP2009180359A JP2009180359A (ja) 2009-08-13
JP5080299B2 true JP5080299B2 (ja) 2012-11-21

Family

ID=40822288

Family Applications (1)

Application Number Title Priority Date Filing Date
JP2008022050A Expired - Fee Related JP5080299B2 (ja) 2008-01-31 2008-01-31 無端伝動帯用テンショナ

Country Status (4)

Country Link
US (1) US8002656B2 (ja)
JP (1) JP5080299B2 (ja)
DE (1) DE102008059212B4 (ja)
IT (1) IT1392364B1 (ja)

Cited By (1)

* Cited by examiner, † Cited by third party
Publication number Priority date Publication date Assignee Title
KR20180028014A (ko) * 2016-09-07 2018-03-15 가부시기가이샤쯔바기모도체인 텐셔너

Families Citing this family (22)

* Cited by examiner, † Cited by third party
Publication number Priority date Publication date Assignee Title
JP5430446B2 (ja) * 2010-03-02 2014-02-26 本田技研工業株式会社 油圧テンショナ
DE102010012918A1 (de) * 2010-03-26 2011-09-29 Schaeffler Technologies Gmbh & Co. Kg Spannvorrichtung für ein Endlostriebmittel mit einem Kombinationsventil
JP5725931B2 (ja) * 2011-03-31 2015-05-27 本田技研工業株式会社 油圧テンショナ
US8951154B2 (en) 2011-03-31 2015-02-10 Honda Motor Co., Ltd. Hydraulic tensioner
US8690109B2 (en) 2011-08-03 2014-04-08 Haworth, Inc. Automatic gap adjustor
JP2013204767A (ja) * 2012-03-29 2013-10-07 Ntn Corp 油圧式オートテンショナ
JP5913040B2 (ja) * 2012-10-09 2016-04-27 株式会社椿本チエイン チェーンテンショナ
JP5960616B2 (ja) * 2013-01-21 2016-08-02 トヨタ自動車株式会社 可変容量形オイルポンプ
KR101405235B1 (ko) 2013-07-18 2014-06-19 현대자동차 주식회사 유압식 타이밍 체인 텐셔너 및 타이밍 체인 장치
US10006524B2 (en) * 2013-12-03 2018-06-26 Borgwarner Inc. Integrated pressure relief valve for hydraulic tensioner
JP6310335B2 (ja) * 2014-02-21 2018-04-11 本田技研工業株式会社 油圧テンショナ装置
DE102015205777B3 (de) * 2015-03-31 2016-05-25 Schaeffler Technologies AG & Co. KG Hydraulischer Zugmittelspanner mit einem Druckregulator
JP6294851B2 (ja) * 2015-04-03 2018-03-14 株式会社椿本チエイン チェーンテンショナ及びリリーフバルブユニット
WO2017045681A1 (de) * 2015-09-15 2017-03-23 Schaeffler Technologies AG & Co. KG Zugmittelspanneinheit für einen zugmitteltrieb
JP6408975B2 (ja) * 2015-11-10 2018-10-17 株式会社椿本チエイン チェーンテンショナ
JP6806994B2 (ja) * 2016-11-07 2021-01-06 株式会社椿本チエイン テンショナ
JP6795764B2 (ja) * 2017-03-21 2020-12-02 株式会社椿本チエイン テンショナ
JP6817518B2 (ja) * 2017-04-28 2021-01-20 株式会社椿本チエイン チェーンテンショナ
CN109139831A (zh) 2017-06-15 2019-01-04 博格华纳公司 带有刚度可控止回阀的张紧器
EP3759377B1 (en) 2018-02-26 2022-08-24 Borgwarner Inc. Variable force tensioner with internal reservoir technology primary bore
JP2020101279A (ja) 2018-12-21 2020-07-02 ボーグワーナー インコーポレーテッド 内部チェックバルブを含むピストンが備えられたテンショナ
US12181046B2 (en) 2021-04-13 2024-12-31 Borgwarner Inc. Variable stiffness function through a check valve in a hydraulic

Family Cites Families (18)

* Cited by examiner, † Cited by third party
Publication number Priority date Publication date Assignee Title
JPS486132Y1 (ja) * 1971-07-20 1973-02-16
JPH0451262Y2 (ja) * 1987-08-25 1992-12-02
DE9409155U1 (de) * 1994-06-06 1995-10-12 Joh. Winklhofer & Söhne GmbH und Co KG, 81369 München Hydraulische Spanneinrichtung
US5700213A (en) * 1995-08-18 1997-12-23 Borg-Warner Automotive, Inc. Integral inlet and pressure relief valve for an automotive tensioner
JP3400902B2 (ja) * 1995-09-14 2003-04-28 日機装株式会社 エア抜き弁内蔵形安全弁
DE19957527A1 (de) * 1998-12-05 2000-06-21 Lachenmaier Sepp Hydraulische Spannvorrichtung für einen Verbrennungsmotor-Zugmitteltrieb
JP3415048B2 (ja) 1998-12-07 2003-06-09 本田技研工業株式会社 油圧テンショナ
DE19929668C2 (de) * 1999-06-28 2002-07-11 Winklhofer & Soehne Gmbh Spannvorrichtung für ein Endlostreibelement mit variablem Dämpfungsverhalten
JP3322398B2 (ja) * 1999-12-27 2002-09-09 株式会社椿本チエイン リリーフバルブ付油圧式テンショナ
DE10011195A1 (de) * 2000-03-08 2001-09-13 Schaeffler Waelzlager Ohg Spanneinrichtung für Zugmittel
DE10038606A1 (de) * 2000-08-08 2002-03-28 Schaeffler Waelzlager Ohg Kettenspanner
JP2002081562A (ja) * 2000-09-05 2002-03-22 Kayaba Ind Co Ltd リリーフ弁
JP4017427B2 (ja) * 2002-03-28 2007-12-05 本田技研工業株式会社 油圧式テンショナリフタ
US7070528B2 (en) * 2002-03-28 2006-07-04 Honda Giken Kogyo Kabushiki Kaisha Hydraulic tensioner lifter
DE102004040222A1 (de) * 2004-08-19 2006-03-02 Ina-Schaeffler Kg Hydraulische Spannvorrichtung für einen Zugmitteltrieb
JP4509716B2 (ja) * 2004-09-17 2010-07-21 本田技研工業株式会社 油圧式テンショナリフタ
DE102006054393A1 (de) * 2006-11-18 2008-05-21 Schaeffler Kg Optimierte Dämpfung für ein hydraulisches Spannsystem
JP5205070B2 (ja) * 2008-01-31 2013-06-05 本田技研工業株式会社 無端伝動帯用テンショナ

Cited By (3)

* Cited by examiner, † Cited by third party
Publication number Priority date Publication date Assignee Title
KR20180028014A (ko) * 2016-09-07 2018-03-15 가부시기가이샤쯔바기모도체인 텐셔너
KR102039159B1 (ko) * 2016-09-07 2019-10-31 가부시기가이샤쯔바기모도체인 텐셔너
US10634223B2 (en) 2016-09-07 2020-04-28 Tsubakimoto Chain Co. Tensioner

Also Published As

Publication number Publication date
DE102008059212A1 (de) 2009-08-06
US8002656B2 (en) 2011-08-23
DE102008059212B4 (de) 2016-05-25
IT1392364B1 (it) 2012-02-28
US20090197721A1 (en) 2009-08-06
JP2009180359A (ja) 2009-08-13
ITTO20080850A1 (it) 2009-08-01

Similar Documents

Publication Publication Date Title
JP5080299B2 (ja) 無端伝動帯用テンショナ
JP5205070B2 (ja) 無端伝動帯用テンショナ
US7927242B2 (en) Downward angle settable hydraulic tensioner
US7618339B2 (en) Hydraulic tensioner with improved relief valve
KR101131635B1 (ko) 탈기형 유압 텐셔너
US8951154B2 (en) Hydraulic tensioner
JP3962054B2 (ja) 脱気型油圧テンショナ
KR101280280B1 (ko) 유압 텐셔너
JPH08285018A (ja) 液圧テンショナ
US8323135B2 (en) Downward angle settable hydraulic tensioner
US20140187367A1 (en) Chain drive tensioner spring force control mechanism
US11028908B2 (en) Tensioner and relief valve unit
US10767740B2 (en) Tensioner
KR20020032377A (ko) 릴리프밸브기구가 부착된 텐셔너
US9091326B2 (en) Air bleeding valve for hydraulic tensioner of an engine and hydraulic tensioner incorporating same
US11143100B2 (en) Tensioner
KR102125033B1 (ko) 체인 텐셔너
GB2457353A (en) Hydraulic tensioner with oil chamber volume reducing bar pre-assembled with spring
US7001295B2 (en) Hydraulic tensioner
US8033938B2 (en) Hydraulic tensioner
US20050096166A1 (en) Hydraulic tensioner
JP4017427B2 (ja) 油圧式テンショナリフタ
JP4180487B2 (ja) 油圧式テンショナ
JP3989275B2 (ja) 油圧式テンショナリフタ
JP7324019B2 (ja) 油圧チェーンテンショナ

Legal Events

Date Code Title Description
A621 Written request for application examination

Free format text: JAPANESE INTERMEDIATE CODE: A621

Effective date: 20101126

A977 Report on retrieval

Free format text: JAPANESE INTERMEDIATE CODE: A971007

Effective date: 20111222

A131 Notification of reasons for refusal

Free format text: JAPANESE INTERMEDIATE CODE: A131

Effective date: 20120327

A521 Written amendment

Free format text: JAPANESE INTERMEDIATE CODE: A523

Effective date: 20120528

TRDD Decision of grant or rejection written
A01 Written decision to grant a patent or to grant a registration (utility model)

Free format text: JAPANESE INTERMEDIATE CODE: A01

Effective date: 20120807

A01 Written decision to grant a patent or to grant a registration (utility model)

Free format text: JAPANESE INTERMEDIATE CODE: A01

A61 First payment of annual fees (during grant procedure)

Free format text: JAPANESE INTERMEDIATE CODE: A61

Effective date: 20120830

FPAY Renewal fee payment (event date is renewal date of database)

Free format text: PAYMENT UNTIL: 20150907

Year of fee payment: 3

R150 Certificate of patent or registration of utility model

Free format text: JAPANESE INTERMEDIATE CODE: R150

LAPS Cancellation because of no payment of annual fees