JP5048824B2 - 車両用発電制御装置 - Google Patents

車両用発電制御装置 Download PDF

Info

Publication number
JP5048824B2
JP5048824B2 JP2010238536A JP2010238536A JP5048824B2 JP 5048824 B2 JP5048824 B2 JP 5048824B2 JP 2010238536 A JP2010238536 A JP 2010238536A JP 2010238536 A JP2010238536 A JP 2010238536A JP 5048824 B2 JP5048824 B2 JP 5048824B2
Authority
JP
Japan
Prior art keywords
power generation
vehicle
regenerative
generation control
storage device
Prior art date
Legal status (The legal status is an assumption and is not a legal conclusion. Google has not performed a legal analysis and makes no representation as to the accuracy of the status listed.)
Expired - Fee Related
Application number
JP2010238536A
Other languages
English (en)
Other versions
JP2012092673A (ja
Inventor
保義 堀
Current Assignee (The listed assignees may be inaccurate. Google has not performed a legal analysis and makes no representation or warranty as to the accuracy of the list.)
Mitsubishi Electric Corp
Original Assignee
Mitsubishi Electric Corp
Priority date (The priority date is an assumption and is not a legal conclusion. Google has not performed a legal analysis and makes no representation as to the accuracy of the date listed.)
Filing date
Publication date
Application filed by Mitsubishi Electric Corp filed Critical Mitsubishi Electric Corp
Priority to JP2010238536A priority Critical patent/JP5048824B2/ja
Priority to US13/079,406 priority patent/US8570000B2/en
Priority to FR1155107A priority patent/FR2966412B1/fr
Priority to CN201110186177.1A priority patent/CN102452323B/zh
Publication of JP2012092673A publication Critical patent/JP2012092673A/ja
Application granted granted Critical
Publication of JP5048824B2 publication Critical patent/JP5048824B2/ja
Expired - Fee Related legal-status Critical Current
Anticipated expiration legal-status Critical

Links

Images

Classifications

    • BPERFORMING OPERATIONS; TRANSPORTING
    • B60VEHICLES IN GENERAL
    • B60WCONJOINT CONTROL OF VEHICLE SUB-UNITS OF DIFFERENT TYPE OR DIFFERENT FUNCTION; CONTROL SYSTEMS SPECIALLY ADAPTED FOR HYBRID VEHICLES; ROAD VEHICLE DRIVE CONTROL SYSTEMS FOR PURPOSES NOT RELATED TO THE CONTROL OF A PARTICULAR SUB-UNIT
    • B60W30/00Purposes of road vehicle drive control systems not related to the control of a particular sub-unit, e.g. of systems using conjoint control of vehicle sub-units
    • B60W30/18Propelling the vehicle
    • B60W30/18009Propelling the vehicle related to particular drive situations
    • B60W30/18109Braking
    • B60W30/18127Regenerative braking
    • BPERFORMING OPERATIONS; TRANSPORTING
    • B60VEHICLES IN GENERAL
    • B60LPROPULSION OF ELECTRICALLY-PROPELLED VEHICLES; SUPPLYING ELECTRIC POWER FOR AUXILIARY EQUIPMENT OF ELECTRICALLY-PROPELLED VEHICLES; ELECTRODYNAMIC BRAKE SYSTEMS FOR VEHICLES IN GENERAL; MAGNETIC SUSPENSION OR LEVITATION FOR VEHICLES; MONITORING OPERATING VARIABLES OF ELECTRICALLY-PROPELLED VEHICLES; ELECTRIC SAFETY DEVICES FOR ELECTRICALLY-PROPELLED VEHICLES
    • B60L15/00Methods, circuits, or devices for controlling the traction-motor speed of electrically-propelled vehicles
    • B60L15/20Methods, circuits, or devices for controlling the traction-motor speed of electrically-propelled vehicles for control of the vehicle or its driving motor to achieve a desired performance, e.g. speed, torque, programmed variation of speed
    • B60L15/2009Methods, circuits, or devices for controlling the traction-motor speed of electrically-propelled vehicles for control of the vehicle or its driving motor to achieve a desired performance, e.g. speed, torque, programmed variation of speed for braking
    • BPERFORMING OPERATIONS; TRANSPORTING
    • B60VEHICLES IN GENERAL
    • B60LPROPULSION OF ELECTRICALLY-PROPELLED VEHICLES; SUPPLYING ELECTRIC POWER FOR AUXILIARY EQUIPMENT OF ELECTRICALLY-PROPELLED VEHICLES; ELECTRODYNAMIC BRAKE SYSTEMS FOR VEHICLES IN GENERAL; MAGNETIC SUSPENSION OR LEVITATION FOR VEHICLES; MONITORING OPERATING VARIABLES OF ELECTRICALLY-PROPELLED VEHICLES; ELECTRIC SAFETY DEVICES FOR ELECTRICALLY-PROPELLED VEHICLES
    • B60L3/00Electric devices on electrically-propelled vehicles for safety purposes; Monitoring operating variables, e.g. speed, deceleration or energy consumption
    • B60L3/0023Detecting, eliminating, remedying or compensating for drive train abnormalities, e.g. failures within the drive train
    • B60L3/0046Detecting, eliminating, remedying or compensating for drive train abnormalities, e.g. failures within the drive train relating to electric energy storage systems, e.g. batteries or capacitors
    • BPERFORMING OPERATIONS; TRANSPORTING
    • B60VEHICLES IN GENERAL
    • B60LPROPULSION OF ELECTRICALLY-PROPELLED VEHICLES; SUPPLYING ELECTRIC POWER FOR AUXILIARY EQUIPMENT OF ELECTRICALLY-PROPELLED VEHICLES; ELECTRODYNAMIC BRAKE SYSTEMS FOR VEHICLES IN GENERAL; MAGNETIC SUSPENSION OR LEVITATION FOR VEHICLES; MONITORING OPERATING VARIABLES OF ELECTRICALLY-PROPELLED VEHICLES; ELECTRIC SAFETY DEVICES FOR ELECTRICALLY-PROPELLED VEHICLES
    • B60L50/00Electric propulsion with power supplied within the vehicle
    • B60L50/10Electric propulsion with power supplied within the vehicle using propulsion power supplied by engine-driven generators, e.g. generators driven by combustion engines
    • B60L50/16Electric propulsion with power supplied within the vehicle using propulsion power supplied by engine-driven generators, e.g. generators driven by combustion engines with provision for separate direct mechanical propulsion
    • BPERFORMING OPERATIONS; TRANSPORTING
    • B60VEHICLES IN GENERAL
    • B60LPROPULSION OF ELECTRICALLY-PROPELLED VEHICLES; SUPPLYING ELECTRIC POWER FOR AUXILIARY EQUIPMENT OF ELECTRICALLY-PROPELLED VEHICLES; ELECTRODYNAMIC BRAKE SYSTEMS FOR VEHICLES IN GENERAL; MAGNETIC SUSPENSION OR LEVITATION FOR VEHICLES; MONITORING OPERATING VARIABLES OF ELECTRICALLY-PROPELLED VEHICLES; ELECTRIC SAFETY DEVICES FOR ELECTRICALLY-PROPELLED VEHICLES
    • B60L58/00Methods or circuit arrangements for monitoring or controlling batteries or fuel cells, specially adapted for electric vehicles
    • B60L58/10Methods or circuit arrangements for monitoring or controlling batteries or fuel cells, specially adapted for electric vehicles for monitoring or controlling batteries
    • B60L58/12Methods or circuit arrangements for monitoring or controlling batteries or fuel cells, specially adapted for electric vehicles for monitoring or controlling batteries responding to state of charge [SoC]
    • B60L58/13Maintaining the SoC within a determined range
    • BPERFORMING OPERATIONS; TRANSPORTING
    • B60VEHICLES IN GENERAL
    • B60LPROPULSION OF ELECTRICALLY-PROPELLED VEHICLES; SUPPLYING ELECTRIC POWER FOR AUXILIARY EQUIPMENT OF ELECTRICALLY-PROPELLED VEHICLES; ELECTRODYNAMIC BRAKE SYSTEMS FOR VEHICLES IN GENERAL; MAGNETIC SUSPENSION OR LEVITATION FOR VEHICLES; MONITORING OPERATING VARIABLES OF ELECTRICALLY-PROPELLED VEHICLES; ELECTRIC SAFETY DEVICES FOR ELECTRICALLY-PROPELLED VEHICLES
    • B60L58/00Methods or circuit arrangements for monitoring or controlling batteries or fuel cells, specially adapted for electric vehicles
    • B60L58/10Methods or circuit arrangements for monitoring or controlling batteries or fuel cells, specially adapted for electric vehicles for monitoring or controlling batteries
    • B60L58/12Methods or circuit arrangements for monitoring or controlling batteries or fuel cells, specially adapted for electric vehicles for monitoring or controlling batteries responding to state of charge [SoC]
    • B60L58/15Preventing overcharging
    • BPERFORMING OPERATIONS; TRANSPORTING
    • B60VEHICLES IN GENERAL
    • B60WCONJOINT CONTROL OF VEHICLE SUB-UNITS OF DIFFERENT TYPE OR DIFFERENT FUNCTION; CONTROL SYSTEMS SPECIALLY ADAPTED FOR HYBRID VEHICLES; ROAD VEHICLE DRIVE CONTROL SYSTEMS FOR PURPOSES NOT RELATED TO THE CONTROL OF A PARTICULAR SUB-UNIT
    • B60W10/00Conjoint control of vehicle sub-units of different type or different function
    • B60W10/24Conjoint control of vehicle sub-units of different type or different function including control of energy storage means
    • B60W10/26Conjoint control of vehicle sub-units of different type or different function including control of energy storage means for electrical energy, e.g. batteries or capacitors
    • BPERFORMING OPERATIONS; TRANSPORTING
    • B60VEHICLES IN GENERAL
    • B60WCONJOINT CONTROL OF VEHICLE SUB-UNITS OF DIFFERENT TYPE OR DIFFERENT FUNCTION; CONTROL SYSTEMS SPECIALLY ADAPTED FOR HYBRID VEHICLES; ROAD VEHICLE DRIVE CONTROL SYSTEMS FOR PURPOSES NOT RELATED TO THE CONTROL OF A PARTICULAR SUB-UNIT
    • B60W10/00Conjoint control of vehicle sub-units of different type or different function
    • B60W10/30Conjoint control of vehicle sub-units of different type or different function including control of auxiliary equipment, e.g. air-conditioning compressors or oil pumps
    • BPERFORMING OPERATIONS; TRANSPORTING
    • B60VEHICLES IN GENERAL
    • B60WCONJOINT CONTROL OF VEHICLE SUB-UNITS OF DIFFERENT TYPE OR DIFFERENT FUNCTION; CONTROL SYSTEMS SPECIALLY ADAPTED FOR HYBRID VEHICLES; ROAD VEHICLE DRIVE CONTROL SYSTEMS FOR PURPOSES NOT RELATED TO THE CONTROL OF A PARTICULAR SUB-UNIT
    • B60W20/00Control systems specially adapted for hybrid vehicles
    • B60W20/10Controlling the power contribution of each of the prime movers to meet required power demand
    • B60W20/11Controlling the power contribution of each of the prime movers to meet required power demand using model predictive control [MPC] strategies, i.e. control methods based on models predicting performance
    • BPERFORMING OPERATIONS; TRANSPORTING
    • B60VEHICLES IN GENERAL
    • B60WCONJOINT CONTROL OF VEHICLE SUB-UNITS OF DIFFERENT TYPE OR DIFFERENT FUNCTION; CONTROL SYSTEMS SPECIALLY ADAPTED FOR HYBRID VEHICLES; ROAD VEHICLE DRIVE CONTROL SYSTEMS FOR PURPOSES NOT RELATED TO THE CONTROL OF A PARTICULAR SUB-UNIT
    • B60W50/00Details of control systems for road vehicle drive control not related to the control of a particular sub-unit, e.g. process diagnostic or vehicle driver interfaces
    • B60W50/0097Predicting future conditions
    • BPERFORMING OPERATIONS; TRANSPORTING
    • B60VEHICLES IN GENERAL
    • B60LPROPULSION OF ELECTRICALLY-PROPELLED VEHICLES; SUPPLYING ELECTRIC POWER FOR AUXILIARY EQUIPMENT OF ELECTRICALLY-PROPELLED VEHICLES; ELECTRODYNAMIC BRAKE SYSTEMS FOR VEHICLES IN GENERAL; MAGNETIC SUSPENSION OR LEVITATION FOR VEHICLES; MONITORING OPERATING VARIABLES OF ELECTRICALLY-PROPELLED VEHICLES; ELECTRIC SAFETY DEVICES FOR ELECTRICALLY-PROPELLED VEHICLES
    • B60L2240/00Control parameters of input or output; Target parameters
    • B60L2240/10Vehicle control parameters
    • B60L2240/12Speed
    • BPERFORMING OPERATIONS; TRANSPORTING
    • B60VEHICLES IN GENERAL
    • B60LPROPULSION OF ELECTRICALLY-PROPELLED VEHICLES; SUPPLYING ELECTRIC POWER FOR AUXILIARY EQUIPMENT OF ELECTRICALLY-PROPELLED VEHICLES; ELECTRODYNAMIC BRAKE SYSTEMS FOR VEHICLES IN GENERAL; MAGNETIC SUSPENSION OR LEVITATION FOR VEHICLES; MONITORING OPERATING VARIABLES OF ELECTRICALLY-PROPELLED VEHICLES; ELECTRIC SAFETY DEVICES FOR ELECTRICALLY-PROPELLED VEHICLES
    • B60L2240/00Control parameters of input or output; Target parameters
    • B60L2240/40Drive Train control parameters
    • B60L2240/42Drive Train control parameters related to electric machines
    • B60L2240/423Torque
    • BPERFORMING OPERATIONS; TRANSPORTING
    • B60VEHICLES IN GENERAL
    • B60LPROPULSION OF ELECTRICALLY-PROPELLED VEHICLES; SUPPLYING ELECTRIC POWER FOR AUXILIARY EQUIPMENT OF ELECTRICALLY-PROPELLED VEHICLES; ELECTRODYNAMIC BRAKE SYSTEMS FOR VEHICLES IN GENERAL; MAGNETIC SUSPENSION OR LEVITATION FOR VEHICLES; MONITORING OPERATING VARIABLES OF ELECTRICALLY-PROPELLED VEHICLES; ELECTRIC SAFETY DEVICES FOR ELECTRICALLY-PROPELLED VEHICLES
    • B60L2250/00Driver interactions
    • B60L2250/26Driver interactions by pedal actuation
    • BPERFORMING OPERATIONS; TRANSPORTING
    • B60VEHICLES IN GENERAL
    • B60LPROPULSION OF ELECTRICALLY-PROPELLED VEHICLES; SUPPLYING ELECTRIC POWER FOR AUXILIARY EQUIPMENT OF ELECTRICALLY-PROPELLED VEHICLES; ELECTRODYNAMIC BRAKE SYSTEMS FOR VEHICLES IN GENERAL; MAGNETIC SUSPENSION OR LEVITATION FOR VEHICLES; MONITORING OPERATING VARIABLES OF ELECTRICALLY-PROPELLED VEHICLES; ELECTRIC SAFETY DEVICES FOR ELECTRICALLY-PROPELLED VEHICLES
    • B60L2270/00Problem solutions or means not otherwise provided for
    • B60L2270/10Emission reduction
    • B60L2270/14Emission reduction of noise
    • B60L2270/145Structure borne vibrations
    • BPERFORMING OPERATIONS; TRANSPORTING
    • B60VEHICLES IN GENERAL
    • B60WCONJOINT CONTROL OF VEHICLE SUB-UNITS OF DIFFERENT TYPE OR DIFFERENT FUNCTION; CONTROL SYSTEMS SPECIALLY ADAPTED FOR HYBRID VEHICLES; ROAD VEHICLE DRIVE CONTROL SYSTEMS FOR PURPOSES NOT RELATED TO THE CONTROL OF A PARTICULAR SUB-UNIT
    • B60W2510/00Input parameters relating to a particular sub-units
    • B60W2510/24Energy storage means
    • B60W2510/242Energy storage means for electrical energy
    • B60W2510/244Charge state
    • BPERFORMING OPERATIONS; TRANSPORTING
    • B60VEHICLES IN GENERAL
    • B60WCONJOINT CONTROL OF VEHICLE SUB-UNITS OF DIFFERENT TYPE OR DIFFERENT FUNCTION; CONTROL SYSTEMS SPECIALLY ADAPTED FOR HYBRID VEHICLES; ROAD VEHICLE DRIVE CONTROL SYSTEMS FOR PURPOSES NOT RELATED TO THE CONTROL OF A PARTICULAR SUB-UNIT
    • B60W2520/00Input parameters relating to overall vehicle dynamics
    • B60W2520/10Longitudinal speed
    • BPERFORMING OPERATIONS; TRANSPORTING
    • B60VEHICLES IN GENERAL
    • B60WCONJOINT CONTROL OF VEHICLE SUB-UNITS OF DIFFERENT TYPE OR DIFFERENT FUNCTION; CONTROL SYSTEMS SPECIALLY ADAPTED FOR HYBRID VEHICLES; ROAD VEHICLE DRIVE CONTROL SYSTEMS FOR PURPOSES NOT RELATED TO THE CONTROL OF A PARTICULAR SUB-UNIT
    • B60W2520/00Input parameters relating to overall vehicle dynamics
    • B60W2520/10Longitudinal speed
    • B60W2520/105Longitudinal acceleration
    • BPERFORMING OPERATIONS; TRANSPORTING
    • B60VEHICLES IN GENERAL
    • B60WCONJOINT CONTROL OF VEHICLE SUB-UNITS OF DIFFERENT TYPE OR DIFFERENT FUNCTION; CONTROL SYSTEMS SPECIALLY ADAPTED FOR HYBRID VEHICLES; ROAD VEHICLE DRIVE CONTROL SYSTEMS FOR PURPOSES NOT RELATED TO THE CONTROL OF A PARTICULAR SUB-UNIT
    • B60W2540/00Input parameters relating to occupants
    • B60W2540/12Brake pedal position
    • BPERFORMING OPERATIONS; TRANSPORTING
    • B60VEHICLES IN GENERAL
    • B60WCONJOINT CONTROL OF VEHICLE SUB-UNITS OF DIFFERENT TYPE OR DIFFERENT FUNCTION; CONTROL SYSTEMS SPECIALLY ADAPTED FOR HYBRID VEHICLES; ROAD VEHICLE DRIVE CONTROL SYSTEMS FOR PURPOSES NOT RELATED TO THE CONTROL OF A PARTICULAR SUB-UNIT
    • B60W2710/00Output or target parameters relating to a particular sub-units
    • B60W2710/24Energy storage means
    • B60W2710/242Energy storage means for electrical energy
    • B60W2710/244Charge state
    • BPERFORMING OPERATIONS; TRANSPORTING
    • B60VEHICLES IN GENERAL
    • B60YINDEXING SCHEME RELATING TO ASPECTS CROSS-CUTTING VEHICLE TECHNOLOGY
    • B60Y2300/00Purposes or special features of road vehicle drive control systems
    • B60Y2300/08Predicting or avoiding probable or impending collision
    • B60Y2300/095Predicting travel path or likelihood of collision
    • B60Y2300/0952Predicting travel path or likelihood of collision the prediction being responsive to vehicle dynamic parameters
    • YGENERAL TAGGING OF NEW TECHNOLOGICAL DEVELOPMENTS; GENERAL TAGGING OF CROSS-SECTIONAL TECHNOLOGIES SPANNING OVER SEVERAL SECTIONS OF THE IPC; TECHNICAL SUBJECTS COVERED BY FORMER USPC CROSS-REFERENCE ART COLLECTIONS [XRACs] AND DIGESTS
    • Y02TECHNOLOGIES OR APPLICATIONS FOR MITIGATION OR ADAPTATION AGAINST CLIMATE CHANGE
    • Y02TCLIMATE CHANGE MITIGATION TECHNOLOGIES RELATED TO TRANSPORTATION
    • Y02T10/00Road transport of goods or passengers
    • Y02T10/60Other road transportation technologies with climate change mitigation effect
    • Y02T10/64Electric machine technologies in electromobility
    • YGENERAL TAGGING OF NEW TECHNOLOGICAL DEVELOPMENTS; GENERAL TAGGING OF CROSS-SECTIONAL TECHNOLOGIES SPANNING OVER SEVERAL SECTIONS OF THE IPC; TECHNICAL SUBJECTS COVERED BY FORMER USPC CROSS-REFERENCE ART COLLECTIONS [XRACs] AND DIGESTS
    • Y02TECHNOLOGIES OR APPLICATIONS FOR MITIGATION OR ADAPTATION AGAINST CLIMATE CHANGE
    • Y02TCLIMATE CHANGE MITIGATION TECHNOLOGIES RELATED TO TRANSPORTATION
    • Y02T10/00Road transport of goods or passengers
    • Y02T10/60Other road transportation technologies with climate change mitigation effect
    • Y02T10/70Energy storage systems for electromobility, e.g. batteries
    • YGENERAL TAGGING OF NEW TECHNOLOGICAL DEVELOPMENTS; GENERAL TAGGING OF CROSS-SECTIONAL TECHNOLOGIES SPANNING OVER SEVERAL SECTIONS OF THE IPC; TECHNICAL SUBJECTS COVERED BY FORMER USPC CROSS-REFERENCE ART COLLECTIONS [XRACs] AND DIGESTS
    • Y02TECHNOLOGIES OR APPLICATIONS FOR MITIGATION OR ADAPTATION AGAINST CLIMATE CHANGE
    • Y02TCLIMATE CHANGE MITIGATION TECHNOLOGIES RELATED TO TRANSPORTATION
    • Y02T10/00Road transport of goods or passengers
    • Y02T10/60Other road transportation technologies with climate change mitigation effect
    • Y02T10/7072Electromobility specific charging systems or methods for batteries, ultracapacitors, supercapacitors or double-layer capacitors
    • YGENERAL TAGGING OF NEW TECHNOLOGICAL DEVELOPMENTS; GENERAL TAGGING OF CROSS-SECTIONAL TECHNOLOGIES SPANNING OVER SEVERAL SECTIONS OF THE IPC; TECHNICAL SUBJECTS COVERED BY FORMER USPC CROSS-REFERENCE ART COLLECTIONS [XRACs] AND DIGESTS
    • Y02TECHNOLOGIES OR APPLICATIONS FOR MITIGATION OR ADAPTATION AGAINST CLIMATE CHANGE
    • Y02TCLIMATE CHANGE MITIGATION TECHNOLOGIES RELATED TO TRANSPORTATION
    • Y02T10/00Road transport of goods or passengers
    • Y02T10/60Other road transportation technologies with climate change mitigation effect
    • Y02T10/72Electric energy management in electromobility

Landscapes

  • Engineering & Computer Science (AREA)
  • Transportation (AREA)
  • Mechanical Engineering (AREA)
  • Power Engineering (AREA)
  • Automation & Control Theory (AREA)
  • Sustainable Development (AREA)
  • Life Sciences & Earth Sciences (AREA)
  • Sustainable Energy (AREA)
  • Chemical & Material Sciences (AREA)
  • Combustion & Propulsion (AREA)
  • Human Computer Interaction (AREA)
  • Electric Propulsion And Braking For Vehicles (AREA)
  • Control Of Eletrric Generators (AREA)
  • Control Of Vehicle Engines Or Engines For Specific Uses (AREA)

Description

この発明は、車両減速時の回生発電を積極的に実施する車両用発電制御装置に関するものである。
従来の車両の発電制御装置のうち、特に車両減速時の回生発電を積極的に実施する車両用発電制御装置については、特許文献1に示されるように、車速の上昇に伴い発電装置から二次電池に対する充電率を低減させ、回生電流による充電を増加させるものがある。
この特許文献1に示される従来装置によれば、車速のほぼ二乗に比例する回生エネルギが無駄なく回収できることになり、車両の走行に必要な燃料の消費を大幅に低減することが可能になる。
また、回生発電時のトルク制御については、電気自動車に関するものであるが、特許文献2に示されるように、アクセルペダル及びブレーキペダルが共に操作されていない時にのみ、手動スイッチの操作に応じた回生制動力の可変制御を行うように構成されているものがある。
この特許文献2に示される従来装置によれば、ドライバの好みで回生制動力を調整できるようにしながら、ドライバが十分な制動を望む際には確実に十分な回生制動力が発揮される。
特開2002−58111号公報 特開平8−163706号公報
前述の従来の装置の場合、走行中の回生発電実行前は、蓄電装置の充電率は低く保たれており、特にブレーキ操作中は発電量を制限していないため、回生発電初期には、蓄電装置もしくは発電機の許容範囲内ではあるが大電流が流れ発電トルクも大きなものとなる。しかし、長い下り坂等で蓄電装置が満充電となり発電機が発電を停止すると、発電トルクが急に低下し、ショックの発生や減速感の変化(減少)によるドライバビリティの悪化が懸念される。
また、回生制動力を運転者が設定できるようにした場合でも、設定した際の蓄電装置の充電率が特定されていなければ、設定時と異なる充電率の場合には運転者の期待した制動力が得られるかどうかは不明であり、一方、蓄電装置の充電率に応じた設定を行うには、装置および操作が複雑になり現実的ではない。
また、前述のような回生制動力制限を実施することによる回生発電量の低下や回生発電期間が短い場合等で、回生電力量が不十分な状態で回生発電が終了した後の発電制御については、特に言及されていない。
この発明は、前述した従来の装置における課題を解決するためになされたもので、回生発電時に効率よく蓄電装置に充電しつつ、回生発電時に必要となる発電トルク変化による
ドライバビリティの悪化を防止することができる車両用発電制御装置を提供することを目的とする。
この発明に係わる車両用発電制御装置は、車両の駆動力を発生する内燃機関と、車両または内燃機関から供給される運動エネルギーを電気エネルギーに変換する発電機と、発電機で発電された電気エネルギーを蓄えるとともに車両で必要な電力を供給する蓄電装置と、蓄電装置の電圧および電流を検出する電圧・電流検出手段と、電圧・電流検出手段が検出した電圧および電流から蓄電装置の充電率を推定する推定充電率算出手段と、蓄電装置の目標充電率を算出する目標充電率算出手段と、蓄電装置の推定充電率が目標充電率算出手段で算出した目標充電率より低い場合には、蓄電装置の推定充電率が目標充電率となるよう発電機の発電制御を行う通常発電制御手段と、車両の減速中でかつ内燃機関の燃料供給を停止している期間に、蓄電装置の充電率が過充電とならない所定充電率以下で発電機の発電制御を行う回生発電制御手段と、車両の走行速度を検出する車速検出手段と、車速検出手段で検出した車速に応じて減速時の回生発電における充電量を予測する回生時充電量予測手段とを備え、目標充電率算出手段は、回生時充電量予測手段で求めた回生時予測充電量の増加に伴って蓄電装置の目標充電率を低下させるとともに、回生発電制御手段は、
前記発電機が前記蓄電装置の充電時に必要とする発電トルクと、蓄電装置への充電を停止した時の発電トルクとの差が所定トルク差以内となるよう発電量を減少する方向に制限し
、通常発電制御手段は、回生発電制御手段が実行されているときは作動を停止するようにしたものである。
この発明の車両用発電制御装置によれば、車速に応じて減速時の回生発電における充電量を予測し、回生時予測充電量の増加に伴って蓄電装置の目標充電率を低下させるとともに、発電機が前記蓄電装置の充電時に必要とする発電トルクと、蓄電装置への充電を停止した時の発電トルクとの差が所定トルク差以内となるよう回生発電量を減少する方向に制限するので、回生発電時に効率よく蓄電装置を充電することができるとともに、回生発電時の発電トルク変化によるドライバビリティの悪化を防止することができる。
上述した、またその他の、この発明の目的、特徴、効果は、以下の実施の形態における詳細な説明および図面の記載からより明らかとなるであろう。
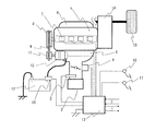
この発明の実施の形態1の車両用発電制御装置における、電源系システム構成を示す構成図である。 この発明の実施の形態1の車両用発電制御装置における、車両発進から停止までの各パラメータの挙動を示すタイミングチャートである。 この発明の実施の形態1の車両用発電制御装置における、一定周期で実行される処理を示すフローチャートである。 この発明の実施の形態1の車両用発電制御装置における、回生発電制御処理を示すフローチャートである。 この発明の実施の形態1の車両用発電制御装置における、通常発電制御処理を示すフローチャートである。
実施の形態1.
以下、この発明の実施の形態1による車両用発電制御装置について、図面を参照しながら説明する。図1は、この発明の実施の形態1の車両用発電制御装置における、電源系システム構成を示す構成図である。
図1において、内燃機関1は、複数の気筒(図示の例では4気筒)を備え、それぞれの気筒の吸気側及び排気側は、吸気弁(図示せず)及び排気弁(図示せず)を介して吸気管5及び排気管6に接続されている。又、内燃機関1は、それぞれの気筒に対応して設けられた複数の点火コイル7と、これらの点火コイル7から供給される高電圧によりそれぞれの気筒内に火花放電を発生する複数の点火プラグ(図示せず)とを備えている。
なお、それぞれの点火コイル7は、対応する点火プラグと一体に構成されている。
エアクリーナ2は、吸気管5の上流側に設けられ、吸入する空気を浄化する。
吸気管5におけるエアクリーナ2の下流側に設けられた吸気量センサ3は、吸気管5を介して内燃機関1に吸入する吸気量を計測し、その計測値に対応する信号を出力する。
電動スロットル4は、スロットルバルブの開度を制御して内燃機関1への吸気量を調節する。
アクセルセンサ16は、運転者によるアクセル操作量を検出し、その検出値に対応する信号を出力する。この信号によりアクセル操作の有無が検出でき、アクセル踏み込みの場合は加速要求があると判断でき、一方、アクセル操作が無く操作量が0であれば減速の意思であると判断し、所定条件成立で内燃機関への燃料供給を停止する。
また、ブレーキスイッチ17は、ブレーキの操作を検出し、ブレーキの踏み込み有無を示す信号を出力する。
発電機10は、その回転子軸に固定されているプーリ11が内燃機関1のクランク軸に取り付けられたプーリ8にベルト9を介して連結されている。内燃機関1からの動力により発電機10の回転子を回転させて発電する。発電機10からの電力は、蓄電装置であるバッテリ12に供給されてバッテリ12の充電を行うこととなる。
また、バッテリ12にはバッテリセンサ18が設けられ、バッテリ12の電圧および電流を検出する。これらの値に基づいてバッテリ12への充電有無や充電率を推定する。
マイクロコンピュータ等の演算装置(以下、CPUと称する)、及びメモリ等を含むコントロールユニット13は、吸気量センサ3、アクセルセンサ16、電動スロットル4、点火コイル7、発電機10、バッテリ12、バッテリセンサ18等に接続され、アクセルセンサ16、ブレーキスイッチ17やバッテリセンサ18等の各種センサからの出力信号に基づいて内燃機関1及び発電機10を制御する。また、車速を検出する車速センサ(図示せず)もコントロールユニット13に接続される。
図2は、この発明の実施の形態1の車両用発電制御装置における、車両発進から停止までの各パラメータの挙動を示すタイミングチャートであり、横軸は時間を示す。
図2における各パラメータにつき、上から順に説明する。
アクセル操作量は、アクセルセンサ16からの信号でありアクセル操作が無いときに操作量0となる。ブレーキフラグは、ブレーキスイッチ17からの信号でありブレーキの踏み込み時に1となる。燃料停止フラグは、内燃機関1への燃料供給が停止されている時に1となる。
回生時予測充電量は、車速に応じて減速時の回生発電における充電量を予測した値であり、回生時充電量予測手段で算出される。高車速になるほど、車両の運動エネルギーは増加するため、減速回生時に車両から発電機10に供給できる運動エネルギーが増加し、回生時の充電量も増加する。そのため、回生時予測充電量は、車速の上昇に伴って増加する傾向となる。ただし、発電機10やバッテリ12の性能により発電量や充電量が制限されるので、高車速になると回生時予測充電量も制限されることとなる。
また、停止直前では車両(駆動輪15)と内燃機関1が切り離され運動エネルギーの回収
は困難になるため、低車速時の回生時予測充電量は0に設定するのがよい。
充電率は目標値と推定値があり、目標充電率は、バッテリ12の充電率の目標値で、目標充電率算出手段で算出される。目標充電率は、回生発電時に効率よくバッテリ12に充電できるよう、回生時予測充電量の増加に伴って目標充電率を低下させておくよう設定される。但し、バッテリ12の劣化等を考慮すると極端に低い充電率は避ける必要があるため、回生時予測充電量が所定値以上となった場合には目標充電率を一定値にしてもよい。
推定充電率は、バッテリセンサ18が検出した電圧および電流からバッテリ12の充電率を推定した値であり、推定充電率算出手段で算出される。充電率の推定は公知の方法でよく、特許文献1に示されるようにバッテリ12の標準的な特性をコントロールユニット13に格納しておき、この特性と検出した電圧および電流とを対比することにより充電率を推定すればよい。最後に、発電電流は、発電機10から出力される電流であり、発電機10に設けた電流センサ(図示せず)からの信号である。
これら各パラメータの挙動については、まず、車両が停止状態から、時間Aで運転者によりブレーキoff、アクセル踏み込みのため発進する。
時間Bで所定車速を超えると車速上昇に伴い回生時予測充電量は増加し目標充電率は低下するので、推定充電率が目標充電率より大きくなり、通常発電制御手段により発電機10の発電は停止する。その後は、推定充電率が目標充電率を下回るまでバッテリ12に蓄えられた電力を車両に供給するので、発電機は作動せず発電に掛かる燃料を削減できる。
時間Cでは運転者が減速を行うべくアクセル操作量0、ブレーキ踏み込みとしたため、内燃機関1の燃料供給が停止され、車速が低下する。そしてこの期間に、回生発電制御手段により、回生発電が実行される。減速中は、内燃機関1への燃料供給がなく車両の運動エネルギーを発電に使用して回収することができるので、その分燃費を向上させることが可能となる。
通常発電制御手段による発電では、バッテリ12の推定充電率が目標充電率を超えている場合に発電を実施しないが、回生発電では、内燃機関1の燃料を使用せずに発電するため、制約の範囲内でできる限り発電を実行するのがよく、目標充電率にかかわらず発電を行うこととなる。ただし、バッテリ12の推定充電率が100%を超えるまで充電を行うと過充電となり劣化が促進され寿命低下となるため、所定の充電率、例えば、制御誤差等を考慮して98%程度まで充電を行うようにするとよい。
また、回生発電における制約については、エネルギー回収面から、回生発電初期はバッテリ12の推定充電率を低く維持していることもあり、バッテリ12が受け入れることのできる電流もしくは発電機10の最大発電電流までできる限り発電するのがよいとの考えがある。しかし、長い下り坂等でバッテリ12の推定充電率が所定の充電率となり発電機10が発電を停止することになると、発電トルクが急に低下し、ショックの発生や減速感の変化(減少)によるドライバビリティの悪化が懸念される。
この点、通常発電制御手段による発電時は、内燃機関1により運度エネルギーが供給されているため、発電に必要なトルクに応じて内燃機関1の出力を変化させることで、発電による車両(ドライバビリティ)への影響を抑制することが可能であるが、回生発電時は、車両減速による運動エネルギーのみのため、発電トルクが変化するとそのまま車両の挙動へ影響を及ぼすこととなる。
そこで、発電機10がバッテリ12の充電時に必要とする発電トルクとバッテリ12への充電を停止した時の発電トルクとの差が、ドライバビリティに影響しない程度の所定ト
ルク差以内となるよう、回生時の発電量を減少する方向に制限しておくのがよい。
この場合、エネルギー回収量は若干目減りすることとなるが、ドライバビリティを確保することが可能となる。さらに、バッテリ12の推定充電率が所定の充電率に近くになるにつれ発電量を徐々に低下させてもよく、発電停止時のショックをより低減することが可能となる。
時間Dでは、運転者によりブレーキoff、アクセル踏み込みのため、内燃機関1への燃料供給が再開され回生発電制御手段は停止する。時間C〜D間の回生発電によりバッテリ12の推定充電率は若干上昇したが、それ以上に車速低下により回生時予測充電量が減少し目標充電率が増加したため、時間Dでは、バッテリ12の推定充電率が目標充電率を下回っている。この場合、本来であれば回生発電制御手段による回生発電が終了しているので通常発電制御手段による発電を行うことになるが、回生発電が車両に対する加速要求(アクセル踏み込み)により終了したときには、車速が再び上昇することが予想されるので、所定期間、通常発電制御手段による発電を停止するとよい。車速が上昇し、再度目標充電率が低下すれば、通常発電制御手段による発電を行う必要がなくなるからである。
所定期間としては、運転者の意思が車速に反映される程度でよく数10秒程度でよい。また、車速の変化が所定値以下となり運転者の要求車速に到達したと判断されるまで通常発電制御手段による発電を停止してもよい。
その結果、通常発電制御手段による発電が所定期間停止され、その間に車速上昇に伴い目標充電率が低下するため、時間Dから時間Eの間では通常発電制御手段による発電は行われず、前述の時間B〜C間と同様の挙動となる。
バッテリ12が放電を続けた結果、時間Eで推定充電率と目標充電率が一致するので、その後は推定充電率が目標充電率を維持するよう、通常発電制御手段により発電制御が実行される。この場合、バッテリ12の充放電が行われないよう車両の使用する電力相当の発電を行えばよい。
時間Fで、運転者が減速を行うべくアクセル操作量0としたため、内燃機関1の燃料供給が停止され車速が低下する。但し、ブレーキの踏み込みはないため、ブレーキの踏み込み時に比べ、より発電トルクを制限して回生発電を行う。
ブレーキの踏み込みがない状態では、運転者の操作がないため、ブレーキ踏み込みがある状態に比べて発電トルク変化による車両挙動変化を認識しやすくなる。
また、運転者はアクセル操作量を0としただけで積極的な減速は望んでいないが、この状態で過大な回生発電によるトルクが掛かることで要求以上の減速感となれば、再度アクセルを踏み込むことになり、ドライバビリティが悪化するとともに、かえって燃費の悪化を招くこととなる。
その後、時間Gでブレーキ踏み込みにより回生発電時の発電トルクが増加され、時間Hで、内燃機関1の回転速度低下により燃料停止条件から外れ燃料供給が再開されるので、回生発電は終了する。
時間Hでは、バッテリ12の推定充電率が目標充電率を下回っており、回生発電制御手段による回生発電が加速要求以外で終了しているので、推定充電率が目標充電率となるよう通常発電制御手段による発電を行う。推定充電率と目標充電率が一致すれば、時間E〜F間同様、推定充電率が目標充電率を維持するよう、発電制御が実行される。
推定充電率が目標充電率となるまでは、バッテリ12が受け入れることのできる電流もしくは発電機10の最大発電電流までできる限り発電するのがよい。通常発電制御手段に
よる発電時は、前述のように内燃機関1からエネルギーが供給されるため、発電トルクが車両の挙動へ影響を及ぼすことは少ない。また、停車後すぐに運転者により内燃機関1を停止されるとバッテリ12の充電率が低い状態で放置されることになり、バッテリ12の寿命低下や次回始動時の電力不足の懸念があるため、速やかに推定充電率が目標充電率となるよう発電する必要がある。
次に、この発明の実施の形態1による車両用発電制御装置の動作について説明する。
図3は、この発明の実施の形態1の車両用発電制御装置における、一定周期で実行される処理を示すフローチャートである。図3に示すフローチャートの処理は、0.01秒の一定周期で実行される。
図3において、まず、ステップS101にて推定充電率算出処理を実施して、バッテリ12の充電率を推定する。推定方法は、前述の通り、バッテリセンサ18が検出した電圧および電流とコントロールユニット13に格納したバッテリ12の標準的な特性とを対比して行うものでよい。
次に、ステップS102では、回生時充電量予測処理を実施して、回生時におけるバッテリ12への充電量を予測する。予測方法としては、バッテリ12が受け入れることのできる電流、発電機10の最大発電電流、および車速に応じて減速時に得られる運動エネルギーから求められる最大回生発電量を基に、前述の通り、回生発電有無での発電トルク差が、ドライバビリティに影響しない程度の所定トルク差以内となるよう回生時の発電トルクを制限した時の発電量を求めるものでよい。所定トルク差は、後述の回生発電制御処理内で求めたものを使用する。
ステップS103では、ステップS102で算出した回生時予測充電量に基づいてバッテリ12の目標充電率を算出する。回生時予測充電量に相当するバッテリ12の充電割合を求めて目標充電率を算出すればよく、回生時予測充電量が増加するに伴い目標充電率は低下することとなる。
ステップS104で、車両減速中かつ燃料供給停止中であるか判定する。減速中かつ燃料供給停止中であると判定された場合(Yes)は、ステップS105に進んで後述する回生発電制御処理(図4)を実施して、図3に示す処理を終了する。
一方、減速中かつ燃料供給停止中でない場合(No)は、回生発電制御処理は実行されていないため、ステップS106で加速要求による回生発電終了後20秒以内かを判断する。
ステップS106において加速要求による回生発電終了後20秒以内と判断された場合(Yes)は、前述の通り、車速が再び上昇することが予想され、所定期間(20秒間)通常発電制御手段による発電を停止するので、図3に示す処理を終了する。
一方、加速要求による回生発電終了後20秒以内でない場合(No)は、ステップS107において後述する通常発電制御処理(図5)を実施して図3に示す処理を終了する。
次に、前述のステップS105において実施する回生発電制御処理について説明する。図4は、この発明の実施の形態1の車両用発電制御装置における、回生発電制御処理を示すフローチャートである。
図4において、ステップS201で、発電F/B設定充電率に所定充電率を設定する。発電F/B設定充電率は、後述の発電F/B処理において、バッテリ12の推定充電率を
F/B制御する際の目標値となる。
次に、ステップS202で、ブレーキ踏み込みの有無を判定する。
ブレーキ踏み込みがある場合(Yes)は、ステップS203で発電トルク制限値に10Nmを設定し、ブレーキ踏み込みがない場合(No)は、ステップS204で発電トルク制限値に5Nmを設定する。
なお、本実施の形態1では、発電トルク制限値に一定値を使用したが、回生発電時のトルクは車両の運動エネルギーから供給されるため、車速、変速比で変化させてもよい。
発電トルク制限値を適切に設定することで、ドライバビリティを確保しつつ、より多くの回生エネルギーの回収が可能となる。
最後にステップS205において発電F/B処理を実行して図4の処理を終了する。
発電F/B処理は、バッテリ12の推定充電率が発電F/B設定充電率になるよう、先のステップ203ないしステップ204で設定した発電トルク制限値に基づく範囲内で発電機10の発電電流をF/B制御するものである。また、バッテリ12が受け入れることのできる電流および電圧ならびに発電機10の最大発電電流で制限される範囲で発電制御されることは言うまでもない。
発電トルク制限値は回生発電有無での発電トルク差なので、例えば、車両に供給している電力に対応する発電トルクが2Nmである場合には、ブレーキ踏み込み時は12Nm、ブレーキ踏み込みがない時は7Nmの範囲で発電機10による発電を実行すればよい。
車両に供給している電力は、発電機10の発電電力とバッテリ12の充電に使用している電力の差から求められ、得られた電力と、あらかじめコントロールユニット13に格納している発電機10における発電電力と発電トルクの特性とを比較して、車両供給電力に対応する発電トルクが求められる。
次に、前述の図3におけるステップS107において実施する通常発電制御処理について説明する。図5は、この発明の実施の形態1の車両用発電制御装置における、通常発電制御処理を示すフローチャートである。
図5において、ステップS301で、発電F/B設定充電率に目標充電率を設定し、ステップS302で発電トルク制限値に100Nmを設定する。発電トルク制限値に100Nmを設定するのは、発電F/B処理を回生発電制御処理と共用しているため、発電トルク制限値を無効化するためである。
最後にステップS303において、回生発電制御処理同様、発電F/B処理を実行して図5の処理を終了する。
なお、本実施の形態1では、発電機10とバッテリ12を直接接続しているが、間にDC/DCコンバータ等の装置を配置してもよい。また、バッテリの代わりに電気二重層キャパシタを用いてもよい。これらにより、発電機の効率や発電能力を向上させることが可能となる。
また、発電機10は内燃機関1とベルトで接続するものとしたが、内燃機関1と変速機14の間に発電機を備える形態であってもよく、電動機と兼用できるもの(発電電動機)でもよい。
以上のように、この発明の実施の形態1の車両用発電制御装置によれば、車速に応じて減速時の回生発電における充電量を予測し、回生時予測充電量の増加に伴って蓄電装置の目標充電率を低下させるとともに、発電機において蓄電装置への充電有無で発電に必要と
なるトルクの差が所定トルク差以内となるよう、回生発電量を減少する方向に制限するので、回生発電時に効率よく蓄電装置を充電することができるとともに、回生発電時の発電トルク変化によるドライバビリティの悪化を防止することができる。
また、回生発電制御手段における所定トルク差は、ブレーキ操作が有りブレーキが踏み込まれているときに比べ、ブレーキ操作の無い時に、より小さい値とするので、ブレーキ操作の無い時には過大な回生発電トルクとならず、ドライバビリティの悪化を防止することができる。
また、回生発電が、車両に対する加速要求により終了した場合には、通常発電制御の作動を所定期間停止させるので、加速で目標充電率が低下するのを待つことで通常発電実行の機会を低減でき、燃費の向上を図ることができる。
1 内燃機関 2 エアクリーナ
3 吸気量センサ 4 電動スロットル
5 吸気管 6 排気管
7 点火コイル 8、11 プーリ
9 ベルト 10 発電機
12 バッテリ 13 コントロールユニット
14 変速機 15 駆動輪
16 アクセルセンサ 17 ブレーキスイッチ
18 バッテリセンサ

Claims (3)

  1. 車両の駆動力を発生する内燃機関と、前記車両または前記内燃機関から供給される運動エネルギーを電気エネルギーに変換する発電機と、前記発電機で発電された電気エネルギーを蓄えるとともに前記車両で必要な電力を供給する蓄電装置と、前記蓄電装置の電圧および電流を検出する電圧・電流検出手段と、前記電圧・電流検出手段が検出した電圧および電流から前記蓄電装置の充電率を推定する推定充電率算出手段と、前記蓄電装置の目標充電率を算出する目標充電率算出手段と、前記蓄電装置の推定充電率が前記目標充電率算出手段で算出した目標充電率より低い場合には、前記蓄電装置の推定充電率が目標充電率となるよう前記発電機の発電制御を行う通常発電制御手段と、前記車両の減速中でかつ前記内燃機関の燃料供給を停止している期間に、前記蓄電装置の充電率が過充電とならない所定充電率以下で前記発電機の発電制御を行う回生発電制御手段と、前記車両の走行速度を検出する車速検出手段と、前記車速検出手段で検出した車速に応じて減速時の回生発電における充電量を予測する回生時充電量予測手段とを備え、前記目標充電率算出手段は、前記回生時充電量予測手段で求めた回生時予測充電量の増加に伴って前記蓄電装置の目標充電率を低下させるとともに、前記回生発電制御手段は、前記発電機が前記蓄電装置の充電時に必要とする発電トルクと、蓄電装置への充電を停止した時の発電トルクとの差が所定トルク差以内となるよう発電量を減少する方向に制限し、前記通常発電制御手段は、前記回生発電制御手段が実行されているときは作動を停止することを特徴とする車両用発電制御装置。
  2. 前記回生発電制御手段における前記所定トルク差は、ブレーキ操作が有りブレーキが踏み込まれているときに比べ、ブレーキ操作の無い時に、より小さい値とすることを特徴とする請求項1に記載の車両用発電制御装置。
  3. 前記回生発電制御手段による発電が、前記車両に対する加速要求により終了した場合は、前記通常発電制御手段の作動を所定期間停止させることを特徴とする請求項1または請求項2に記載の車両用発電制御装置。
JP2010238536A 2010-10-25 2010-10-25 車両用発電制御装置 Expired - Fee Related JP5048824B2 (ja)

Priority Applications (4)

Application Number Priority Date Filing Date Title
JP2010238536A JP5048824B2 (ja) 2010-10-25 2010-10-25 車両用発電制御装置
US13/079,406 US8570000B2 (en) 2010-10-25 2011-04-04 Vehicle power-generation control apparatus
FR1155107A FR2966412B1 (fr) 2010-10-25 2011-06-10 Appareil de commande de production d'energie de vehicule
CN201110186177.1A CN102452323B (zh) 2010-10-25 2011-06-23 车辆用发电控制装置

Applications Claiming Priority (1)

Application Number Priority Date Filing Date Title
JP2010238536A JP5048824B2 (ja) 2010-10-25 2010-10-25 車両用発電制御装置

Publications (2)

Publication Number Publication Date
JP2012092673A JP2012092673A (ja) 2012-05-17
JP5048824B2 true JP5048824B2 (ja) 2012-10-17

Family

ID=45935373

Family Applications (1)

Application Number Title Priority Date Filing Date
JP2010238536A Expired - Fee Related JP5048824B2 (ja) 2010-10-25 2010-10-25 車両用発電制御装置

Country Status (4)

Country Link
US (1) US8570000B2 (ja)
JP (1) JP5048824B2 (ja)
CN (1) CN102452323B (ja)
FR (1) FR2966412B1 (ja)

Families Citing this family (19)

* Cited by examiner, † Cited by third party
Publication number Priority date Publication date Assignee Title
JP5377538B2 (ja) * 2011-02-14 2013-12-25 株式会社東芝 蓄電装置とその設置・運用方法
US8720618B1 (en) * 2011-03-28 2014-05-13 Aura Systems Inc. Retrofitting a vehicle to transfer mechanical power out of an engine compartment
JP5803849B2 (ja) * 2012-08-27 2015-11-04 トヨタ自動車株式会社 蓄電システム
JP6015910B2 (ja) * 2012-09-03 2016-10-26 スズキ株式会社 車両用充電装置
WO2014058383A2 (en) * 2012-10-10 2014-04-17 Scania Cv Ab Identification and use of free energy
US9083202B2 (en) * 2012-12-18 2015-07-14 Fca Us Llc Alternator control for battery charging
CN103112364B (zh) * 2013-02-27 2015-07-08 浙江吉利汽车研究院有限公司杭州分公司 一种汽车电平衡实时控制方法及装置
CN104118425B (zh) * 2013-04-26 2018-06-26 比亚迪股份有限公司 汽车的控制方法及汽车的动力系统
JP6319053B2 (ja) * 2014-11-06 2018-05-09 トヨタ自動車株式会社 モーターによって駆動する車両、および、車両に搭載される二次電池の充放電の制御方法
WO2016151695A1 (ja) * 2015-03-20 2016-09-29 三菱自動車工業株式会社 車両の電力制御装置
US10953756B2 (en) * 2015-07-15 2021-03-23 Ford Global Technologies, Llc Adaptive regenerative braking method and system
JP6501069B2 (ja) 2015-07-24 2019-04-17 三菱自動車工業株式会社 車両の回生制御装置
JP2017030509A (ja) * 2015-07-31 2017-02-09 トヨタ自動車株式会社 電源制御装置
CN105667340B (zh) * 2015-12-29 2018-05-08 湖南南车时代电动汽车股份有限公司 一种混合动力车辆的驱动电机制动防抖方法
JP6536457B2 (ja) * 2016-04-06 2019-07-03 株式会社デンソー 発電制御装置
JP7003639B2 (ja) * 2017-12-26 2022-01-20 トヨタ自動車株式会社 電気自動車
JP7143880B2 (ja) * 2018-03-27 2022-09-29 三菱自動車工業株式会社 ハイブリッド車両の発電制御装置
CN108944572B (zh) * 2018-07-25 2021-01-15 北京新能源汽车股份有限公司 一种转矩限制方法、装置及电动汽车
JP7172837B2 (ja) * 2019-04-26 2022-11-16 トヨタ自動車株式会社 制動力制御装置

Family Cites Families (18)

* Cited by examiner, † Cited by third party
Publication number Priority date Publication date Assignee Title
JPH08163706A (ja) 1994-12-06 1996-06-21 Mitsubishi Motors Corp 電気自動車の回生制動制御装置
JP3387273B2 (ja) * 1995-06-12 2003-03-17 いすゞ自動車株式会社 ハイブリッド電気自動車の発電機制御装置
US5941328A (en) * 1997-11-21 1999-08-24 Lockheed Martin Corporation Electric vehicle with variable efficiency regenerative braking depending upon battery charge state
JP3839199B2 (ja) * 1999-10-06 2006-11-01 本田技研工業株式会社 ハイブリッド車両の制御装置
JP3377040B2 (ja) * 1999-10-08 2003-02-17 トヨタ自動車株式会社 ハイブリッド車両の制御装置
JP2001157306A (ja) * 1999-11-26 2001-06-08 Nissan Motor Co Ltd ハイブリッド車両の制御装置
JP2001268719A (ja) * 2000-03-23 2001-09-28 Toyota Motor Corp ハイブリッド車両のバッテリ充電制御装置
JP2002058111A (ja) * 2000-08-10 2002-02-22 Mitsubishi Electric Corp ハイブリッド電気自動車用発電制御装置
JP4224781B2 (ja) * 2003-06-16 2009-02-18 株式会社デンソー 車両用電力制御システム
JP4543714B2 (ja) * 2004-03-23 2010-09-15 日産自動車株式会社 組電池の容量調整装置および容量調整方法
JP2007244036A (ja) * 2006-03-06 2007-09-20 Nissan Motor Co Ltd 車両制御装置
JP4321569B2 (ja) * 2006-09-05 2009-08-26 日産自動車株式会社 車両の制御装置及び制御方法
JP4442646B2 (ja) * 2007-06-20 2010-03-31 株式会社デンソー 車両用発電制御装置及び制御システム
JP4228086B1 (ja) * 2007-08-09 2009-02-25 トヨタ自動車株式会社 車両
JP4909863B2 (ja) * 2007-10-04 2012-04-04 本田技研工業株式会社 ハイブリッド車両の制御装置
FR2926048B1 (fr) * 2008-01-09 2010-04-30 Peugeot Citroen Automobiles Sa Procede de controle des accelerations d'un vehicule hybride.
JP2010125956A (ja) * 2008-11-27 2010-06-10 Nissan Motor Co Ltd 電動車両の制御システム
JP2010170925A (ja) * 2009-01-26 2010-08-05 Aisin Seiki Co Ltd 燃料電池システム

Also Published As

Publication number Publication date
US8570000B2 (en) 2013-10-29
JP2012092673A (ja) 2012-05-17
CN102452323A (zh) 2012-05-16
FR2966412A1 (fr) 2012-04-27
US20120098502A1 (en) 2012-04-26
FR2966412B1 (fr) 2014-08-08
CN102452323B (zh) 2014-06-04

Similar Documents

Publication Publication Date Title
JP5048824B2 (ja) 車両用発電制御装置
JP4394061B2 (ja) ベルト型ハイブリッド車両の回生制動制御方法
RU2619067C2 (ru) Устройство управления зарядкой, способ управления зарядкой, компьютерная программа и носитель записи
US10539111B2 (en) Control device for an internal combustion engine, vehicle including the same and method for the same
US9156467B2 (en) Vehicle power generating device and power generation control method
AU2013385112A1 (en) Charge control device, vehicle control device, vehicle, charging control method, and vehicle control method
US9678495B2 (en) Control apparatus for plug-in hybrid vehicle, and control method for the same
EP4059759B1 (en) Vehicle control device, vehicle control method, and program
JPWO2013084357A1 (ja) ハイブリッド車両の制御装置
JP3700974B2 (ja) エンジン制御装置
JP5450238B2 (ja) 電動車両
KR101637304B1 (ko) 토크 지령 생성 방법 및 장치
JP7172836B2 (ja) 制動力制御装置
JP4072913B2 (ja) 車両のバッテリ管理装置
CN107054100B (zh) 用于运行车辆的电驱动部的方法以及带有电驱动部的车辆
JP2004211575A (ja) 車輌の制御装置
JP2013038977A (ja) 電池の寿命評価方法
JP6044176B2 (ja) 車両用発電制御装置
WO2013132531A1 (ja) エンジン制御装置及びエンジン制御方法
JP6019985B2 (ja) 車両用電源装置
JP5699841B2 (ja) ハイブリッド自動車
JP2018076834A (ja) 自動車用電子制御装置

Legal Events

Date Code Title Description
A131 Notification of reasons for refusal

Free format text: JAPANESE INTERMEDIATE CODE: A131

Effective date: 20120424

A521 Request for written amendment filed

Free format text: JAPANESE INTERMEDIATE CODE: A523

Effective date: 20120529

TRDD Decision of grant or rejection written
A01 Written decision to grant a patent or to grant a registration (utility model)

Free format text: JAPANESE INTERMEDIATE CODE: A01

Effective date: 20120703

A01 Written decision to grant a patent or to grant a registration (utility model)

Free format text: JAPANESE INTERMEDIATE CODE: A01

A61 First payment of annual fees (during grant procedure)

Free format text: JAPANESE INTERMEDIATE CODE: A61

Effective date: 20120719

FPAY Renewal fee payment (event date is renewal date of database)

Free format text: PAYMENT UNTIL: 20150727

Year of fee payment: 3

R151 Written notification of patent or utility model registration

Ref document number: 5048824

Country of ref document: JP

Free format text: JAPANESE INTERMEDIATE CODE: R151

R250 Receipt of annual fees

Free format text: JAPANESE INTERMEDIATE CODE: R250

R250 Receipt of annual fees

Free format text: JAPANESE INTERMEDIATE CODE: R250

R250 Receipt of annual fees

Free format text: JAPANESE INTERMEDIATE CODE: R250

R250 Receipt of annual fees

Free format text: JAPANESE INTERMEDIATE CODE: R250

R250 Receipt of annual fees

Free format text: JAPANESE INTERMEDIATE CODE: R250

R250 Receipt of annual fees

Free format text: JAPANESE INTERMEDIATE CODE: R250

R250 Receipt of annual fees

Free format text: JAPANESE INTERMEDIATE CODE: R250

R250 Receipt of annual fees

Free format text: JAPANESE INTERMEDIATE CODE: R250

LAPS Cancellation because of no payment of annual fees