JP5039481B2 - 連結装置、連結方法および画像形成装置 - Google Patents

連結装置、連結方法および画像形成装置 Download PDF

Info

Publication number
JP5039481B2
JP5039481B2 JP2007225584A JP2007225584A JP5039481B2 JP 5039481 B2 JP5039481 B2 JP 5039481B2 JP 2007225584 A JP2007225584 A JP 2007225584A JP 2007225584 A JP2007225584 A JP 2007225584A JP 5039481 B2 JP5039481 B2 JP 5039481B2
Authority
JP
Japan
Prior art keywords
ball
joint
shaft
holding member
constant velocity
Prior art date
Legal status (The legal status is an assumption and is not a legal conclusion. Google has not performed a legal analysis and makes no representation as to the accuracy of the status listed.)
Expired - Fee Related
Application number
JP2007225584A
Other languages
English (en)
Other versions
JP2009058735A (ja
Inventor
拓郎 神谷
潤也 瀧川
英明 菅田
好美 浅山
Current Assignee (The listed assignees may be inaccurate. Google has not performed a legal analysis and makes no representation or warranty as to the accuracy of the list.)
NTN Corp
Ricoh Co Ltd
Original Assignee
NTN Corp
Ricoh Co Ltd
Priority date (The priority date is an assumption and is not a legal conclusion. Google has not performed a legal analysis and makes no representation as to the accuracy of the date listed.)
Filing date
Publication date
Application filed by NTN Corp, Ricoh Co Ltd filed Critical NTN Corp
Priority to JP2007225584A priority Critical patent/JP5039481B2/ja
Publication of JP2009058735A publication Critical patent/JP2009058735A/ja
Application granted granted Critical
Publication of JP5039481B2 publication Critical patent/JP5039481B2/ja
Expired - Fee Related legal-status Critical Current
Anticipated expiration legal-status Critical

Links

Images

Landscapes

  • Electrophotography Configuration And Component (AREA)

Description

本発明は、連結装置、連結方法および画像形成装置に関するものである。
従来、自動車のドライブシャフトの回転トルクを車軸に伝達する駆動伝達機構の一つとして、等速ジョイントが知られている。等速ジョイントは、互いに軸線方向に並ぶ原動側の駆動軸と従動側の被駆動軸との間の偏角を許容しつつ、両者間で駆動力を回転方向に等速に伝達することができる。
等速ジョイントとしては、例えば特許文献1に記載のような、トリボールジョイントが一般的に知られている。トリボールジョイントは、互いに軸線方向に並ぶボール非保持部材とボール保持部材とを備えている。ボール非保持部材は、一端が開口する環状空間を有し、その環状空間の外壁面に軸方向に延在しながら互いに円周方向に120°の間隔をおいて並ぶトラック溝たる外溝が形成されている。また、環状空間の内壁面に軸方向に延在しながらそれぞれ外溝と対向するトラック溝たる内溝が形成されている。一方、ボール保持部材は、ボール非保持部材の環状空間内に挿入される中空円筒状の周壁に、ボール保持穴が円周方向に120°の間隔をおいて並ぶように形成されており、それぞれのボール保持穴にボールを保持している。ボール保持部材は、これらのボールをボール非保持部材の内溝および外溝に係合させるようにして、ボール非保持部材の環状空間内に挿入される。この状態でボール非保持部材又はボール保持部材の何れか一方が原動側となって回転すると、その回転力が内溝および外溝に係合している複数のボールを介してもう一方に伝達される。
また、特許文献2、3には、上述のトリボールジョイントを軸方向に直列配置して、駆動軸と被駆動軸との軸心ずれがある場合でも、駆動軸の回転を被駆動軸に等速で伝達することのできる連結装置が記載されている。
また、特許文献4には、トリボールジョイントを軸方向に直列配置した連結装置を、画像形成装置の感光体駆動モータの出力軸と感光体軸との連結に用いたものも記載されている。
特公昭52−34699号公報 特開2006−194415号公報 特開2006−97758号公報 特開2006−163232号公報
しかしながら、特許文献2乃至4に記載の連結装置においては、ボール保持部材の一部を、ボール非保持部材の環状空間内に挿入した後、ボール非保持部材の環状空間の開口端付近に抜け止め輪を嵌めこんで、ボール保持部材がボール非保持部材から抜け出すのを防止している。このため、抜け止め輪の分、部品点数が増加し、部品管理コストなどが増加する問題があった。また、ボール保持部材の一部を、ボール非保持部材の環状空間内に挿入した後、ボール非保持部材の環状空間の開口端付近に抜け止め輪を嵌めるという工程があるため、連結装置の組み付けが煩雑となるという問題があった。
本発明は、上記問題に鑑みなされたものであり、その目的とするところは、部品点数を削減することができ、かつ、組み付け作業を簡素化することができる連結装置、連結方法および画像形成装置を提供することである。
上記目的を達成するために、請求項1の発明は、装置本体に対して着脱可能に設けられたユニットの回転体に駆動力を伝達するための被駆動軸と、装置本体の駆動源から駆動力を受けて回転駆動する駆動軸との連結を行う連結装置において、一端が開口する環状空間を有し、その環状空間の外壁面と内壁面の少なくとも一方に軸方向に延びるトラック溝を周方向に等間隔で複数形成したボール非保持部材と、一部が前記ボール非保持部材の前記環状空間内に組み込まれ、前記ボール非保持部材に形成された前記トラック溝に沿って摺動するボールを保持するボール保持部材とを有する等速ジョイントを2個軸方向直列に配置し、一方の等速ジョイントのボール非保持部材とボール保持部材とが前記ユニットの着脱に連動して係合と分離が行われるように構成し、前記ユニットの着脱に連動して係合と分離が行われない方の等速ジョイントのボール非保持部材の環状空間の外壁面および/または内壁面の開口端部から突出し、前記ボール保持部材が前記ボール非保持部材から抜けるのを防止する抜け止め突起を設け、該抜け止め突起と前記ボール非保持部材とを同一材料で形成された一体物とし、かつ、前記非ボール保持部の開口端を弾性変形可能な構成とし、さらに、前記ユニットの着脱に連動して係合と分離が行われない方の等速ジョイントのボール保持部材と前記ボール非保持部材の前記外壁面との間の環状空間および/またはボール保持部材と前記ボール非保持部材の前記内壁面との間の環状空間にリング状の弾性部材を挿入したことを特徴とするものである。
また、請求項2の発明は、請求項1の連結装置において前記弾性部材の硬度を、前記ボール非保持部材を形成する材質の硬度よりも低くしたことを特徴とするものである。
また、請求項の発明は、請求項1または2の連結装置において、被駆動軸側の等速ジョイントを第1等速ジョイントとし、駆動軸側の等速ジョイントを第2等速ジョイントとしたとき、前記第1等速ジョイントの駆動軸側部材と、前記第2等速ジョイントの被駆動軸側部材とを一体物としたことを特徴とするものである。
また、請求項の発明は、回転体と、前記回転体に駆動力を伝達するための被駆動軸とを有し、装置本体に対して脱着可能なユニットを装置本体に対して位置決めした後、前記被駆動軸と、装置本体に設けられた駆動源から駆動力を受けて回転駆動する駆動軸との連結を行う連結方法において、前記被駆動軸と駆動軸との連結に請求項1乃至いずれかひとつの連結装置を用いて行うことを特徴とするものである。
また、請求項の発明は、回転体と、前記回転体に駆動力を伝達するための被駆動軸とを有し、装置本体に対して脱着可能なユニットと、該ユニットが装置本体に対して位置決めされた状態で、前記被駆動軸と装置本体に設けられた駆動源から駆動力を受けて回転駆動する駆動軸とを連結する連結手段とを備えた画像形成装置において、前記連結手段として、請求項1乃至いずれかひとつの連結装置を用いたことを特徴とするものである。
請求項1乃至6の発明によれば、ボール保持部材がボール非保持部材から抜けるのを防止する抜け止め突起が、ボール非保持部材と一体物であるので、抜け止め輪の分、部品点数を削減することができ、装置のコストダウンや、部品管理コストを下げることができる。
また、ボール非保持部材の開口端が弾性変形可能な構成としているので、ボール非保持部材に抜け止め突起が形成されていても、次のようにして、ボール保持部材の一部をボール非保持部材の環状空間に挿入することができる。すなわち、ボール保持部材の一部をボール非保持部材の環状空間に挿入するときに、ボール保持部材に保持されているボールが抜け止め突起に突き当たる。このとき、ボール保持部材をボール非保持部材側へ強く押し込めば、ボール非保持部材の開口端が拡径する方向に弾性変形する。これにより、ボール保持部材に保持されているボールをボール非保持部材のトラック溝に係合させて、ボール保持部の一部がボール非保持部材の環状空間内に挿入されるのである。
このように、ボール保持部材をボール非保持部材側へ強く押し込むだけで、連結装置を組み付けることができるので、ボール保持部材をボール非保持部材に挿入した後に、ボール非保持部材の環状空間の開口端付近に抜け止め輪を嵌めるものに比べて、組み付け工数を削減でき、組み付け作業を簡素化することができる。
以下、本発明を適用した画像形成装置として、電子写真方式のプリンタ(以下、単にプリンタという)の実施形態について説明する。
まず、本プリンタの基本的な構成について説明する。図1は、本プリンタを示す概略構成図である。同図において、本プリンタは、イエロー、シアン、マゼンタ、ブラック(以下、Y、C、M、Kと記す)のトナー像を生成するための4つのプロセスカートリッジ1Y,C,M,Kを備えている。これらは、画像を形成する画像形成物質として、互いに異なる色のY,C,M,Kトナーを用いるが、それ以外は同様の構成になっており、寿命到達時に交換される。以下の説明では、各プロセスカートリッジ1Y,C,M,Kの構成はすべて同じであるため、色分け用の符号Y,C,M,Kについては省略する。
図2に示すように、プロセスカートリッジ1は、像担持体たるドラム状の感光体2、ドラムクリーニングユニット3、帯電ユニット4、現像ユニット5、潤滑剤塗布ユニット6、等を図示しない枠体に収めている。このプロセスカートリッジ1は、プリンタ本体に脱着可能であり、一度に消耗部品を交換できるようになっている。
帯電ユニット4は、図示しない駆動手段によって図中時計回りに回転せしめられる感光体2の表面を一様帯電せしめる。同図においては、図示しない電源によって帯電バイアスが印加されながら、図中反時計回りに回転駆動される回転体たる帯電ローラ4aを感光体2と非接触にして、感光体2を一様帯電せしめる非接触帯電ローラ方式の帯電ユニット4を示している。帯電ユニット4としては、上記以外に、スコロトロン方式、コロトロン方式、接触ローラ方式等を用いることができる。
接触方式、非接触方式帯電ローラ4aに印加する帯電バイアスは、直流に対して交流を重畳する方式や、直流のみを印加する方式がある。接触方式の帯電ローラ4aにおける直流に対して交流を重畳する帯電バイアスは、交流を定電流制御にすることで環境変化によって帯電ローラ4aの抵抗値が変化しても帯電ローラ4aの表面電位がその影響を受けないメリットがある。しかし、電源装置のコストが高くなり、また交流高周波の音が問題としてある。一方、非接触方式の帯電ローラ4aにおいて、直流に対して交流を重畳する帯電バイアスでは、感光体2と帯電ローラ4aとのギャップ変動の影響により、感光体表面を均一に帯電することができず、画像にムラが出てしまう。このため、ギャップ変動に対応した帯電バイアス補正手段が必要となってくる。
帯電ローラ4aの駆動は、感光体2ととも回りさせる方式や、感光体2を駆動させる駆動源からギアなどを介して駆動力をもらう方式などがある。低速機の場合は、感光体2ととも回りさせる方式が一般的である。高速・高画質を要求される装置では、後者の方式が一般的である。
また、同図においては、帯電ローラ4aの表面をクリーニングする帯電ローラクリーナ4bを設けている。これにより、帯電ローラ4aに付着した汚れにより、感光体2が狙いの電位に帯電されなくなるのを抑制することができる。その結果、帯電不良による異常画像を抑制することができる。帯電ローラクリーナ4bは、一般的にメラニンで構成されており、帯電ローラ4aと連れ回りする構成としている。
現像手段たる現像ユニット5は、第1搬送スクリュウ5aが配設された第1剤収容部5eを有している。また、透磁率センサからなるトナー濃度センサ5c、第2搬送スクリュウ5b、現像ロール5g、ドクターブレード5dなどが配設された第2剤収容部5fも有している。これら2つの剤収容部内には、磁性キャリアとマイナス帯電性のトナーとからなる図示しない現像剤が内包されている。第1搬送スクリュウ5aは、図示しない駆動手段によって回転駆動せしめられることで、第1剤収容部5e内の現像剤を図中手前側から奥側へと搬送する。そして、第1剤収容部5eと第2剤収容部5fとの間の仕切壁に設けられた図示しない連通口を経て、第2剤収容部5f内に進入する。第2剤収容部5f内の第2搬送スクリュウ5bは、図示しない駆動手段によって回転駆動せしめられることで、現像剤を図中奥側から手前側へと搬送する。搬送途中の現像剤は、第2剤収容部5fの底部に固定されたトナー濃度センサ5cによってそのトナー濃度が検知される。このようにして現像剤を搬送する第2搬送スクリュウ5bの図中上方には、図中反時計回りに回転駆動せしめられる現像スリーブ5h内にマグネットローラ5iを内包する現像ロール5gが平行配設されている。第2搬送スクリュウ5bによって搬送される現像剤は、マグネットローラ5iの発する磁力によって現像スリーブ5h表面に汲み上げられる。そして、現像スリーブ5hと所定の間隙を保持するように配設されたドクターブレード5dによってその層厚が規制された後、感光体2と対向する現像領域まで搬送され、感光体2上の静電潜像にトナーを付着させる。この付着により、感光体2上にYトナー像が形成される。現像によってトナーを消費した現像剤は、現像ロール5gの現像スリーブ5hの回転に伴って第2搬送スクリュウ5b上に戻される。そして、図中手前端まで搬送されると、図示しない連通口を経て第1剤収容部5e内に戻る。
トナー濃度センサ5cによる現像剤の透磁率の検知結果は、電圧信号として図示しない制御部に送られる。現像剤の透磁率は、現像剤のトナー濃度と相関を示すため、トナー濃度センサ5cはトナー濃度に応じた値の電圧を出力することになる。上記制御部はRAMを備えており、この中にトナー濃度センサ5cからの出力電圧の目標値であるVtrefのデータを格納している。現像ユニット5については、トナー濃度センサ5cからの出力電圧の値とVtrefを比較し、図示しないトナー供給装置を比較結果に応じた時間だけ駆動させる。この駆動により、現像に伴ってトナーを消費してトナー濃度を低下させた現像剤に対して第1剤収容部5eで適量のトナーが供給される。このため、第2剤収容部5e内の現像剤のトナー濃度が所定の範囲内に維持される。
クリーニングユニット3は、転写されずに感光体2の表面に残留した転写残トナーを感光体2の表面から除去するものである。このクリーニングユニット3は、カウンター方向に感光体表面に当接するブレード部材たるクリーニングブレード3aを設けている。また、クリーニングユニット3は、クリーニングブレード3aによって除去された感光体2表面上の転写残トナーを回収する回収部3bを備えている。回収部3bには、回収部に回収されたトナーを図示しない廃トナーボトルへ搬送する搬送オーガ3cを備えている。
感光体2表面上の転写残トナーは、クリーニングブレード3aに除去される。クリーニングブレード3aの先端に溜まった転写残トナーは、回収部3bに落下する。そして、搬送オーガ3cにより廃トナーとして図示しない廃トナーボトルへ搬送され、ここに蓄えられる。このようにして廃トナーボトルに蓄えられた廃トナーは、サービスマンなどにより回収される。なお、回収部3bに回収された転写残トナーを、リサイクルトナーとして現像ユニット5などに搬送し、再度現像に使用するようにしてもよい。
潤滑剤塗布手段たる潤滑剤塗布ユニット6は、感光体2の表面に潤滑剤を塗布して感光体2表面の摩擦係数を低くするものである。感光体2の表面への潤滑剤の塗布は、潤滑剤を固形状に成型して固形潤滑剤6aとし、固形潤滑剤6aを加圧バネ6bで回転するファーブラシ6cに押圧して、ファーブラシ6cを介して感光体2に塗布している。潤滑剤としては、ZnSt(ステアリン酸亜鉛)が最も一般的に用いられる。また、ファーブラシ6cのブラシは、絶縁PET、導電PET、アクリル繊維などが用いられる。感光体表面に塗布された潤滑剤は、潤滑剤塗布ブレード6dによって均一な厚さになって感光体表面に定着する。感光体2表面に潤滑剤を塗布することで、感光体2のフィルミングを防止することができる。
先の図1に示すように、プロセスカートリッジ1Y,C,M,Kの図中下方には、光書込ユニット20が配設されている。潜像形成手段たる光書込ユニット20は、画像情報に基づいて発したレーザ光Lを、各プロセスカートリッジ1Y,C,M,Kにおける各感光体に照射する。これにより、感光体2Y,C,M,K上にY,C,M,K用の静電潜像が形成される。なお、光書込ユニット20は、光源から発したレーザ光Lを、モータによって回転駆動されるポリゴンミラー21によって偏向せしめながら、複数の光学レンズやミラーを介して感光体2Y,C,M,Kに照射するものである。
光書込ユニット20の図中下側には、第1給紙カセット31、第2給紙カセット32が鉛直方向に重なるように配設されている。これら給紙カセット内には、それぞれ、記録体たる転写紙Pが複数枚重ねられた転写紙束の状態で収容されており、一番上の転写紙Pには、第1給紙ローラ31a、第2給紙ローラ32aがそれぞれ当接している。第1給紙ローラ31aが図示しない駆動手段によって図中反時計回りに回転駆動せしめられると、第1給紙カセット31内の一番上の転写紙Pが、カセットの図中右側方において鉛直方向に延在するように配設された給紙路33に向けて排出される。また、第2給紙ローラ32aが図示しない駆動手段によって図中反時計回りに回転駆動せしめられると、第2給紙カセット32内の一番上の転写紙Pが、給紙路33に向けて排出される。給紙路33内には、複数の搬送ローラ対34が配設されており、給紙路33に送り込まれた転写紙Pは、これら搬送ローラ対34のローラ間に挟み込まれながら、給紙路33内を図中下側から上側に向けて搬送される。
給紙路33の末端には、レジストローラ対35が配設されている。レジストローラ対35は、転写紙Pを搬送ローラ対34から送られてくる転写紙Pをローラ間に挟み込むとすぐに、両ローラの回転を一旦停止させる。そして、転写紙Pを適切なタイミングで後述の2次転写ニップに向けて送り出す。
各プロセスカートリッジ1Y,C,M,Kの図中上方には、中間転写体たる中間転写ベルト41を張架しながら図中反時計回りに無端移動せしめる転写ユニット40が配設されている。転写手段たる転写ユニット40は、中間転写ベルト41の他、ベルトクリーニングユニット42、第1ブラケット43、第2ブラケット44などを備えている。また、4つの1次転写ローラ45Y,C,M,K、2次転写バックアップローラ46、駆動ローラ47、補助ローラ48、テンションローラ49なども備えている。中間転写ベルト41は、これら8つのローラに張架されながら、駆動ローラ47の回転駆動によって図中反時計回りに無端移動せしめられる。4つの1次転写ローラ45Y,C,M,Kは、このように無端移動せしめられる中間転写ベルト41を感光体2Y,C,M,Kとの間に挟み込んでそれぞれ1次転写ニップを形成している。そして、中間転写ベルト41の裏面(ループ内周面)にトナーとは逆極性(例えばプラス)の転写バイアスを印加する。中間転写ベルト41は、その無端移動に伴ってY,C,M,K用の1次転写ニップを順次通過していく過程で、そのおもて面に感光体2Y,C,M,K上のY,C,M,Kトナー像が重ね合わせて1次転写される。これにより、中間転写ベルト41上に4色重ね合わせトナー像(以下、4色トナー像という)が形成される。
2次転写バックアップローラ46は、中間転写ベルト41のループ外側に配設された2次転写ローラ50との間に中間転写ベルト41を挟み込んで2次転写ニップを形成している。先に説明したレジストローラ対35は、ローラ間に挟み込んだ転写紙Pを、中間転写ベルト41上の4色トナー像に同期させ得るタイミングで、2次転写ニップに向けて送り出す。中間転写ベルト41上の4色トナー像は、2次転写バイアスが印加される2次転写ローラ50と2次転写バックアップローラ46との間に形成される2次転写電界や、ニップ圧の影響により、2次転写ニップ内で転写紙Pに一括2次転写される。そして、転写紙Pの白色と相まって、フルカラートナー像となる。
2次転写ニップを通過した後の中間転写ベルト41には、転写紙Pに転写されなかった転写残トナーが付着している。これは、ベルトクリーニングユニット42によってクリーニングされる。
2次転写ニップの図中上方には、加圧ローラ61や定着ベルトユニット62などを備える定着ユニット60が配設されている。この定着ユニット60の定着ベルトユニット62は、定着ベルト64を、加熱ローラ63、テンションローラ65、駆動ローラ66によって張架しながら、図中反時計回りに無端移動せしめる。加熱ローラ63は、ハロゲンランプ等の発熱源を内包しており、定着ベルト64を裏面側から加熱する。このようにして加熱される定着ベルト64の加熱ローラ63の掛け回し箇所には、図中時計回りに回転駆動される加圧ローラ61がおもて面側から当接している。これにより、加圧ローラ61と定着ベルト64とが当接する定着ニップが形成されている。
2次転写ニップを通過した転写紙Pは、中間転写ベルト41から分離した後、定着ユニット60内に送られる。そして、定着ニップに挟まれながら図中下側から上側に向けて搬送される過程で、定着ベルト64によって加熱されたり、押圧されたりして、フルカラートナー像が定着せしめられる。
このようにして定着処理が施された転写紙Pは、排紙ローラ対67のローラ間を経た後、機外へと排出される。プリンタ本体の筺体の上面には、スタック部68が形成されており、排紙ローラ対67によって機外に排出された転写紙Pは、このスタック部68に順次スタックされる。
転写ユニット40の上方には、Y,C,M,Kトナーを収容する4つのトナーカートリッジ120Y,C,M,Kが配設されている。トナーカートリッジ120Y,C,M,K内のY,C,M,Kトナーは、それぞれプロセスカートリッジ1Y,C,M,Kの現像ユニットに適宜供給される。これらトナーカートリッジ120Y,C,M,Kは、プロセスカートリッジ1Y,C,M,Kとは独立してプリンタ本体に脱着可能である。
以上の構成の本プリンタにおいては、4つのプロセスカートリッジ1Y,C,M,K、光書込ユニット20、転写ユニット40などの組合せにより、記録体たる転写紙Pにトナー像を形成するトナー像形成手段が構成されている。
図3(A)は、プロセスカートリッジ1を画像形成装置本体の奥側から見たときの正面図であり(B)は、斜視図である。図4は、プリンタ本体にプロセスカートリッジ1を装着したときの概略構成図であり、図5は、プリンタ本体にプロセスカートリッジ1を装着する前の概略構成図である。
図4に示すように、プロセスカートリッジ1の長手方向各端部の外側には、手前側面板18、奥側面板11がそれぞれ設けられている。これら面板11、18は、感光体2の支持軸であるドラム軸2aと現像ユニット5が備える現像ローラ5gの現像ローラ軸5jとを回転自在に支持して、感光体2と現像ローラ5gとの間に一定の現像ギャップを保持する。すなわち、感光体2のドラム軸2aは、軸受15、17を介して各面板11、18に回転可能に嵌合している。また、現像ローラ5gの現像ローラ軸5jも、軸受16、19を介して各面板11、18に回転可能に嵌合している。これにより、被駆動ユニットである現像ユニット5と感光体2とが一体的に組み付けられる。
また、図3(A)、(B)に示すように、奥側面板11には、長孔よりなる従基準孔13が形成され、この従基準孔13には、現像ユニット5に固定された従基準ピン5mが嵌合している。同様に、手前側面板18にも、長孔よりなる従基準孔が形成され、この従基準孔に現像ユニット5に固定された従基準ピンが嵌合している。このように、従基準ピンが各面板11、18に形成された従基準孔に嵌合することによって、現像ユニット5が現像ローラ5gの中心軸線のまわりに回転することが禁止される。
上述のようにして、感光体2と現像ローラ5gとが互いに正しく位置決めされて連結され、一体的なプロセスカートリッジ1が構成される。しかも各面板11、18によって感光体2の中心軸線と現像ローラ5gの中心軸線との間の距離が正しく規制される。これによって、図示した例のように感光体2と現像ローラ5gとが微小なギャップをあけて対向配置されるように構成されているときは、そのギャップが正しく維持され、感光体2に高品質なトナー像を現像することができる。また、感光体2と現像ローラ5gとが互いに当接して対向配置されるように構成されているときは、その当接圧が正しく規制され、感光体2に高品質なトナー像を現像することができる。
また、図5に示すように、奥側面板11にはカートリッジ側従基準嵌合部たるカートリッジ従基準ピン14が形成されている。ドラム軸2aの奥側端部には、従動側カップリング93aが固定されている。
図6は、ユニット伝達機構たる現像ユニット5の駆動伝達部を示す要部概略斜視図である。
図に示ように、現像ローラ5gの軸には、第1ギア140が取り付けられており、第1ギア140には、図示しないフレームに回転自在に支持された回転軸に取り付けられたアイドラギア142が噛み合っている。また、アイドラギア142には搬送スクリュウ5bの軸に取り付けられた第2ギア143が噛み合っている。回転体たる現像ローラ5gは、現像ユニット5の中で最もトルクが大きいため、現像ローラ5gの軸に連結手段70を取り付けるのが好ましい。これは、搬送スクリュウ軸に連結手段70を取り付けた場合は、第1ギア140、アイドラギア142および第2ギア143などのユニット伝達機構に現像ローラのトルクがかかる。一方、現像ローラ軸に連結手段70を取り付けた場合は、搬送スクリュウのトルクがユニット伝達機構にかかる。現像ローラの方が、搬送スクリュウよりもトルクが大きいため、搬送スクリュウのトルクがユニット伝達機構にかかった方が、現像ローラのトルクがユニット伝達機構にかかるよりもユニット伝達機構の負荷が少なくてすむ。よって、現像ローラ軸に連結手段70を取り付けた方が、搬送スクリュウ軸に取り付けるよりもユニット伝達機構の負荷が少なくてすみ、ユニット伝達機構の寿命を延ばすことができる。
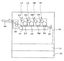
図4、図5に示すように、プリンタ本体に設けられたプロセスカートリッジ1の奥側面板11と対向する本体側板91には、駆動装置80が固定されている。駆動装置80は、保持板89と、感光体用駆動源たる感光体駆動モータ81と、現像ユニット用駆動源たる現像駆動モータ94と、駆動伝達機構たる駆動伝達機構部96と、連結手段70とを有している。
保持板89は、ねじ止めなどで本体側板91に取り付けられる。保持板89には、感光体駆動モータ81および現像駆動モータ94が取り付けられている。感光体駆動モータ81のモータ軸81aは、軸受90を介して本体側板91に回転可能に嵌合され、本体側板91を貫通している。モータ軸81aの先端には、駆動側カップリング93bが、軸方向に移動可能に取り付けられており、モータ軸81aに巻き付けられたコイルスプリング92によってプロセスカートリッジ側へ付勢されている。本体側カップリング93bは、モータ軸81aに設ける不図示のピン等で適宜抜け止めする。現像駆動モータ94のモータ軸94aは、軸受95を介して本体側板91に回転可能に嵌合されている。
本実施形態においては、感光体を駆動する駆動源と、現像ローラを駆動する駆動源とを別々に備え、感光体を駆動する駆動源たる感光体駆動モータ81の駆動力が、感光体のみに用いられるようにしている。このように構成することで、感光体駆動モータが、他の駆動要素から負荷変動を受けることがなく、感光体2を高精度に回転駆動させることができる。もちろん、ひとつの駆動源で現像ローラと感光体とを駆動してもよい。
駆動伝達機構部190は、第1プーリ86と、駆動軸82と、第2プーリ83と、タイミングベルト85と、電磁クラッチ97と、従動軸94bと、従動ギヤ99とを有している。
従動軸94bは、軸受96を介して保持板89に回転可能に嵌合され、軸受95を介して本体側板91と補助支持部材88とに回転可能に嵌合されることで、本体側板91と保持板89とに支持されている。また、駆動軸82は、本体側板91と保持板89とに支持されている。具体的には、駆動軸82は、軸受87を介して保持板89に回転可能に嵌合され、軸受84を介して本体側板91と補助支持部材88とに回転可能に嵌合されることで、本体側板91と保持板89とに支持される。補助支持部材88は、保持板89にねじ止めなどで取り付けてなる。
従動軸94bには、第1プーリ86と従動ギヤ99が固定されており、従動ギヤ99は、現像駆動モータ94のモータ軸94aに固定された原動ギヤと噛み合っている。
駆動軸82には、電磁クラッチ97を介して、第2プーリ83が固定されており、第2プーリ83および第1プーリ86にタイミングベルト85が巻回されている。
現像駆動モータ94の駆動力を現像ローラ5g、搬送スクリュウ5bなどに伝達させるときは、電磁クラッチ97をONにして、駆動軸82と第2プーリ83とを連結させる。一方、駆動軸82と現像ローラ軸5jとを2組の等速ジョイント71、72からなる連結手段70によって連結させるときは、電磁クラッチ97をOFFにして、駆動軸82が第2プーリ83に対して自由に回転できるようにしておく。なお、電磁クラッチのかわりに、駆動時の回転方向においては、駆動軸82と第2プーリ83とを連結させ、駆動軸82が駆動時の回転方向と逆方向の回転するときは、駆動軸82と第2プーリ83との連結を解除するワンウェイクラッチを用いてもよい。
また、駆動軸82と被駆動軸たる現像ローラ軸5jとは、2組の等速ジョイントを備えた連結手段70によって連結される。
図7は、連結手段70の概略構成図である。
図に示すように連結手段70は、ボール保持部材たる第1オス側ジョイント711とボール保持部材たる第2オス側ジョイント721と中継部材73とで構成されている。第1オス側ジョイント711は、現像ローラ軸5jの奥側端部に取り付けられており、第2オス側ジョイント721は、駆動軸82のプロセスカートリッジ側端部に取り付けられている。中継部材73の現像ローラ軸側端部には、現像ローラ軸側端部を開口させた環状空間を有する非ボール保持部たる第1メス側ジョイント部712が形成されている。また、駆動軸側端部には、駆動軸側端部を開口させた環状空間を有する非ボール保持部たる第2メス側ジョイント722が形成されている。
第1メス側ジョイント部712は、環状空間712dにおける軸線方向の一端側を開口させつつ他端側を塞いでおり、その開口から第1オス側ジョイント711が挿入される。すなわち、本実施形態においては、中継部材73の第1メス側ジョイント部712と、第1オス側ジョイント711とで第1等速ジョイント71が形成される。また、第2メス側ジョイント部722は、環状空間722dにおける軸線方向の一端側を開口させつつ他端側を塞いでおり、その開口から第2オス側ジョイント721が挿入される。すなわち、本実施形態においては、中継部材73の第2メス側ジョイント部722と、第1オス側ジョイント721とで第2等速ジョイント72が形成される。
本実施形態においては、第1等速ジョイント71を構成する第1メス側ジョイントと第2等速ジョイント72を構成する第2メス側ジョイントとをそれぞれ同じ材料(例えば樹脂材料)からなる一体物(中継部材)としている。これにより、第1メス側ジョイントと、第2メス側ジョイントとを別々に設けるものに比べて、部品点数を削減することができる。
以下に、等速ジョイントについて、図8乃至図10に基づき、説明する。なお、第1等速ジョイントと第2等速ジョイントとは、同じ構成をしており、以下の説明では、第1等速ジョイントを例に挙げて説明する。また、図8乃至図10括弧内の符号は、第2等速ジョイントの各部の符号である。
図8は、中継部材73の第1メス側ジョイント部712の横断面図である。
図に示すように、第1メス側ジョイント部712は、第1オス側ジョイント711が挿入される現像ローラ軸5j側が開口した円筒状のカップ部を備えている。カップ部は、外輪部712bと、これの内側の内輪部712cと、両者の間隙による環状空間712dと、外輪部712bの内周面に設けられた3つのトラック溝たる外溝712eと、内輪部712cの外周面に設けられた3つのトラック溝たる内溝712fとを有している。
外輪部712bの内周面に設けられた3つの外溝712eは、外輪部712bの軸線方向に延在しながら、互いに120[°]の位相差をもって円方向に並ぶように形成されている。内輪部712cの外周面に設けられた3つの内溝712fも、内輪部712cの軸線方向に延在しながら、互いに120[°]の位相差をもって円方向に並ぶように形成されている。そして、内溝712fと外溝712eとは環状空間712dを介して互いに対面している。
また、図9に示すように、外溝712eの開口端側には、開口端に向かうにつれて軸中心から離れ、かつ、溝幅が拡大するテーパ状の外溝案内部712hが設けられている。また、内溝712fの開口端側には、開口端に向かうにつれて軸中心に近づき、かつ、溝幅が拡大するテーパ状の内溝案内部712iが設けられている。このように、案内部712h、712iを設けることにより、ボール173を内溝712fと外溝712eとが対向する環状空間712dに案内することができ、オス側ジョイント711のメス側ジョイント712への挿入を容易に行うことができる。
また、カップ部の開口端において、各内溝案内部712iの縁部が交わっている。このように構成することで、オス側カップリングとメス側カップリングとを組み付けるときに、トラック溝(外溝712eおよび内溝712f)とボール173との位相が60°付近であっても、ボール173を内溝案内部712iの開口端に接触させることができる。これにより、ボール173とトラック溝(内溝712fおよび外溝712e)との位相が60°付近であっても、内輪部712cに加わる軸方向の力の一部を、内溝案内部712iによって回転方向の力に変換することができ、オス側ジョイントがメス側ジョイントに対して相対的にスムーズに回転させることができる。よって、オス側ジョイントに保持されたボール173をメス側ジョイントの外溝712eと内溝712fとの間の環状空間712dへ挿入するときの挿入抵抗を低減することができ、ボール173をメス側ジョイントの外溝712eと内溝712fとの間の環状空間712dにスムーズに挿入することができる。
図10は、第1オス側ジョイントの横断面図である。なお、第2オス側ジョイントの横断面図も同様な構成であり、第2オス側ジョイントの各部の符号は、括弧にして記す。
オス側ジョイント711は、その先端側が円筒状の挿入部711aになっている。この挿入部711aは、互いに120[°]の位相差をもって周方向に沿って並ぶように円筒状の周壁に設けられた3つの貫通穴711bを有しており、それぞれの貫通穴711b内に球体としてのボール173を回転可能に保持している。
貫通穴711bの穴径Aは、ボール173の直径Bよりも大きくしている。また、貫通穴711bの内側面の内周側端部から突出する内周抜け止め突起711dが180°の位相差をもって設けられている。また、貫通穴711bの内側面の外周側端部から突出する外周抜け止め突起711cが180°の位相差をもって設けられている。また、外周抜け止め突起711cは、内周抜け止め突起711dと90°の位相差をもって設けられている。外周抜け止め突起711cによって、貫通穴711b内のボール173が、挿入部711aの外周面から抜け落ちることがない。また、内周抜け止め突起711dによって、貫通穴711b内のボール173が、挿入部711aの内周面から抜け落ちることがない。抜け止め突起711c、711dの内接円の直径Cは、ボール173の直径Bの80〜99%の範囲に設定するのがよい。80%未満にすると、抜け止め突起711c、711dが貫通穴711bから突出しすぎてしまい、貫通穴711bにボール173を挿入することができなくなる。また、抜け止め突起711c、711dは、金型を無理抜きすることによって成形しているが、突出しすぎてしまうと、射出成形後の型抜き時に抜け止め突起711c、711dが破損するおそれがある。このため、抜け止め突起711c、711dの内接円の直径Cは、ボール173の直径Bの80%以上に設定するのが好ましい。
また、貫通穴711bの穴径Aを、ボール173の直径Bよりも大きくすることにより、ボール173が貫通穴711b内を径方向に移動可能とすることができる。これにより、オス側ジョイント711の挿入部711aをメス側ジョイント712環状空間712dに挿入するとき、ボール173がメス側ジョイントの外輪部712bに突き当たったとき、ボール173が、軸中心方向へ移動する。これにより、オス側ジョイント711の挿入部711aがメス側ジョイント712の環状空間712dへスムーズに挿入することができる。
また、外溝712eから内溝712fまでの距離Dを、ボール73の直径Bよりも長くなるように公差設定されている。外溝712eから内溝712fまでの距離Dを、ボール173の直径Bと同じ長さに設定した場合、製造誤差などによって、外溝712eから内溝712fまでの距離Dがボール173の直径Bよりも小さくなるおそれがある。特に、本実施形態においては、メス側ジョイントを樹脂で射出成形するため、製造時の温度や湿度の条件によって、ヒケの度合いなどがばらつき、外溝712eから内溝712fまでの距離Dがボール173の直径Bよりも小さくなる可能性が高い。外溝712eから内溝712fまでの距離Dがボール173の直径Bよりも小さいと、ボール173の外溝712eおよび内溝712fに対する摺動抵抗が大きくなる。その結果、外溝712eおよび内溝712fが早期に磨耗してメス側ジョイント712が早期に寿命に到達してしまう。また、外溝712eから内溝712fまでの距離Dがボール173の直径Bよりも小さいと、ボール173が溝間に軽圧入状態となり、ボール173が溝内をスムーズに摺動できなくなり、現像ローラ5gを等速回転できなくなるおそれがある。さらに、一定の荷重が長期間内溝および外溝712eにかかり続け大きく変形する所謂クリープ現象が起こってしまい、メス側ジョイント712eの寿命が早期に到達してしまう。
しかし、本実施形態においては、外溝712eから内溝712fまでの距離Dを、ボール173の直径Bよりも長くなるように公差設定されているので、ボール173と外溝712eおよびボール173と内溝712fとの間に空隙ができる。これにより、ボール173が溝間に軽圧入されるのを防止でき、ボール173の外溝712eおよび内溝712fに対する摺動抵抗が大きくなるのを確実に抑制することができる。よって、外溝712eおよび内溝712fの磨耗やクリープ現象を抑制することができ、メス側ジョイント712の寿命を延ばすことができる。また、ボール173が溝内をスムーズに摺動できるので、現像ローラ5gを確実に等速で回転させることができる。
第1オス側ジョイント711の円筒状の挿入部711aが、メス側ジョイント部712の外輪部712bにおける環状空間712d内に挿入されている。この状態では、オス側ジョイント711の挿入部711aに保持される3つのボール173が、それぞれ、メス側ジョイント部712の外輪部712bの内周面に設けられた外溝712eと、内輪部712cの外周面に設けられた内溝712fとの間に挟まれて、法線方向への動きが阻止される。但し、内溝712f、外溝712eはそれぞれ軸線方向に延在しているので、ボール173の軸線方向の動きは許容される。
なお、第2オス側ジョイント721は、第1オス側ジョイント711と同じ構成とし、中継部材73の第2メス側ジョイント部は、中継部材73の第1メス側ジョイント部と同じ構成である。このように、第2オス側ジョイント721と第1オス側ジョイントを同じ構成とすることで、部品を共通化することができ、管理コストなどを抑えることができる。
また、中継部材73の第2メス側ジョイント部と第1メス側ジョイント部を同じ構成とすることで、第1オス側ジョイントと係合させるメス側ジョイント部が、中継部材73の両端に形成されたメス側ジョイント部のどちらでもよくすることができる。これにより、中継部材73の組み付けを容易に行うことができる。
また、図7に示すように、第1オス側ジョイント711が、第1メス側ジョイント部712から抜けるのを防止するために、第1メス側ジョイント712の外輪部712bの開口端部から突出する抜け止め突起713を設けている。抜け止め突起713は、周方向に連続したリング状であってもよい。また、外溝712eの開口側の終点にそれぞれ設けるなど、円周方向に等間隔で複数個設けてもよい。外溝712eの開口側の終点に設けた場合は、第1オス側ジョイント部711が保持するボール173が抜け止め突起713と突き当たることで、第1オス側ジョイント部711が、第1メス側ジョイント712から脱落するのを抑制することができる。また、抜け止め突起713を第1メス側ジョイント712の内輪部712cの開口端部に設けてもよい。
このように、抜け止め機構たる抜け止め突起713を設け、第1オス側ジョイントが第1メス側ジョイントから抜けないようにすることで、プロセスカートリッジの着脱のときに、第1オス側ジョイントが第1メス側ジョイントから抜けて、中継部材が装置本体内に脱落するのを防止することができる。よって、図5に示すように、第1オス側ジョイントと中継部材73とが、プロセスカートリッジと一体的に着脱される。すなわち、本実施形態においては、第2等速ジョイント72が、ユニットたるプロセスカートリッジの着脱に連動して、ボール非保持部材たる第2メス側ジョイント部722とボール保持部材たる第2オス側ジョイント721との係合と分離とが行われる。
この抜け止め突起713は、第1メス側ジョイント部712と一体物としている。このように構成することで、第1メス側ジョイント部712と別部材とするものに比べて、部品点数を削減することができ、装置のコストダウン、部品管理コストを削減することができる。
また、外輪部712bは、例えば合成樹脂で形成するなどして、先端が弾性変形可能なように構成している。このように構成することで、第1オス側ジョイント部711を第1メス側ジョイント712に挿入するときに、外輪部712bの開口端が環状空間を拡径する方向に弾性変形するいわゆるスナップフィット方式で、第1オス側ジョイント部711の挿入部711aを第1メス側ジョイント712の環状空間712dに挿入することができ、第1オス側ジョイント711を中継部材73に組み付けることができる。
第1オス側ジョイント711の円筒状の挿入部711aは、第1メス側ジョイント712の環状空間712d内に挿入されて、自らが保持している3つのボール173を環状空間712d内で内溝712f及び外溝712eに係合させる。また、第2オス側ジョイント721の円筒状の挿入部721aは、第2メス側ジョイント722の環状空間722d内に挿入されて、自らが保持している3つのボール173を環状空間722d内で内溝722f及び外溝722eに係合させる。そして、現像駆動モータ94のモータ軸94aが回転して、モータ軸に固定された第1プーリ86も回転し、タイミングベルト85により、第1プーリ86の駆動力が第2プーリ83に伝達されて駆動軸82が回転すると、第2オス側ジョイント721が保持する3つのボール173を介してその回転駆動力を中継部材73に等速で伝達する。そして、第1オス側ジョイント711が保持する3つのボール173を介して中継部材の回転駆動力を第1オス側ジョイント711に等速で伝達する。これにより、現像ローラ軸5j、現像ローラ5gが等速で回転する。
なお、メス側ジョイント712(722)の外輪712b(722b)の内周面と内輪712c(722c)の外周面との両方にそれぞれボール173を係合させるためのトラック溝を設けた例について説明したが、何れか一方だけにトラック溝を形成してもよい。
第1メス側ジョイント部712および第2メス側ジョイント部722を有する中継部材73、第1および第2オス側ジョイント711、721は、射出成形が可能な合成樹脂の成形品から成るものが好ましい。射出成形が可能であれば、熱可塑性樹脂、熱硬化性樹脂の何れであってもよい。射出成形が可能な合成樹脂には結晶性樹脂と、非結晶性樹脂とがある。何れの樹脂を使用してもよいが、非結晶性樹脂は靱性が低く、許容量以上のトルクがかかった場合に急激な破壊が生じるため、結晶性樹脂を用いるのが好ましい。また、潤滑特性の比較的高いものを用いることが望ましい。かかる合成樹脂としては、ポリアセタール(POM)、ナイロン、射出成形可能なフッ素樹脂(例えば、PFA、FEP、ETFEなど)、射出成形可能なポリイミド、ポリフェニレンスルフィド(PPS)、全芳香族ポリエステル、ポリエーテルエーテルケトン(PEEK)、ポリアミドイミド等を例示することができる。これらの合成樹脂を単独で使用しても、2種類以上を混合したポリマーアロイとして使用してもよい。また、これら以外の合成樹脂で且つ潤滑特性の比較的低い樹脂であっても、前述した合成樹脂を配合したポリマーアロイとすれば、使用することが可能である。
最も適した合成樹脂は、摺動性のある合成樹脂であり、POM、ナイロン、PPS、PEEKである。ナイロンはナイロン6、ナイロン66、ナイロン610、ナイロン612、ナイロン11、ナイロン12、ナイロン46、分子鎖中に芳香族環を有する半芳香族ナイロン等が挙げられる。中でも、POM、ナイロン、PPSは、耐熱性、摺動性に優れて比較的安価であるため、コストパフォーマンスの優れた等速ジョイントを実現することができる。また、PEEKは補強材や潤滑剤を配合しなくても機械的強度や摺動性に優れるため、高機能な等速ジョイントを実現することができる。
中継部材73及びオス側ジョイント711、721を樹脂材料で形成したことで、中継部材73及びオス側ジョイント711、721を金属材料で形成する構成に比べて、連結手段70の重量を小さくすることができる。また、中継部材のメス側ジョイント部712、722及びオス側ジョイント711、721を摺動性のある樹脂で形成することで、環状空間にグリースを充填しなくても、メス側ジョイント712、722のトラック溝(内溝、外溝)に沿ってボール173を、スムーズに摺動させることができる。これにより、金属材料で形成する構成に比べて動作音を小さくすることもできる。また、ボール173を摺動性のある樹脂で形成しても、ボール173がトラック溝をスムーズに摺動することができる。もちろん、ボール173、中継部材73、オス側ジョイント711、721いずれも摺動性のある樹脂で形成してもよい。
次に、プロセスカートリッジ1の装置本体の装着について説明する。
本実施形態のプリンタにおいては、感光体2のドラム軸2aを主基準とし、カートリッジ側従基準嵌合部であるカートリッジ従基準ピン14を従基準として、装置本体にプロセスカートリッジ1を取り付ける。また、このとき、電磁クラッチ97をOFFにして、駆動軸82が第2プーリ83に対して自由に回転できるようにしておく。
先の図4、図5に示すように、画像形成装置本体にプロセスカートリッジ1を取り付けるとき、ドラム軸2aに取り付けられた被位置決め部たる従動側カップリング93aが、装置本体に位置決めされたモータ軸81aに取り付けられた位置決め部たる駆動側カップリング93bと嵌め合うことで、プロセスカートリッジ1が、装置本体に対してラジアル方向に位置決めされる。また、奥側面板11に突設されたカートリッジ側従基準嵌合部である従基準ピン14が本体側板91に形成された位置決め孔98に嵌合する。これにより、プロセスカートリッジ1が感光体2の中心軸線のまわりに回転することが阻止され、プロセスカートリッジ1の全体が装置本体に対して正しく位置決めされる。
プロセスカートリッジ1の全体が装置本体に対して正しく位置決めされても、公差の積み上げによって現像ローラ軸5jの軸心と駆動軸82の軸心とがラジアル方向にずれる場合がある。このような場合、第2オス側ジョイント721の貫通穴721bに保持されているボール173が中継部材73の第2メス側ジョイント部722の外溝案内部722hや内溝案内部712iに突き当たる。さらに、プロセスカートリッジ1を装置本体へ挿入していくと、図11に示すように、中継部材73が傾き、第2オス側ジョイント721の挿入部721aが、第2メス側ジョイント部722の環状空間722dに組み込まれる。
また、第2オス側ジョイント721の挿入部721aを、第2メス側ジョイント部722の環状空間722dに挿入するとき、ボール173の位相と、トラック溝(外溝722eおよび内溝722f)の位相とが異なっていた場合、ボール173が、外溝案内部722hおよび内溝案内部722iに案内されて、プロセスカートリッジ1の挿入方向への移動に連動して回転し、ボール173の位相とトラック溝(外溝722eおよび内溝722f)の位相とが合わせられる。このとき、電磁クラッチ97をOFFにして、駆動軸82が第2プーリ83に対して自由に回転できるようにしてあるため、第2オス側ジョイント721にかかる回転負荷が駆動軸82の慣性力のみとなっている。このため、第2オス側ジョイント721を容易に回転させることができ、プロセスカートリッジ1の挿入抵抗の上昇を抑えて、ボール173をトラック溝(外溝722eおよび内溝722f)へ案内することができる。
そして、ボール173とトラック溝(外溝722eおよび内溝722f)との位相があって、第2オス側ジョイント721の挿入部721aが第2メス側ジョイント部722の環状空間内へ挿入されて、自らが保持している3つのボール173を環状空間722d内で内溝722f及び外溝722eに係合させる。
現像ローラ5gや搬送スクリュウ5bを回転駆動させるときは、電磁クラッチをONにして、第2プーリ83と駆動軸82とを連結する。そして、現像駆動モータ94を回転駆動すると、モータ軸94aが回転して、モータ軸94aに固定された第1プーリ86も回転し、タイミングベルト85を介して第2プーリ83に伝達されて、駆動軸82に駆動力が伝達される。駆動軸82に駆動力が伝達されて、駆動軸82が回転し、連結手段70を介して現像ローラ軸5jへ伝達される。
本実施形態においては、図11に示すように、駆動軸82と現像ローラ軸5jとの間に軸心ずれが生じていても、中継部材73が傾くことで、第2オス側ジョイント721の挿入部721aが第2メス側ジョイント部722の環状空間内に挿入することができ、駆動軸82と現像ローラ軸5jとを連結することができる。また、図に示すように、中継部材73と駆動軸82との間および中継部材73と現像ローラ軸5jとの間に偏角αが生じる。駆動軸82と中継部材73との間の偏角αが生じても、第2等速ジョイント72の第2オス側ジョイント721に保持されたボール173が、第2メス側ジョイント722の内溝722fと外溝722eとの間の環状空間内を軸方向に摺動することで、駆動軸の回転を等速で伝達することができる。
また、中継部材73と現像ローラ軸5jとの間の偏角αが生じても、第1等速ジョイント71の第1オス側ジョイント711に保持されたボール173が、第1メス側ジョイント部712の内溝712fと外溝712eとの間の環状空間内を軸方向に摺動することで、回転を等速で伝達できる。
このように、中継部材73と駆動軸82との間および中継部材73と現像ローラ軸5jとの間に偏角αが生じても、第1等速ジョイント71および第2等速ジョイント72によって、駆動軸の回転を現像ローラ軸5jに等速で伝達させることができる。これにより、駆動軸82と現像ローラ軸5jとの間に軸心ずれが生じないように取り付け精度や部品の精度を高めなくても、現像ローラ5gを等速で回転駆動させることができ、濃度ムラなどの異常画像を抑制することができる。よって、製造コスト、部品コストを抑えて、濃度ムラなどの異常画像を抑制することができる。
プロセスカートリッジ1をプリンタ本体から取り出すには、図示しない前ドアを開いて、プロセスカートリッジ1を手前側に引き出す。このとき、連結手段70は、第2等速ジョイントの第2オス側ジョイントと第2メス側ジョイント部が分離されて、第1等速ジョイントと第2メス側ジョイント部(第1オス側ジョイントと中継部材)がプロセスカートリッジ1とともにプリンタ本体から取り出される。このように、本実施形態においては、第2等速ジョイントが、プロセスカートリッジの着脱によって、係合と分離とが行われることにより、駆動軸と現像ローラ軸との連結を行う。よって、2組の等速ジョイントとは別に、駆動軸と現像ローラ軸との連結を行う部材を設けるものに比べて、部品点数を削減することができ、装置のコストダウンを図ることが可能となる。
また、プロセスカートリッジ1をプリンタ本体外に取り出してから、面板11、18を感光体2と現像ユニット5から取り外すことによって、感光体2と現像ユニット5を分離することができる。
なお、プロセスカートリッジ1には、図示していないガイド溝が形成され、装置本体には、同じく図示していないガイドレールが設けられており、プロセスカートリッジ1を手前側に引き出し、または奥側に押し込むとき、ガイド溝がガイドレールに嵌合し、そのガイドレールに沿って摺動する。
また、第1オス側ジョイントと第1メス側ジョイントとをプロセスカートリッジの着脱に連動して係合と分離を行うようにしてもよい。しかし、第2オス側ジョイントと第2メス側ジョイントとをプロセスカートリッジの着脱に連動して係合と分離を行うようにして、第1メス側ジョイント部と第2メス側ジョイント部を有する中継部材をプロセスカートリッジとともに装置本体から着脱できるようにした方が好ましい。
メス側ジョイント部712、722は、ボール173との摺動量がオス側ジョイント711、721に比べて多いため、オス側ジョイント711、721に比べて磨耗の進行が早く、早期に寿命到達してしまう。このため、中継部材が、連結手段の中で最も頻繁に交換される部材である。第1オス側ジョイントと第1メス側ジョイントとをプロセスカートリッジの着脱に連動して係合と分離を行うようにした場合は、装置本体内に中継部材が残るため、装置本体の中継部材を取り外して、新品の中継部材を装置本体内に取り付けることになり、中継部材の交換の作業性が悪い。
一方、第1メス側ジョイント部および第2メス側ジョイント部を有する中継部材をプロセスカートリッジ1とともに、装置本体から着脱可能にすると、プロセスカートリッジ1を装置本体から取り出すことで、中継部材73の交換を行うことができるため交換作業性をよくできる。よって、第1オス側ジョイントと第1メス側ジョイントとをプロセスカートリッジの着脱に連動して係合と分離を行うようにして、中継部材を装置本体内に残した場合に比べて、中継部材73の交換を容易に行うことができる。
また、本実施形態では、駆動装置80の駆動伝達機構部190に電磁クラッチ97を設けているが、先の図6に示した現像ユニット5の駆動伝達部に電磁クラッチを設けてもよい。この場合、第1ギア140を電磁クラッチを介して現像ローラ軸5jに取り付ける。駆動軸82に取り付けられた第2オス側ジョイント721を中継部材73の第2メス側ジョイントに挿入するとき、電磁クラッチをOFFにして第1ギア140と現像ローラ軸5jとの連結を解除する。これにより、駆動軸82と現像ローラ軸5jとの連結時においては、現像ローラ軸に、搬送スクリュウ5bのトルクがかかることがなくなり、現像ローラ軸を容易に回転することができる。よって、第2オス側ジョイントが保持するボール173と第2メス側ジョイント部のトラック溝との位相がずれていた場合、第2メス側ジョイント部722が容易に回転して、ボール173とトラック溝との位相が合わさる。よって、プロセスカートリッジ1の挿入抵抗の上昇を抑えて、ボール173をトラック溝へ案内することができる。
なお、連結手段70は、図12(A)に示すように、現像ローラ軸5jの駆動軸側先端に取り付ける部材を第1等速ジョイント71の第1メス側ジョイント712とし、駆動軸82の現像ローラ側端部に取り付ける部材を第2等速ジョイント72の第2メス側ジョイント722とする。そして、中継部材73を、第1オス側ジョイント711と第2オス側ジョイント721とを一体物とした構成でもよい。また、図12(B)に示すように、現像ローラ軸5jの駆動軸側先端に取り付ける部材を第1等速ジョイント71の第1メス側ジョイント712とし、駆動軸82の現像ローラ側端部に取り付ける部材を第2等速ジョイント72の第2オス側ジョイント721とする。そして、中継部材73を、第1オス側ジョイント711と第2メス側ジョイント722とを一体物とした構成でもよい。さらに、図12(C)に示すように、現像ローラ軸5jの駆動軸側先端に取り付ける部材を第1等速ジョイント71の第1オス側ジョイント711とし、駆動軸82の現像ローラ側端部に取り付ける部材を第2等速ジョイント72の第2メス側ジョイント722とする。そして、中継部材73を、第1メス側ジョイント712と第2オス側ジョイント721とを一体物とした構成でもよい。
なお、連結手段70としては、中継部材73を、図7に示した第1メス側ジョイント712と第2メス側ジョイント722とを一体物で構成したもの、図12(A)に示した第1オス側ジョイント711と第2オス側ジョイント721とを一体物で構成したものがこのましい。これは、第1等速ジョイント71の構成と第2等速ジョイント71の構成とを同じにした場合は、駆動軸82に取り付ける部材(図7では、オス側ジョイント711,721、図12(A)では、メス側ジョイント712,722)を共通化することができ、管理コストなどを抑えることができる。また、中継部材73の取り付け方向を考慮に入れなくてもよいので、中継部材73の取り付けが容易になる。
また、図13に示すように、第1等速ジョイント71の駆動軸側部材(図13では、第1メス側ジョイント712)を連結軸75の現像ローラ軸側端部に取り付け、第2等速ジョイント72の現像ローラ軸側部材(図13では、第2メス側ジョイント722)を連結軸75の駆動側端部に取り付けた構成として、第1等速ジョイントの駆動軸側部材(図13では、第1メス側ジョイント712)と第2等速ジョイントの現像ローラ軸側部材(図13では、第2メス側ジョイント722)とが一体物でなくてもよい。
また、図14(B)に示すように、プロセスカートリッジ1を装置本体に取り付ける際に、中継部材73が自重で大きく傾く場合があった。通常、駆動軸82と現像ローラ軸5jとの軸心ずれは、わずかであり、図14(B)に示すように、プロセスカートリッジ1を装置本体に取り付ける際に、中継部材73が自重で大きく傾いていると、第2オス側ジョイント部721を第2メス側ジョイント722に挿入できない。
そこで、図14(A)に示すように、プロセスカートリッジ1の着脱に連動して係合と分離が行われない方の第1等速ジョイント71の第1オス側ジョイント部711と第1メス側ジョイント部712の外輪部712bの内周面との間にゴムやスポンジなどのリング状の弾性部材730を挿入する。図14(A)に示す例では、第1オス側ジョイント部711の先端の外周面に切欠部711dを設け、この切欠部711dと第1メス側ジョイント712の外輪部712bの内周面との間にリング状の弾性部材730が挿入されている。この弾性部材730は、第1オス側ジョイント部711の切欠き部に取り付けてもよいし、第1メス側ジョイント712の外輪部712bの内周面に取り付けてもよい。また、第1オス側ジョイント711の先端部の内周面と第1メス側ジョイントの内輪部712cの外周面との間にリング状の弾性部材730を挿入してもよい。また、第1メス側ジョイント712の内輪部712cの開口端と第1オス側ジョイント711の内周面との間に弾性部材730を挿入してもよい。また、第1メス側ジョイント712の外輪部712bの開口端と第1オス側ジョイント711の外周面との間に弾性部材730を挿入してもよい。
また、弾性部材730の硬度は、第1メス側ジョイント712を形成する材質の硬度よりも低くする。
このように、第1オス側ジョイント部711の挿入部711aの外周面と第1メス側ジョイント712の外輪部712bの内周面との間や、第1オス側ジョイント711の挿入部711aの内周面と第1メス側ジョイント712の内輪部712cの外周面との間に弾性部材730を挿入することで、弾性部材730の弾性力によって、中継部材73が自重で傾くのを抑制する。その結果、中継部材73の第2オス側ジョイント部721を駆動軸82に取り付けられた第2メス側ジョイント722に挿入するときに、中継部材73が大きく傾いて、第2オス側ジョイント部721の挿入部721aを第2メス側ジョイント722の環状空間722dに挿入できなくなるのを抑制することができる。
また、弾性部材730の硬度は、第1メス側ジョイント712を形成する材質の硬度よりも低く、十分に柔らかいため、現像ローラ軸5jの軸心と駆動軸82の軸心とがラジアル方向にずれた状態で、第2オス側ジョイント部721の挿入部721aをメス側ジョイント722の環状空間722dに挿入するときに、中継部材73が容易に傾く。その結果、第2オス側ジョイント721の挿入部721aが、第2メス側ジョイント部722の環状空間722dに組み込むことができる。
なお、図14(A)は、外溝712eの開口側の終点以外の部分に抜け止め突起713を設けたものである。この場合は、第1オス側ジョイント部711の挿入部711aに段差部711eを設ける。第1オス側ジョイント部711が第1メス側ジョイント712から抜け出そうとすると、オス側ジョイント部711の挿入部711aに設けた段差部711eが、抜け止め突起713と突き当たり、第1オス側ジョイント部711(中継部材73)が第1メス側ジョイント712から抜け出すのを防止する。
なお、上述の抜け止め突起713や中継部材73の自重による傾きを防止するための弾性部材730は、中継部材73が、第1オス側ジョイント部711と第2オス側ジョイント部721とからなるものに限られず、中継部材73が、図7、図12(b)、(c)に示すものでも適用できる。
次に、変形例について説明する。
[変形例1]
図15は、変形例1の画像形成装置の概略構成図である。
変形例1の画像形成装置は、ドラム軸が本体側に固定されており、感光体のフランジの中心に設けられたドラム軸孔にドラム軸を挿入することで、プロセスカートリッジの位置決めを行うものである。
この変形例1の画像形成装置は、感光体2の奥側フランジ2bには、ドラム軸孔2dと、そのフランジ2bの外面に、ドラム軸孔2dを中心としピッチ面が円錐の凹ギア111とが設けられている。また、手前側フランジ2cには、ドラム軸孔2eが設けられている。感光体2は位置決めされずに面板11、18に保持されている。
本体側板91には、ドラム軸2aが軸受90を介して回転自在に支持されており、ドラム軸2aは、カップリングなどの感光体連結手段93によって感光体駆動モータ81のモータ軸81aと直線状に連結されている。また、ドラム軸2aには、第1プーリ86と、ピッチ面が円錐の凸ギア110と軸受15とが固定されている。
プロセスカートリッジ1を装着すると、図15に示すように、ドラム軸2aが感光体2を貫通するとともに、凹ギア111と凸ギア110とが嵌合し、感光体2が、位置決めされる。これにより、感光体2の中心軸線と現像ローラ5gの中心軸線との間の距離が正しく規制される。同時に、面板11の被位置決め部たる嵌合枠11aがドラム軸2a上の位置決め部たる軸受15と嵌合して、プロセスカートリッジ1の位置決めがなされる。
この変形例1の構成においても、感光体2のドラム軸2aを基準としてプロセスカートリッジ1のプリンタ本体に対する位置決めがなされるため、駆動軸82の軸中心と、現像ローラ軸5jの軸中心がずれる。しかし、駆動軸82と現像ローラ軸5jとを連結する連結手段として2組の等速ジョイントを用いるので、駆動軸82と現像ローラ軸5jとの軸心ずれがあっても、第1等速ジョイント71の駆動軸側の部材(図13では、第1メス側ジョイント712)と第2等速ジョイント72の現像ローラ軸側の部材(図13では第2メス側ジョイント722)とが一体となった中継部材73が傾くことで、駆動軸82と現像ローラ軸5jとを連結させることができる。中継部材が傾くことで、中継部材と駆動軸との間および中継部材と現像ローラ軸との間に偏角αが生じる。しかし、等速ジョイントは、オス側ジョイントとメス側ジョイントとの間に偏角が生じても、駆動側の回転を被駆動側に等速で伝達することができるものなので、このように、各等速ジョイントのメス側ジョイントとオス側ジョイントとの間に偏角が生じても、駆動軸の回転を現像ローラ軸に等速で伝達させることができる。その結果、現像ローラを等速で回転させることができ、濃度ムラなどの異常画像が生じるのを抑制することができる。
また、図15に示すドラム軸2aと感光体駆動モータ81のモータ軸81aとを連結する連結手段93に2組の等速ジョイントからなる連結装置を用いてもよい。ドラム軸2aとモータ軸81aとの連結は、モータが故障するまで解除しないので、プロセスカートリッジとともに装置本体から抜き出される現像ローラ軸5jと駆動軸82とを連結する連結手段のように、頻繁に係合と分離がなされない。よって、図15に示すドラム軸2aと感光体駆動モータ81のモータ軸81aとを連結する連結手段93に本発明の連結装置を設けた場合は、図16に示すように、第1メス側ジョイント712部と第2メス側ジョイント部722のそれぞれの開口端部に抜け止め突起713を形成してもよい。
また、図16において、第1、第2オス側ジョイント711、721をそれぞれメス側ジョイントと係合させた状態で、第2オス側ジョイント721とモータ軸81との接続を行うようにする場合、先の図14(a)に示したように、第1オス側ジョイントの挿入部と第1メス側ジョイントの外輪部内周面との間に弾性部材を設けただけでは、第2オス側ジョイント721が自重で大きく傾いてしまい、第2オス側ジョイント721とモータ軸81との接続をうまく行うことができない。よって、第1、第2オス側ジョイント711、721をそれぞれメス側ジョイントと係合させた状態で、第2オス側ジョイント721とモータ軸81との接続を行うようにする場合は、第1オス側ジョイント711の挿入部と第1メス側ジョイント712の外輪部内周面との間および第2オス側ジョイント721の挿入部と第2メス側ジョイント722の外輪部内周面との間にリング状の弾性部材を挿入する。これにより、中継部材73および第2オス側ジョイント721が自重で大きく傾くのを抑制し、連結手段93をほぼ水平に姿勢を保つことができる。これにより、第1、第2オス側ジョイント711、721をそれぞれメス側ジョイントと係合させた後、第2オス側ジョイント721とモータ軸81との接続を行うことができる。
また、上述では、プロセスカートリッジの被駆動ユニットである現像ユニットの現像ローラの現像ローラ軸と、駆動軸との連結に2組の等速ジョイントを備えた連結手段を用いた装置について説明したが、例えば、帯電ユニットの帯電ローラの帯電ローラ軸と装置本体側の駆動軸との連結を上述の2組の等速ジョイントを用いた連結手段で行ってもよい。また、潤滑材塗布ローラの塗布ローラ軸と装置本体側の駆動軸との連結を上述の2組の等速ジョイントを用いた連結手段で行ってもよい。また、クリーニング装置の搬送オーガの軸と装置本体側の駆動軸との連結を上述の2組の等速ジョイントを用いた連結手段で行ってもよい。また、プロセスカートリッジに限らず、定着ユニットに本発明を適用することもできる。
図17は、定着ユニット60の概略構成図である。
図17に示す定着ユニット60のケース内部の構成は、上述したので、ここでは、要部のみを説明する。
ケース60aの内部に配置された駆動ローラ66の軸66aには、ローラギア66dが固定されており、ローラギア66dには、ケース60aの側面に回転可能に支持された従動軸60bに固定された従動ギア60cが噛合っている。この従動軸60bの先端には、第1等速ジョイント71の第1メス側ジョイント712または第1オス側ジョイント711が同心上に固定されている。また、駆動ローラ66の軸66aの一端は、プリンタ本体の前側板195に着脱自在に取り付けられた面板195aに回転自在に支持されており、他端は、奥側板196の孔196aに回転自在に軸受66bを介して支持されている。
駆動装置160は、画像形成装置本体の奥側板196に固定されており、保持板161と、駆動源たる駆動モータ162と、伝達機構部163と、駆動軸164とを有している。駆動モータ162は、保持板161に固定されている。伝達機構部163は、伝動ギア163aと、駆動プーリ163cと、従動プーリ163dと、タイミングベルト163eとを備えている。伝動ギア163aは、保持板161と奥側板196に回転自在に支持された回転軸163bに固定されており、駆動モータ162から延びる出力ギア162aと噛合っている。また、この回転軸163bには、駆動プーリ163cが固定されており、タイミングベルト163eは、駆動プーリ163cと従動プーリ163dとに張架されている。従動プーリ163dは、保持板161と奥側板196とに回転自在に支持された駆動軸164に固定されている。駆動モータ162の回転は、出力ギア162a、伝動ギア163a、回転軸163b、駆動プーリ163c、タイミングベルト163e及び従動プーリ163dを介して駆動軸164に伝えられる。
また、駆動軸164の定着ローラ側端部には、第2等速ジョイント72の第2メス側ジョイント722または第2オス側ジョイント721が同心上に固定されている。駆動軸164は、軸受87を介して回転自在に保持板161に保持され、軸受84を介して奥側板196に回転可能に嵌合されている。
図17に示すように、定着ユニット60を装置本体に装着するとき、駆動ローラ66の軸66aに固定された軸受66bが奥側板196の孔196aに嵌合することで、定着ユニット60が装置本体に対して位置決めされる。このとき、公差の積み上げで従動軸60bの軸中心と、駆動軸164の軸中心とがずれても、連結手段の中継部材が傾いて、駆動軸と従動軸との連結がなされる。また、等速ジョイントで駆動軸と従動軸とを連結するので、駆動軸に偏角が生じていても、駆動ローラを等速で回転させることができる。これにより、定着ムラなどの異常画像を抑制することができる。
また、装置本体から単体で装置本体から着脱される現像ユニットであって、現像ローラ軸と装置本体の駆動軸とを連結する他に、搬送スクリュウ軸を装置本体の第2駆動軸に連結する画像形成装置に本発明を適用することができる。この場合は、現像ローラ軸と装置本体の駆動軸とを連結することで、現像ユニットの装置本体に対する位置決めがなされる。その結果、搬送スクリュウ軸と第2駆動軸との間に軸心ずれが生じるおそれがある。よって、この搬送スクリュウ軸と第2駆動軸との連結に上述の2組の等速ジョイントを用いた連結手段を用いる。
また、本発明は、中間転写タンデム方式のカラー画像形成装置に限られない。
例えば、図18に示すように、直接転写タンデム方式のカラー画像形成装置にも適用できる。また、図19に示すように、中間転写タンデム方式の電子写真式カラー画像形成装置における中間転写ベルト41に代えてドラム状の中間転写体141を用いたカラー画像形成装置にも本発明を適用することができる。さらに、図20に示すように、上述したようなプロセスカートリッジ1を1つ備え、そのプロセスカートリッジ1の感光体2に画像を形成してその画像を転写ローラ50で転写して記録材に画像を記録する直接転写タイプのモノクロ画像形成装置にも、本発明を適用することができる。
以上、本実施形態の連結装置たる連結手段70は、回転体たる現像ローラに駆動力を伝達するための被駆動軸たる現像ローラ軸と、駆動源たる現像駆動モータから駆動力を受けて回転駆動する駆動軸との連結を行うものである。この連結手段は、一端が開口する環状空間を有し、その環状空間の外壁面たる外輪部の内周面と内壁面たる内輪部の外周面の少なくとも一方に軸方向に延びるトラック溝(内溝または外溝)を周方向に等間隔で複数形成したボール非保持部材たるメス側ジョイントと、一部がメス側ジョイントの環状空間内に組み込まれ、ボール非保持部材に形成されたトラック溝に沿って摺動するボールを保持するボール保持部材たるオス側ジョイントとを有する等速ジョイントを2個軸方向直列に配置する。また、少なくとも一方の等速ジョイントのメス側ジョイントの環状空間の外輪部内周面および/または内輪部外周面の開口端部から突出し、オス側ジョイントがメス側ジョイントから抜けるのを防止するメス側ジョイントと一体物の抜け止め突起を設ける。また、メス側ジョイントの開口端を弾性変形可能な構成としている。
このように、抜け止め突起をメス側ジョイントの一体物とするので、抜け止め輪の分、部品点数を削減することができ、装置のコストダウンや、部品管理コストを下げることができる。
また、メス側ジョイントの開口端が弾性変形可能な構成としているので、メス側ジョイントに抜け止め突起が形成されていても、オス側ジョイントをメス側ジョイント側へ強く押し込むだけで、組み付けることができるので、オス側ジョイントをメス側ジョイントに挿入した後に、メス側ジョイントの環状空間の開口端付近に抜け止め輪を嵌めるものに比べて、組み付け工数を削減でき、組み付け作業を簡素化にすることができる。
また、少なくとも一方の等速ジョイントのオス側ジョイントとメス側ジョイントの外輪部の内周面との間の環状空間および/またはオス側ジョイントとメス側ジョイントの内輪部の外周面との間の環状空間にリング状の弾性部材を挿入する。このように構成することで、オス側ジョイントとメス側ジョイントを係合させたとき、軸に接続されてないほうの部材(中継部材)が自重で傾くのを弾性部材の弾性力によって抑制することができる。その結果、もう一方の軸に接続された等速ジョイントの部材を軸方向に移動すれば、等速ジョイントの軸に接続されていない方の部材(中継部材)と係合させることができ、駆動軸と現像ローラ軸とを連結させることができる。
また、弾性部材の硬度を、メス側ジョイントを形成する材質の硬度よりも低くする。このように構成することで、プロセスカートリッジを装置本体に挿入して、オス側ジョイントの挿入部をメス側ジョイントに挿入するときに、駆動軸の軸心と現像ローラ軸の軸心との間にずれがあっても、中継部材が容易に傾いて、オス側ジョイントの挿入部をメス側ジョイントの環状空間に挿入することができる。これにより、プロセスカートリッジを装置本体にスムーズに装着することができる。
また、現像ローラ軸側の等速ジョイントを第1等速ジョイントとし、駆動軸側の等速ジョイントを第2等速ジョイントとしたとき、第1等速ジョイントと駆動軸側部材と、第2等速ジョイントの現像ローラ軸側の部材とを一体物(中継部材)とした。このように、第1等速ジョイントと駆動軸側部材と、第2等速ジョイントの現像ローラ軸側の部材とを一体物とすることで、部品点数を削減することができ、連結手段70を簡易な構成にすることができる。
回転体たる現像ローラと、現像ローラに駆動力を伝達するための現像ローラ軸とを有し、装置本体に対して脱着可能なユニットたるプロセスカートリッジを装置本体に対して位置決めした後、現像ローラ軸と駆動時区との連結を行う連結方法において、
現像ローラ軸と駆動軸との連結に上述の連結手段を用いることにより、駆動軸と現像ローラ軸との間に軸心ずれがあっても、中継部材が傾いて、駆動軸と現像ローラ軸との連結を行うことができる。また、駆動軸と現像ローラ軸との間に軸心ずれがあっても現像ローラ軸を等速で回転させることができる。
また、画像形成装置において、プロセスカートリッジの現像ローラ軸と駆動軸とを連結する連結手段として上述の連結手段を用いることによって、濃度ムラのない良好な画像を得ることができる。
実施形態に係るプリンタを示す概略構成図。 プロセスカートリッジを示す拡大構成図。 (A)は、プロセスカートリッジを装置本体の奥側から見たときの正面図。(B)は、プロセスカートリッジを装置本体の奥側から見たときの斜視図。 プロセスカートリッジを装置本体に装着したときの概略構成図。 プリンタ本体にプロセスカートリッジを装着する前の概略構成図である。 現像ユニットの駆動伝達部を示す要部概略斜視図。 連結手段の概略構成図。 第1メス側ジョイントの横断面図。 第1メス側ジョイントを軸方向から見た図。 第1オス側ジョイントの横断面図。 現像ローラ軸の軸心と駆動軸の軸心がずれた状態で、現像ローラ軸と駆動軸とを連結させたときにおける連結手段の概略構成図。 (A)は、第1オス側ジョイントと第2オス側ジョイントとを中継部材とした連結手段の概略構成図。(B)は、第1オス側ジョイントとメス側ジョイントとを中継部材とした連結手段の概略構成図。(C)は、第1メス側ジョイントと第2オス側ジョイントとを中継部材とした連結手段の概略構成図。 第1等速ジョイントと第2等速ジョイントとを連結軸で連結した連結手段の概略構成図。 (A)は、第1オス側ジョイントの挿入部の外周面と第1メス側ジョイントの外輪部の内周面と間に弾性部材を挿入した構成の連結手段の概略構成図。(B)は、第1オス側ジョイントの挿入部の外周面と第1メス側ジョイントの外輪部の内周面と間に弾性部材を挿入してない構成の連結手段における課題を説明する図。 変形例1の画像形成装置の要部構成図。 変形例1の画像形成装置において、感光体駆動モータのモータ軸とドラム軸との連結手段の構成を示す要部構成図。 定着ユニット付近の画像形成装置の概略構成を示す図。 直接転写方式のタンデム型カラー画像形成装置を示す図。 中間転写ドラムを用いた中間転写方式のタンデム型カラー画像形成装置を示す図。 モノクロ画像形成装置を示す図。
符号の説明
1Y,C,M,K:各プロセスカートリッジ
2Y,C,M,K:感光体
4:帯電ユニット
5:現像ユニット
6:潤滑剤塗布ユニット
11:奥側面板
13:従基準孔
14:従基準ピン
18:手前側面板
20:光書込ユニット
60:定着ユニット
70:連結手段
71:第1等速ジョイント
72:第2等速ジョイント
73:中継部材
75:連結軸
80:駆動装置
81:感光体駆動モータ
82:駆動軸
83:第2プーリ
85:タイミングベルト
86:第1プーリ
88:補助支持部材
89:保持板
91:本体側板
94:現像駆動モータ
97:電磁クラッチ
140:第1ギア
142:アイドラギア
143:第2ギア
173:ボール
174:抜け止め輪
190:駆動伝達機構部
711:第1オス側ジョイント部
712:第1メス側ジョイント
713:抜け止め突起
721:第2オス側ジョイント
722:第2メス側ジョイント
730:弾性部材

Claims (5)

  1. 装置本体に対して着脱可能に設けられたユニットの回転体に駆動力を伝達するための被駆動軸と、装置本体の駆動源から駆動力を受けて回転駆動する駆動軸との連結を行う連結装置において、
    一端が開口する環状空間を有し、その環状空間の外壁面と内壁面の少なくとも一方に軸方向に延びるトラック溝を周方向に等間隔で複数形成したボール非保持部材と、一部が前記ボール非保持部材の前記環状空間内に組み込まれ、前記ボール非保持部材に形成された前記トラック溝に沿って摺動するボールを保持するボール保持部材とを有する等速ジョイントを2個軸方向直列に配置し、
    一方の等速ジョイントのボール非保持部材とボール保持部材とが前記ユニットの着脱に連動して係合と分離が行われるように構成し、
    前記ユニットの着脱に連動して係合と分離が行われない方の等速ジョイントのボール非保持部材の環状空間の外壁面および/または内壁面の開口端部から突出し、前記ボール保持部材が前記ボール非保持部材から抜けるのを防止する抜け止め突起を設け、該抜け止め突起と前記ボール非保持部材とを同一材料で形成された一体物とし、かつ、前記非ボール保持部の開口端を弾性変形可能な構成とし、
    さらに、前記ユニットの着脱に連動して係合と分離が行われない方の等速ジョイントのボール保持部材と前記ボール非保持部材の前記外壁面との間の環状空間および/またはボール保持部材と前記ボール非保持部材の前記内壁面との間の環状空間にリング状の弾性部材を挿入したことを特徴とする連結装置。
  2. 請求項の連結装置において、
    前記弾性部材の硬度を、前記ボール非保持部材を形成する材質の硬度よりも低くしたことを特徴とする連結装置。
  3. 請求項1または2の連結装置において、
    被駆動軸側の等速ジョイントを第1等速ジョイントとし、駆動軸側の等速ジョイントを第2等速ジョイントとしたとき、
    前記第1等速ジョイントの駆動軸側部材と、前記第2等速ジョイントの被駆動軸側部材とを一体物としたことを特徴とすることを特徴とする連結装置。
  4. 回転体と、前記回転体に駆動力を伝達するための被駆動軸とを有し、装置本体に対して脱着可能なユニットを装置本体に対して位置決めした後、前記被駆動軸と、装置本体に設けられた駆動源から駆動力を受けて回転駆動する駆動軸との連結を行う連結方法において、
    前記被駆動軸と駆動軸との連結に請求項1乃至いずれかひとつの連結装置を用いて行うことを特徴とする連結方法。
  5. 回転体と、前記回転体に駆動力を伝達するための被駆動軸とを有し、装置本体に対して脱着可能なユニットと、
    該ユニットが装置本体に対して位置決めされた状態で、前記被駆動軸と装置本体に設けられた駆動源から駆動力を受けて回転駆動する駆動軸とを連結する連結手段とを備えた画像形成装置において、
    前記連結手段として、請求項1乃至いずれかひとつの連結装置を用いたことを特徴とする画像形成装置。
JP2007225584A 2007-08-31 2007-08-31 連結装置、連結方法および画像形成装置 Expired - Fee Related JP5039481B2 (ja)

Priority Applications (1)

Application Number Priority Date Filing Date Title
JP2007225584A JP5039481B2 (ja) 2007-08-31 2007-08-31 連結装置、連結方法および画像形成装置

Applications Claiming Priority (1)

Application Number Priority Date Filing Date Title
JP2007225584A JP5039481B2 (ja) 2007-08-31 2007-08-31 連結装置、連結方法および画像形成装置

Publications (2)

Publication Number Publication Date
JP2009058735A JP2009058735A (ja) 2009-03-19
JP5039481B2 true JP5039481B2 (ja) 2012-10-03

Family

ID=40554528

Family Applications (1)

Application Number Title Priority Date Filing Date
JP2007225584A Expired - Fee Related JP5039481B2 (ja) 2007-08-31 2007-08-31 連結装置、連結方法および画像形成装置

Country Status (1)

Country Link
JP (1) JP5039481B2 (ja)

Families Citing this family (11)

* Cited by examiner, † Cited by third party
Publication number Priority date Publication date Assignee Title
JP3097041B2 (ja) * 1993-08-13 2000-10-10 株式会社小松製作所 圧油供給装置の戻り流量分担回路
JP5135031B2 (ja) * 2007-10-05 2013-01-30 株式会社リコー 連結装置および画像形成装置
JP4558083B2 (ja) * 2008-06-20 2010-10-06 キヤノン株式会社 カートリッジ、前記カートリッジの組立て方法、及び、前記カートリッジの分解方法
JP5729677B2 (ja) 2011-03-10 2015-06-03 株式会社リコー 駆動力伝達機構および画像形成装置
JP5880190B2 (ja) * 2012-03-22 2016-03-08 富士ゼロックス株式会社 被回転体の駆動構造及び画像形成装置
JP6400324B2 (ja) * 2013-04-30 2018-10-03 Ntn株式会社 画像形成装置
JP6335567B2 (ja) * 2014-03-20 2018-05-30 Ntn株式会社 トリポード型等速ジョイント
JP6324782B2 (ja) * 2014-03-20 2018-05-16 Ntn株式会社 トリポード型等速ジョイント
CN106104038B (zh) * 2014-03-20 2019-05-07 Ntn株式会社 三球销式等速接头
KR102205704B1 (ko) * 2016-08-26 2021-01-20 캐논 가부시끼가이샤 드럼 유닛, 카트리지, 전자 사진 화상 형성 장치 및 커플링 부재
KR20200145094A (ko) 2019-06-20 2020-12-30 휴렛-팩커드 디벨롭먼트 컴퍼니, 엘.피. 커플러 홀더와 구동 커플러가 탄성적으로 결합되는 유니버설 커플러

Family Cites Families (3)

* Cited by examiner, † Cited by third party
Publication number Priority date Publication date Assignee Title
JP4554306B2 (ja) * 2004-06-22 2010-09-29 Ntn株式会社 等速ジョイント
JP4799851B2 (ja) * 2004-11-15 2011-10-26 株式会社リコー 画像形成装置
JP4799169B2 (ja) * 2005-12-22 2011-10-26 Ntn株式会社 継手アッセンブリーおよびこれを備えたアクスルモジュール

Also Published As

Publication number Publication date
JP2009058735A (ja) 2009-03-19

Similar Documents

Publication Publication Date Title
JP5135031B2 (ja) 連結装置および画像形成装置
JP5039481B2 (ja) 連結装置、連結方法および画像形成装置
JP5053743B2 (ja) 画像形成装置
US6577831B1 (en) Electrophotographic image forming apparatus to which a process cartridge is detachably mountable and process cartridge having a supporting member for rotatably supporting a developing roller at a position away from the center of rotation thereof
JP3478797B2 (ja) プロセスカートリッジ及び電子写真画像形成装置
US11150591B2 (en) Drum unit, cartridge, electrophotographic image forming apparatus and coupling member
JP4250294B2 (ja) カラー電子写真画像形成装置及びプロセスカートリッジ
US8103192B2 (en) Constant velocity joint and image forming apparatus
JP3768706B2 (ja) 電子写真画像形成装置
US8583001B2 (en) Developing device and process cartridge
US11747763B2 (en) Drive device and image forming apparatus incorporating the drive device
US8218997B2 (en) Cleaning member, charging device, process cartridge, and image forming apparatus
US10289062B2 (en) Developing cartridge, and electrophotographic image forming apparatus using same
JP5015715B2 (ja) 連結装置および画像形成装置
US20090042656A1 (en) Image Forming apparatus
JP5185680B2 (ja) 画像形成装置
JP4989343B2 (ja) 画像形成装置
JP5311205B2 (ja) 等速ジョイント、駆動装置および画像形成装置
JP2014132316A (ja) 画像形成装置、作像ユニットおよび現像ユニット
US20130322920A1 (en) Developing device, process cartridge, and image forming apparatus
JP4989344B2 (ja) 画像形成装置
JP4989352B2 (ja) 画像形成装置
JP4922857B2 (ja) 画像形成装置
JP2007232039A (ja) 駆動伝達装置及びこれを用いる画像形成装置
JP4563327B2 (ja) 等速ジョイント及びこれを用いる画像形成装置

Legal Events

Date Code Title Description
A621 Written request for application examination

Free format text: JAPANESE INTERMEDIATE CODE: A621

Effective date: 20100407

A977 Report on retrieval

Free format text: JAPANESE INTERMEDIATE CODE: A971007

Effective date: 20111214

A131 Notification of reasons for refusal

Free format text: JAPANESE INTERMEDIATE CODE: A131

Effective date: 20111216

A521 Request for written amendment filed

Free format text: JAPANESE INTERMEDIATE CODE: A523

Effective date: 20120214

TRDD Decision of grant or rejection written
A01 Written decision to grant a patent or to grant a registration (utility model)

Free format text: JAPANESE INTERMEDIATE CODE: A01

Effective date: 20120615

A01 Written decision to grant a patent or to grant a registration (utility model)

Free format text: JAPANESE INTERMEDIATE CODE: A01

A61 First payment of annual fees (during grant procedure)

Free format text: JAPANESE INTERMEDIATE CODE: A61

Effective date: 20120709

FPAY Renewal fee payment (event date is renewal date of database)

Free format text: PAYMENT UNTIL: 20150713

Year of fee payment: 3

R150 Certificate of patent or registration of utility model

Ref document number: 5039481

Country of ref document: JP

Free format text: JAPANESE INTERMEDIATE CODE: R150

Free format text: JAPANESE INTERMEDIATE CODE: R150

R250 Receipt of annual fees

Free format text: JAPANESE INTERMEDIATE CODE: R250

S111 Request for change of ownership or part of ownership

Free format text: JAPANESE INTERMEDIATE CODE: R313117

R350 Written notification of registration of transfer

Free format text: JAPANESE INTERMEDIATE CODE: R350

R250 Receipt of annual fees

Free format text: JAPANESE INTERMEDIATE CODE: R250

LAPS Cancellation because of no payment of annual fees