JP5011237B2 - スクロール式流体機械 - Google Patents

スクロール式流体機械 Download PDF

Info

Publication number
JP5011237B2
JP5011237B2 JP2008222448A JP2008222448A JP5011237B2 JP 5011237 B2 JP5011237 B2 JP 5011237B2 JP 2008222448 A JP2008222448 A JP 2008222448A JP 2008222448 A JP2008222448 A JP 2008222448A JP 5011237 B2 JP5011237 B2 JP 5011237B2
Authority
JP
Japan
Prior art keywords
lubricant
scroll
cylindrical member
orbiting scroll
fixed
Prior art date
Legal status (The legal status is an assumption and is not a legal conclusion. Google has not performed a legal analysis and makes no representation as to the accuracy of the status listed.)
Expired - Fee Related
Application number
JP2008222448A
Other languages
English (en)
Other versions
JP2010053843A (ja
Inventor
和孝 末藤
宏治 福井
Current Assignee (The listed assignees may be inaccurate. Google has not performed a legal analysis and makes no representation or warranty as to the accuracy of the list.)
Hitachi Industrial Equipment Systems Co Ltd
Original Assignee
Hitachi Industrial Equipment Systems Co Ltd
Priority date (The priority date is an assumption and is not a legal conclusion. Google has not performed a legal analysis and makes no representation as to the accuracy of the date listed.)
Filing date
Publication date
Application filed by Hitachi Industrial Equipment Systems Co Ltd filed Critical Hitachi Industrial Equipment Systems Co Ltd
Priority to JP2008222448A priority Critical patent/JP5011237B2/ja
Publication of JP2010053843A publication Critical patent/JP2010053843A/ja
Application granted granted Critical
Publication of JP5011237B2 publication Critical patent/JP5011237B2/ja
Expired - Fee Related legal-status Critical Current
Anticipated expiration legal-status Critical

Links

Images

Landscapes

  • Rotary Pumps (AREA)
  • Applications Or Details Of Rotary Compressors (AREA)

Description

本発明は、例えば空気圧縮機、真空ポンプ等として好適に用いられるスクロール式流体機械に関する。
一般に、スクロール式流体機械としては、例えば電動モータ等の駆動源により旋回スクロールを固定スクロールに対し旋回駆動することによって、両スクロール間の圧縮室内で空気等の流体を連続的に圧縮する構成としたスクロール式圧縮機が知られている。
この種の従来技術によるスクロール式圧縮機は、筒状のケーシングと、該ケーシングに固定して設けられ板体に渦巻状のラップ部が立設された固定スクロールと、該固定スクロールと対向して前記ケーシング内に旋回可能に設けられ板体に該固定スクロールのラップ部と重なり合って複数の圧縮室を形成する渦巻状のラップ部が立設された旋回スクロールと、該旋回スクロールと前記ケーシングとの間に設けられ、該旋回スクロールの自転を防止すると共に両者間のスラスト荷重を受承する偏心スラスト軸受等とを備えている(例えば、特許文献1参照)。
特開2003−322149号公報
この特許文献1によるスクロール式圧縮機に設けられた偏心スラスト軸受は、旋回スクロールの背面側を全周に亘って延びる大径な形状、構造であるために、圧縮機の大型化、組立作業性の低下等が考えられる。
そこで、スクロール式圧縮機には、旋回スクロールの自転を防止する機構と、旋回スクロールとケーシングとの間のスラスト荷重を受承する機構とを分離する構成としたものがある(例えば、特許文献2参照)。
特開2000−87883号公報
この特許文献2のスクロール式圧縮機では、旋回スクロールの自転を防止する機構として、第1のガイド、第2のガイドおよび該各ガイドに沿って摺動するスライダとからなるオルダム継手と呼ばれる自転防止機構を用いている。また、旋回スクロールとケーシングとの間のスラスト荷重を受承する機構として、球体を用いたスラスト荷重支持体を用いている。
さらに、特許文献2のスクロール式圧縮機に設けたスラスト荷重支持体は、ケーシングまたは旋回スクロールに設けられた球体収容筒と、該球体収容筒内に位置してケーシングと旋回スクロールとの間に転動可能に設けられ前記旋回スクロールに付加されるスラスト荷重を受承する球体と、前記球体収容筒内で該球体を保持すると共に、球体収容筒内の角隅に移動した潤滑剤を球体の転動軌道に戻す突起が設けられた球体保持器とにより構成されている。
ところで、上述した特許文献2によるスクロール式圧縮機では、球体を球体収容筒内に配置し、この球体収容筒内には潤滑剤を封入している。また、球体の転動軌道を外れて角隅に移動した潤滑剤は、球体保持器の突起により球体の転動軌道に戻すことができる。
しかし、特許文献2によるスクロール式圧縮機では、第1のガイド、第2のガイドに対してスライダを摺動させているから、旋回動作時に抵抗となって動力損失が大きくなるという問題がある。
また、特許文献2では、各ガイドとスライダとが摺動する部位に潤滑剤が必要となる。しかし、この部分に潤滑剤を保持しようとした場合、広範囲を覆うために圧縮機が大型化し、機構も複雑になるから、無給油式のスクロール式圧縮機に適用するのが困難である。
本発明は上述した従来技術の問題に鑑みなされたもので、本発明の目的は、旋回スクロールの自転を防止する機能とスラスト荷重を受承する機能とを1つにした上で、小さな抵抗で旋回スクロールの自転を防止でき、また、潤滑のための潤滑剤を保持できるようにしたスクロール式流体機械を提供することにある。
本発明によるスクロール式流体機械は、筒状のケーシングおよび該ケーシングに固定して設けられ板体に渦巻状のラップ部が立設された固定スクロールからなる固定側部材と、該固定側部材の固定スクロールと対向して前記ケーシング内に旋回可能に設けられ板体に該固定スクロールのラップ部と重なり合って複数の圧縮室を形成する渦巻状のラップ部が立設された旋回スクロールと、該旋回スクロールと前記固定側部材との間に設けられ該旋回スクロールの自転を防止すると共に両者の間のスラスト荷重を受承する少なくとも3つのボールカップリング機構とからなる。
そして、上述した課題を解決するために、請求項1の発明が採用する構成の特徴は、前記ボールカップリング機構は、前記固定側部材側と旋回スクロール側とに対向してそれぞれ設けられた収容穴と、前記固定側部材側の収容穴の底面と旋回スクロール側の収容穴の底面との間に転動可能に設けられ前記旋回スクロールに付加されるスラスト荷重を受承する球体と、前記各収容穴間に位置して該球体を取囲むように設けられ前記各収容穴の内周面に転がり接触して前記旋回スクロールの自転を防止する筒状部材と、前記筒状部材と前記各収容穴との間に設けられ前記筒状部材の回転を利用し前記筒状部材の内部から流出した潤滑剤を該筒状部材の内部に向け押し戻す潤滑剤押し戻し手段とにより構成したことにある。
本発明によれば、旋回スクロールの自転を防止する機能とスラスト荷重を受承する機能とを1つにした上で、小さな抵抗で旋回スクロールの自転を防止でき、また、潤滑のための潤滑剤を保持することができる。
以下、本発明の実施の形態によるスクロール式流体機械として、無給油式のスクロール式空気圧縮機を例に挙げ、添付図面に従って詳細に説明する。
まず、図1ないし図7は本発明の第1の実施の形態を示している。図1において、1はスクロール式空気圧縮機の外形を構成するケーシングで、該ケーシング1は、軸線O1−O1に沿って延びた一側が開口した有底筒状体として形成されている。そして、ケーシング1は、後述の固定スクロール2と共に固定側部材を構成するものである。また、ケーシング1の軸方向他側には、軸線O1−O1上に後述の出力軸8Aを有した電動モータ8が取付けられている。
この場合、ケーシング1は、軸方向の一側となる固定スクロール2側が開口した筒部1Aと、該筒部1Aの軸方向他側に一体形成され径方向内向きに延びた環状の底部1Bと、該底部1Bの内周側から軸方向一側に向けて突出した筒状の軸受取付部1Cとから大略構成されている。そして、ケーシング1の筒部1A内には、後述の旋回スクロール4、偏心ブッシュ12、バランスウエイト14、ボールカップリング機構15等が収容されている。
また、ケーシング1の底部1B側には、旋回スクロール4に付加されるスラスト荷重をボールカップリング機構15を介して受承する複数、例えば3個の台座部1Dが設けられている。これらの台座部1Dは、ケーシング1の周方向に所定の間隔をもって配設されている。そして、各台座部1Dには、後述するボールカップリング機構15の第1のスラスト受け16が嵌合して取付けられる取付凹部1Eが形成されている。
2はケーシング1の筒部1Aの開口端側に固定して設けられた固定スクロールで、該固定スクロール2は、軸線O1−O1を中心として円板状に形成された鏡板と呼ばれる板体2Aと、該板体2Aの表面に立設された渦巻状のラップ部2Bと、該ラップ部2Bを取囲む位置で前記板体2Aの外周側に設けられ、複数のボルト3等により筒部1Aの開口端に締結された筒状の支持部2Cとにより大略構成されている。
4は固定スクロール2と軸方向に対向する位置でケーシング1内に旋回可能に設けられた旋回スクロールである。この旋回スクロール4は、図1、図2に示すように、軸線O2−O2を中心とする円板状の板体4Aと、該板体4Aの表面に立設された渦巻状のラップ部4Bと、板体4Aの背面、即ちラップ部4Bと反対側に突設され、後述の偏心ブッシュ12に旋回軸受13を介して取付けられる筒状のボス部4Cとにより大略構成されている。
また、旋回スクロール4の背面側には、例えば3個の取付凹部4D(図1中に1個のみ図示)が周方向に間隔をもって設けられ、これらの取付凹部4Dは、ケーシング1の取付凹部1Eと対応する位置に配設されている。そして、取付凹部4Dには、後述するボールカップリング機構15の第2のスラスト受け18が嵌合して取付けられる。
ここで、旋回スクロール4のボス部4Cは、その中心となる軸線O2−O2が固定スクロール2の中心となる軸線O1−O1に対して、偏心ブッシュ12により予め決められた所定の寸法δだけ径方向に偏心して配置されている。この状態で、旋回スクロール4のラップ部4Bは、固定スクロール2のラップ部2Bと重なり合うように配置され、これらのラップ部2B,4Bの間には、複数の圧縮室5が形成されている。
そして、旋回スクロール4は、電動モータ8により後述の回転軸9、偏心ブッシュ12を介して駆動され、ボールカップリング機構15によって自転が規制されることにより固定スクロール2に対して旋回運動を行う。即ち、旋回スクロール4は、固定スクロール2の軸線O1−O1に対して前記偏心寸法δの旋回半径をもって旋回動作するものである。
これにより、複数の圧縮室5のうち外径側の圧縮室5は、固定スクロール2の外周側に設けられた吸込口6から空気を吸込み、この空気は圧縮室5内で旋回スクロール4の旋回動作に伴って連続的に圧縮される。そして、内径側の圧縮室5は、固定スクロール2の中心側に設けられた吐出口7から圧縮空気を外部に向けて吐出する。
8はケーシング1の底部1B側に設けられた電動モータで、該電動モータ8は、その出力軸8Aが後述の回転軸9に一体的に連結されている。そして、電動モータ8は、出力軸8Aを回転することにより、旋回スクロール4を回転軸9、偏心ブッシュ12等を介して旋回駆動するものである。
9は基端側が電動モータ8の出力軸8Aに固着された回転軸で、該回転軸9は、電動モータ8によって回転駆動されるものである。また、回転軸9は、ケーシング1の軸受取付部1C内に軸受10等を介して回転可能に支持されている。また、回転軸9の先端側には、偏心ブッシュ12、旋回軸受13を介して旋回スクロール4のボス部4Cが旋回可能に連結されている。
また、回転軸9の基端側には、径方向外向きに延びるサブウエイト11が一体形成されている。このサブウエイト11は、バランスウエイト14と旋回スクロール4とが回転するときに生じる遠心力が回転軸9等を傾ける方向のモーメントとなって作用するのを打ち消すものである。
12は回転軸9の先端側に設けられた段付筒状の偏心ブッシュで、該偏心ブッシュ12には、旋回スクロール4のボス部4Cが旋回軸受13を介して偏心状態で連結している。即ち、偏心ブッシュ12は、回転軸9の軸線O1−O1に対して旋回スクロール4の軸線O2−O2を偏心寸法δの位置に配置している。そして、偏心ブッシュ12は、回転軸9と一体に回転することにより、その回転を旋回スクロール4の旋回動作に変換することができる。なお、偏心ブッシュ12の外周側には、旋回スクロール4の旋回動作を安定させるためのバランスウエイト14が一体に形成されている。
次に、ケーシング1と旋回スクロール4との間に設けられ、旋回スクロール4の自転を防止する機能と旋回スクロール4に付加されるスラスト荷重を受承する機能との両方の機能を備えたボールカップリング機構15の構成について述べる。
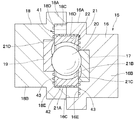
まず、15はケーシング1の底部1Bと旋回スクロール4の背面側との間に設けられたボールカップリング機構を示している(図1参照)。このボールカップリング機構15は、ケーシング1の3つの取付凹部1Eと旋回スクロール4の3つの取付凹部4Dとの間に複数個、例えば3個配設されている。これらのボールカップリング機構15は、旋回スクロール4に作用するスラスト荷重を受承すると共に、旋回スクロール4の自転を防止するものである。
そして、ボールカップリング機構15は、図3、図4等に示す如く、後述する第1のスラスト受け16、第2のスラスト受け18、球体20、筒状部材21、潤滑剤押し戻し機構23により大略構成されている。
ここで、ボールカップリング機構15は、旋回スクロール4からのスラスト荷重を安定的に受承するために、周方向に間隔をもって最低3箇所に配置する必要がある。また、旋回スクロール4の自転を防止するための後述の筒状部材21等は最低2箇所に設けることで自転を防止することができる。
16はケーシング1側に設けられた第1のスラスト受けで、該第1のスラスト受け16は、例えば剛性を有する金属材料等を用いて形成されている。また、第1のスラスト受け16は、短尺な大径部16Aと、該大径部16Aの他側に一体的に設けられた小径部16Bとにより、一側が大径で他側が小径な軸線X1−X1をもった段付円柱体として形成されている。そして、第1のスラスト受け16は、前記小径部16Bがケーシング1の取付凹部1Eに嵌合して固着され、この状態で大径部16Aの先端面は、相手方となる第2のスラスト受け18の大径部18Aの先端面に近接して対面している。
また、第1のスラスト受け16には、大径部16A内を窪ませることにより、同一軸線上に円形状の収容穴16Cが形成されている。この収容穴16Cは、内周面16Dと底面16Eとを有し、底面16Eの中央には、後述の受承板17を嵌合するための嵌合穴16Fが凹設されている。ここで、収容穴16Cは、図3に示す如く、その内周面16Dの内径寸法D1が後述する筒状部材21の外径寸法D2よりも偏心寸法δだけ大径に形成されている。また、収容穴16Cの深さ寸法は、筒状部材21の軸方向寸法の約半分に設定されている。これにより、内周面16Dには、筒状部材21の外周面21Aが転がるように接触し、底面16Eには、筒状部材21の端面21Cが摺接するようになっている。
17は第1のスラスト受け16の収容穴16Cの奥部に設けられた受承板で、該受承板17の表面側は、底面16Eの一部を構成している。そして、受承板17は、例えば耐摩耗性の高い硬質材料等を用いて円板状に形成され、嵌合穴16F内に嵌合して取付けられている。また、受承板17の表面側には、円形の浅底溝からなるガイド溝17Aが形成されている。このガイド溝17Aは、旋回スクロール4の旋回動作時に後述の球体20を円形の転動軌跡に沿ってガイドする機能を有している。
18は第1のスラスト受け16と対向して旋回スクロール4の背面側に設けられた第2のスラスト受けを示している。この第2のスラスト受け18は、例えば前述した第1のスラスト受け16とほぼ同様な材料を用い、大径部18Aと小径部18Bとによりほぼ同様の段付円柱状に形成されている。
また、第2のスラスト受け18にも収容穴18Cが形成され、この収容穴18Cの内周面18Dは、第1のスラスト受け16の内周面16Cと同様の内径寸法D1となり、底面18Eまでの深さ寸法も筒状部材21の軸方向寸法の約半分に設定されている。さらに、収容穴18Cの底面18Eには、嵌合穴18Fが形成され、該嵌合穴18Fには、ガイド溝19Aを有する受承板19が嵌合して固着されている。
そして、第2のスラスト受け18は、図1に示す如く、その収容穴18Cが第1のスラスト受け16の収容穴16Cと対向した状態で、旋回スクロール4の取付凹部4D内に嵌合して固定されている。このときに、第2のスラスト受け18は、図3に示す如く、その軸線X2−X2が第1のスラスト受け16の軸線X1−X1に対して偏心寸法δだけずらして配設されている。なお、第1のスラスト受け16と第2のスラスト受け18とは、同一形状とすることもでき、該各スラスト受け16,18は共通部品として形成できるものである。
20は第1のスラスト受け16の収容穴16Cと第2のスラスト受け18の収容穴18Cとの間、詳しくは底面16E,18Eを構成する受承板17,19間に転動可能に設けられた球体である。この球体20は、例えば硬度の高い鋼球等により形成されている。そして、球体20は、その外周面が受承板17,19のガイド溝17A,19Aに転動可能に当接し、後述の如く圧縮運転時に旋回スクロール4の板体4A等に付加されるスラスト荷重を、第1,第2のスラスト受け16,18と共にケーシング1の台座部1D側で受承させるものである。
21は第1のスラスト受け16の収容穴16Cと第2のスラスト受け18の収容穴18Cとの間に設けられた筒状部材で、該筒状部材21は、外周面21A、内周面21Bおよび両端面21C,21Dを有し、球体20を取囲む円筒体として形成されている。また、筒状部材21は、金属材料、樹脂材料等、例えば焼結含油金属材料、自己潤滑性樹脂材料等を用いて形成されている。
ここで、筒状部材21の外周面21Aの外径寸法D2は、第1,第2のスラスト受け16,18の収容穴16C,18Cの内径寸法D1よりも偏心寸法δだけ小さく形成されている。これにより、筒状部材21は、旋回スクロール4の旋回動作に伴って外周面21Aを収容穴16C,18Cの内周面16D,18Dに転がり接触させることができ、旋回スクロール4の自転を防止することができる。
一方、筒状部材21の内周面21Bの内径寸法は、球体20の外径寸法よりも大きく形成され、内部で球体20が転動するのを許す構成となっている。また、内周面21Bは、凹湾曲状の凹面として形成されている。これにより、筒状部材21は、後述の内部空間22に多くの潤滑剤を保持できる。また、潤滑剤を球体20の転動軌跡となる受承板17,19のガイド溝17A,19A付近に供給できるように、筒状部材21の端面21C,21Dを径方向に広幅に形成することができる。
さらに、筒状部材21は、図3に示すように、軸方向の端面21Cが第1のスラスト受け16の底面16Eに摺接し、反対側の端面21Dが第2のスラスト受け18の底面18Eに摺接している。これにより、第1,第2のスラスト受け16,18内には、これらの底面16E,18Eと筒状部材21の内周面21Bとで囲まれた内部空間22が形成され、この内部空間22は、球体20の周囲でグリース等の潤滑剤を保持する潤滑剤保持空間として使用されている。
この場合、スラスト受け16,18の底面16E,18Eと筒状部材21の端面21C,21Dとの間には、筒状部材21にスラスト荷重が作用しないように微小な隙間が形成される。このため、内部空間22内の潤滑剤は、その外側へと僅かに漏れ出る虞がある。しかし、筒状部材21の端面21C,21Dには、後述する潤滑剤押し戻し機構23の渦巻溝26,27を形成しているから、スラスト受け16,18の底面16E,18Eと筒状部材21の端面21C,21Dとの隙間に漏れ出た潤滑剤を内部空間22に押し戻すことができる。
次に、第1の実施の形態の特徴部分となる筒状部材21に設けられた潤滑剤押し戻し機構23について、図3ないし図7に従って述べる。
図3において、23は筒状部材21に設けられた潤滑剤押し戻し手段としての潤滑剤押し戻し機構を示している。この潤滑剤押し戻し機構23は、筒状部材21がスラスト受け16,18の内周面16D,18Dに対して転動したときの回転動作を利用し、内部空間22から流出した潤滑剤を該内部空間22内に向け押し戻すものである。具体的に、潤滑剤押し戻し機構23は、筒状部材21の外周面21Aに設けられ収容穴16C,18Cの開口側から底面16E,18Eに向けて潤滑剤を移動させる後述の螺旋溝24,25と、筒状部材21の端面21C,21Dに設けられ径方向中心側に向けて潤滑剤を移動させる後述の渦巻溝26,27とにより構成されている。
24は筒状部材21の外周面21Aの軸方向中間部からケーシング1側に設けられた軸方向押し戻し手段としての螺旋溝である。この第1のスラスト受け16側の螺旋溝24は、略コ字状の凹陥溝として形成され、1本または複数本形成されている。また、螺旋溝24は、収容穴16Cの底面16Eに向けて潤滑剤を押し戻すものである。このために螺旋溝24は、図5に示すように、収容穴16Cの開口位置となる軸方向の中間部を先頭とし、回転方向の後側が端面21Cに向かうように傾斜した螺旋構造の凹陥溝として形成されている。
これにより、螺旋溝24は、旋回スクロール4の旋回動作に伴って筒状部材21が矢示方向に回転すると、収容穴16Cの内周面16Dに付着した潤滑剤を掻き取り、螺旋構造によって収容穴16Cの底面16Eに向けて移動させることができる。そして、収容穴16Cの底面16Eに移動された潤滑剤は、後述の渦巻溝26によって内部空間22に押し戻すことができる。また、凹陥溝からなる螺旋溝24は、潤滑剤を保持することができるから、筒状部材21の外周面21Aと第1のスラスト受け16の内周面16Dとの間を確実に潤滑することができる。
25は筒状部材21の外周面21Aの軸方向中間部から旋回スクロール4側に設けられた軸方向押し戻し手段としての螺旋溝である。この第2のスラスト受け18側の螺旋溝25は、対称形状をなしている点を除いて第1のスラスト受け16側の螺旋溝24とほぼ同様に形成され、構成、機能も同様であるので、これらの説明は省略するものとする。そして、螺旋溝24,25は、収容穴16C,18Cの開口位置となる筒状部材21の軸方向中間部を頂点とする逆V字状に形成されている。
26は筒状部材21の第1のスラスト受け16側の端面21Cに設けられた径方向押し戻し手段としての渦巻溝である。この渦巻溝26は、略コ字状の凹陥溝として形成され、1本または複数本、例えば2本形成されている。そして、渦巻溝26は、図6に示すように、筒状部材21の回転方向の前側で大きな直径寸法となり、後側で小さな直径寸法となる渦巻構造をなしている。
これにより、旋回スクロール4の旋回動作に伴って筒状部材21が矢示方向に回転すると、渦巻溝26は、長さ方向の途中や外周側の開口端で捕らえた潤滑剤を渦巻構造によって中央側に移動させ、内部空間22に配設された球体20の摺動部位に戻すことができる。このときに、筒状部材21は偏心寸法δをもって旋回動作しているから、図3に示すように、内周面21Bが球体20の転動軌道となる受承板17のガイド溝17Aにまで達し、収容穴16Cの径方向中心側となるガイド溝17Aに潤滑剤を供給することができる。また、凹陥溝からなる渦巻溝26は、潤滑剤を保持することができるから、筒状部材21に端面21Cと第1のスラスト受け16の底面16Eとの間を確実に潤滑することができる。
27は筒状部材21の第2のスラスト受け18側の端面21Dに設けられた径方向押し戻し手段としての渦巻溝である。この渦巻溝27は、対称形状をなしている点を除いて第1のスラスト受け16側の渦巻溝26とほぼ同様に形成され、構成、機能も同様であるので、これらの説明は省略するものとする。
第1の実施の形態によるスクロール式空気圧縮機は、上述の如き構成を有するもので、次に、その作動について説明する。
まず、電動モータ8に給電し、軸線O1−O1を中心として出力軸8Aにより回転軸9と偏心ブッシュ12とを回転駆動すると、旋回スクロール4は、各ボールカップリング機構15により自転を規制された状態で、所定の旋回半径(偏心寸法δ)をもった旋回動作を行う。
これにより、固定スクロール2のラップ部2Bと旋回スクロール4のラップ部4Bとの間に画成された各圧縮室5のうち、外径側の圧縮室5は、固定スクロール2の外周側に設けた吸込口6から空気を吸込み、この空気を連続的に圧縮しつつ、内径側の圧縮室5から吐出口7を介して圧縮空気を吐出する。
また、空気圧縮機の圧縮運転時には、各圧縮室5内で圧縮された空気の圧力が旋回スクロール4の板体4Aにスラスト荷重となって作用する。しかし、ケーシング1と旋回スクロール4との間には、ボールカップリング機構15を配設しているから、旋回スクロール4に付加されるスラスト荷重を、ボールカップリング機構15の第1,第2のスラスト受け16,18と球体20との間で受承することができる。これにより、旋回スクロール4を安定的に旋回動作させることができる。また、ボールカップリング機構15は、第1,第2のスラスト受け16,18の内周面16D,18Dに筒状部材21の外周面21Aを転がり接触させることにより、旋回スクロール4の自転動作を規制することができる。
さらに、ボールカップリング機構15は、内部空間22内に充填したグリース等の潤滑剤によって球体20、筒状部材21等を潤滑している。しかし、内部空間22の潤滑剤は、筒状部材21の端面21C,21Dとスラスト受け16,18の底面16E,18Eとの僅かな隙間から漏れ出すことがあり、潤滑剤が不足して潤滑不良を生じる虞がある。
しかし、内部空間22から流出した潤滑剤のうち、収容穴16C,18Cの底面16E,18Eから開口に向けて流出しようとする潤滑剤は、筒状部材21が転動して回転することにより、その外周面21Aに設けた螺旋溝24,25によって底面16E,18Eに向け押し戻すことができる。また、螺旋溝24,25によって底面16E,18Eに向け移動させた潤滑剤、筒状部材21から漏れて内径側から外径側に流れる潤滑剤等は、渦巻溝26,27によって筒状部材21の内径側となる内部空間22に向け移動することができる。
かくして、第1の実施の形態によれば、ボールカップリング機構15は、その球体20を各スラスト受け16,18の底面16E,18Eとなる受承板17,19間で転動することにより、旋回スクロール4に付加されるスラスト荷重を受承することができる。また、筒状部材21は、各スラスト受け16,18の収容穴16C,18C間で転動することにより、滑り接触に比較して抵抗が小さな転がり接触によって旋回スクロール4の自転を防止することができる。
この結果、ボールカップリング機構15は、旋回スクロール4の自転を防止する機能とスラスト荷重を受承する機能の両方の機能を備えた上で、自転を防止する筒状部材21とスラスト荷重を受承する球体20との両方に対して簡単な構成で潤滑剤を保持することができ、スクロール式空気圧縮機の小型化、組立作業性の向上等を図ることができる。
また、筒状部材21を収容穴16C,18Cの内周面16D,18Dに転がり接触させることにより、旋回スクロール4の自転を防止しているから、例えばオルダム継手のような滑り接触に比較して、摺動抵抗を小さくすることができ、運転時の動力損失を低減して運転効率を向上することができる。
しかも、第1の実施の形態によれば、ケーシング1と旋回スクロール4との間に設けたボールカップリング機構15には、筒状部材21とスラスト受け16,18の収容穴16C,18Cとの間に潤滑剤押し戻し機構23を設ける構成としている。この潤滑剤押し戻し機構23は、筒状部材21が各収容穴16C,18Cの内周面16D,18Dで転動して回転することにより、この筒状部材21の回転を動力源とし、内部空間22から筒状部材21と収容穴16C,18Cとの間に流出した潤滑剤を、内部空間22に向け押し戻すものである。
具体的には、潤滑剤押し戻し機構23は、筒状部材21の外周面21Aに設けた螺旋溝24,25と、筒状部材21の端面21C,21Dに設けた渦巻溝26,27とにより構成している。そして、筒状部材21が回転動作したときには、螺旋溝24,25は、収容穴16C,18Cから流出しようとする潤滑剤を捕らえつつ、螺旋構造によって端面21C,21D(底面16E,18E)側に移動させることができる。また、渦巻溝26,27は、螺旋溝24,25によって底面16E,18E側に移動させた潤滑剤、長さ方向の途中や外周側の開口端で掻き取った潤滑剤を、渦巻構造によって球体20の転動軌跡がある径方向中心側に移動させ、内部空間22に戻すことができる。
この結果、筒状部材21の内部空間22から潤滑剤が流出するようなことがあっても、流出した潤滑剤は、潤滑剤押し戻し機構23によって内部空間22内に押し戻すことができるから、内部空間22内には、常に潤滑剤を保持することができる。これにより、球体20の転動軌道を確実に潤滑することができ、球体20、収容穴16C,18Cの底面16E,18E等の摩耗や焼付きを防止して、これらの寿命を延ばすことができる。
また、スラスト受け16,18の収容穴16C,18Cの開口側から外部に潤滑剤が漏れ出すと、この潤滑剤は二度と内部空間22に戻すことはできない。これに対しても、筒状部材21の外周面21Aに設けた螺旋溝24,25は、収容穴16C,18Cから流出しようとする潤滑剤を該収容穴16C,18C内に戻すことができ、球体20の周囲に潤滑剤を確実に保持することができる。
次に、図8ないし図12は本発明の第2の実施の形態を示している。本実施の形態の特徴は、潤滑剤押し戻し手段を、収容穴の内周面に設けた螺旋溝と底面に設けた渦巻溝とによって構成したことにある。なお、本実施の形態では、前述した第1の実施の形態と同一の構成要素に同一の符号を付し、その説明を省略するものとする。
図8において、31はスラスト受け16,18の収容穴16C,18Cに設けられた潤滑剤押し戻し手段としての第2の実施の形態による潤滑剤押し戻し機構を示している。この潤滑剤押し戻し機構31は、筒状部材21が回転し、内周面16D,18D、底面16E,18Eに対して旋回移動したときに、内部空間22から流出した潤滑剤を該内部空間22内に向け押し戻すものである。具体的に、潤滑剤押し戻し機構31は、収容穴16C,18Cの内周面16D,18Dに設けられ収容穴16C,18Cの開口側から底面16E,18Eに向けて潤滑剤を移動させる後述の螺旋溝32,34と、収容穴16C,18Cの底面16E,18Eに設けられ中央側に向けて潤滑剤を移動させる後述の渦巻溝33,35とにより構成されている。
32は第1のスラスト受け16の収容穴16Cの内周面16Dに設けられた軸方向押し戻し手段としての螺旋溝である(図9参照)。この螺旋溝32は、収容穴16Cの開口側から底面16Eに向けて潤滑剤を軸方向に移動させるものである。このために螺旋溝32は、筒状部材21の旋回方向に対し、内周面16Dの開口側から底面16Eに向けて傾斜した螺旋構造の凹陥溝として形成されている。
これにより、螺旋溝32は、旋回スクロール4の旋回動作に伴って筒状部材21が旋回すると、潤滑剤を螺旋構造によって底面16E側に移動させることができる。そして、収容穴16Cの底面16E側に移動された潤滑剤は、渦巻溝33によって内部空間22に押し戻すことができる。また、螺旋溝32は、潤滑剤を保持することができ、筒状部材21と第1のスラスト受け16との間を潤滑することができる。
33は第1のスラスト受け16の収容穴16Cの底面16Eに設けられた径方向押し戻し手段としての渦巻溝である。この渦巻溝33は、略コ字状の凹陥溝として形成され、図10に示すように、筒状部材21の旋回方向の前側で大きな直径寸法となり、後側で小さな直径寸法となる渦巻構造に形成されている。
これにより、旋回スクロール4の旋回動作に伴って筒状部材21が回転しつつ矢示方向に旋回すると、渦巻溝33は、筒状部材21の端面21Cに付着した潤滑剤を渦巻構造によって中央側に移動させ、内部空間22に押し戻すことができる。また、渦巻溝33は、球体20の転動軌道となる受承板17のガイド溝17Aに潤滑剤を供給することができる。さらに、渦巻溝33は、潤滑剤を保持することができるから、筒状部材21と第1のスラスト受け16との間を潤滑することができる。
一方、34は収容穴18Cの内周面18Dに設けられた軸方向押し戻し手段としての螺旋溝である。この螺旋溝34は、図11に示すように、対称形状をなしている点を除いて第1のスラスト受け16側の螺旋溝32とほぼ同様に形成され、構成、機能も同様であるので、これらの説明は省略するものとする。
さらに、35は第2のスラスト受け18の収容穴18Cの底面18Eに設けられた径方向押し戻し手段としての渦巻溝である。この渦巻溝35は、図12に示すように、対称形状をなしている点を除いて第1のスラスト受け16側の渦巻溝33とほぼ同様に形成され、構成、機能も同様であるので、これらの説明は省略するものとする。
かくして、このように構成された第2の実施の形態においても、前述した第1の実施の形態とほぼ同様の作用効果を得ることができる。
なお、第1の実施の形態では、潤滑剤押し戻し機構23の螺旋溝24,25、渦巻溝26,27を筒状部材21に設けた場合を例示し、第2の実施の形態では、潤滑剤押し戻し機構31の螺旋溝32,34、渦巻溝33,35をスラスト受け16,18に設けた場合を例示している。しかし、本発明はこれらの構成に限らず、例えば図13に示す第1の変形例による潤滑剤押し戻し機構41のように、螺旋溝42を筒状部材21の外周面21Aに設け、渦巻溝43をスラスト受け16,18の底面16E,18Eに設ける構成としてもよい。即ち、潤滑剤押し戻し機構はスラスト受けと筒状部材との間に設ける構成とすればよいものである。また、螺旋溝を廃止し、渦巻溝だけを設ける構成としてもよい。
また、第1の実施の形態では、筒状部材21の外周面21Aに軸方向の中間部を頂点とするように逆V字状に並べて螺旋溝24,25を設けた場合を例に挙げて説明した。しかし、本発明はこれに限るものではなく、例えば図14に示す第2の変形例のように、軸方向の中間部に全周に亘ってシールライン51を設け、螺旋溝52,53をハ字状に形成する構成としてもよい。この構成によれば、筒状部材21が転動するときに、各スラスト受け16,18間の隙間をシールライン51によって閉塞することができ、潤滑剤の外部への漏れを抑制することができる。
また、第1の実施の形態では、ボールカップリング機構15を第1,第2のスラスト受け16,18、受承板17,19、球体20、筒状部材21、潤滑剤押し戻し機構23により構成した場合を例に挙げて説明した。しかし、本発明はこれに限らず、例えば第1のスラスト受け16に該当する部分をケーシング1の台座部1D側に一体に設け、第2のスラスト受け18に該当する部分を旋回スクロール4の背面側に一体に設ける構成としてもよい。
また、受承板17,19についても、第1,第2のスラスト受け16,18と別体に形成する必要はない。そして、受承板17に該当する部分を第1のスラスト受け16と共にケーシング1の台座部1D側に一体に設け、受承板19に該当する部分を第2のスラスト受け18と共に旋回スクロール4の背面側に一体に設ける構成としてもよい。そして、これらの構成は、第2の実施の形態についても同様に適用することができるものである。
さらに、各実施の形態では、固定スクロール2と旋回スクロール4とからなるスクロール式の空気圧縮機を例に挙げて説明した。しかし、本発明はこれに限るものではなく、例えば冷媒圧縮機等のスクロール式流体機械にも広く適用できるものである。
以上の各実施の形態で述べたように、請求項1の発明によれば、ボールカップリング機構の球体は、固定側部材側の収容穴の底面と旋回スクロール側の収容穴の底面との間で転動することにより、旋回スクロールに付加されるスラスト荷重を受承することができる。また、前記各収容穴間に設けた筒状部材は、固定側部材側の収容穴の内周面と旋回スクロール側の収容穴の内周面との間で転動することにより、滑り接触に比較して抵抗が小さな転がり接触によって旋回スクロールの自転を防止することができる。
この場合、各収容穴の底面と筒状部材の端面との間には、転動を許すために隙間が存在するから、各収容穴内で筒状部材が回転しつつ移動するときに、前記隙間から筒状部材内の潤滑剤が漏れ出ることがある。
しかし、各収容穴と筒状部材との間に設けた潤滑剤押し戻し手段は、筒状部材が各収容穴の内周面間で転動して回転することにより、この筒状部材の回転を動力源とし、筒状部材の内部から該筒状部材と前記各収容穴との間に流出した潤滑剤を、該筒状部材の内部に向け押し戻すことができる。
この結果、ボールカップリング機構は、旋回スクロールの自転を防止する機能とスラスト荷重を受承する機能の両方の機能を備えた上で、自転を防止する筒状部材とスラスト荷重を受承する球体との両方に対して簡単な構成で潤滑剤を保持することができ、圧縮機の小型化、組立作業性の向上等を図ることができる。
また、筒状部材を収容穴の内周面に転がり接触させることにより、旋回スクロールの自転を防止しているから、例えばオルダム継手のような滑り接触に比較して、摺動抵抗を小さくすることができ、運転時の動力損失を低減して運転効率を向上することができる。
しかも、筒状部材から流出する潤滑剤は、潤滑剤押し戻し手段によって筒状部材内に向け押し戻すことができるから、筒状部材内には、常に潤滑剤を保持することができる。これにより、球体の転動軌道を確実に潤滑することができ、球体、収容穴の底面等の摩耗や焼付きを防止して、これらの寿命を延ばすことができる。
請求項2の発明によれば、各収容穴の底面から開口に向けて流出しようとする潤滑剤は、軸方向押し戻し手段によって底面に向け移動することができる。また、軸方向押し戻し手段によって底面に向け移動した潤滑剤、筒状部材から漏れて内径側から外径側に流れる潤滑剤等は、径方向押し戻し手段によって筒状部材の内径側に向け移動することができる。
請求項3の発明によれば、軸方向押し戻し手段は、筒状部材の外周面または各収容穴の内周面に螺旋溝を形成するだけで、この螺旋溝の螺旋構造により筒状部材の回転を利用して収容穴の底面に向け潤滑剤を押し戻すことができる。これにより、軸方向押し戻し手段の構成を簡略化することができる。
請求項4の発明によれば、径方向押し戻し手段は、筒状部材の端面または各収容穴の底面に渦巻溝を形成するだけで、この渦巻溝の渦巻構造により筒状部材の回転を利用して、収容穴の径方向中心側に位置する球体の転動軌道付近に向け潤滑剤を押し戻すことができる。これにより、径方向押し戻し手段の構成を簡略化することができる。
本発明の第1の実施の形態によるスクロール式空気圧縮機を示す縦断面図である。 旋回スクロールとボールカップリング機構とを図1中の矢示II−II方向からみた断面図である。 図1中のボールカップリング機構を拡大して示す縦断面図である。 図3に示すボールカップリング機構を分解した状態で示す分解斜視図である。 筒状部材の外周面を拡大して示す正面図である。 筒状部材の第1のスラスト受け側の端面を拡大して示す右側面図である。 筒状部材の第2のスラスト受け側の端面を拡大して示す左側面図である。 第2の実施の形態によるボールカップリング機構を示す縦断面図である。 第1のスラスト受けを単体で示す縦断面図である。 第1のスラスト受けを渦巻溝側からみた左側面図である。 第2のスラスト受けを単体で示す縦断面図である。 第2のスラスト受けを渦巻溝側からみた右側面図である。 第1の変形例によるボールカップリング機構を示す縦断面図である。 第2の変形例による筒状部材を示す正面図である。
符号の説明
1 ケーシング(固定側部材)
2 固定スクロール(固定側部材)
2A,4A 板体
2B,4B ラップ部
4 旋回スクロール
5 圧縮室
6 吸込口
7 吐出口
15 ボールカップリング機構
16 第1のスラスト受け
16C,18C 収容穴
16D,18D 内周面
16E,18E 底面
17,19 受承板
17A,19A ガイド溝
18 第2のスラスト受け
20 球体
21 筒状部材
21A 外周面
21B 内周面
21C,21D 端面
22 内部空間
23,31,41 潤滑剤押し戻し機構(潤滑剤押し戻し手段)
24,25,32,34,42,52,53 螺旋溝
26,27,33,35,43 渦巻溝

Claims (4)

  1. 筒状のケーシングおよび該ケーシングに固定して設けられ板体に渦巻状のラップ部が立設された固定スクロールからなる固定側部材と、該固定側部材の固定スクロールと対向して前記ケーシング内に旋回可能に設けられ板体に該固定スクロールのラップ部と重なり合って複数の圧縮室を形成する渦巻状のラップ部が立設された旋回スクロールと、該旋回スクロールと前記固定側部材との間に設けられ該旋回スクロールの自転を防止すると共に両者の間のスラスト荷重を受承する少なくとも3つのボールカップリング機構とからなるスクロール式流体機械において、
    前記ボールカップリング機構は、
    前記固定側部材側と旋回スクロール側とに対向してそれぞれ設けられた収容穴と、
    前記固定側部材側の収容穴の底面と旋回スクロール側の収容穴の底面との間に転動可能に設けられ前記旋回スクロールに付加されるスラスト荷重を受承する球体と、
    前記各収容穴間に位置して該球体を取囲むように設けられ前記各収容穴の内周面に転がり接触して前記旋回スクロールの自転を防止する筒状部材と、
    前記筒状部材と前記各収容穴との間に設けられ前記筒状部材の回転を利用し前記筒状部材の内部から流出した潤滑剤を該筒状部材の内部に向け押し戻す潤滑剤押し戻し手段とにより構成したことを特徴とするスクロール式流体機械。
  2. 前記潤滑剤押し戻し手段は、前記各収容穴の開口から底面に向けて前記筒状部材の軸方向に潤滑剤を移動させる軸方向押し戻し手段と、前記筒状部材の外径側から内径側に向けて前記筒状部材の径方向に潤滑剤を移動させる径方向押し戻し手段とによって構成してなる請求項1に記載のスクロール式流体機械。
  3. 前記軸方向押し戻し手段は、前記筒状部材の外周面または前記各収容穴の内周面に設けられ前記収容穴の底面に向けて潤滑剤を押し戻す螺旋溝によって構成してなる請求項2に記載のスクロール式流体機械。
  4. 前記径方向押し戻し手段は、前記筒状部材の端面または前記各収容穴の底面に設けられ前記収容穴の径方向中心側に向けて潤滑剤を押し戻す渦巻溝によって構成してなる請求項2または3に記載のスクロール式流体機械。
JP2008222448A 2008-08-29 2008-08-29 スクロール式流体機械 Expired - Fee Related JP5011237B2 (ja)

Priority Applications (1)

Application Number Priority Date Filing Date Title
JP2008222448A JP5011237B2 (ja) 2008-08-29 2008-08-29 スクロール式流体機械

Applications Claiming Priority (1)

Application Number Priority Date Filing Date Title
JP2008222448A JP5011237B2 (ja) 2008-08-29 2008-08-29 スクロール式流体機械

Publications (2)

Publication Number Publication Date
JP2010053843A JP2010053843A (ja) 2010-03-11
JP5011237B2 true JP5011237B2 (ja) 2012-08-29

Family

ID=42070015

Family Applications (1)

Application Number Title Priority Date Filing Date
JP2008222448A Expired - Fee Related JP5011237B2 (ja) 2008-08-29 2008-08-29 スクロール式流体機械

Country Status (1)

Country Link
JP (1) JP5011237B2 (ja)

Family Cites Families (3)

* Cited by examiner, † Cited by third party
Publication number Priority date Publication date Assignee Title
JPH0953575A (ja) * 1995-08-15 1997-02-25 Tokico Ltd スクロール式流体機械
JPH09268984A (ja) * 1996-03-29 1997-10-14 Tokico Ltd スクロール式流体機械
JP4917424B2 (ja) * 2006-12-28 2012-04-18 株式会社日立産機システム スクロール式流体機械

Also Published As

Publication number Publication date
JP2010053843A (ja) 2010-03-11

Similar Documents

Publication Publication Date Title
KR100433075B1 (ko) 스크롤형냉매유체압축기
CN101469704B (zh) 涡旋式流体机械
US6616430B2 (en) Scroll compressors
JP5011237B2 (ja) スクロール式流体機械
JP2000136782A (ja) スクロール型圧縮機
JPH0642473A (ja) スクロール式流体機械
JPH0988849A (ja) スクロール式流体機械
JP4727468B2 (ja) スクロール圧縮機
JP4706599B2 (ja) スクロール圧縮機
JP2009085102A (ja) スクロール式流体機械
JP4917424B2 (ja) スクロール式流体機械
US12473917B2 (en) Scroll assemblies and compressors including the same
JP5037995B2 (ja) スクロール式流体機械
JP2009180198A (ja) スクロール式流体機械
JP2020094557A (ja) 流体機械
JP4247899B2 (ja) スラスト軸受機構および該スラスト軸受機構を用いたスクロール式流体機械
JP2025076057A (ja) オイルフリー式スクロール圧縮機
JPH08319966A (ja) スクロール式流体機械
JPH0953575A (ja) スクロール式流体機械
JP2007247567A (ja) スクロール圧縮機
JP2000249082A (ja) スクロール式流体機械
JPH1047263A (ja) スクロール式流体機械
JPH08159060A (ja) 横置き型スクロール流体機械
WO2025075643A1 (en) Scroll assemblies and compressors including the same
JP2004124734A (ja) 全系回転式スクロール圧縮機

Legal Events

Date Code Title Description
A621 Written request for application examination

Free format text: JAPANESE INTERMEDIATE CODE: A621

Effective date: 20101227

A711 Notification of change in applicant

Free format text: JAPANESE INTERMEDIATE CODE: A712

Effective date: 20110310

RD02 Notification of acceptance of power of attorney

Free format text: JAPANESE INTERMEDIATE CODE: A7422

Effective date: 20110311

RD04 Notification of resignation of power of attorney

Free format text: JAPANESE INTERMEDIATE CODE: A7424

Effective date: 20110331

TRDD Decision of grant or rejection written
A977 Report on retrieval

Free format text: JAPANESE INTERMEDIATE CODE: A971007

Effective date: 20120427

A01 Written decision to grant a patent or to grant a registration (utility model)

Free format text: JAPANESE INTERMEDIATE CODE: A01

Effective date: 20120508

A01 Written decision to grant a patent or to grant a registration (utility model)

Free format text: JAPANESE INTERMEDIATE CODE: A01

A61 First payment of annual fees (during grant procedure)

Free format text: JAPANESE INTERMEDIATE CODE: A61

Effective date: 20120604

R150 Certificate of patent or registration of utility model

Ref document number: 5011237

Country of ref document: JP

Free format text: JAPANESE INTERMEDIATE CODE: R150

Free format text: JAPANESE INTERMEDIATE CODE: R150

FPAY Renewal fee payment (event date is renewal date of database)

Free format text: PAYMENT UNTIL: 20150608

Year of fee payment: 3

LAPS Cancellation because of no payment of annual fees