JP5000239B2 - トリフェニルアミン誘導体および電子写真感光体 - Google Patents
トリフェニルアミン誘導体および電子写真感光体 Download PDFInfo
- Publication number
- JP5000239B2 JP5000239B2 JP2006239388A JP2006239388A JP5000239B2 JP 5000239 B2 JP5000239 B2 JP 5000239B2 JP 2006239388 A JP2006239388 A JP 2006239388A JP 2006239388 A JP2006239388 A JP 2006239388A JP 5000239 B2 JP5000239 B2 JP 5000239B2
- Authority
- JP
- Japan
- Prior art keywords
- compound
- layer
- photosensitive member
- photoreceptor
- group
- Prior art date
- Legal status (The legal status is an assumption and is not a legal conclusion. Google has not performed a legal analysis and makes no representation as to the accuracy of the status listed.)
- Expired - Fee Related
Links
Images
Landscapes
- Organic Low-Molecular-Weight Compounds And Preparation Thereof (AREA)
- Photoreceptors In Electrophotography (AREA)
Description
本発明の電子写真感光体は、感度に優れる。
本発明のトリフェニルアミン誘導体は、下記式(1)で表される化合物である。以下、式(1)で表される化合物を化合物(1)と記す。他の化合物も同様に記す。
アリール基としては、フェニル基、トリル基、キシリル基、メシチル基、ナフチル基、アントリル基、フェナントリル基等が挙げられる。
複素環基としては、ピリジル基、ピロリジニル基、チエニル基、フリル基等が挙げられる。
Ar1 、Ar2 としては、下記(g1)〜(g12)で表される基が好ましい。
炭素数2以上のアルキル基としては、エチル基、n−プロピル基、イソプロピル基、n−ブチル基、t−ブチル基、ペンチル基、イソペンチル基、ネオペンチル基、ヘキシル基等が挙げられる。
R1 としては、n−ブチル基が好ましい。
アルキル基としては、メチル基、エチル基、n−プロピル基、イソプロピル基、n−ブチル基、t−ブチル基、ペンチル基、イソペンチル基、ネオペンチル基、ヘキシル基等が挙げられる。
アリール基としては、上述のアリール基が挙げられる。
アルコキシ基としては、メトキシ基、エトキシ基、n−プロポキシ基、イソプロポキシ基、n−ブトキシ基、s−ブトキシ基、t−ブトキシ基、ペンチルオキシ基、イソペンチルオキシ基、ネオペンチルオキシ基、ヘキシルオキシ基等が挙げられる。
R2 〜R6 としては、水素原子、アルキル基、アリール基が好ましく、水素原子がより好ましい。
nは、1〜5の整数であり、1または2が好ましく、1がより好ましい。
ただし、m<nである。
化合物(3)と亜リン酸トリエチルとを反応させて化合物(4)とし、未反応の亜リン酸トリエチルを減圧留去する。
反応温度は、160〜200℃が好ましく、反応時間は、2〜10時間が好ましい。該範囲とすることにより、比較的簡易な製造設備で、所望の反応を効率的に実施できる。
触媒の存在下、溶剤中にて化合物(4)と化合物(5)とを反応させて化合物(6)とし(Wittig反応)、化合物(6)を抽出、精製する。
反応温度は、−20〜30℃が好ましく、反応時間は、5〜30時間が好ましい。該範囲とすることにより、比較的簡易な製造設備で、所望の反応を効率的に実施できる。
なお、化合物(6)は、後述の(c)工程、(d)工程を経て製造してもよい。
上述の(a)工程と同様にして、化合物(7)と亜リン酸トリエチルとを反応させて化合物(8)とし、未反応の亜リン酸トリエチルを減圧留去する。
上述の(b)工程と同様にして、触媒の存在下、溶剤中にて化合物(8)と化合物(9)とを反応させて化合物(10)とし(Wittig反応)、化合物(10)を抽出、精製する。
なお、化合物(10)は、前記(a)工程、(c)工程を経て製造してもよい。
触媒等の存在下、溶剤中にて化合物(10)と化合物(11)とを反応させて化合物(12)とし(カップリング反応)、化合物(12)を抽出、精製する。
反応温度は、80〜140℃が好ましく、反応時間は、2〜10時間が好ましい。該範囲とすることにより、比較的簡易な製造設備で、所望の反応を効率的に実施できる。
溶剤としては、例えば、キシレン等が挙げられる。
触媒等の存在下、溶剤中にて化合物(12)と化合物(6)とを反応させて化合物(1)とし(カップリング反応)、化合物(1)を抽出、精製する。
反応温度は、80〜140℃が好ましく、反応時間は、2〜10時間が好ましい。該範囲とすることにより、比較的簡易な製造設備で、所望の反応を効率的に実施できる。
触媒、溶剤としては、(e)工程と同様なものが挙げられる。
なお、(e)工程、(f)工程においては、化合物(6)と化合物(10)とを入れ替えてもよい。
本発明の電子写真感光体は、導電性基体と、該導電性基体上に設けられた感光体層とを有し、該感光体層が、本発明のトリフェニルアミン誘導体(化合物(1))を含有する層である電子写真感光体である。
図1は、単層型電子写真感光体の一例を示す概略断面図である。単層型電子写真感光体10は、導電性基体12と、導電性基体12上に設けられた感光体層14とを有する。
なお、単層型電子写真感光体10は、図1のものに限定はされず、図2に示すように、導電性基体12と感光体層14との間に、単層型電子写真感光体10の特性を阻害しない範囲でバリア層16が設けられていてもよく、図3に示すように、感光体層14の表面に保護層18が設けられていてもよい。
導電性基体の形状としては、シート状、ドラム状等が挙げられる。導電性基体の形状は、画像形成装置の構造に合わせて適宜決定すればよい。
感光体層は、例えば、正孔輸送剤、電荷発生剤、結着樹脂、および必要に応じて電子輸送剤を含有する層である。
感光体層は、他の正孔輸送剤を含有してもよい。他の正孔輸送剤としては、化合物(1)を除くトリアリールアミン系化合物、2,5−ジ(4−メチルアミノフェニル)−1,3,4−オキサジアゾール等のオキサジアゾール系化合物、9−(4−ジエチルアミノスチリル)アントラセン等のスチリル系化合物、ポリビニルカルバゾール等のカルバゾール系化合物、有機ポリシラン化合物、1−フェニル−3−(p−ジメチルアミノフェニル)ピラゾリン等のピラゾリン系化合物、ヒドラゾン系化合物、インドール系化合物、オキサゾール系化合物、イソオキサゾール系化合物、チアゾール系化合物、チアジアゾール系化合物、イミダゾール系化合物、ピラゾール系化合物、トリアゾール系化合物等の含窒素環式化合物、縮合多環式化合物等が挙げられる。正孔輸送剤は、1種を単独で用いてもよく、2種以上を組み合わせて用いてもよい。
電子輸送剤としては、化合物(8−1)〜(8−3)が特に好ましい。
また、感光体層の感度を向上させるために、テルフェニル、ハロナフトキノン類、アセナフチレン等の公知の増感剤を電荷発生剤と併用してもよい。
電荷発生剤の含有量は、結着樹脂100質量部に対して0.1〜50質量部が好ましく、0.5〜30質量部がより好ましい。
電子輸送剤を含有させる場合、電子輸送剤の含有量は、結着樹脂100質量部に対して5〜100質量部が好ましく、10〜80質量部がより好ましい。
塗布液の調製は、ロールミル、ボールミル、アトライタ、ペイントシェーカー、超音波分散機等を用いて、各成分を溶剤に溶解または分散さることによって行われる。塗布方法は、公知の方法を用いればよい。
塗布液には、各成分の分散性、感光体層表面の平滑性をよくするために、界面活性剤、レベリング剤等を添加してもよい。
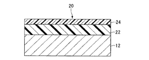
図4は、積層型電子写真感光体の一例を示す概略断面図である。積層型電子写真感光体20は、導電性基体12と、導電性基体12上に設けられた、電荷発生剤を含有する電荷発生層24と、電荷発生層24上に設けられた電荷輸送層22とを有する。積層型電子写真感光体20においては、電荷発生層24と電荷輸送層22とで感光体層が構成されている。
導電性基体としては、単層型電子写真感光体と同様のものが挙げられる。
積層型電子写真感光体は、電荷発生層および電荷輸送層の形成順序、電荷輸送層に用いる電荷輸送剤の種類によって、正負いずれの帯電型となるかが選択される。例えば、導電性基体上に電荷発生層を設け、その上に電荷輸送層を設けた積層型電子写真感光体において、電荷輸送層の電荷輸送剤として、化合物(1)等の正孔輸送剤を用いた場合、感光体は負帯電型となる。この場合、電荷発生層には電子輸送剤を含有させてもよい。
電荷発生層の電荷発生剤の含有量は、結着樹脂100質量部に対して5〜1000質量部が好ましく、30〜500質量部がより好ましい。
電荷発生層に正孔輸送剤を含有させる場合、正孔輸送剤の含有量は、結着樹脂100質量部に対して10〜500質量部が好ましく、50〜200質量部がより好ましい。
電荷輸送層に電子輸送剤を含有させる場合、電子輸送剤の含有量は、結着樹脂100質量部に対して5〜200質量部が好ましく、10〜100質量部がより好ましい。
電荷輸送層は、例えば、単層型電子写真感光体の感光体層と同様に塗布等の手段によって形成される。
(溶解性)
試料を、濃度が25質量%となるようにテトラヒドロフランに加え、溶解性を目視により確認した。溶液が透明になったものを○、試料が溶け残り、溶液が濁ったものを×と評価した。
GENTEC社製ドラム感度試験機に、単層型電子写真感光体を設置し、初期表面電位V0 が+700Vとなるように単層型電子写真感光体を帯電させた。ついで、ハロゲンランプの白色光からバンドパスフィルタを用いて取り出した波長780nm(半値幅20nm)の単色光(光強度1.5μJ/cm2 )を単層型電子写真感光体の表面に1.5秒間照射し、露光開始から0.5秒経過した時点での表面電位を測定して、これを残留電位Vr (V)とした。また、単層型電子写真感光体の露光後電位が初期表面電位の1/2にとなる露光量(半減露光量E1/2 )を求めた。半減露光量が小さいほど、単層型電子写真感光体は高感度である。
(化合物(1−1)の製造)
(a)工程:
200mLフラスコに、化合物(3−1)20g(0.10mol)および亜リン酸トリエチル25g(0.15mol)を入れ、170℃で加熱しながら8時間撹拌した。室温まで冷却した後、過剰な亜リン酸トリエチルエステルを減圧留去して、化合物(4−1)27gを得た(収率90%)。
500mLの2口フラスコに、化合物(4−1)25g(0.08mol)を入れ、アルゴンガス置換を行い、乾燥させたテトラヒドロフラン(THF)100mLおよび28%ナトリウムメトキシド15g(0.08mol)を加え、0℃で30分間攪拌した。ついで、この反応液に、化合物(5−1)9g(0.08mol)を乾燥THF300mLに溶解させて投入し、室温で12時間攪拌した。その後、反応液をイオン交換水に注ぎ、トルエンにて抽出し、有機層をイオン交換水で5回洗浄した。ついで、有機層を無水硫酸ナトリウムで乾燥させた後、溶剤を留去した。その後、残渣をトルエン20mL/メタノール100mL混合溶剤で再結晶により精製して、化合物(6−1)20gを得た(収率90%)。
200mLフラスコに、化合物(7−1)15g(0.1mol)および亜リン酸トリエチル25g(0.15mol)を入れ、170℃で加熱しながら8時間撹拌した。室温まで冷却した後、過剰な亜リン酸トリエチルエステルを減圧留去して、化合物(8−1)23gを得た(収率90%)。
500mLの2口フラスコに、化合物(8−1)20g(0.08mol)を入れ、アルゴンガス置換を行い、乾燥させたテトラヒドロフラン(THF)100mLおよび28%ナトリウムメトキシド15g(0.08mol)を加え、0℃で30分間攪拌した。ついで、この反応液に、化合物(9−1)15g(0.08mol)を乾燥THF300mLに溶解させて投入し、室温で12時間攪拌した。その後、反応液をイオン交換水に注ぎ、トルエンにて抽出し、有機層をイオン交換水で5回洗浄した。ついで、有機層を無水硫酸ナトリウムで乾燥させた後、溶剤を留去した。その後、残渣をトルエン20mL/メタノール100mL混合溶剤で再結晶により精製して、化合物(10−1)19gを得た(収率85%)。
2Lの2口フラスコに、化合物(10−1)28g(0.10mol)、(2−ビフェニル)ジシクロヘキシルホスフィン0.18g(0.0005mol)、トリス(ジベンジリデンアセトン)ジパラジウム(0)0.23g(0.00025mol)、ナトリウムt−ブトキシド11g(0.11mol)、および化合物(11−1)15g(0.10mol)を入れ、o−キシレン500mLを加え、アルゴンガス置換を行い、120℃で加熱しながら5時間攪拌した。室温まで冷却した後、有機層をイオン交換水で3回洗浄し、有機層を、無水硫酸ナトリウムおよび活性白土を用いて乾燥および吸着処理し、キシレンを減圧留去した。最後に、残渣をカラムクロマトグラフィ(展開溶媒:クロロホルム/ヘキサン)にて精製して、化合物(12−1)31gを得た(収率88%)。
300mLの2口フラスコに、化合物(6−1)15g(0.06mol)、(2−ビフェニル)ジシクロヘキシルホスフィン0.10g(0.0003mol)、トリス(ジベンジリデンアセトン)ジパラジウム(0)0.13g(0.00014mol)、ナトリウムt−ブトキシド6.7g(0.07mol)、および化合物(12−1)20g(0.06mol)を入れ、o−キシレン250mLを加え、アルゴンガス置換を行い、120℃で加熱しながら5時間攪拌した。室温まで冷却した後、有機層をイオン交換水で3回洗浄し、有機層を、無水硫酸ナトリウムおよび活性白土を用いて乾燥および吸着処理し、キシレンを減圧留去した。最後に、残渣をカラムクロマトグラフィ(展開溶媒:クロロホルム/ヘキサン)にて精製して、化合物(1−1)26gを得た(収率85%)。
化合物(1−1)について 1H−NMR(300MHz)を測定した。溶媒としては、CDCl3 、基準物質としてTMSを用いた。化合物(1−1)が得られていることを確認した。 1H−NMRのチャートを図6に示す。
電荷発生剤であるX型無金属フタロシアニン5質量部、正孔輸送剤である化合物(1−1)80質量部、および結着樹脂であるポリカーボネート樹脂100質量部を、溶剤であるテトラヒドロフラン800質量部に、ボールミルにて50時間混合分散させて、単層型感光層用の塗布液を調製した。ついで、塗布液をアルミニウム素管からなる導電性基体上にディップコート法によって塗布し、100℃で30分間熱風乾燥することにより、膜厚25μmの感光体層を形成し、単層型電子写真感光体を得た。該単層型電子写真感光体について電気特性試験を行った。結果を表2に示す。
電子輸送剤である化合物(13−1)50質量部を塗布液に追加した以外は、実施例1と同様にして単層型電子写真感光体を製造し、評価した。結果を表2に示す。
電子輸送剤として、化合物(13−1)の代わりに化合物(13−2)を用いた以外は、実施例2と同様にして単層型電子写真感光体を製造し、評価した。結果を表2に示す。
電子輸送剤として、化合物(13−1)の代わりに化合物(13−3)を用いた以外は、実施例2と同様にして単層型電子写真感光体を製造し、評価した。結果を表2に示す。
(化合物(1−2)の製造)
化合物(5−1)の代わりに、化合物(5−2)10g(0.08mol)を用いた以外は、実施例1と同様にして化合物(1−2)を製造した。
化合物(1−2)について 1H−NMR(300MHz)を測定した。溶媒としては、CDCl3 、基準物質としてTMSを用いた。化合物(1−2)が得られていることを確認した。 1H−NMRのチャートを図7に示す。
正孔輸送剤として、化合物(1−1)の代わりに化合物(1−2)を用いた以外は、実施例1と同様にして単層型電子写真感光体を製造し、評価した。結果を表2に示す。
電子輸送剤である化合物(13−1)50質量部を塗布液に追加した以外は、実施例5と同様にして単層型電子写真感光体を製造し、評価した。結果を表2に示す。
電子輸送剤として、化合物(13−1)の代わりに化合物(13−2)を用いた以外は、実施例6と同様にして単層型電子写真感光体を製造し、評価した。結果を表2に示す。
電子輸送剤として、化合物(13−1)の代わりに化合物(13−3)を用いた以外は、実施例6と同様にして単層型電子写真感光体を製造し、評価した。結果を表2に示す。
(化合物(1−3)の製造)
化合物(5−1)の代わりに、化合物(5−3)11g(0.08mol)を用いた以外は、実施例1と同様にして化合物(1−3)を製造した。
化合物(1−3)について 1H−NMR(300MHz)を測定した。溶媒としては、CDCl3 、基準物質としてTMSを用いた。化合物(1−3)が得られていることを確認した。 1H−NMRのチャートを図8に示す。
正孔輸送剤として、化合物(1−1)の代わりに化合物(1−3)を用いた以外は、実施例1と同様にして単層型電子写真感光体を製造し、評価した。結果を表2に示す。
電子輸送剤である化合物(13−1)50質量部を塗布液に追加した以外は、実施例9と同様にして単層型電子写真感光体を製造し、評価した。結果を表2に示す。
電子輸送剤として、化合物(13−1)の代わりに化合物(13−2)を用いた以外は、実施例10と同様にして単層型電子写真感光体を製造し、評価した。結果を表2に示す。
電子輸送剤として、化合物(13−1)の代わりに化合物(13−3)を用いた以外は、実施例10と同様にして単層型電子写真感光体を製造し、評価した。結果を表2に示す。
(化合物(1−4)の製造)
化合物(5−1)の代わりに、化合物(5−4)12g(0.08mol)を用いた以外は、実施例1と同様にして化合物(1−4)を製造した。
化合物(1−4)について 1H−NMR(300MHz)を測定した。溶媒としては、CDCl3 、基準物質としてTMSを用いた。化合物(1−4)が得られていることを確認した。 1H−NMRのチャートを図9に示す。
正孔輸送剤として、化合物(1−1)の代わりに化合物(1−4)を用いた以外は、実施例1と同様にして単層型電子写真感光体を製造し、評価した。結果を表2に示す。
電子輸送剤である化合物(13−1)50質量部を塗布液に追加した以外は、実施例13と同様にして単層型電子写真感光体を製造し、評価した。結果を表2に示す。
電子輸送剤として、化合物(13−1)の代わりに化合物(13−2)を用いた以外は、実施例14と同様にして単層型電子写真感光体を製造し、評価した。結果を表2に示す。
電子輸送剤として、化合物(13−1)の代わりに化合物(13−3)を用いた以外は、実施例14と同様にして単層型電子写真感光体を製造し、評価した。結果を表2に示す。
化合物(2−1)の溶解性を評価した。結果を表1に示す。
正孔輸送剤として、化合物(1−1)の代わりに化合物(2−1)を用いた以外は、実施例1〜4と同様にして単層型電子写真感光体を製造した。しかし、塗布液を導電性基体上に塗布し、乾燥させると、化合物(2−1)が結晶化したため、評価を実施できなかった。
化合物(2−2)の溶解性を評価した。結果を表1に示す。
正孔輸送剤として、化合物(1−1)の代わりに化合物(2−2)を用いた以外は、実施例1〜4と同様にして単層型電子写真感光体を製造し、評価した。結果を表2に示す。
本発明のトリフェニルアミン誘導体は、高い正孔輸送能を有することから、太陽電池、エレクトロルミネッセンス素子等にも利用可能である。
12 導電性基体
14 感光体層
20 積層型電子写真感光体(電子写真感光体)
22 電荷輸送層(感光体層)
24 電荷発生層(感光体層)
Claims (2)
Priority Applications (1)
| Application Number | Priority Date | Filing Date | Title |
|---|---|---|---|
| JP2006239388A JP5000239B2 (ja) | 2006-09-04 | 2006-09-04 | トリフェニルアミン誘導体および電子写真感光体 |
Applications Claiming Priority (1)
| Application Number | Priority Date | Filing Date | Title |
|---|---|---|---|
| JP2006239388A JP5000239B2 (ja) | 2006-09-04 | 2006-09-04 | トリフェニルアミン誘導体および電子写真感光体 |
Publications (2)
| Publication Number | Publication Date |
|---|---|
| JP2008063230A JP2008063230A (ja) | 2008-03-21 |
| JP5000239B2 true JP5000239B2 (ja) | 2012-08-15 |
Family
ID=39286242
Family Applications (1)
| Application Number | Title | Priority Date | Filing Date |
|---|---|---|---|
| JP2006239388A Expired - Fee Related JP5000239B2 (ja) | 2006-09-04 | 2006-09-04 | トリフェニルアミン誘導体および電子写真感光体 |
Country Status (1)
| Country | Link |
|---|---|
| JP (1) | JP5000239B2 (ja) |
Families Citing this family (4)
| Publication number | Priority date | Publication date | Assignee | Title |
|---|---|---|---|---|
| JP6095107B2 (ja) | 2013-01-29 | 2017-03-15 | 高砂香料工業株式会社 | トリフェニルアミン誘導体、並びにそれを用いた電荷輸送材料及び電子写真感光体 |
| KR20160107196A (ko) | 2014-01-21 | 2016-09-13 | 미쓰비시 가가꾸 가부시키가이샤 | 전자 사진 감광체, 전자 사진 카트리지, 화상 형성 장치, 및 전하 수송 물질 |
| JP6337858B2 (ja) * | 2015-08-31 | 2018-06-06 | 京セラドキュメントソリューションズ株式会社 | 積層型電子写真感光体、積層型電子写真感光体の製造方法、プロセスカートリッジ、及び画像形成装置 |
| US10795272B2 (en) | 2016-02-08 | 2020-10-06 | Takasago International Corporation | Triphenylamine derivative, and charge transport material and electrophotographic photoreceptor using the same |
Family Cites Families (4)
| Publication number | Priority date | Publication date | Assignee | Title |
|---|---|---|---|---|
| JP3999762B2 (ja) * | 2003-12-05 | 2007-10-31 | 京セラミタ株式会社 | 湿式現像用電子写真感光体および湿式現像用画像形成装置 |
| CN102087489B (zh) * | 2005-09-28 | 2012-09-26 | 三菱化学株式会社 | 电子照相感光体、使用该电子照相感光体的成像装置以及处理盒 |
| JP2007240853A (ja) * | 2006-03-08 | 2007-09-20 | Kyocera Mita Corp | ジフェニルアミン誘導体および電子写真感光体 |
| JP2007254302A (ja) * | 2006-03-20 | 2007-10-04 | Kyocera Mita Corp | アリールアミン誘導体及びその製造方法ならびに電子写真感光体 |
-
2006
- 2006-09-04 JP JP2006239388A patent/JP5000239B2/ja not_active Expired - Fee Related
Also Published As
| Publication number | Publication date |
|---|---|
| JP2008063230A (ja) | 2008-03-21 |
Similar Documents
| Publication | Publication Date | Title |
|---|---|---|
| JP5060773B2 (ja) | ジフェニルアミン誘導体、その製造方法および電子写真感光体 | |
| JP5000239B2 (ja) | トリフェニルアミン誘導体および電子写真感光体 | |
| JP4813256B2 (ja) | ジフェニルアミン誘導体および電子写真感光体 | |
| JP2007210954A (ja) | スチルベンアミン誘導体および電子写真感光体 | |
| JP5244307B2 (ja) | トリアリールアミン誘導体および電子写真感光体 | |
| JP5530636B2 (ja) | エナミン誘導体および電子写真感光体 | |
| JP2007186481A (ja) | トリアリールアミン誘導体および電子写真感光体 | |
| JP2007197407A (ja) | トリアリールアミンヒドラゾン誘導体および電子写真感光体 | |
| JP2009007274A (ja) | ジアミン誘導体および電子写真用感光体 | |
| JP2007246398A (ja) | ジフェニルアミン誘導体および電子写真感光体 | |
| JP5244659B2 (ja) | 電子写真感光体 | |
| JP2007223923A (ja) | トリフェニルアミン誘導体および電子写真感光体 | |
| JP2008063229A (ja) | トリフェニルアミン誘導体および電子写真感光体 | |
| JP2007240853A (ja) | ジフェニルアミン誘導体および電子写真感光体 | |
| JP2008056571A (ja) | トリフェニルアミン誘導体および電子写真感光体 | |
| JP2010191175A (ja) | 電子写真感光体 | |
| JP2007225750A (ja) | トリフェニルアミン誘導体および電子写真感光体 | |
| JP2007197408A (ja) | ジフェニルベンジジン誘導体および電子写真感光体 | |
| JP2007254386A (ja) | トリアリールアミン誘導体及びその製造方法ならびに電子写真感光体 | |
| JP2007223988A (ja) | ジアミン誘導体および電子写真感光体 | |
| JP2009007276A (ja) | トリアミン誘導体および電子写真用感光体 | |
| JP2008110946A (ja) | トリフェニルアミン誘導体および電子写真感光体 | |
| JP2010037250A (ja) | ジアミン誘導体および電子写真用感光体 | |
| JP2007223986A (ja) | ジアミン誘導体および電子写真感光体 | |
| JP4767712B2 (ja) | トリアリールアミン誘導体及びその製造方法ならびに電子写真感光体 |
Legal Events
| Date | Code | Title | Description |
|---|---|---|---|
| A621 | Written request for application examination |
Free format text: JAPANESE INTERMEDIATE CODE: A621 Effective date: 20090825 |
|
| A131 | Notification of reasons for refusal |
Free format text: JAPANESE INTERMEDIATE CODE: A131 Effective date: 20120221 |
|
| A521 | Written amendment |
Free format text: JAPANESE INTERMEDIATE CODE: A523 Effective date: 20120403 |
|
| TRDD | Decision of grant or rejection written | ||
| A01 | Written decision to grant a patent or to grant a registration (utility model) |
Free format text: JAPANESE INTERMEDIATE CODE: A01 Effective date: 20120508 |
|
| A01 | Written decision to grant a patent or to grant a registration (utility model) |
Free format text: JAPANESE INTERMEDIATE CODE: A01 |
|
| A61 | First payment of annual fees (during grant procedure) |
Free format text: JAPANESE INTERMEDIATE CODE: A61 Effective date: 20120516 |
|
| R150 | Certificate of patent or registration of utility model |
Ref document number: 5000239 Country of ref document: JP Free format text: JAPANESE INTERMEDIATE CODE: R150 Free format text: JAPANESE INTERMEDIATE CODE: R150 |
|
| FPAY | Renewal fee payment (event date is renewal date of database) |
Free format text: PAYMENT UNTIL: 20150525 Year of fee payment: 3 |
|
| LAPS | Cancellation because of no payment of annual fees |
