JP4978552B2 - リング状軌道輪素材の製造方法 - Google Patents

リング状軌道輪素材の製造方法 Download PDF

Info

Publication number
JP4978552B2
JP4978552B2 JP2008124246A JP2008124246A JP4978552B2 JP 4978552 B2 JP4978552 B2 JP 4978552B2 JP 2008124246 A JP2008124246 A JP 2008124246A JP 2008124246 A JP2008124246 A JP 2008124246A JP 4978552 B2 JP4978552 B2 JP 4978552B2
Authority
JP
Japan
Prior art keywords
diameter
ring
outer diameter
small
intermediate material
Prior art date
Legal status (The legal status is an assumption and is not a legal conclusion. Google has not performed a legal analysis and makes no representation as to the accuracy of the status listed.)
Active
Application number
JP2008124246A
Other languages
English (en)
Other versions
JP2009269082A (ja
Inventor
一登 小林
寛 小山
信行 萩原
浩平 森
Current Assignee (The listed assignees may be inaccurate. Google has not performed a legal analysis and makes no representation or warranty as to the accuracy of the list.)
NSK Ltd
Original Assignee
NSK Ltd
Priority date (The priority date is an assumption and is not a legal conclusion. Google has not performed a legal analysis and makes no representation as to the accuracy of the date listed.)
Filing date
Publication date
Application filed by NSK Ltd filed Critical NSK Ltd
Priority to JP2008124246A priority Critical patent/JP4978552B2/ja
Publication of JP2009269082A publication Critical patent/JP2009269082A/ja
Application granted granted Critical
Publication of JP4978552B2 publication Critical patent/JP4978552B2/ja
Active legal-status Critical Current
Anticipated expiration legal-status Critical

Links

Images

Landscapes

  • Rolling Contact Bearings (AREA)
  • Forging (AREA)

Description

この発明に係るリング状軌道輪素材の製造方法は、例えばラジアル玉軸受を構成する内輪及び外輪を造る為の素材となる、リング状軌道輪素材を低コストで造る為に利用する。尚、この様なリング状軌道輪素材により造られる内輪及び外輪を組み込んだラジアル玉軸受は、例えば、電気掃除機、換気扇等、各種家庭用電気製品に組み込む電動モータ、或いは各種自動車用補機等の回転支持部の様に、あまり高度の回転精度を要求されない部分に使用する。但し、加工装置の精度向上により、より高度の回転精度を要求される用途に使用できる内輪及び外輪を造る為に利用する事も可能である。
各種回転機器の回転支持部に、図7に示す様なラジアル玉軸受1が組み込まれている。このラジアル玉軸受1は、単列深溝型であって、互いに同心に配置された外輪2と内輪3との間に複数個の玉4、4を設置して成る。このうちの外輪2の内周面の軸方向中間部に深溝型の外輪軌道5を、内輪3の外周面の軸方向中間部に深溝型の内輪軌道6を、それぞれ全周に亙って形成している。前記各玉4、4は、保持器7により保持された状態で、前記外輪軌道5と前記内輪軌道6との間に転動自在に配置している。そして、この構成により、前記外輪2と前記内輪3との相対回転を自在としている。
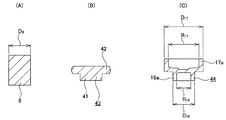
上述の様なラジアル玉軸受1を構成する、前記外輪2や前記内輪3等の軌道輪を低コストで造る方法として、特許文献1に記載された方法が知られている。図8は、この特許文献1に記載された、ラジアル玉軸受を構成する外輪や内輪を造る為のリング状軌道輪素材(高精度リング)の製造方法を示している。この従来から知られている製造方法の場合には、先ず、特許請求の範囲に記載した円柱状の素材である、図8の(A)に示したビレット8を軸方向に押し潰して、(B)に示したビヤ樽型の予備中間素材9を得る。次いで、この予備中間素材9に、更に軸方向に押し潰す据え込み加工を施す事により、(C)に示した、段付円板状の第二予備中間素材10を得る。次に、この第二予備中間素材10の径方向中央部を更に押し潰す、第二の据え込み加工を施す事により、(D)に示す様な、この径方向中央部を円筒状とした、第三予備中間素材11とする。次いで、この第三予備中間素材11の中央部を打ち抜いて、(E)に示した第一中間素材12を得る。
更に、この第一中間素材12を径方向中間部で切断し、(F)に示した、第一リング状軌道輪素材13と第二中間素材14とを得る。このうちの第一リング状軌道輪素材13に、CRF等のロール成形や旋削等の切削加工、焼き入れ等の熱処理を施して、ラジアル玉軸受用の内輪とする。一方、前記第二中間素材14は、断面形状を90度変更する、反転加工を施して、第二リング状軌道輪素材とする。そして、この第二リング状軌道輪素材に、ロール成形や切削加工、熱処理を施して、ラジアル玉軸受用の外輪とする。
上述の様な従来のリング状軌道輪素材の製造方法は、工程数が多く、コスト低減を図る面からは改良の余地がある。単一の円柱状の素材を塑性加工して、直径が互いに異なる1対のリング状軌道輪素材を得る事を、より少ない工程で行う事を考慮した場合、図9に示す様な工程で行う事が考えられる。この方法では、先ず、(A)に示したビレット8に、軸方向に押し潰す据え込み加工を施して、(B)に示した、円盤状の中間素材15を得る。次いで、更にこの中間素材15を熱間で塑性変形させて、(C)に示した、段付円筒状の第二中間素材16とする。そして、この第二中間素材16の底部を打ち抜くと共に、大径部と小径部とを分離して、それぞれが円筒状で直径が互いに異なる、第一、第二のリング状軌道輪素材を得る。更に、これら両リング状軌道輪素材に、それぞれ、ロール成形や切削加工、熱処理を施して、ラジアル玉軸受用の内輪及び外輪とする。
この様な図9に示した加工は、図9の(B)→(C)を見れば明らかな通り、加工に伴う金属材料の変形量が多い為、熱間加工によらざるを得ない。但し、熱間加工により造られたリング状軌道輪素材は、金型の熱膨張等に起因して、形状精度及び寸法精度が悪い。又、熱間加工に伴って表面に脱炭層が生じる事が避けられない。外輪や内輪等の軌道輪部材は、外輪軌道や内輪軌道の転がり疲れ寿命を確保する為等、表面硬度を十分に高くする必要がある。そして、表面硬度を高くする為には、前記脱炭層の存在が妨げとなる。従って、熱間加工により前記両リング状軌道輪素材を造った場合には、脱炭層の除去が必要になる。これら脱炭層の除去と寸法精度並びに形状精度の確保の為、熱間加工により前記リング状軌道輪素材を造った場合には、削り代が多くなって、切削コストが嵩むだけでなく、材料の歩留まりが悪化する。この結果、転がり軸受用軌道輪の製造コストを低く抑えられない。
この様な、削り代の増大によるコスト上昇は、ビレットから1対のリング状軌道輪素材の加工を、冷間加工により行う事で解消できる。冷間加工の場合には、金型が熱膨張する事なく、加工品の形状精度及び寸法精度を確保できる事に加えて、加工に伴ってこの加工品の表面に脱炭層が生じる事もない。この為、削り代の削減乃至は切削加工そのものの廃止が可能となり、大幅なコストダウンが可能になる。但し、冷間加工は熱間加工に比べて加工力が高く、加工に伴って金属材料に割れ等の損傷が発生し易い事から、図9の様な工程で行う事は、余程小型のリング状軌道輪素材を造る場合でない限り、極めて難しい。
冷間加工により図9の(C)に示す様な第二中間素材16を得る為には、図10の(C)(D)に示す様に、外輪用のリング状軌道輪素材とする為の大径側円筒部17を形成する後方押出工程と、内輪用のリング状軌道輪素材とする為の小径側円筒部18を形成する後方押出工程とを前後して行う事が考えられる。但し、この場合には、工程数の増加に伴うコスト上昇が避けられないだけでなく、高精度のリング状軌道輪素材を得る事が難しい。この理由は、図11に示す様に、小径側円筒部18を形成する為に後から行う後方押出工程の際に、この小径側円筒部18の外周部を拘束できない為である。この結果、図11(B)、及び図12に示す様に得られた第二中間素材16aの小径側円筒部18が、反り返る様に変形して、内輪用のリング状軌道輪素材の品質が不良になる。
特開2006−341255号公報
本発明は、上述の様な事情に鑑みて、例えばラジアル玉軸受を構成する内輪及び外輪を造る為の素材となるリング状軌道輪素材を、冷間加工で、精度良く、且つ、低コストで造れる製造方法を実現すべく発明したものである。
本発明のリング状軌道輪素材の製造方法は何れも、それぞれが円筒状で直径が互いに異なる、第一、第二のリング状軌道輪素材を造る。
そして、請求項1に記載した発明の場合には、少なくとも次の(a) 〜(c) に示した工程を有する。
(a) 金属製で、直径が小さな第一のリング状軌道輪素材の外径以下の外径を有し、第一、第二のリング状軌道輪素材の容積の合計よりも大きな容積を有する円柱状の素材を軸方向に圧縮する据え込み加工により、この素材の軸方向片半部の直径を拡げて円板状部とすると共に、この素材の軸方向他半部の外径寄り部分を軸方向に押し出す、前方押出加工を施す事により、前記第一のリング状軌道輪素材の内外径に見合う内外径を有する小径側円筒部として、前記円板状部と前記小径側円筒部とを備えた第一中間素材とする第一工程。
(b) この第一中間素材の軸方向他半部を、前記小径側円筒部の内外径及び軸方向寸法が変化しない様に拘束した状態で、前記円板状部に、外径を拘束しつつ径方向中央部を軸方向に押し潰す後方押出加工を施す事により、軸方向片半部を、前記第二のリング状軌道輪素材の内外径に見合う内外径を有する大径側円筒部として、この大径側円筒部と前記小径側円筒部とを備えた第二中間素材とする第二工程。
(c) 前記大径側円筒部と前記小径側円筒部とを分離して、前記第一、第二のリング状軌道輪素材とする第三工程。
この様な請求項1に記載した発明を実施する場合に好ましくは、請求項2に記載した発明の様に、前記素材の軸方向片端面に、この素材の外径よりも大きな外径を有するパンチを突き当てる。又、この素材の軸方向他端面径方向中央部に、この素材の外径よりも小さな外径を有するカウンターパンチを突き当てる。更に、この素材が第一中間素材に加工される過程でこの素材の周囲を、前記パンチの押圧方向に変位するフローティングダイにより囲んだ状態で、このパンチを前記カウンターパンチに向けて押圧する。そして、第一工程の据え込み加工と前方押出し加工とを同時に行う。
一方、請求項3に記載した発明の場合には、少なくとも次の(d) 〜(f) に示した工程を有する。
(d) 金属製で、直径が小さな第一のリング状軌道輪素材の外径以下の外径を有し、第一、第二のリング状軌道輪素材の容積の合計よりも大きな容積を有する円柱状の素材を、軸方向片面側から軸方向に圧縮する据え込み加工を、この素材の軸方向他端寄り部分を外径が拡がらない様に拘束した状態で行う事により、小径部と大径部とを備えた第一中間素材とする第一工程。
(e) 前記第一中間素材の軸方向片半部を前記大径部の外径が拡がらない様に、同じく軸方向他半部を前記小径部の外径が拡がらない様に、それぞれ拘束した状態で、前記大径部の径方向中央部とこの小径部の径方向中央部とをそれぞれ押し潰しつつそれぞれの径方向外寄り部分を軸方向に押し出す、前後方押出加工を施す事により、軸方向片半部を前記第二のリング状軌道輪素材の内外径に見合う内外径を有する大径側円筒部とすると同時に、軸方向他半部を前記第一のリング状軌道輪部材の内外径に見合う内外径を有する小径側円筒部として、この小径側円筒部と前記大径側円筒部とを備えた第二中間素材とする第二工程。
(f) この大径側円筒部と前記小径側円筒部とを分離して、前記第一、第二のリング状軌道輪素材とする第三工程。
この様な請求項3に記載した発明を実施する場合に好ましくは、請求項4に記載した発明の様に、前記第一中間素材の軸方向片端面の径方向中央部に、この第一中間素材の大径部の外径よりも小さな外径を有するパンチを突き当てる。又、この第一中間素材の軸方向他端面の径方向中央部に、この第一中間素材の小径部の外径よりも小さな外径を有するカウンターパンチを突き当てる。更に、この第一中間素材が第二中間素材に加工される過程でこの第一中間素材の周囲を、この第一中間素材の加工方向に変位するフローティングダイにより囲んだ状態で、前記パンチを前記カウンターパンチに向けて押圧する。そして、前記第一中間素材に前後方押出加工を施す。
それぞれ上述の様に構成する本発明によれば、例えばラジアル玉軸受を構成する内輪及び外輪を造る為の素材となるリング状軌道輪素材を、冷間加工で、精度良く、且つ、低コストで造れる。
即ち、本発明のリング状軌道輪素材の製造方法の場合には、例えば内輪を造る為の第一のリング状軌道輪素材となるべき小径側円筒部と、例えば外輪を造る為の第二のリング状軌道輪素材となるべき大径側円筒部とを、素材から2工程で造る事が可能になる。しかも、各工程での加工量を少なく抑える事ができて、冷間での塑性加工が可能になり、塑性加工により加工された部材の形状精度及び寸法精度を確保できる。又、加工された部材の表面に脱炭層が生じる事も防止できる。これらにより、後加工で除去する材料を少なく抑えられて、後加工に要する手間の低減と材料の歩留向上とによる低コスト化を図れる。
[実施の形態の第1例]
図1〜3は、請求項1、2に対応する、本発明の実施の形態の第1例を示している。本例の場合には、図1の(A)に示した、素材である円柱状のビレット8を、(B)に示した第一中間素材19とし、次いでこの第一中間素材19を、(C)に示した第二中間素材20とする。更に、この第二中間素材20を分離して、それぞれが円筒状で直径が互いに異なる、第一、第二のリング状軌道輪素材とする。以下、これらの加工に就いて、順番に説明する。
先ず、圧延加工等により造った長尺な円柱状の原材料を所定長さに切断して、図1の(A)に示した円柱状のビレット8を得る。このビレット8の外径D8 は、直径が小さな第一のリング状軌道輪素材の外径(後述する小径側円筒部18aの外径D18と同じ)以下で、好ましくは、この第一のリング状軌道輪素材の外径よりも僅かに小さい(D8 ≦D18)。又、前記ビレット8の容積は、このビレット8から造るべき前記第一、第二のリング状軌道輪素材の容積の合計よりも大きい。
この様なビレット8には、図2に示す様な鍛造装置21により冷間鍛造を施して、前記第一中間素材19とする。この鍛造装置21は、パンチ22と、カウンターパンチ23と、フローティングダイ24とを備える。このうちのパンチ22の外径D22は、前記ビレット8の外径D8 よりも大きく、直径が大きな第二のリング状軌道輪素材の外径(後述する大径側円筒部17aの外径D17と同じ)と同じか僅かに小さい(D8 <D22≦D17)。又、前記パンチ22の先端面(下端面)は、中央部が中心軸に直交する方向の平坦面で、外径寄り部分が、外周縁に向かう程上方に向かう方向に傾斜した、部分円すい凸面状の傾斜面としている。又、前記カウンターパンチ23の外径D23は、前記ビレット8の外径D8 よりも小さく、前記第一のリング状軌道輪素材の内径(後述する小径側円筒部18aの内径R18と同じ)と同じである(D8 >D23=R18)。
更に、前記フローティングダイ24は、段付円筒状の内周面を有し、前記カウンターパンチ23の周囲に配置すると共に、下方に向いた大きな力が加わった場合に下降する様に、弾性的に支持している。即ち、前記フローティングダイ24の内周面は、下半部の小径部25と上半部の大径部26とを傾斜部27により連続させた段付き円筒面である。このうちの小径部25の内径R25は、前記ビレット8の外径D8 と同じか僅かに小さい(R25≦D8 )。又、前記大径部26の内径R26は、後述する大径側円筒部17aの外径D17と同じか僅かに小さい(R26≦D17)。更に、前記傾斜部27は、下方程内径が小さくなる方向に傾斜した、部分円すい状凹面としている。内周面をこの様な形状とした前記フローティングダイ24の下方には、このフローティングダイ24の下降量を制限する為のストッパ28を設けている。更に、これらフローティングダイ24の下端面とストッパ28の上面との間に、圧縮コイルばね、皿板ばね等の弾性部材29を設けて、前記フローティングダイ24に、上方に向く弾力を付与している。この弾力は、前記パンチ22の加圧力よりも小さいが、前記ビレット8の一部を塑性変形させられる程度に大きくしている。
上述の様な鍛造装置21により前記ビレット8に、冷間鍛造による据え込み加工を施して、前記第一中間素材19とする作業は、次の様にして行う。先ず、プレス加工機のラムに固定した前記パンチ22を上昇させ、前記弾性部材29の弾力により前記フローティングダイ24を上昇させた状態で、前記カウンターパンチ23上に前記ビレット8を載置する。この状態でこのビレット8の下端部が、このカウンターパンチ23の上端面と前記フローティングダイ24の内周面の小径部25に支持された状態となる。そこで、前記プレス加工機のラムにより前記パンチ22を下降させて、図2の(A)に示す様に、このパンチ22の先端面中央部を前記ビレット8の上端面に突き当てる。
前記パンチ22は、図2の(A)に示した状態から更に下降させて、このパンチ22の先端面(下端面)と前記カウンターパンチ23の先端面(上端面)との間で、前記ビレット8を軸方向に押し潰す。すると、図2の(A)→(B)→(C)に示す様に、このビレット8の上半部が前記パンチ22の先端面と前記フローティングダイ24の内周面の傾斜部27との間で押し潰されて円板状に変形すると同時に、前記ビレット8の下半部が、前記カウンターパンチ23の先端部外周面と前記フローティングダイ24の内周面の小径部25との間に入り込む。即ち、前記ビレット8の軸方向片半部(図1〜2の上半部)の直径を、据え込み加工により拡げると共に、軸方向他半部(図1〜2の下半部)を、前方押出加工により円筒状に加工する。この結果、図2の(C)に示す様な第一中間素材19を得られる。この第一中間素材19は、軸方向片半部が、外径側程軸方向の厚さ寸法が小さくなる円板状部30であり、軸方向他半部が小径側円筒部18aとなる。この小径側円筒部18aの外径D18は、前記径が小さい第一のリング状軌道輪素材の外径と等しく、同じく内径R18は、この第一のリング状軌道輪素材の内径と等しい。図2の(C)に示した状態では、前記フローティングダイ24の下端面が前記ストッパ28の上面に突き当たって、このフローティングダイ24の下降が停止する。この結果、前記パンチ22を、それ以上下降しない状態に迄(金属材料が加工用のキャビティ内に充満する迄)下降させる事で、前記第一中間素材19を高精度に加工できる。
冷間鍛造による据え込み加工及び前方押出加工により、上述の様な第一中間素材19を得たならば、次いで、この第一中間素材19に、冷間で後方押出加工を施す事により、図1の(C)に示した第二中間素材20を得る。この後方押出加工は、図3に示す様に、ダイス31とパンチ32とマンドレル33とから成る第二の鍛造装置34により行う。このうちのダイス31の中心孔35は、上半部の大径部36と下半部の小径部37とを、軸に対し直角方向に存在する段差面38により連続させて成る。このうちの大径部36の内径R36は、前記後方押出加工により形成すべき大径側円筒部17aの外径D17と等しく(R36=D17)、前記小径部37の内径R37は、前記小径側円筒部18aの外径D18と等しい(R37=D18)。又、前記パンチ32の外径D32は、例えば、このパンチ32により形成すべき、前記大径側円筒部17aの内径R17と等しい(D32=R17)。但し、これら外径D32と内径R17との大小関係は、後加工との関係で、多少変更する場合もある。更に、前記マンドレル33は、前記ダイス31に対し昇降可能に設置されており、このダイス31の底部を貫通した状態で、前記小径部37の内径側に、この小径部37と同心に配置されている。前記マンドレル33の外径D33は、前記小径側円筒部18aの内径R18と等しい(D33=R18)。
上述の様な第二の鍛造装置34により前記第一中間素材19に、冷間鍛造による後方押出加工を施して、この第一中間素材19を前記第二中間素材20とする作業は、次の様にして行う。先ず、図3の(A)に示す様に、前記第一中間素材19の小径側円筒部18aを、前記中心孔35の小径部37の内周面と前記マンドレル33の外周面との間に挿入する。この状態でこのマンドレル33の先端面(上端面)を、前記第一中間素材19の下面中央部で前記小径側円筒部18aに囲まれた部分に突き当てる。次いで、図3の(A)→(B)に示す様に、前記パンチ32を固定したプレス加工機のラムを下降させ、このパンチ32により、前記第一中間素材19の円板状部30の上面中央部を強く押圧する。この結果、この円板状部30が、前記中心孔35の大径部36及び段差面38と前記パンチ32の先端部外面とに強く挟まれて塑性変形し、前記大径側円筒部17aとなる。この結果、前記第一中間素材19が、この大径側円筒部17aと前記小径側円筒部18aとを備えた、前記第二中間素材20となる。
この様な第二中間素材20は、前記マンドレル33を上昇させる事により前記ダイス31から取り出した後、前記大径側円筒部17aと前記小径側円筒部18aとを分離すると共に、この小径側円筒部18aの底部を除去する。そして、直径が互いに異なる、前記第一、第二のリング状軌道輪素材とする。具体的には、図1の(C)に斜格子を付した円板状部分(底部)39及び円環状部分40を除去して、内径がR17、外径がD17、軸方向長さがL17である前記大径側円筒部17aと、内径がR18、外径がD18、軸方向長さがL18である前記小径側円筒部18aとに分離する。この様に、前記第二中間素材20をこれら大径側、小径側両円筒部17a、18aに分離する方法は特に問わない。例えば、レーザカッタによる切断等により行う事もできる。但し、プレスによる打ち抜き加工が、加工時間が短くて済み、加工コストを抑えられる面からは好ましい。又、上記円環状部分40を軸方向に扱いて、前記大径側円筒部17aの軸方向反対側に、この円環状部分40よりも薄肉の内向鍔部を形成してから、この内向鍔部を打ち抜く事もできる。何れにしても、前記大径側、小径側両円筒部17a、18aには、ロール成形(CRF)、切削加工、研削加工、熱処理等の後処理を施して、前記大径側円筒部17aをラジアル転がり軸受用の外輪に、前記小径側円筒部18aを同じく内輪に、それぞれ加工する。
何れも冷間での塑性加工により形成される、前記大径側、小径側両円筒部17a、18aの形状精度及び寸法精度は良好であるから、削り代の削減や切削工程そのものの廃止が可能となり、製造コストを大幅に低減できる。
[実施の形態の第2例]
図4〜6は、請求項3、4に対応する、本発明の実施の形態の第2例を示している。本例の場合には、図4の(A)に示したビレット8に据え込み加工を施して、(B)に示した様な、小径部41と大径部42とを備えた第一中間素材43とした後、この第一中間素材43に前後方押出加工を施して、(C)に示した第二中間素材44とする。前記ビレット8の寸法等に就いては、上述した実施の形態の第1例の場合と同様である。又、このビレット8を前記第一中間素材43とする為の据え込み加工の実施状況に就いては、特に問わない。従来から一般的に使用されている据え込み加工方法を採用できる。
本例の場合には、図5に示す様に、前記ビレット8の下端部をダイス45の中心孔35aの小径部37aに内嵌した状態で、パンチ32aにより前記ビレット8を押し潰す。そして、このビレット8を、小径部41と大径部42とを備えた、前記第一中間素材43とする。この第一中間素材43の小径部41の外径は、前記中心孔35aの小径部37aの内径に等しく、同じく大径部42の外径は、この中心孔35aの大径部36aの内径に等しい。この様な小径部41と大径部42とを備えた、前記第一中間素材43は、例えばマンドレル33aを上昇させて前記ダイス45から取り出し、次の前後方押出加工工程に送る。
この前後方押出加工工程では、図6に示した鍛造装置21aにより前記第一中間素材43に、冷間鍛造である前後方押出加工を施して、前記第二中間素材44とする。この鍛造装置21aは、パンチ22aと、カウンターパンチ23aと、フローティングダイ24aとを備える。このうちのパンチ22aの外径D22a は、前記ビレット8の外径D8 {図4の(A)参照}よりも大きく、直径が大きな第二のリング状軌道輪素材の内径(後述する大径側円筒部17aの内径R17と同じ)と同じである(D8 <D22a =R17)。又、前記パンチ22aの先端面(下端面)は、中央部及び径方向中間部分が中心軸に直交する方向の平坦面で、これらの間部分及び外径側端部が、径方向外側に向かう程上方に向かう方向に傾斜した、部分円すい凸面状の傾斜面としている。又、前記カウンターパンチ23aの外径D23は、第一中間素材43の小径部41の外径D41(前記ビレット8の外径D8 とほぼ同じ)よりも小さく、前記第一のリング状軌道輪素材の内径(後述する小径側円筒部18aの内径R18と同じ)と同じである(D41≒D8 >D23=R18)。
更に、前記フローティングダイ24aは、段付円筒状の内周面を有し、前記カウンターパンチ23aの周囲に配置すると共に、下方に向いた大きな力が加わった場合に下降する様に、弾性的に支持している。即ち、前記フローティングダイ24aの内周面は、下半部の小径部25aと上半部の大径部26aとを、軸方向に対し直角方向に存在する段差面48により連続させた段付き円筒面である。このうちの前記大径部26aの内径R26a は、前記直径が大きな第二のリング状軌道輪素材の外径(後述する大径側円筒部17aの外径D17と同じ)と同じである(R26a =D17)。又、小径部25aの内径R25a は、前記ビレット8の外径D8 よりも大きく、直径が小さな第一のリング状軌道輪素材の外径(後述する小径側円筒部18aの外径D18と同じ)と同じである(D8 <R25a =D18)。内周面をこの様な形状とした前記フローティングダイ24aの下方には、このフローティングダイ24aの下降量を制限する為のストッパ28aを設けている。更に、これらフローティングダイ24aの下端面とストッパ28aの上面との間に、圧縮コイルばね、皿板ばね等の弾性部材29aを設けて、前記フローティングダイ24aに、上方に向く弾力を付与している。この弾力は、前記パンチ22aの加圧力よりも小さいが、前記第一中間素材43の一部を塑性変形させられる程度に大きくしている。
上述の様な鍛造装置21aにより前記第一中間素材43に、冷間鍛造による前後方押出加工を施して、前記第二中間素材44とする作業は、次の様にして行う。先ず、プレス加工機のラムに固定した前記パンチ22aを上昇させ、前記弾性部材29aの弾力により前記フローティングダイ24aを上昇させた状態で、このフローティングダイ24aの内周面の段差面48上に、前記第一中間素材43の大径部42を載置する。又、前記カウンターパンチ23aの上端面を、この第一中間素材43の小径部41の下面中央部に突き当てる。そして、前記プレス加工機のラムにより前記パンチ22aを下降させて、図6の(A)に示す様に、このパンチ22aの先端面中央部を、前記第一中間素材43の大径部42の上面中央部に突き当てる。
前記パンチ22aは、図6の(A)に示した状態から更に下降させて、このパンチ22aの先端面(下端面)と前記カウンターパンチ23aの先端面(上端面)との間で、前記第一中間素材43の中央部を軸方向に押し潰す。そして、この押し潰しにより径方向外側に押し出された金属材料を、前記パンチ22aの外周面と前記中心孔35aの大径部26aの内周面との間の大径側円筒状空間49、及び、前記カウンターパンチ23aの外周面と前記中心孔35aの小径部25aの内周面との間の小径側円筒状空間50内に、図6の(A)→(B)→(C)に示す様に、順次送り込む。この場合に、前記大径側円筒状空間49内に送り込む金属材料は、前記第一中間素材43の大径部42の中央部を押し潰す事によって供給し、前記大径側円筒状空間49内に大径側円筒部17aを形成する。又、前記小径側円筒状空間50内に送り込む金属材料は、前記第一中間素材43の小径部41の中央部を押し潰す事によって供給し、前記小径側円筒状空間50内に小径側円筒部18aを形成する。この結果、図6の(C)に示す様な、軸方向片半部を大径の外輪を造る為の第二のリング状軌道輪素材に見合う前記大径側円筒部17aとし、軸方向他半部を小径の内輪を造る為の第一のリング状軌道輪部材に見合う前記小径側円筒部18aとした、前記第二中間素材44を得られる。図6の(C)に示した状態では、前記フローティングダイ24aの下端面が前記ストッパ28aの上面に突き当たって、このフローティングダイ24aの下降が停止する。この結果、前記パンチ22aを、それ以上下降しない状態に迄(金属材料が加工用のキャビティ内に充満する迄)下降させる事で、前記第二中間素材44を高精度に加工できる。
この第二中間素材44は、前述した実施の形態の第1例の場合に得られる、図1の(C)及び図3の(B)に示した第二中間素材20とほぼ同様のものである。そこで、前述した実施の形態の第1例の場合と同様に、前記第二中間素材44を、前記大径側円筒部17aと前記小径側円筒部18aとに分離して、前記第一、第二のリング状軌道輪素材とする。
この様な本例の場合も、前述した実施の形態の第1例と同様に、製造コストを大幅に低減できる。
前述の実施の形態の第1例ではビレット8を第一中間素材19に加工する過程で、上述した実施の形態の第2例では第一中間素材43を第二中間素材44に加工する過程で、それぞれフローティングダイ24、24aを使用した。これに対して、形成すべき大径側円筒部17、17aや小径側円筒部18、18aの径方向厚さや軸方向長さのバランスとの関係で、前方押出加工(第1例の場合)や前後方押出加工を容易に行えるのであれば、これらの加工をフローティングダイを使用せずに行う事もできる。逆に言えば、前記フローティングダイを使用する事で、上記バランスに関係なく、高精度の加工を安定して行える。
本発明の実施の形態の第1例を示す、ビレットを第一中間素材を介して第二中間素材に加工する工程を順番に示す断面図。 ビレットを第一中間素材に加工する工程を順番に示す断面図。 第一中間素材を第二中間素材に加工する工程を順番に示す断面図。 本発明の実施の形態の第2例を示す、図1と同様の図。 ビレットを第一中間素材に加工する工程を順番に示す断面図。 第一中間素材を第二中間素材に加工する工程を順番に示す断面図。 本発明の製造方法の対象であるリング状軌道輪素材から造られる外輪及び内輪を備えた玉軸受の1例を示す部分切断斜視図。 従来の製造方法の1例を工程順に示す断面図。 先に考えた製造方法の第1例を工程順に示す断面図。 同第2例を工程順に示す断面図。 この第2例で第二中間素材の形状が不良になる理由を説明する為の、後方押出加工を工程順に示す断面図。 形状が不良になった第二中間素材を示す断面図。
符号の説明
1 ラジアル玉軸受
2 外輪
3 内輪
4 玉
5 外輪軌道
6 内輪軌道
7 保持器
8 ビレット
9 予備中間素材
10 第二予備中間素材
11 第三予備中間素材
12 第一中間素材
13 第一リング状軌道輪部材
14 第二中間素材
15 中間素材
16、16a 第二中間素材
17、17a 大径側円筒部
18、18a 小径側円筒部
19 第一中間素材
20 第二中間素材
21、21a 鍛造装置
22、22a パンチ
23、23a カウンターパンチ
24、24a フローティングダイ
25、25a 小径部
26、26a 大径部
27 傾斜部
28、28a ストッパ
29、29a 弾性部材
30 円板状部
31 ダイス
32、32a パンチ
33、33a マンドレル
34 第二の鍛造装置
35、35a 中心孔
36、36a 大径部
37、37a 小径部
38 段差面
39 円板状部分
40 円環状部分
41 小径部
42 大径部
43 第一中間素材
44 第二中間素材
45 ダイス
48 段差面
49 大径側円筒状空間
50 小径側円筒状空間

Claims (4)

  1. 少なくとも次の(a) 〜(c) に示した工程を有し、それぞれが円筒状で直径が互いに異なる、第一、第二のリング状軌道輪素材を造る、リング状軌道輪素材の製造方法。
    (a) 金属製で、直径が小さな第一のリング状軌道輪素材の外径以下の外径を有し、第一、第二のリング状軌道輪素材の容積の合計よりも大きな容積を有する円柱状の素材を軸方向に圧縮する据え込み加工により、この素材の軸方向片半部の直径を拡げて円板状部とすると共に、この素材の軸方向他半部の外径寄り部分を軸方向に押し出す、前方押出加工を施す事により、前記第一のリング状軌道輪素材の内外径に見合う内外径を有する小径側円筒部として、前記円板状部と前記小径側円筒部とを備えた第一中間素材とする第一工程。
    (b) この第一中間素材の軸方向他半部を、前記小径側円筒部の内外径及び軸方向寸法が変化しない様に拘束した状態で、前記円板状部に、外径を拘束しつつ径方向中央部を軸方向に押し潰す後方押出加工を施す事により、軸方向片半部を、前記第二のリング状軌道輪素材の内外径に見合う内外径を有する大径側円筒部として、この大径側円筒部と前記小径側円筒部とを備えた第二中間素材とする第二工程。
    (c) 前記大径側円筒部と前記小径側円筒部とを分離して、前記第一、第二のリング状軌道輪素材とする第三工程。
  2. 素材の軸方向片端面に、この素材の外径よりも大きな外径を有するパンチを突き当てると共に、この素材の軸方向他端面径方向中央部に、この素材の外径よりも小さな外径を有するカウンターパンチを突き当て、この素材が第一中間素材に加工される過程でこの素材の周囲を、前記パンチの押圧方向に変位するフローティングダイにより囲んだ状態で、このパンチを前記カウンターパンチに向けて押圧する事により、第一工程の据え込み加工と前方押出し加工とを同時に行う、請求項1に記載したリング状軌道輪素材の製造方法。
  3. 少なくとも次の(d) 〜(f) に示した工程を有し、それぞれが円筒状で直径が互いに異なる、第一、第二のリング状軌道輪素材を造る、リング状軌道輪素材の製造方法。
    (d) 金属製で、直径が小さな第一のリング状軌道輪素材の外径以下の外径を有し、第一、第二のリング状軌道輪素材の容積の合計よりも大きな容積を有する円柱状の素材を、軸方向片面側から軸方向に圧縮する据え込み加工を、この素材の軸方向他端寄り部分を外径が拡がらない様に拘束した状態で行う事により、小径部と大径部とを備えた第一中間素材とする第一工程。
    (e) 前記第一中間素材の軸方向片半部を前記大径部の外径が拡がらない様に、同じく軸方向他半部を前記小径部の外径が拡がらない様に、それぞれ拘束した状態で、前記大径部の径方向中央部とこの小径部の径方向中央部とをそれぞれ押し潰しつつそれぞれの径方向外寄り部分を軸方向に押し出す、前後方押出加工を施す事により、軸方向片半部を前記第二のリング状軌道輪素材の内外径に見合う内外径を有する大径側円筒部とすると同時に、軸方向他半部を前記第一のリング状軌道輪部材の内外径に見合う内外径を有する小径側円筒部として、この小径側円筒部と前記大径側円筒部とを備えた第二中間素材とする第二工程。
    (f) この大径側円筒部と前記小径側円筒部とを分離して、前記第一、第二のリング状軌道輪素材とする第三工程。
  4. 第一中間素材の軸方向片端面の径方向中央部に、この第一中間素材の大径部の外径よりも小さな外径を有するパンチを突き当てると共に、この第一中間素材の軸方向他端面の径方向中央部に、この第一中間素材の小径部の外径よりも小さな外径を有するカウンターパンチを突き当て、この第一中間素材が第二中間素材に加工される過程でこの第一中間素材の周囲を、この第一中間素材の加工方向に変位するフローティングダイにより囲んだ状態で、前記パンチを前記カウンターパンチに向けて押圧して、前記第一中間素材に前後方押出加工を施す、請求項3に記載したリング状軌道輪素材の製造方法。
JP2008124246A 2008-05-12 2008-05-12 リング状軌道輪素材の製造方法 Active JP4978552B2 (ja)

Priority Applications (1)

Application Number Priority Date Filing Date Title
JP2008124246A JP4978552B2 (ja) 2008-05-12 2008-05-12 リング状軌道輪素材の製造方法

Applications Claiming Priority (1)

Application Number Priority Date Filing Date Title
JP2008124246A JP4978552B2 (ja) 2008-05-12 2008-05-12 リング状軌道輪素材の製造方法

Publications (2)

Publication Number Publication Date
JP2009269082A JP2009269082A (ja) 2009-11-19
JP4978552B2 true JP4978552B2 (ja) 2012-07-18

Family

ID=41436091

Family Applications (1)

Application Number Title Priority Date Filing Date
JP2008124246A Active JP4978552B2 (ja) 2008-05-12 2008-05-12 リング状軌道輪素材の製造方法

Country Status (1)

Country Link
JP (1) JP4978552B2 (ja)

Cited By (1)

* Cited by examiner, † Cited by third party
Publication number Priority date Publication date Assignee Title
US12209614B2 (en) 2020-07-07 2025-01-28 Nsk Ltd. Bearing element manufacturing method, bearing manufacturing method, machine manufacturing method, vehicle manufacturing method, bearing element, bearing, machine, and vehicle

Families Citing this family (2)

* Cited by examiner, † Cited by third party
Publication number Priority date Publication date Assignee Title
JP6252179B2 (ja) * 2014-01-09 2017-12-27 日本精工株式会社 軸受外輪の製造方法
CN104785563B (zh) * 2015-03-30 2017-03-29 北京机电研究所 带底长筒形件精密挤压成形的方法

Family Cites Families (6)

* Cited by examiner, † Cited by third party
Publication number Priority date Publication date Assignee Title
JPS5016751B1 (ja) * 1970-02-26 1975-06-16
JP3586896B2 (ja) * 1994-08-09 2004-11-10 株式会社デンソー フランジ付中空部品の製造方法
JP2920132B1 (ja) * 1998-01-12 1999-07-19 日本高周波鋼業株式会社 段付環状部材及び内外輪両部材の製造方法
JP3443528B2 (ja) * 1998-08-28 2003-09-02 日本高周波鋼業株式会社 段付及び鍔付環状部材の製造方法
JP2006266286A (ja) * 2005-03-22 2006-10-05 Honda Motor Co Ltd 等速ジョイント用外輪部材の製造方法及びその中間成形体
US8197949B2 (en) * 2006-10-03 2012-06-12 Seiko Instruments Inc. Blank for a ring member of a bearing, manufacturing method for the same, manufacturing method for a ring member of a bearing, and bearing

Cited By (1)

* Cited by examiner, † Cited by third party
Publication number Priority date Publication date Assignee Title
US12209614B2 (en) 2020-07-07 2025-01-28 Nsk Ltd. Bearing element manufacturing method, bearing manufacturing method, machine manufacturing method, vehicle manufacturing method, bearing element, bearing, machine, and vehicle

Also Published As

Publication number Publication date
JP2009269082A (ja) 2009-11-19

Similar Documents

Publication Publication Date Title
EP2602501B1 (en) Manufacturing method for bearing outer ring
US9056375B2 (en) Manufacturing method for bearing outer ring
JP6689151B2 (ja) 円筒状リング部材の製造方法、ラジアル転がり軸受の製造方法、及び一方向クラッチの製造方法
JP2010529383A (ja) 機械加工を伴わない転がり軸受の製造方法
JP4629385B2 (ja) 針状ころ軸受
JP5966726B2 (ja) 軌道輪部材の製造方法
JP4978552B2 (ja) リング状軌道輪素材の製造方法
JP5083032B2 (ja) 円筒状リング部材の製造方法
JP2014024091A5 (ja)
JP5737371B2 (ja) 車輪支持用転がり軸受ユニットの外輪の製造方法
JP5034684B2 (ja) 転がり軸受用軌道輪の製造方法
JP5556297B2 (ja) 車輪支持用転がり軸受ユニットの軌道輪部材の製造方法
US10272485B2 (en) Method for manufacturing ring-shaped member
JP5446920B2 (ja) 外向フランジ部付金属製部材の製造方法
JP2006123003A (ja) 高精度リングの製造方法及び製造装置
US20130205593A1 (en) Manufacturing method for bearing outer ring
JP5919746B2 (ja) 軸受軌道輪の製造方法
JP5834592B2 (ja) 外向フランジ部付金属製部材の製造方法
JP2009008126A (ja) 転がり軸受用軌道輪の製造方法
JP2006341255A (ja) 高精度リングの製造方法
JP2009058047A (ja) 転がり軸受用軌道輪の製造方法
JP2013006218A (ja) 軸受外輪の製造方法
JP2007170586A (ja) 転がり軸受用軌道輪の製造方法
JP6252179B2 (ja) 軸受外輪の製造方法
JP5056189B2 (ja) 転がり軸受用軌道輪の製造方法

Legal Events

Date Code Title Description
A621 Written request for application examination

Free format text: JAPANESE INTERMEDIATE CODE: A621

Effective date: 20110131

A977 Report on retrieval

Free format text: JAPANESE INTERMEDIATE CODE: A971007

Effective date: 20120309

TRDD Decision of grant or rejection written
A01 Written decision to grant a patent or to grant a registration (utility model)

Free format text: JAPANESE INTERMEDIATE CODE: A01

Effective date: 20120321

A01 Written decision to grant a patent or to grant a registration (utility model)

Free format text: JAPANESE INTERMEDIATE CODE: A01

A61 First payment of annual fees (during grant procedure)

Free format text: JAPANESE INTERMEDIATE CODE: A61

Effective date: 20120403

FPAY Renewal fee payment (event date is renewal date of database)

Free format text: PAYMENT UNTIL: 20150427

Year of fee payment: 3

R150 Certificate of patent or registration of utility model

Ref document number: 4978552

Country of ref document: JP

Free format text: JAPANESE INTERMEDIATE CODE: R150

Free format text: JAPANESE INTERMEDIATE CODE: R150