JP4960036B2 - 自動販売機 - Google Patents

自動販売機 Download PDF

Info

Publication number
JP4960036B2
JP4960036B2 JP2006210078A JP2006210078A JP4960036B2 JP 4960036 B2 JP4960036 B2 JP 4960036B2 JP 2006210078 A JP2006210078 A JP 2006210078A JP 2006210078 A JP2006210078 A JP 2006210078A JP 4960036 B2 JP4960036 B2 JP 4960036B2
Authority
JP
Japan
Prior art keywords
pulley
take
vending machine
door
rotational force
Prior art date
Legal status (The legal status is an assumption and is not a legal conclusion. Google has not performed a legal analysis and makes no representation as to the accuracy of the status listed.)
Expired - Fee Related
Application number
JP2006210078A
Other languages
English (en)
Other versions
JP2008040548A (ja
Inventor
武人 池田
博 近藤
雅之 見供
基孝 田近
Current Assignee (The listed assignees may be inaccurate. Google has not performed a legal analysis and makes no representation or warranty as to the accuracy of the list.)
Sanden Corp
Original Assignee
Sanden Corp
Priority date (The priority date is an assumption and is not a legal conclusion. Google has not performed a legal analysis and makes no representation as to the accuracy of the date listed.)
Filing date
Publication date
Application filed by Sanden Corp filed Critical Sanden Corp
Priority to JP2006210078A priority Critical patent/JP4960036B2/ja
Publication of JP2008040548A publication Critical patent/JP2008040548A/ja
Application granted granted Critical
Publication of JP4960036B2 publication Critical patent/JP4960036B2/ja
Expired - Fee Related legal-status Critical Current
Anticipated expiration legal-status Critical

Links

Images

Landscapes

  • Control Of Vending Devices And Auxiliary Devices For Vending Devices (AREA)

Description

本発明は、容器入り飲料等を販売する自動販売機に関する。
この種の自動販売機は、商品を取り出すための取出口と、該取出口を開閉するための回転自在な取出扉とを備えている。金銭投入操作及び商品選択操作に基づいて要求された商品は内部から取出口の内側に搬出され、客は取出扉を開けて該商品を取出口から取り出す。
特開2005−228117 実開平5−2283
前記自動販売機は屋内または屋外に設置され使用に供されるが、とりわけ屋外に設置された自動販売機の取出口の内側は該取出口を通じて侵入した塵埃や砂埃や雨水等によって汚れ易いため、取出口の内側に搬出された商品に該汚れが付着する恐れが高い。汚れてしまった商品を客に提供することは客に対して不快感を与えるばかりでなく、当該自動販売機の売り上げ低下を招来してしまう。
本発明は前記事情に鑑みて創作されたもので、その目的とするところは、取出口の内側に搬出された商品に汚れが付着することを防止できる自動販売機を提供することにある。
前記目的を達成するため、本発明は、商品を取り出すための取出口と、該取出口を開閉するための回転自在な取出扉とを備えた自動販売機において、1対のプーリに巻き付けて配置され、内部から取出口の内側に搬出された商品をその上側部分によって受け止め得る無端ベルトと、少なくとも取出扉が閉塞位置から開放されるときの回転力を一方のプーリに伝達して該プーリの回転によって無端ベルトを回転させる回転力伝達手段と、無端ベルトの表面に接触するように配置され該無端ベルトが回転する際にその表面を清掃するベルト清掃手段とを備える、ことをその特徴とする。
この自動販売機によれば、取出扉が閉塞位置から開放されるときの回転力を利用して無端ベルトを回転させて該回転によって無端ベルトの表面を清掃することができる。つまり、内部から取出口の内側に搬出された商品を受け止める無端ベルトの上側部分の表面が取出口の内側に侵入した塵埃や砂埃や雨水等によって汚れた場合でも、客が閉塞位置にある取出扉を開ける度に前記の無端ベルトの表面清掃を実施することにより、内部から取出口の内側に搬出された商品を受け止める無端ベルトの上側部分の表面を常に綺麗な状態に維持でき、取出口の内側に搬出された商品に汚れが付着することを確実に防止できる。
また、本発明は、商品を取り出すための取出口と、該取出口を開閉するための回転自在な取出扉とを備えた自動販売機において、一端側を繰出プーリに巻き付けられ他端側を巻取プーリに止着され、繰出プーリと巻取プーリとの間に存するシート部分によって内部から取出口の内側に搬出された商品を受け止め得る有端シートと、取出扉が閉塞位置から開放されるときの回転力を巻取プーリに伝達して該巻取プーリの回転によって有端シートの繰り出し及び巻き取りを行わせる回転力伝達手段とを備える、ことをその特徴とする。
この自動販売機によれば、取出扉が閉塞位置から開放されるときの回転力を利用して巻取プーリによる有端シートの繰り出しと巻き取りを行わせることができる。つまり、内部から取出口の内側に搬出された商品を受け止める有端シートの一部分の表面が取出口の内側に侵入した塵埃や砂埃や雨水等によって汚れた場合でも、客が閉塞位置にある取出扉を開ける度に前記の有端シートの繰り出し及び巻き取りを実施して繰出プーリと巻取プーリとの間に新しいシート部分を移行させることにより、内部から取出口の内側に搬出された商品を受け止めるシート部分の表面を常に綺麗な状態に維持でき、取出口の内側に搬出された商品に汚れが付着することを確実に防止できる。
本発明によれば、取出口の内側に搬出された商品に汚れが付着することを防止できる自動販売機を提供することができる。
本発明の前記目的とそれ以外の目的と、構成特徴と、作用効果は、以下の説明と添付図面によって明らかとなる。
[第1実施形態]
図1〜図3は本発明の第1実施形態を示すもので、図1は自動販売機の正面図、図2は図1に示した自動販売機の要部拡大縦断面図、図3は取出扉の開放に伴う動作説明図である。
本第1実施形態の自動販売機は、前面を開口した箱形のキャビネット(図2の符号24参照)と、キャビネット24の前面開口を開閉する回転自在なメインドア1とを有する。
メインドア1の前面上部には透明板2によって覆われた窓穴1aが設けられ、複数の商品サンプル3を展示するためのサンプル展示室R1が該透明板2の後側に設けられている。透明板3の前面には複数の商品選択ボタン4が商品サンプル3それぞれに対応して設けられている。商品サンプル3は販売商品の種類に対応しており、該商品サンプル3はサンプル展示室R1内に設けられたサンプル載置台5に着脱自在に取り付けられている。
メインドア1のサンプル展示室R1の下側には透明板6によって覆われた別の窓穴1bが設けられ、ポスター等の広告媒体7を掲示するための広告室R2が該透明板6の後側に設けられている。また、メインドア1のサンプル展示室R1の下側にはメインドア用ロック(図示省略)を操作するためのレバー8と、硬貨投入口9と、硬貨返却レバー10と、液晶パネル等から成る表示部11と、紙幣投入口12と、釣銭返却口13が設けられている。さらに、メインドア1の下部には商品を取り出すための横長矩形状の取出口1cと、該取出口1cを開閉するための回転自在な取出扉14が設けられている。
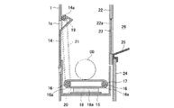
図2に示すように、取出扉14は上端の少なくとも左右両側に軸部14aを有していて、両軸部14aを取出口1cの内側の左右壁に回転自在に軸支されている。また、取出口1cの内側には内部から取出口1cの内側に搬出された商品COを受容する空間の底壁を構成する板材15が設けられている。
板材15の底面上には前後に間隔をおいて1対のプーリ16が設けられている。両プーリ16は少なくとも左右両側に軸部16aを有していて、両軸部16aを取出口1cの内側の左右壁に回転自在に軸支されている。両プーリ16には合成ゴム等から成る無端ベルト17が巻き付けられている。この無端ベルト17は内部から取出口1cの内側に搬出された商品COをその上側部分で受け止めることができる。
また、板材15の底面には洗浄液が染み込んだ含液部材18aを支持する支持板18が設けられ、含液部材18aは無端ベルト17の下側部分の表面に接触している。含液部材18aはスポンジ等の多孔質材や織布や不織布等から成り、洗浄液は除菌能力を備える中性洗剤等から成る。
さらに、取出扉14の一方の軸部14aにはプーリ19が設けられ、前側プーリ16の一方の軸部16aにはプーリ20が設けられ、両プーリ19,20には合成ゴム等から成る無端ベルト21が巻き付けられている。
図2中の符号22はサブドア、22aはサブドア22に設けられた搬出口、23は搬出口22aに回転自在に設けられた開閉扉、24はキャビネット、25はキャビネット24内に設けられた商品搬出用のシュート板、26はキャビネット24内に設けられた商品収納空間である。
図示を省略したが、商品収納空間26には商品COを種類別に収納する複数のラックと、各ラックに収納されている商品COを1個ずつ搬出するベント機構が設けられている。金銭投入操作及び商品選択操作に基づいて所定のラックから搬出された商品COは、シュート板25を転がり落ちてサブドア22の開閉扉23を開放し、搬出口22aからさらに落下して無端ベルト17の上側部分に受け止められる。
客が閉塞位置にある取出扉14を開けると、図3に示すように、このときの取出扉14の時計回り方向の回転力がプーリ19,無端ベルト21及びプーリ20を通じて前側プーリ16に伝達され、該前側プーリ16が時計回り方向に回転して無端ベルト17が同一方向に回転する。この無端ベルト17の回転によって該無端ベルト17の上側部分が下側に回り込み、回り込んだ部分の表面が含液部材18a及びこれに染み込んでいる洗浄液によって洗浄される。
商品COが取り出された後に開放位置にある取出扉14が自重によって閉まると、このときの取出扉14の反時計回り方向の回転力がプーリ19,無端ベルト21及びプーリ20を通じて前側プーリ16に伝達され、該前側プーリ16が反時計回り方向に回転して無端ベルト17が同一方向に回転する。この回転によって、無端ベルト17の下側部分が上側に回り込み、回り込もうとする部分の表面が含液部材18a及びこれに染み込んでいる洗浄液によって洗浄される。
前述の自動販売機によれば、取出扉14が閉塞位置から開放されるときの回転力を利用して無端ベルト17を回転させ該回転によって無端ベルト17の表面を洗浄することができる。つまり、内部から取出口1cの内側に搬出された商品COを受け止める無端ベルト17の上側部分の表面が取出口1cの内側に侵入した塵埃や砂埃や雨水等によって汚れた場合でも、客が閉塞位置にある取出扉14を開ける度に前記の無端ベルト17の表面洗浄を実施することにより、内部から取出口1cの内側に搬出された商品COを受け止める無端ベルト17の上側部分の表面を常に綺麗な状態に維持でき、取出口1cの内側に搬出された商品COに汚れが付着することを確実に防止できる。また、商品COが取り出された後に開放位置にある取出扉14が自重によって閉まるときにも前記同様の洗浄を行えるので、無端ベルト17の上側部分の表面洗浄を効果的に行える。
繰り返しの表面洗浄によって含液部材18aが汚れてしまった場合には該含液部材18aを支持部材18と一緒に交換すればよく、板材15の底面等を開閉自在に構成しておけば該含液部材18aの交換も簡単に行える。
尚、前述の自動販売機では、取出扉14が閉塞位置から開放されるときの回転力を利用して無端ベルト17を回転させるようにしたが、取出扉14を開放時の回転角度では無端ベルト17に十分な回転量が得られない場合には、前側プーリ16の一方の軸部16aとこれに設けられたプーリ20との間に伝達回転量を増幅するための歯車機構(図示省略)を介装して取出扉14の回転角度に基づく無端ベルト17の回転量を調整してもよい。
また、前述の自動販売機では、開放位置にある取出扉14が自重によって閉まるときにも無端ベルト17を逆方向に回転させるようにしたが、前側プーリ16の一方の軸部16aとこれに設けられたプーリ20との間にワンウェイクラッチ(図示省略)を介装して取出扉14が開放位置から閉塞されるときの回転力を前側プーリ16に伝達しないようにしても、換言すれば、取出扉14が閉塞位置から開放されるときの回転力のみを前側プーリ16に伝達するようにしてもよい。
さらに、前述の自動販売機では、無端ベルト17の上面を清掃する手段として洗浄液が染み込んだ含液部材18aを示したが、図4に示すように、無端ベルト17の表面の汚れを掻き取って除去し得る掻き取り部材18b、例えば先鋭な接触縁を有するブレード等を支持部材18に設けてもよい。この場合には、掻き取り部材18によって除去された汚れが板材15の底面上に貯まるので、該底面に汚れ落とし用の孔を形成して除去した汚れを該孔を通じて下方に落下させるようにすれば、除去された汚れが板材15の底面上に貯まることを回避できる。
さらに、前述の自動販売機では、無端ベルト17の上面を清掃する手段として洗浄液が染み込んだ含液部材18aを示したが、図5に示すように、無端ベルト17の表面の汚れを払って除去し得るブラシ18cを支持部材18に設けてもよい。この場合には、ブラシ18cによって除去された汚れが板材15の底面上に貯まるので、該底面に汚れ落とし用の孔を形成して除去した汚れを該孔を通じて下方に落下させるようにすれば、除去された汚れが板材15の底面上に貯まることを回避できる。
[第2実施形態]
図6及び図7は本発明の第2実施形態を示すもので、図6は自動販売機の要部拡大縦断面図、図7は取出扉の開放に伴う動作説明図である。
本第2実施形態の自動販売機が、前述の第1実施形態の自動販売機と異なるところは、無端ベルト17及び含液部材18aを排除した点と、前側プーリ16の代わりに有端シート28が巻き付けられた繰出プーリ27を設けて少なくともその左右両側に設けられた軸部27aを取出口1cの内側の左右壁に回転自在に軸支した点と、後側プーリ16の代わりに繰出プーリ27からの有端シート28の繰り出し及び巻き取りを行う巻取プーリ27を設けて少なくともその左右両側に設けられた軸部27aを取出口1cの内側の左右壁に回転自在に軸支した点と、巻取プーリ27の一方の軸部27aにワンウェイクラッチ29(図示省略)を介してプーリ20を設けて該プーリ20とプーリ19に合成ゴム等から成る無端ベルト17を巻き付けた点にある。
有端シート28はプラスチック等から成る帯状で長尺のシートであり、一端側が繰出プーリ27に巻き付けられ他端側が巻取プーリ27に止着されており、初期の段階でその殆どが繰出プーリ27に巻き付けられている。繰出プーリ27と巻取プーリ27との間に存する有端シート28の一部分は内部から取出口1cの内側に搬出された商品COを受け止める役目を果たす。ワンウェイクラッチ29は取出扉14が開放位置から閉塞されるときの回転力を巻取プーリ27に伝達しない役目、即ち、取出扉14が閉塞位置から開放されるときの回転力のみが巻取プーリ27に伝達する役目を果たす。他の構成は前述の第1実施形態の自動販売機と同じであるため同一符号を用いてその説明を省略する。
客は閉塞位置にある取出扉14を開けると、図7に示すように、このときの取出扉14の時計回り方向の回転力がプーリ19,無端ベルト21,プーリ20及びワンウェイクラッチ29を通じて巻取プーリ27に伝達され、該巻取プーリ27が時計回り方向に回転する。この巻取プーリ27の回転によって繰出プーリ27からの有端シート28の繰り出し及び巻き取りが行われる。
商品COが取り出された後に開放位置にある取出扉14が自重によって閉まると、このときの取出扉14の反時計回り方向の回転力がプーリ19,無端ベルト21及びプーリ20に伝達されるが、ワンウェイクラッチ29はこの方向の回転力を巻取プーリ27に伝達しないため、有端シート28は静止状態を維持する。
前述の自動販売機によれば、取出扉14が閉塞位置から開放されるときの回転力を利用して巻取プーリ27による有端シート28の繰り出しと巻き取りを行うことができる。つまり、内部から取出口1cの内側に搬出された商品COを受け止める有端シートの一部分の表面が取出口1cの内側に侵入した塵埃や砂埃や雨水等によって汚れた場合でも、客が閉塞位置にある取出扉14を開ける度に前記の有端シート28の繰り出し及び巻き取りを実施して繰出プーリ27と巻取プーリ27との間に新しいシート部分を移行させることにより、内部から取出口1cの内側に搬出された商品COを受け止めるシート部分の表面を常に綺麗な状態に維持でき、取出口1cの内側に搬出された商品COに汚れが付着することを確実に防止できる。
繰り返しのシート移行によって繰出プーリ27のシート巻付量が減ってしまった場合には両プーリ27を新しいものに交換すればよく、板材15の側面等を開閉自在に構成しておけば該両プーリ27の交換も簡単に行える。
尚、前述の自動販売機では、取出扉14が閉塞位置から開放されるときの回転力を利用して有端シート28を移行させるようにしたが、取出扉14を開放時の回転角度では有端シート28に十分な移行量(巻取量)が得られない場合には、巻取プーリ27の一方の軸部27aとこれにワンウェイクラッチ29を介して設けられたプーリ20との間に伝達回転量を増幅するための歯車機構(図示省略)を介装して取出扉14の回転角度に基づく有端シート28の巻取量を調整してもよい。
本発明の第1実施形態を示す、図1は自動販売機の正面図である。 図1に示した自動販売機の要部拡大縦断面図である。 取出扉の開放に伴う動作説明図である。 第1実施形態の部分変形例を示す図である。 第1実施形態の他の部分変形例を示す図である。 本発明の第2実施形態を示す、自動販売機の要部拡大縦断面図である。 取出扉の開放に伴う動作説明図である。
1c…取出口、14…取出扉、14a…軸部、16…プーリ、17…無端ベルト、18a…含液部材、18b…掻き取り部材、18c…ブラシ、19,20…プーリ、21…無端ベルト、27…繰出プーリ,巻取プーリ、28…有端シート、29…ワンウェイクラッチ、CO…商品。

Claims (9)

  1. 商品を取り出すための取出口と、該取出口を開閉するための回転自在な取出扉とを備えた自動販売機において、
    1対のプーリに巻き付けて配置され、内部から取出口の内側に搬出された商品をその上側部分によって受け止め得る無端ベルトと、
    少なくとも取出扉が閉塞位置から開放されるときの回転力を一方のプーリに伝達して該プーリの回転によって無端ベルトを回転させる回転力伝達手段と、
    無端ベルトの表面に接触するように配置され該無端ベルトが回転する際にその表面を清掃するベルト清掃手段とを備える、
    ことを特徴とする自動販売機。
  2. 回転力伝達手段は、取出扉の回転角度に基づく無端ベルトの回転量を調整する歯車機構を含む、
    ことを特徴とする請求項1に記載の自動販売機。
  3. 回転力伝達手段は、取出扉が開放位置から閉塞されるときの回転力を一方のプーリに伝達しないためのワンウェイクラッチを含む、
    ことを特徴とする請求項1または2に記載の自動販売機。
  4. ベルト清掃手段は、洗浄液が染み込んだ含液部材から成る、
    ことを特徴とする請求項1〜3の何れか1項に記載の自動販売機。
  5. ベルト清掃手段は、掻き取り部材から成る、
    ことを特徴とする請求項1〜3の何れか1項に記載の自動販売機。
  6. ベルト清掃手段は、ブラシから成る、
    ことを特徴とする請求項1〜3の何れか1項に記載の自動販売機。
  7. 商品を取り出すための取出口と、該取出口を開閉するための回転自在な取出扉とを備えた自動販売機において、
    一端側を繰出プーリに巻き付けられ他端側を巻取プーリに止着され、繰出プーリと巻取プーリとの間に存するシート部分によって内部から取出口の内側に搬出された商品を受け止め得る有端シートと、
    取出扉が閉塞位置から開放されるときの回転力を巻取プーリに伝達して該巻取プーリの回転によって有端シートの繰り出し及び巻き取りを行わせる回転力伝達手段とを備える、
    ことを特徴とする自動販売機。
  8. 回転力伝達手段は、取出扉が開放位置から閉塞されるときの回転力を巻取プーリに伝達しないためのワンウェイクラッチを含む、
    ことを特徴とする請求項7に記載の自動販売機。
  9. 回転力伝達手段は、取出扉が閉塞位置から開放されるときの回転角度に基づく有端シートの巻取量を調整する歯車機構を含む、
    ことを特徴とする請求項7または8に記載の自動販売機。
JP2006210078A 2006-08-01 2006-08-01 自動販売機 Expired - Fee Related JP4960036B2 (ja)

Priority Applications (1)

Application Number Priority Date Filing Date Title
JP2006210078A JP4960036B2 (ja) 2006-08-01 2006-08-01 自動販売機

Applications Claiming Priority (1)

Application Number Priority Date Filing Date Title
JP2006210078A JP4960036B2 (ja) 2006-08-01 2006-08-01 自動販売機

Publications (2)

Publication Number Publication Date
JP2008040548A JP2008040548A (ja) 2008-02-21
JP4960036B2 true JP4960036B2 (ja) 2012-06-27

Family

ID=39175517

Family Applications (1)

Application Number Title Priority Date Filing Date
JP2006210078A Expired - Fee Related JP4960036B2 (ja) 2006-08-01 2006-08-01 自動販売機

Country Status (1)

Country Link
JP (1) JP4960036B2 (ja)

Family Cites Families (7)

* Cited by examiner, † Cited by third party
Publication number Priority date Publication date Assignee Title
JPH06301319A (ja) * 1993-04-16 1994-10-28 Hitachi Koki Co Ltd クリーニング装置ならびにこれを用いた静電記録装置
JPH0810207A (ja) * 1994-06-29 1996-01-16 Lion Corp 掃除具
JPH10208125A (ja) * 1997-01-17 1998-08-07 Fuji Electric Co Ltd 自動販売機
JP3591263B2 (ja) * 1997-12-24 2004-11-17 富士電機リテイルシステムズ株式会社 自動販売機の販売口
JP2000167220A (ja) * 1998-12-09 2000-06-20 Sanyo Electric Co Ltd パチンコ玉研磨装置
JP2004137034A (ja) * 2002-10-17 2004-05-13 Konica Minolta Holdings Inc 搬送ベルトクリーニング装置、及び画像形成装置
JP2004174073A (ja) * 2002-11-28 2004-06-24 Heiwa Corp パチンコ遊技場のパチンコ島におけるパチンコ玉搬送樋

Also Published As

Publication number Publication date
JP2008040548A (ja) 2008-02-21

Similar Documents

Publication Publication Date Title
US5860714A (en) Vandal-proof vending machine
FR2589606A1 (fr) Appareil bancaire libre-service
JP4960036B2 (ja) 自動販売機
KR102541531B1 (ko) 물품 판매기의 반출 기구
US20100025415A1 (en) Bag dispensing machine for upward dispensing
JP4379324B2 (ja) 自動販売機
JP3437788B2 (ja) メダル供給装置
US8052011B2 (en) Apparatus and method for dispensing bags
JP2000322643A (ja) 自動販売機
JP4100137B2 (ja) 自動販売機
JPH03154193A (ja) 自動販売機の商品取出口装置
JP4032998B2 (ja) 自動販売機の商品払出し装置
KR200282496Y1 (ko) 무인 운동화 수거장치
KR100460643B1 (ko) 자동판매기
JP4035660B2 (ja) 商品収納装置
JP3800645B2 (ja) 自動販売機の紙葉類挿入装置及び取出装置
JP3587700B2 (ja) 缶切断装置
CN218729184U (zh) 一种自动售卖设备的出料机构
JPH10312491A (ja) 商品自動販売機
JP4904876B2 (ja) 開閉装置
JP2009265698A (ja) 自動販売機の商品取出口装置
JP2001357449A (ja) 自動販売機
JP2005332131A (ja) 自動販売機
JP3048994U (ja) 自動販売機
KR20030083064A (ko) 무인 운동화 수거장치

Legal Events

Date Code Title Description
A621 Written request for application examination

Free format text: JAPANESE INTERMEDIATE CODE: A621

Effective date: 20090224

A977 Report on retrieval

Free format text: JAPANESE INTERMEDIATE CODE: A971007

Effective date: 20111121

A131 Notification of reasons for refusal

Free format text: JAPANESE INTERMEDIATE CODE: A131

Effective date: 20111213

A521 Written amendment

Free format text: JAPANESE INTERMEDIATE CODE: A523

Effective date: 20120201

TRDD Decision of grant or rejection written
A01 Written decision to grant a patent or to grant a registration (utility model)

Free format text: JAPANESE INTERMEDIATE CODE: A01

Effective date: 20120224

A01 Written decision to grant a patent or to grant a registration (utility model)

Free format text: JAPANESE INTERMEDIATE CODE: A01

A61 First payment of annual fees (during grant procedure)

Free format text: JAPANESE INTERMEDIATE CODE: A61

Effective date: 20120322

FPAY Renewal fee payment (event date is renewal date of database)

Free format text: PAYMENT UNTIL: 20150330

Year of fee payment: 3

R150 Certificate of patent or registration of utility model

Free format text: JAPANESE INTERMEDIATE CODE: R150

LAPS Cancellation because of no payment of annual fees