JP4909024B2 - 釣り用衣服 - Google Patents

釣り用衣服 Download PDF

Info

Publication number
JP4909024B2
JP4909024B2 JP2006315553A JP2006315553A JP4909024B2 JP 4909024 B2 JP4909024 B2 JP 4909024B2 JP 2006315553 A JP2006315553 A JP 2006315553A JP 2006315553 A JP2006315553 A JP 2006315553A JP 4909024 B2 JP4909024 B2 JP 4909024B2
Authority
JP
Japan
Prior art keywords
water
sleeve
wearer
portions
fishing
Prior art date
Legal status (The legal status is an assumption and is not a legal conclusion. Google has not performed a legal analysis and makes no representation as to the accuracy of the status listed.)
Expired - Fee Related
Application number
JP2006315553A
Other languages
English (en)
Other versions
JP2007191848A (ja
Inventor
真紀 清水
万里子 白石
Current Assignee (The listed assignees may be inaccurate. Google has not performed a legal analysis and makes no representation or warranty as to the accuracy of the list.)
Shimano Inc
Original Assignee
Shimano Inc
Priority date (The priority date is an assumption and is not a legal conclusion. Google has not performed a legal analysis and makes no representation as to the accuracy of the date listed.)
Filing date
Publication date
Application filed by Shimano Inc filed Critical Shimano Inc
Priority to JP2006315553A priority Critical patent/JP4909024B2/ja
Publication of JP2007191848A publication Critical patent/JP2007191848A/ja
Application granted granted Critical
Publication of JP4909024B2 publication Critical patent/JP4909024B2/ja
Expired - Fee Related legal-status Critical Current
Anticipated expiration legal-status Critical

Links

Images

Landscapes

  • Professional, Industrial, Or Sporting Protective Garments (AREA)
  • Details Of Garments (AREA)

Description

本発明は、釣をする際に着用される衣服に関し、詳しくは、撥水性を有する釣り用衣服に関する。
従来、釣り用衣服、特に、釣をする際に着用者の肌に直接或いは肌着を介して着用するシャツとしては、例えば、ジップアップシャツが知られている。このジップアップシャツは、例えば夏場に鮎釣等をする場合に、日差しや照り返し、虫刺されなどから着用者を保護するために長袖となっているのが一般的である。また、このようなシャツを構成する素材としては、綿やポリエステルなどの吸水素材や防汚処理した撥水素材などがある。ここで、一般に撥水素材とは、素材表面で水滴を弾くが水圧がかかると水滴が素材に浸入するような素材をいい、ある程度の水圧以下であれば水滴が浸入しない防水素材とは異なる素材である。
ところで、釣においては、例えば、水中に釣針が引っ掛かるいわゆるねがかりした場合などのように、釣り用衣服の着用者が手や腕を直接水に浸けて作業しなければならないことが頻繁にある。このような場合には、着用者は、作業する度に、釣り用衣服が濡れないように左右両袖部を捲りあげる必要がある。
しかしながら、このような袖を捲る作業は、竿や網等を両手に持って釣をする着用者にとっては、非常に煩わしい作業である。その一方で、左右両袖部を捲りあげずに、例えば、水中で引っ掛かっている釣針を取り外そうとして着用者がそのまま手や腕を水に浸けると、外部の水は、左右両袖部の外側だけでなく袖口から左右両袖部の内側にも浸入する。そうすると、上記従来の釣り用衣服のうち吸水素材を用いたものにあっては、左右両袖部は外側及び内側の双方から水を吸ってしまい、左右両袖部が濡れてしまう。
このように左右両袖部が濡れると、左右両袖部が着用者の腕にまとわりつくため、着心地が悪くなるだけでなく、左右両袖部が吸った水に着用者の体温が奪われて冷えを感じるという問題があった。
そこで、本発明は、上記従来の問題に鑑みてなされ、着用者の汗等によってべとつくことがなく、且つ、着用者が手や腕を水に浸けても良好な着心地を維持することができ、更に、冷えを感じない釣り用衣服を提供することを課題とする。
本発明は、上記課題を解決すべくなされたものであり、本発明に係る釣り用衣服は、前後両身頃部は吸水性を有し、左右両袖部の外側及び内側の双方は撥水性を有し、前記左右両袖部のうち少なくとも何れか一方の袖部には、該袖部を水平に伸ばした状態における下側であって着用者の上腕部に対応する領域に、袖部の内側の液体を外側へ排出するための水排出部が設けられていることを特徴とする。
該構成の釣り用衣服にあっては、前後両身頃部は吸水性を有するので、前後両身頃部の内側においては着用者の汗等の内側の水分を吸うことができる。また、着用者が手や腕を例えば川や池等の外部の水に浸けて作業し、外部の水が左右両袖部の外側だけでなく袖口から左右両袖部の内側に浸入しても、左右両袖部の外側及び内側の双方は撥水性を有するので、外側だけでなく内側においても水は弾かれる。その結果、左右両袖部は水を含まないので、左右両袖部は着用者の腕にまとわりつかない。更に、水は左右両袖部に含まれずに左右両袖部から転がり落ちるので、着用者の体温は奪われることなく保たれる。また、前記左右両袖部のうち少なくとも何れか一方の袖部には、該袖部を水平に伸ばした状態における下側であって着用者の上腕部に対応する領域に、袖部の内側の液体を外側へ排出するための水排出部が設けられているので、例えば、着用者が腕を外部の水に浸け、その後手首部が上腕部よりも上側となるように、肘を曲げる或いは腕全体を上げた場合に、外部から袖口を介して左右両袖部の内側に浸入した水は、袖部の先端側(着用者の腕の手首部側)から基端側(着用者の上腕部側)へ向けて袖部の内側を転がり落ち、水排出部から外部へ排出されることとなる。従って、袖口から袖部の内側に浸入した水が誤って前後両身頃部や着用者の胴体部を濡らしてしまうのを効果的に防止することができ、より一層快適な着心地を得ることができる。
特に、前後両身頃部及び左右両袖部は同じ布地を用いて構成されていることが好ましく、前後両身頃部と左右両袖部とを形成する際に、わざわざ布地を使い分ける必要なく同じ布地を用いることができるので、釣り用衣服の製造が容易になる。また、釣り用衣服の見栄えが良くなる。
更に、布地を撥水加工せずに形成した前後両身頃部に布地を撥水加工して形成した左右両袖部を縫着することによって構成されていることが好ましい。左右両袖部となる布地を布地の段階で撥水加工することによって、容易にむらなく左右両袖部に撥水性を付与することができる。
また更に、布地は糸を編んで構成した編布であることが好ましい。前後両身頃部及び左右両袖部が編布であると、そのメッシュ構造に起因する通気性及び伸縮性を得ることができる。従って、釣り用衣服の内側の蒸れを防止することができる、また、着用者の動きに追従して釣り用衣服が伸縮して動き易くなる。
このように、本発明に係る釣り用衣服にあっては、前後両身頃部は吸水性を有するので、着用者の汗等の内側の水分を吸い取ることができべとつかない。しかも、左右両袖部の外側及び内側の双方は撥水性を有するので、着用者が手や腕を外部の水に浸けて作業等した場合であっても、従来のように左右両袖部が内側から水を吸うことなくこれを弾くので、良好な着心地を維持することができ、且つ、冷えを感じないという効果を奏する。
以下、本発明に係る釣り用衣服の第一実施形態について図面を参酌しつつ説明する。
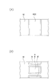
図1に、本第一実施形態における釣り用衣服1が示されている。該釣り用衣服1は、釣をする際に、着用者Hの肌に直接或いは肌着を介して着用するシャツ(例えば、ジップアップシャツ等)である。
釣り用衣服1は、前面部2と前面部2に対向する後面部3と前後両面部2,3のそれぞれの左右端部同士を繋ぐ左右両側部4,5と前後両面部2,3のそれぞれの左右端部及び左右両側部4,5の上端部に連設される左右両袖部6,7と前後両面部2,3の上端部に連設される襟部8とを備える。
前面部2は、着用者H(人体)の胸部から腹部に及ぶ領域に対応するように構成されており、一枚の布地で構成されている。本第一実施形態では、前面部2を構成する布地は、糸を編んでメッシュ構造にした編布Fであり、例えばポリエステルが85%、ナイロンが15%となるように構成されている。このように糸を編んでメッシュ構造とすることにより、前面部2を構成する編布Fは外側からだけでなく内側からも水を吸い取る、即ち、外側及び内側の双方が吸水性を有する。また、編布Fは、軽量であるだけでなく、メッシュ構造の貫通孔により通気性を有し、更に、この貫通孔の変形により伸縮性を有する。
また、前面部2の左右方向略中央の位置には、前面部2の上端(着用者Hの首部)から着用者Hの胸部にかけて伸びるスライドファスナーS1が設けられている。このスライドファスナーS1は、後述の襟部8にも亘るように設けられており、これにより襟部8と前面部2の上部とが開閉自在に構成され、釣り用衣服1を着用或いは脱衣し易くなっている。更に、前面部2には、着用者Hの左胸に対応する位置にポケットPが設けられており、その開口部はスライドファスナーS2によって開閉自在に構成されている。
後面部3は、着用者Hの背中のほぼ全域を覆うように構成されており、前面部2とほぼ同じ形状である。後面部3は、前面部2と同じ一枚の編布Fで構成されている。即ち、後面部3は、その外側及び内側の双方が吸水性を有し、しかも軽量であり、更に通気性と伸縮性とを備えている。後面部3は、前面部2に対向して重なるように配置されている。
左右両側部4,5は、前後両面部2,3のそれぞれの左右端部に亘って設けられており、着用者Hの左右両脇腹部それぞれに対応する位置に設けられている。左右両側部4,5は、前面部2と同じ一枚の編布Fで構成されている。即ち、左右両側部4,5は、その外側及び内側の双方が吸水性を有し、しかも軽量であり、更に通気性と伸縮性とを備えている。左右両側部4,5のそれぞれの前後端部は、前後両面部2,3のそれぞれの左右端部に縫着されている。つまり、前後両面部2,3及び左右両側部4,5は、それぞれ縫着されて着用者Hの胴部略全周を覆うように前後両身頃部C1,C2を形成している。そして、前後両身頃部C1,C2は、その左右両側の着用者Hの肩部から脇部にかけて開口している。
ここで、前面部2と左右両側部4,5の前側略半分とで構成されるのが前身頃部C1であり、後面部3と左右両側部4,5の後側略半分とで構成されるのが後身頃部C2である。従って、本第一実施形態では、前後両身頃部C1,C2は、それぞれ全体として一枚(単層)の編布Fで構成され、その外側及び内側の双方が吸水性を有する。しかも前後両身頃部C1,C2は、編布Fがメッシュ構造であるので、軽量であると共に通気性と伸縮性とを備えている。
左右両袖部6,7は、前後両身頃部C1,C2の左右両側の開口縁部(いわゆる袖ぐりA)にそれぞれ縫着されている。左右両袖部6,7は、日差しや照り返し、虫刺されなどから着用者を保護するために長袖となっている。左右両袖部6,7は、着用者Hの肩部から手首部にかけて伸びる上袖部61,71と、着用者Hの脇部から手首部にかけて伸びる下袖部62,72と、着用者Hの手首部を覆う環状の袖先端部63,73とを備える。左右両袖部6,7は、上袖部61,71の前後両端部と下袖部62,72の前後両端部とがそれぞれ縫着され、上袖部61,71及び下袖部62,72のそれぞれの先端部に袖先端部63,73が縫着されている。これにより、左右両袖部6,7は、袖先端部63,73が袖口64,74を形成して着用者Hの肩部から手首部に亘る腕全体を覆うよう長袖に構成されている。本第一実施形態では、上袖部61,71及び下袖部62,72はそれぞれ前面部2を構成する編布Fと同じ一枚の編布で構成されている。一方、袖先端部63,73は、前面部2を構成する編布Fとは異なる編布F´で構成されている。具体的には、袖先端部63,73を構成する編布は、例えば、ポリエステル100%となるように糸を編んで構成されており、その編布を折り返して2枚重ねにして、折り返した両端部を上袖部61,71及び下袖部62,72のそれぞれの先端部に縫着している。
そして、左右両袖部6,7の外側6A,7A及び内側6B,7Bの双方は、水を弾く撥水性を有している。具体的には、上袖部61,71、下袖部62,72及び袖部先端部を構成する編布Fのそれぞれの外側及び内側の双方が、撥水性を有している。従って、左右両袖部6,7は吸水性を有していない。
このような、左右両袖部6,7は、前後両身頃部C1,C2の左右それぞれの袖ぐりAに縫着されている。具体的には、上袖部61,71の基端部が前後両面部2,3に縫着され、下袖部62,72の基端部が側部に縫着されている。
襟部8は、前後両面部2,3の上端部に連設されている。襟部8は、着用者Hの首部に対応して形成されており、環状の形状となっている。具体的には、襟部8は、上述のスライドファスナーS1を介して開閉自在の環状となっている。襟部8は、前面部2と同じ編布Fを前後に2枚重ねにして構成されている。よって、襟部8は、その外側及び内側の双方が吸水性を有し、しかも軽量であり、更に通気性と伸縮性とを備えている。このような襟部8は、前面部2及び後面部3の双方の上端部に逢着されている。
以上のような構成の釣り用衣服1は、以下のようにして製造できる。
まず、例えばポリエステルが85%、ナイロンが15%となるように糸を編んでメッシュ構造の編布Fを構成し、得られた編布Fに通常の精練、漂白、染色加工を行う。そして、左右両袖部6,7となる編布Fの表裏両側に耐久撥水加工を施す。この耐久撥水加工としては、編布Fをシリコン系撥水剤やフッ素系撥水剤等の撥水剤に潜らせることによって、編布Fの表裏両側に撥水基を高密度に配列させた後、キュアリング等によって撥水剤を編布Fの表裏両側それぞれに強固に密着させる方法が挙げられる。因みに、その耐久性としては、例えば、編布の場合、JIS L−1092による洗濯50回後の撥水度が80点以上であることが好ましい。このように、裁断や縫製等を行う前の編布Fの段階で撥水加工することによって、容易にむらなく撥水性を付与することができる。こうして得られた表裏両側を撥水加工した編布Fを裁断や縫製等することによって、外側6A,7A及び内側6B,7Bの双方が撥水性を有する左右両袖部6,7が得られる一方で、撥水加工していない別の編布Fを裁断や縫製等することによって、外側及び内側の双方が吸水性を有する前後両身頃部C1,C2が得られる。そして、左右両袖部6,7と前後両身頃部C1,C2とをそれぞれ縫着することによって、上述のような構成の釣り用衣服1が製造できる。
次に、本発明に係る釣り用衣服の第二実施形態について説明する。尚、上述の第一実施形態と同様の構成については同じ符号を付すこととしてその説明を省略する。
本第二実施形態に係る釣り用衣服1の左袖部6には、図3に示すように、該左袖部6の内側の液体を外側へ排出するための水排出部9が設けられている。具体的には、水排出部9は、左袖部6を水平方向に伸ばした状態(図3において、二点鎖腺にて示す状態)で、該左袖部6の前面側から下側を通って後面側にまで亘るように形成されている。本第二実施形態では、図3及び図4(A)に示すように、水排出部9は、左袖部6の周方向略半周に跨る略四角形状の切欠きによって形成される開口91を、例えば撥水性を有するメッシュ生地92にて覆うことによって形成されている。即ち、水排出部9は、上袖部61と下袖部62との逢着部分(上袖部61と下袖部62との境界)間に亘るように、下袖部62の周方向幅全域に亘って形成されている。尚、水排出部9は、左右両袖部6,7に設けた場合であっても、左袖部6或いは右袖部7の何れか一方のみに設けた場合であってもよい。因みに、本第二実施形態では、水排出部9は、左右両袖部6,7のそれぞれに設けられている。また、メッシュ生地92としては、撥水性を有しない生地を採用することもできる。
そして、水排出部9は、前記左袖部6を水平に伸ばした状態での下側領域であって着用者Hの上腕部に対応する領域に設けられている。具体的には、水排出部9は、左袖部6を水平な方向に伸ばした状態での左袖部6の下側領域のうち着用者Hの脇部から肘部の間の領域に設けられている。本第二実施形態では、水排出部9は、着用者Hの脇部から手首部にかけて伸びる下袖部62の脇部から肘部に対応する領域のうち、脇部よりも肘部に近い領域に設けられている。尚、水排出部9は、着用者Hの脇部から肘部に対応する領域のうち肘部よりも脇部に近い領域、或いは、脇部から肘部の間の略中央の領域に設けた場合であってもよい。
以上の構成からなる釣り用衣服1にあっては、前後両身頃部C1,C2及び左右両袖部6,7が糸を編んで構成した編布Fで構成されているので、編布Fのメッシュ構造に起因した通気性を有する。従って、釣り用衣服1を着用してもその内側に湿気や熱気がこもることがなく、蒸れを防止することができる。また、編布Fのメッシュ構造により、釣り用衣服1は、伸縮性を有するだけでなく軽量となる。よって、釣り用衣服1の着用者Hは身軽になり、しかも着用者Hの動きに追従して釣り用衣服1が伸縮するので動き易くなる。
また、前後両身頃部C1,C2を構成する編布Fは撥水加工していないので、前後両身頃部C1,C2は吸水性を有する。従って、例えば着用者Hが汗をかいた場合に、その汗を前後両身頃部C1,C2の内側で吸い取ることができ、べとつかずドライな感じを維持できる。よって良好な着心地を維持することが可能となる。
更に、左右両袖部6,7の外側6A,7A及び内側6B,7Bの双方は撥水性を有する。よって、図2に示すように、例えば、釣の際中にねがかり等して、着用者Hが左の手や腕を川や池等に浸けて作業しなければならない場合に、川や池等の水Wが左袖部6の外側6Aだけでなく袖口64から左袖部6の内側6Bに浸入しても、左袖部6の外側6Aでは水Wが弾かれ、更に内側6Bにおいても水Wは弾かれる。そうすると、作業が終了して川や池等から手や腕を出したときに、水Wは左袖部6に吸い取られずに左袖部6の表面から転がり落ちるので、左袖部6が着用者Hの手や腕にまとわりついたりせず、ドライな感じを維持することができる。従って、良好な着心地を維持することができる。また、左袖部6は水を吸い取っていないので、着用者Hの体温が奪われることなく保たれ、冷えを感じない。
また更に、前後両身頃部C1,C2及び左右両袖部6,7は同じ編布Fを用いて構成されているので、前後両身頃部C1,C2と左右両袖部6,7とを形成する際に、わざわざ別種類の編布を準備する必要がなく同じ編布を用いることができる。よって、釣り用衣服1の製造が容易になるうえに製造コストを下げることができる。また、前後両身頃部C1,C2と左右両袖部6,7とが同じ質感を呈するので見栄えが良くなる。
また、左袖部6には、該左袖部6を水平に伸ばした状態における下側であって着用者Hの上腕部に対応する領域に、左袖部6の内側の液体を外側へ排出するための水排出部9が設けられているので、例えば、図2に示すように着用者Hが腕を外部の水に浸け、その後、図3に示すように肘部を曲げて手首部が上腕部よりも上側に位置するようにした場合に、外部から袖口64を介して左袖部6の内側に浸入した水Wは、左袖部6の先端側(着用者の腕の手首部側)から基端側(着用者の肘部側)へ向って左袖部6の内側を転がり落ち、水排出部9から外部へ排出されることとなる。従って、袖口64から左袖部6の内側に浸入した水Wが誤って前後両身頃部C1,C2や着用者Hの胴体部を濡らしてしまうのを効果的に防止することができ、より一層快適な着心地を得ることができる。
尚、本第一及び第二実施形態では、前面部2は、一枚の編布Fで構成されている場合について説明したが、これに限られず、それぞれが一枚の編布Fで構成される左前面部と右前面部とで構成されている場合でもよい。この場合、例えばスライドファスナーや面ファスナー等により左右前面部を連結或いは分離しうるように構成することが好ましい。
また、本第一及び第二実施形態では、前後両身頃部C1,C2は、外側及び内側の双方が吸水性を有する場合について説明したが、これに限られず、例えば外側が防水性や撥水性等を有する場合でもよい。具体的には、例えば、前後両身頃部C1,C2を構成する前後両面部2,3と左右両側部4,5とを単層(一枚)の編布ではなく、内側には吸水性を有する編布を外側には防水性や撥水性等を有する布地等を配置した多層(複数枚)の布地とすることができる。
更に、本第一及び第二実施形態では、釣り用衣服1が着用者Hの上半身を覆うシャツである場合について説明したが、これに限られず、着用者Hの上半身だけでなく下半身をも覆ういわゆるつなぎの形式であってもよい。
また更に、本第一及び第二実施形態では、釣り用衣服1を構成する布地が編布Fである場合について説明したが、これに限られず、縦糸と横糸とで構成される織布であってもよい。
また、本第二実施形態では、水排出部9の開口91の形状が左袖部6の周方向略半周に跨る略四角形状である場合について説明したが、これに限られず、左袖部6の長手方向に湾曲した形状の開口91を形成する場合であってもよい。具体的には、図4(B)に示すように、水排出部9は、左袖部6の基端部側に湾曲した湾曲形状の切欠きによって形成される開口91を、例えば撥水性を有するメッシュ生地92にて覆うことによって形成することができる。
更に、本第二実施形態では、下袖部62を切欠いて形成される開口91を、メッシュ生地92にて覆うことによって水排出部9が形成される場合について説明したが、これに限られず、前記開口91をメッシュ生地92にて覆うことなくそのままの状態で水排出部9を形成してもよい。具体的には、図5(A)に示すように、水排水部9は、左袖部6を水平方向に伸ばした状態で、左袖部6の前面側から下側を通って後面側にまで亘る開口91を形成することによって構成することができる。
また更に、本第二実施形態では、水排出部9が単一の開口91によって形成される場合について説明したが、これに限られず、複数の開口91を、左袖部6の周方向或いは左袖部6の長手方向に沿って並べることによって形成される場合であってもよい。例えば、図5(B)に示すように、水排出部9は、3つの開口91を下袖部62の周方向に沿って所定間隔を空けて並べることによって形成することができる。
更に、本第二実施形態では、水排出部9が切欠きによって形成される開口91で形成される場合について説明したが、これに限られず、左袖部6の周方向に沿って切込んで形成される開口91で形成されてもよい。具体的には、図6(A)に示すように、水排出部9は、左袖部6を水平方向に伸ばした状態で、該左袖部6の前面側から下側を通って後面側にまで亘る線状の切込みによって開口91を形成して構成することができる。尚、前記切込みは、上袖部61と下袖部62との境界間に亘って線状に形成されている。
また、水排出部9を形成する開口91を開閉する蓋部10を設けることができる。具体的には、図6(B)に示すように、前記開口91を覆う蓋部10を左袖部6の外面に回動自在に設ける。この蓋部10は、その一端部が左袖部6の外面に逢着されており、その一端部を中心に回動することによって、前記開口91を開閉することができるように構成されている。
本発明の第一実施形態に係る釣り用衣服を示す正面図。 同釣り用衣服の使用状態を示す部分断面図。 本発明の第二実施形態に係る釣り用衣服を示す部分断面図。 (A)は、第二実施形態に係る釣り用衣服の袖部を水平にして下袖部を下方から見た要部拡大図であり、(B)は、他の実施形態に係る釣り用衣服の袖部を水平にして下袖部を下方から見た要部拡大図。 (A)及び(B)は、他の実施形態に係る釣り用衣服の袖部を水平にして下袖部を下方から見た要部拡大図。 (A)及び(B)は、他の実施形態に係る釣り用衣服の袖部を水平にして下袖部を下方から見た要部拡大図。
符号の説明
1…釣り用衣服、2…前面部、3…後面部、4…左側部、5…右側部、6…左袖部、7…右袖部、8…襟部、9…水排出部、10…蓋部、C1…前身頃部、C2…後身頃部、F…編布、H…着用者、W…外部の水

Claims (4)

  1. 前後両身頃部は吸水性を有し、左右両袖部の外側及び内側の双方は撥水性を有し、前記左右両袖部のうち少なくとも何れか一方の袖部には、該袖部を水平に伸ばした状態における下側であって着用者の上腕部に対応する領域に、袖部の内側の液体を外側へ排出するための水排出部が設けられていることを特徴とする釣り用衣服。
  2. 前後両身頃部及び左右両袖部は同じ布地を用いて構成されていることを特徴とする請求項1に記載の釣り用衣服。
  3. 布地を撥水加工せずに形成した前後両身頃部に布地を撥水加工して形成した左右両袖部を縫着することによって構成されていることを特徴とする請求項2に記載の釣り用衣服。
  4. 布地は糸を編んで構成した編布であることを特徴とする請求項2又は3の何れかに記載の釣り用衣服。
JP2006315553A 2005-12-22 2006-11-22 釣り用衣服 Expired - Fee Related JP4909024B2 (ja)

Priority Applications (1)

Application Number Priority Date Filing Date Title
JP2006315553A JP4909024B2 (ja) 2005-12-22 2006-11-22 釣り用衣服

Applications Claiming Priority (3)

Application Number Priority Date Filing Date Title
JP2005369088 2005-12-22
JP2005369088 2005-12-22
JP2006315553A JP4909024B2 (ja) 2005-12-22 2006-11-22 釣り用衣服

Publications (2)

Publication Number Publication Date
JP2007191848A JP2007191848A (ja) 2007-08-02
JP4909024B2 true JP4909024B2 (ja) 2012-04-04

Family

ID=38447765

Family Applications (1)

Application Number Title Priority Date Filing Date
JP2006315553A Expired - Fee Related JP4909024B2 (ja) 2005-12-22 2006-11-22 釣り用衣服

Country Status (1)

Country Link
JP (1) JP4909024B2 (ja)

Families Citing this family (2)

* Cited by examiner, † Cited by third party
Publication number Priority date Publication date Assignee Title
CN106880097A (zh) * 2015-12-16 2017-06-23 天津红晨岛服饰有限公司 一种防静电阻燃劳保服
JP2022104507A (ja) * 2020-12-28 2022-07-08 美津濃株式会社 防水上衣

Family Cites Families (6)

* Cited by examiner, † Cited by third party
Publication number Priority date Publication date Assignee Title
JPS59149906A (ja) * 1983-02-17 1984-08-28 Mitsubishi Petrochem Co Ltd オレフイン重合用触媒成分
JPS63102716A (ja) * 1986-10-20 1988-05-07 松下電器産業株式会社 ジユ−サ
JPH08311707A (ja) * 1995-05-18 1996-11-26 Kenji Miyagawa 釣り用特殊衣服
JP2000045109A (ja) * 1998-07-24 2000-02-15 Toshiko Kobayashi 着脱可能ケープ付きレインコート
JP2000136404A (ja) * 1998-10-28 2000-05-16 Daiwa Seiko Inc 釣 服
JP2000239906A (ja) * 1999-02-22 2000-09-05 Yokohama Rubber Co Ltd:The 透湿防水性衣服

Also Published As

Publication number Publication date
JP2007191848A (ja) 2007-08-02

Similar Documents

Publication Publication Date Title
US7080412B2 (en) Insect barrier garment
CN108882759B (zh) 用于服饰物品的袖子结构
US20240324709A1 (en) Flat-warp-knitted outdoor clothing and method for manufacturing the same
KR20190035898A (ko) 단열성 의복
EP0994805A2 (en) Method and apparatus for facilitating the application and removal of a wet suit
JP4909024B2 (ja) 釣り用衣服
KR0177172B1 (ko) 방수복
JP6375617B2 (ja) 通気構造を有する布帛及び衣服
JP5097065B2 (ja) 帽子
JP2011122278A (ja) 衣服
CN211910588U (zh) 一种便于清除油渍的保暖羽绒服
TWI886649B (zh) 機能性衣服
JP2008038323A (ja) 通気性ウエア
JP3140017U (ja) 通気性ウエア
CN209915062U (zh) 一种多功能防雪运动针织上衣
JP3243062U (ja) ウェディング用衣服
JP2013106544A (ja) ペットの夏用衣類
JP3108683U (ja) 衣料品
JP2006307396A (ja) 袖口カバー
JP3051707U (ja) 袖口濡れ防止用具
JP2015063770A (ja) 介護用衣服
JP3148297U (ja) 和装汗取り肌着
JP2010163723A (ja) 釣用ウェア
CN110720691B (zh) 出汗镂空单元、出汗镂空结构及使用该结构的服装
KR20120092803A (ko) 땀복용 원단, 이의 제조방법 및 땀복

Legal Events

Date Code Title Description
A621 Written request for application examination

Free format text: JAPANESE INTERMEDIATE CODE: A621

Effective date: 20091111

A977 Report on retrieval

Free format text: JAPANESE INTERMEDIATE CODE: A971007

Effective date: 20110512

A131 Notification of reasons for refusal

Free format text: JAPANESE INTERMEDIATE CODE: A131

Effective date: 20110520

A521 Request for written amendment filed

Free format text: JAPANESE INTERMEDIATE CODE: A523

Effective date: 20110628

TRDD Decision of grant or rejection written
A01 Written decision to grant a patent or to grant a registration (utility model)

Free format text: JAPANESE INTERMEDIATE CODE: A01

Effective date: 20111216

A01 Written decision to grant a patent or to grant a registration (utility model)

Free format text: JAPANESE INTERMEDIATE CODE: A01

A61 First payment of annual fees (during grant procedure)

Free format text: JAPANESE INTERMEDIATE CODE: A61

Effective date: 20120113

FPAY Renewal fee payment (event date is renewal date of database)

Free format text: PAYMENT UNTIL: 20150120

Year of fee payment: 3

R150 Certificate of patent or registration of utility model

Ref document number: 4909024

Country of ref document: JP

Free format text: JAPANESE INTERMEDIATE CODE: R150

Free format text: JAPANESE INTERMEDIATE CODE: R150

R250 Receipt of annual fees

Free format text: JAPANESE INTERMEDIATE CODE: R250

R250 Receipt of annual fees

Free format text: JAPANESE INTERMEDIATE CODE: R250

R250 Receipt of annual fees

Free format text: JAPANESE INTERMEDIATE CODE: R250

R250 Receipt of annual fees

Free format text: JAPANESE INTERMEDIATE CODE: R250

R250 Receipt of annual fees

Free format text: JAPANESE INTERMEDIATE CODE: R250

R250 Receipt of annual fees

Free format text: JAPANESE INTERMEDIATE CODE: R250

R250 Receipt of annual fees

Free format text: JAPANESE INTERMEDIATE CODE: R250

LAPS Cancellation because of no payment of annual fees