JP4875673B2 - 原子炉格納容器用ストレーナ - Google Patents

原子炉格納容器用ストレーナ Download PDF

Info

Publication number
JP4875673B2
JP4875673B2 JP2008198739A JP2008198739A JP4875673B2 JP 4875673 B2 JP4875673 B2 JP 4875673B2 JP 2008198739 A JP2008198739 A JP 2008198739A JP 2008198739 A JP2008198739 A JP 2008198739A JP 4875673 B2 JP4875673 B2 JP 4875673B2
Authority
JP
Japan
Prior art keywords
strainer
coolant
flow path
pit
floor
Prior art date
Legal status (The legal status is an assumption and is not a legal conclusion. Google has not performed a legal analysis and makes no representation as to the accuracy of the status listed.)
Active
Application number
JP2008198739A
Other languages
English (en)
Other versions
JP2010038577A (ja
Inventor
孝男 伊東
Current Assignee (The listed assignees may be inaccurate. Google has not performed a legal analysis and makes no representation or warranty as to the accuracy of the list.)
Mitsubishi Heavy Industries Ltd
Original Assignee
Mitsubishi Heavy Industries Ltd
Priority date (The priority date is an assumption and is not a legal conclusion. Google has not performed a legal analysis and makes no representation as to the accuracy of the date listed.)
Filing date
Publication date
Application filed by Mitsubishi Heavy Industries Ltd filed Critical Mitsubishi Heavy Industries Ltd
Priority to JP2008198739A priority Critical patent/JP4875673B2/ja
Publication of JP2010038577A publication Critical patent/JP2010038577A/ja
Application granted granted Critical
Publication of JP4875673B2 publication Critical patent/JP4875673B2/ja
Active legal-status Critical Current
Anticipated expiration legal-status Critical

Links

Images

Classifications

    • YGENERAL TAGGING OF NEW TECHNOLOGICAL DEVELOPMENTS; GENERAL TAGGING OF CROSS-SECTIONAL TECHNOLOGIES SPANNING OVER SEVERAL SECTIONS OF THE IPC; TECHNICAL SUBJECTS COVERED BY FORMER USPC CROSS-REFERENCE ART COLLECTIONS [XRACs] AND DIGESTS
    • Y02TECHNOLOGIES OR APPLICATIONS FOR MITIGATION OR ADAPTATION AGAINST CLIMATE CHANGE
    • Y02EREDUCTION OF GREENHOUSE GAS [GHG] EMISSIONS, RELATED TO ENERGY GENERATION, TRANSMISSION OR DISTRIBUTION
    • Y02E30/00Energy generation of nuclear origin
    • Y02E30/30Nuclear fission reactors

Landscapes

  • Structure Of Emergency Protection For Nuclear Reactors (AREA)

Description

この発明は、加圧水型原子炉を格納する格納容器内に収納される一次冷却系に注入される冷却材であって、一次冷却系から漏れ出た冷却材及び格納容器内に散布された冷却材を循環させる原子炉格納容器用ストレーナに関する。
従来、加圧水型原子炉を格納する格納容器内に、一次冷却系を冷却するために一次冷却系に冷却材を注入すると共に、格納容器設備を冷却する冷却材を格納容器の天井から散布する設備がある。例えば、特許文献1には、前記設備が前記冷却材を循環させる際に、冷却材に含まれる異物を取り除くストレーナの負担を低減させる方法及び装置が開示されている。
特開2006−113066号公報
従来、ストレーナは、格納容器の床の基面よりも窪んで形成されるピットに納められている。ここで、近年、前記ストレーナは、異物を取り除く部分の面積の増加が求められている。
前記ストレーナは、異物を取り除く部分の面積が増加するほど、目詰まりが抑制される。しかしながら、異物を取り除く部分の面積が増加すると、前記ストレーナは大型化する。よって、異物を取り除く部分の面積の増加量は、前記ピットの大きさに制限を受ける。
本発明は、上記に鑑みてなされたものであって、ストレーナの部分であって、冷却材に含まれる異物を取り除く部分の面積を増加させることを目的とする。
上述した課題を解決し、目的を達成するために、本発明に係る原子炉格納容器用ストレーナは、加圧水型原子炉一次冷却系から漏れ出た冷却材及び前記加圧水型原子炉を収納する格納容器内に散布された冷却材に含まれる異物を除去する板状に形成されるディスクを複数積み重ねたストレーナモジュール、前記格納容器の床の基面よりも窪んで形成され、前記ストレーナモジュールにより異物が除去された前記冷却材を溜めるピットと、前記格納容器の床と前記ストレーナモジュールとの間に設けられ、前記ピットを塞ぐと共に、前記ストレーナモジュールにより異物が除去された後の前記冷却材を前記ピットへ導く流路が形成された流路形成手段と、を備え、前記ピットを塞ぐ前記流路形成手段に前記ストレーナモジュールを配置し、前記流路形成手段は、枠型に形成された基礎であって、前記格納容器の天井から前記格納容器の床に向かって前記基礎を投影した枠内に、前記ストレーナモジュールにより前記異物が除去された前記冷却材を前記ストレーナモジュール内部のコアチューブに流れ込ませ、前記流路形成手段に導入するコアチューブ用開口部と前記ピットとを内包する枠型基礎と、前記枠型基礎の面のうち、前記床と反対側の面に取り付けられ、前記コアチューブ用開口部が形成されるボードと、を含んでいることを特徴とする。
上記構成により、本発明に係る原子炉格納容器用ストレーナはピットを塞ぐ流路形成手段にストレーナモジュールを配置しているため、ストレーナモジュールがピット内部よりも広いピットの外部空間に配置され冷却材に含まれる異物を取り除くストレーナモジュール部分の面積を増加させることができる。このストレーナモジュールによって異物が除去された冷却材は、流路形成手段を介してピットに導くことができる。流路形成手段は、枠型に形成された基礎であって、格納容器の天井から格納容器の床に向って基礎を投影した枠内に枠型基礎とボードとを含んで構成されている。このように、本発明に係る原子炉格納容器用ストレーナは、ボードが枠型基礎に取り付けられ、流路形成手段の内部を流れる異物が除去された冷却材が、異物を含む冷却材と混ざることを抑制しつつ、異物が除去された冷却材のピットまでの流路を確保することができる。
本発明の好ましい態様としては、前記ストレーナモジュールは、少なくとも一部が前記床の前記基面よりも鉛直方向上側に設けられていることが望ましい。
一般的に、前記基面よりも鉛直方向上側の空間は、前記基面よりも鉛直方向下側の空間よりも広い。よって、原子炉格納容器用ストレーナのストレーナモジュールの少なくとも一部を、前記床の前記基面よりも、鉛直方向上側に設けることによって、異物を除去する部分の面積を増加することができる。
本発明の好ましい態様としては、前記ピットは、前記異物が除去された前記冷却材が排出される開口が形成される空間であって、前記ボードの少なくとも一部によって仕切られる空間であって、外部の異物を含む前記冷却材が存在する空間から仕切られる空間であることが望ましい。
これにより、原子炉格納容器用ストレーナは、ピットに溜められる冷却材であって異物が除去された冷却材が、異物を含む冷却材が混ざらずに前記開口から排出される。
本発明の好ましい態様としては、前記ストレーナモジュールは、前記床の前記基面よりも鉛直方向下側に設けられていることが望ましい。
ここで、ストレーナモジュールが取り付けられる流路形成手段から格納容器内に溜まった冷却材の液面までの距離は、基面から前記液面までの距離よりも大きい。よって、原子炉格納容器用ストレーナは、異物を除去する部分の面積が向上する。
本発明に係る原子炉格納容器用ストレーナは、ストレーナの部分であって、冷却材に含まれる異物を取り除く部分の面積を増加させることを目的とする。
以下、この発明につき図面を参照しつつ詳細に説明する。なお、この発明を実施するための最良の形態(以下実施形態という)によりこの発明が限定されるものではない。また、下記実施形態における構成要素には、当業者が容易に想定できるもの、実質的に同一のもの、いわゆる均等の範囲のものが含まれる。
(実施形態1)
図1は、格納容器内と散布用冷却材再循環設備とを示す構成図である。格納容器110は、内部に一次冷却系を収容する。一次冷却系は、例えば、加圧水型原子炉120と、加圧器130と、蒸気発生器140と、一次冷却材ポンプ150と、一次冷却系流路160とを含んで構成される。
一次冷却系流路160は、加圧水型原子炉120に供給される一次冷却材が循環する通路である。一次冷却系流路160には、加圧水型原子炉120から一次冷却材の流れの方向に向かって順に、加圧器130と、蒸気発生器140と、一次冷却材ポンプ150とが設けられる。
一次冷却系流路160内の一次冷却材は、加圧器130によって加圧される。一次冷却材ポンプ150が駆動すると、加圧水型原子炉120から一次冷却材が送り出される。加圧水型原子炉120から送り出された一次冷却材は、蒸気発生器140に導かれる。
蒸気発生器140は、導かれた一次冷却材と、タービンに供給される二次冷却材との間で熱交換させる。これにより、蒸気発生器140は、導かれた一次冷却材の熱を、蒸気発生器140に二次冷却系から導かれた二次冷却材に伝える。
蒸気発生器140により、二次冷却材との間で熱交換した後の一次冷却材は、一次冷却材ポンプ150に導かれ、加圧水型原子炉120に送り出される。このようにして、一次冷却材は、一次冷却系流路160を循環する。
ここで、格納容器110及び格納容器110内の設備は、不具合が発生しないように設計、メンテナンスされて、十分な安全が確保されている。図1に示す、散布用冷却材再循環設備10は、仮に不具合が発生した場合を想定した設備であって、加圧水型原子炉120を備えるプラントの安全性をさらに向上させるための設備である。本実施形態では、仮に一次冷却系流路160から一次冷却材が漏れる不具合が発生したものとして説明する。
散布用冷却材再循環設備10は、一次冷却材第1流路11と、一次冷却材第2流路12と、一次冷却材第3流路13と、タンク14と、一次冷却材注入用ポンプ15と、一次冷却材散布用ポンプ16と、冷却機17と、スプレイリング18と、ピット19とを含んで構成される。
タンク14は、加圧水型原子炉120の燃料を取り替える際や、不具合が発生した際に用いられる冷却材が溜められる。ここで、前記冷却材は、基本的には、一次冷却系流路160の内部を流れる一次冷却材と同一である。
本実施形態では、説明の便宜上、一次冷却系流路160内の冷却材を一次冷却材という。また、タンク14内の冷却材や、一次冷却系流路160から漏れ出た一次冷却材がスプレイリング18から散布された冷却材に混ざったものを単に冷却材という。
ピット19は、格納容器110の床112に形成される。ピット19は、床112の基面112aよりも鉛直方向下側に窪んで形成される。ピット19には、一次冷却系流路160から漏れ出た冷却材や、スプレイリング18から散布された冷却材が溜まる。
一次冷却材第1流路11、一次冷却材第2流路12、一次冷却材第3流路13は、冷却材が流れる通路である。一次冷却材第1流路11は、一方の端部がタンク14に開口し、他方の端部がピット19に開口する。
一次冷却材第2流路12は、一方の端部が一次冷却材第1流路11に開口し、他方の端部が一次冷却系流路160に開口する。一次冷却材第2流路12を流れる冷却材は、一次冷却材第1流路11から一次冷却系流路160に向かって流れる。
一次冷却材第3流路13は、一部分が格納容器110の天井111に配置される。一次冷却材第3流路13は、一方の端部が一次冷却材第1流路11に開口し、他方の端部であって天井111に配置される側の端部には、スプレイリング18に冷却材を供給するための開口が形成される。
一次冷却材第3流路13のうち、天井111に配置される部分には、複数のスプレイリング18が取り付けられる。これにより、複数のスプレイリング18に一次冷却材第3流路13内を流れる冷却材が供給される。
一次冷却材第2流路12には、一次冷却材第1流路11側から一次冷却系流路160に向かって順に、一次冷却材注入用ポンプ15と冷却機17とが設けられる。一次冷却材注入用ポンプ15が稼動すると、一次冷却材第1流路11内の冷却材は、まず一次冷却材第2流路12に吸い込まれる。次に、一次冷却材第2流路12内の冷却材は、冷却機17によって冷却されて、一次冷却系流路160に注入される。
一次冷却材第3流路13には、一次冷却材第1流路11側から閉塞する側の端部に向かって順に、一次冷却材散布用ポンプ16と冷却機17と複数のスプレイリング18とが設けられる。一次冷却材散布用ポンプ16が稼動すると、一次冷却材第1流路11内の冷却材は、まず一次冷却材第3流路13に吸い込まれる。次に、一次冷却材第3流路13内の冷却材は、冷却機17によって冷却されて、スプレイリング18に供給される。
スプレイリング18は、天井111に設けられて、床112に向けて冷却材を散布する。スプレイリング18から散布された冷却材は、格納容器110内に降りかかる。これにより、仮に不具合が発生したときでも、散布用冷却材再循環設備10は前記一次冷却系から漏れ出た高温の冷却材が蒸気となることに起因する格納容器110内の圧力の上昇を抑制できる。
なお、一次冷却材第3流路13及びスプレイリング18が配置される場所は、天井111に限定されず、例えば、格納容器110の側壁でもよい。一次冷却材第3流路13及びスプレイリング18は、格納容器110内に冷却材を散布できる位置に配置されればよい。
次に、仮に不具合が発生した時の散布用冷却材再循環設備10の動作を説明する。一次冷却系流路160から一次冷却材が漏れ出すと、まず、一次冷却材注入用ポンプ15及び一次冷却材散布用ポンプ16が稼動する。
これにより、タンク14内の冷却材は、一次冷却材第1流路11、一次冷却材第2流路12を流れて、一次冷却系流路160に注入される。また、タンク14内の冷却材は、一次冷却材第1流路11、一次冷却材第3流路13を流れて、スプレイリング18から散布される。
スプレイリング18から散布された冷却材は、格納容器110を冷却した後、床112に落ちてピット19に流れ込む。この時、床112上の冷却材は、図1に示す原子炉格納容器用ストレーナとしてのストレーナ20によって、異物が除去されてピット19に流れ込む。ここで、異物とは、例えば、一次冷却系流路160の配管の表面から飛散した保温材である。
ストレーナ20によって異物が除去されてピット19に流れ込んだ冷却材は、ピット19に開口する一次冷却材第1流路11に吸い込まれる。一次冷却材第1流路11に導かれた冷却材は、一次冷却材注入用ポンプ15によって、一次冷却材第2流路12を流れて一次冷却系流路160に供給される。また、ピット19から一次冷却材第1流路11に導かれた冷却材は、一次冷却材散布用ポンプ16によって、一次冷却材第3流路13を流れてスプレイリング18に供給される。
スプレイリング18に供給された冷却材は、スプレイリング18から格納容器110内に散布される。スプレイリング18によって散布された冷却材は、再度、ストレーナ20を介してピット19に流れ込む。このようにして、不具合が生じた際にスプレイリング18から散布される冷却材は循環する。
ここで、従来、冷却材に含まれる異物を除去するストレーナは、ピット19の内部に収納されていた。ピット19の内部とは、ピット19の底面と側壁とで囲まれる空間であって、床112の基面112aより前記底面側の空間である。よって、従来のストレーナの大きさは、ピット19の内部に納まる大きさであった。
しかしながら、近年、ストレーナに求められる基準であって、冷却材に含まれる異物を除去する部分の面積の基準が、従来の基準よりも高くなった。以下、ストレーナの部分であって、異物を除去する部分の面積をストレーナ面積という。
ストレーナ面積を増加することにより、ストレーナに生じる目詰まりを低減できる。これにより、加圧水型原子炉120を備えるプラントは、安全性が向上する。しかしながら、上述したように、従来、ストレーナはピット19に収納されていた。よって、ストレーナをピット19に収納して配置する場合、例えば、格納容器110は、ピット19を拡大する工事が必要となる。
しかしながら、既設のプラントでは、ピット19を拡大する工事は、大規模な工事となる。また、既設のプラントでは、現状のピット19の大きさで、設計上の安全が確保されている。よって、現状のピット19に対して、ピット19を拡大する工事のような、設計の変更をともなう大規模な工事を行うことは好ましくない。
これに対して、本実施形態のストレーナ20は、ピット19を拡大することなく、ストレーナ面積を増加できる。これにより、ストレーナ20は、既設のプラントであっても、安全を確保された設計を維持しつつ、ストレーナ面積が増加することで加圧水型原子炉120を備えるプラントの安全性をより向上できる。
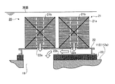
図2は、実施形態1に係るストレーナを示す斜視図である。図3は、実施形態1に係るストレーナを鉛直方向に沿う面で切った断面図である。図2及び図3に示すように、ストレーナ20は、ピット19の外部にストレーナモジュール21が配置される点に特徴がある。本実施形態では、ストレーナ20は、例えば、床112の基面112aよりも鉛直方向上側に配置される。
図2に示すように、ストレーナ20は、ストレーナモジュール21と、流路形成手段としての流路形成部材22と、基礎23とを含んで構成される。図3に示すように、床112の基面112a上には、基面112aから鉛直方向上側に向かって順に、基礎23、流路形成部材22、ストレーナモジュール21が配置される。基礎23は、例えば、速乾性のコンクリートによって床112に形成される。
流路形成部材22は、基礎23に隙間なく取り付けられて配置される。なお、冷却材に含まれる異物よりも小さい隙間であれば、隙間がないものとして扱う。また、意図しない隙間、例えば、加工の精度によって生じる基礎23と流路形成部材22との間の微小な隙間は、本実施形態では、隙間がないものとして扱う。
流路形成部材22は、ストレーナモジュール21と基礎23との間で、冷却材が流れる流路であって冷却材をピット19に導くための流路を確保する。また、流路形成部材22は、ピット19を覆うように基礎23に隙間なく取り付けられて、ピット19を塞ぐ。なお、ここでいう「塞ぐ」とは、ストレーナ20の外部の異物を含む冷却材がピット19へ流れ込まないようにすることをいう。
流路形成部材22は、例えば、内部が空洞の箱型に形成される。流路形成部材22の内部に形成された空洞には、後述するコアチューブ21bが開口するコアチューブ用開口22a、及び、ピット19に連通するピット用開口22bの2つの開口が形成される。
または、流路形成部材22は、例えば、一方の開口端であるコアチューブ用開口22aがコアチューブ21bに接続され、他方の開口端であるピット用開口22bがピット19に開口する通路を有する。このようにして、流路形成部材22は、冷却材をコアチューブ21bからピット19へと導く。
ここで、コアチューブ21bから流路形成部材22に流れ込む冷却材は、異物が除去された後の冷却材である。上述したように、流路形成部材22は、基礎23に隙間なく取り付けられるため、異物が除去された後の冷却材は、異物を含む冷却材とは理論上混ざり合わない。
ストレーナモジュール21は、板状に形成されるディスク21aを複数積み重ねられて構成される。ディスク21aは、冷却材に含まれる異物よりも小さい孔を複数有する形状、例えば、網状に形成される。ストレーナモジュール21の部分の中で、冷却材に含まれる異物を除去する部分は、ディスク21aである。よって、ストレーナ面積は、複数のディスク21aの面積の総和になる。
図3に示すように、ストレーナモジュール21は、コアチューブ21bを有する。コアチューブ21bには、それぞれのディスク21aが取り付けられる。コアチューブ21bの部分であって、ディスク21aが取り付けられる部分には、コアチューブ21bの内部と外部とを連通する孔が形成される。この孔を介して、ディスク21aによって異物が除去された冷却材は、コアチューブ21bの内部に流れ込む。
コアチューブ21bは、流路形成部材22のコアチューブ用開口22aに接続される。これにより、異物が除去された冷却材は、コアチューブ21b内をコアチューブ用開口22aに向かって流れ、コアチューブ用開口22aを介して流路形成部材22の内部の流路に流れ込む。
前記流路は、コアチューブ用開口22a及びピット用開口22b以外は閉塞されている。よって、ストレーナ20の外部の異物を含む冷却材は、流路形成部材22の内部へは流れ込まない。よって、異物が除去された冷却材は、異物を含む冷却材と混ざることなく、ピット19に導かれる。
なお、本実施形態のストレーナ20は、ストレーナモジュール21の構成ではなく、ストレーナモジュール21の設置方法に特徴がある。よって、ストレーナ20には、従来、周知のストレーナモジュールを用いてもよい。
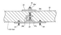
図4は、基礎を床に形成する方法を説明する断面図である。基礎23は、プレート24を介して床112に固定される。具体的には、基礎23は、図4に示すようにプレート24と、アンカーボルト25と、基礎ボルト26とによって床112に固定される。以下に、基礎23の形成方法を説明する。
まず、基礎23が形成される床112の基面112aを削って平面を出す。また、コンクリートの定着を向上するために、基面112aに傷をつける。次に、基面112aにプレート24が設置される。
プレート24は、板状の部材であって、床112の鉄筋と基礎ボルト26との干渉を避けるための部材である。ここで、基礎23と、流路形成部材22とを床112に固定する基礎ボルト26の設置位置は、変更しないほうが好ましい。例えば、床112に直接基礎ボルト26を打ち込む場合、床112の鉄筋と基礎ボルト26とが干渉するおそれがある。
このような場合、基礎ボルト26の設置位置を移動すれば、床112の鉄筋と基礎ボルト26との干渉は避けられる。しかしながら、基礎ボルト26の設置位置を変更すると、現状のストレーナ20の設計が、安全が確保された設計から変更された設計となる場合が想定される。これにより、再度、ストレーナ20は、安全性が確保できているか否かの計算及び試験が必要となる。
そこで、まず、プレート24を複数のアンカーボルト25で床112に固定する。この時、アンカーボルト25は、床112の鉄筋を避けて床112に打ち込まれる。この時、基礎ボルト26の設置位置は、安全が確保されている設計の位置と一致する。ここで、図4に示すように、プレート24は、基礎ボルト取り付けナット24aを有する。また、プレート24は、例えば、突起部24bを有して形成されてもよい。
基礎ボルト取り付けナット24aは、基礎ボルト26をプレート24に固定するためのナットである。但し、基礎ボルト26は、プレート24と一体に形成されてもよい。この場合、プレート24は、基礎ボルト取り付けナット24aが不要となる。突起部24bは、板状のプレート24から突出する部分であり、基礎23をより良好にプレート24に定着させるための部分である。
床112にプレート24がアンカーボルト25で固定され、プレート24に基礎ボルト26が取り付けられると、次に、調節ナット26aが基礎ボルト26に取り付けられる。調節ナット26aは、流路形成部材22を水平に基礎23に設置するためのナットである。調節ナット26aは、基礎ボルト26に嵌め込まれて回転させられることにより、基礎ボルト26上を基礎ボルト26の軸方向に移動する。
次に、基礎23を形成する範囲に型枠が設置され、速乾性のコンクリートが前記型枠に流し込まれる。これにより、床112に基礎23が形成される。次に、基礎23に流路形成部材22が設置され、締め付けナット26bによって、流路形成部材22は基礎23に固定される。ここで、流路形成部材22は、基礎23の面のうち、床112とは反対側の面に取り付けられる。
具体的には、流路形成部材22の一部に基礎ボルト26が貫通する孔が形成され、前記孔に基礎ボルト26が挿入される。流路形成部材22は、締め付けナット26bによって調節ナット26a及び基礎23と、締め付けナット26bとの間に挟みこまれて基礎23に固定される。
図5は、実施形態1に係る流路形成部材を基礎に設置した状態を格納容器の天井から見た正面図である。図6は、実施形態1に係るプレート及びストレーナモジュールの配置例を格納容器の天井から見た正面図である。上述のように、ストレーナ20は、床112側からプレート24、基礎23、流路形成部材22の順に設置される。既設の格納容器にストレーナ20を設けた場合、プレート24、基礎23、流路形成部材22は、例えば図5のように設置される。
格納容器110内には、1つのピット19あたり、例えば、22個のプレート24が設置される。ここで、格納容器110内には、少なくとも1つのピット19が形成される。なお、格納容器110に複数のピット19が形成される場合であっても、それぞれのピット19に設けられるストレーナ20は同様の構成である。よって、以下、1つのピット19あたりに設けられるストレーナ20の構成を説明する。
プレート24は、床112に形成されるピット19を囲うように設置される。基礎23は、複数のプレート24をすべて内包するように、ピット19を除く床112に設置される。流路形成部材22は、22個のプレート24に対して1つずつ設けられる22個の基礎ボルト26をすべて内包するように、基礎23に設置される。
ストレーナモジュール21は、このようにして設置された流路形成部材22に、図6に示すように、例えば、24基設置される。ここで、ストレーナモジュール21は、流路形成部材22の面のうち、床112とは反対側の面に取り付けられる。このようにして、ストレーナ20は、ピット19に収納できる数を超えるストレーナモジュール21を備えることができる。
これにより、ストレーナ20は、従来よりも、ストレーナ面積が向上する。よって、ストレーナ20は、図2及び図3に示すディスク21aの目詰まりが抑制される。結果として、ストレーナ20は、加圧水型原子炉120を備えるプラントの安全性を向上できる。
(実施形態2)
図7は、実施形態2に係る枠型基礎を格納容器の天井から見た正面図である。図7に示すように、実施形態2のストレーナ30は、実施形態1の流路形成部材22に代えてボード32及び枠型基礎33を含んで構成される流路形成手段を備える。ストレーナ30は、ピット19の外部にストレーナモジュール21が配置される点で、ストレーナ20と共通する。
実施形態1の基礎23は、図5に示すように、複数のプレート24を全て含んでピット19を除く床112に形成される。一方、枠型基礎33は、図7に示すように、ボード32に形成される開口であって複数のストレーナモジュール21のコアチューブ21bが接続されるコアチューブ用開口32aよりも外側に枠型に形成される。
ここで、枠型基礎33に取り付けられたボード32を、格納容器110の天井111から床112に向かって投影すると、枠型基礎33の枠内には、ピット19及び複数のコアチューブ用開口32a全てが内包される。なお、枠型基礎33の床112への設置方法は、実施形態1に記載の方法と同様である。
図8は、実施形態2に係るストレーナを示す斜視図である。図9は、実施形態2に係るストレーナを鉛直方向に沿う面で切った断面図である。床112に枠状の枠型基礎33が設置された後、図8に示すように、枠型基礎33には、ボード32が設置される。
ボード32は、図3に示す流路形成部材22よりも鉛直方向の厚みが薄く形成される。次に、ボード32のコアチューブ用開口32aにコアチューブ21bが接続される。これにより、ボード32の面のうち、床112と反対側の面に、ストレーナモジュール21が配置される。
ボード32は、図9に示すように、リブ、支柱等の補強部材32bによって補強される。これにより、ボード32は、ボード32自身の重さ、及び、ボード32に取り付けられる図9に示すストレーナモジュール21の重さによる撓みが抑制される。
ここで、図9に示すボード32と、枠型基礎33と、基面112aとによって囲まれる空間が、異物が除去された冷却材が流れる流路となる。枠型基礎33とボード32との間は密閉される。これにより、ストレーナ30の外部の冷却材であって、異物が含まれる冷却材は、ボード32と、枠型基礎33と、基面112aとによって囲まれる空間へは流れ込まない。
ディスク21aによって異物が除去された冷却材は、コアチューブ21bを流れてコアチューブ用開口32aを介してボード32と、枠型基礎33と、基面112aとによって囲まれる空間へ流れ込む。ボード32と、枠型基礎33と、基面112aとによって囲まれる空間へ流れ込んだ冷却材は、ピット19へ導かれる。
上述のように、図9に示すボード32は、図3に示す流路形成部材22よりも、鉛直方向の厚みが薄く形成される。よって、冷却材の液面が同一の場合、ストレーナモジュール21は、ボード32が流路形成部材22よりも鉛直方向に薄く形成される分、ディスク21aが多く設置されることができる。
なお、床112から冷却材の液面までの高さには、下限が設定されている。ストレーナモジュール21は、床112から冷却材の液面までの高さが下限の時でも、全てのディスク21aが前記液面よりも床112側に位置するようにディスク21aが設けられる。
上記構成により、ストレーナ30は、ストレーナ面積がストレーナ20よりもさらに増加する。よって、ストレーナ30は、ストレーナモジュール21の目詰まりをさらに良好に抑制できる。結果として、ストレーナ30を備えることにより、加圧水型原子炉120を備えるプラントは、安全性がさらに向上する。
また、ストレーナ面積が十分に確保できる場合は、格納容器110内に備えるストレーナモジュール21の基数を低減してもよい。例えば、図7に示すストレーナ30は、図6に示すストレーナ20よりも、備えるストレーナモジュール21の基数が2基少ない。これにより、加圧水型原子炉120を備えるプラントは、格納容器110の内部のスペースのうち、ストレーナ30に要するスペースを減少できる。
また、備えるストレーナモジュール21の基数が減少することにより、ストレーナ30は、ボード32の大きさが低減される。支点から力が負荷される部分までの距離が長いほど、撓みは大きくなる。よって、ボード32の大きさが低減されることにより、ストレーナ30は、ボード32の撓みを抑制できる。
(実施形態3)
図10は、ストレーナが床の基面よりも鉛直方向下側に配置される例を示す断面図である。ここで、ピット19は、正確には、一次冷却材第1流路11が開口すると共に流路形成手段の少なくとも一部によって仕切られる空間であって、ストレーナ20の外部の異物を含む冷却材が存在する空間から仕切られる空間である。
よって、図10に示すように、本実施形態では、床112を構成する部材と、流路形成部材22とで囲まれる空間がピット19となる。この場合、基礎23が形成される床112は、基面112aよりも鉛直方向下側に位置する。
ここで、基面112aよりも鉛直方向下側に窪んで形成される空間であっても、流路形成手段の少なくとも一部によって仕切られる空間、かつ、一次冷却材第1流路が開口する空間以外は、ピット19には含まれない。例えば、ストレーナ20の外部であって、基面112aよりも鉛直方向下側の空間Aは、ピット19には含まれない。
図11は、ストレーナが床の基面よりも鉛直方向下側に配置される他の例を示す断面図である。図11に示すピット19は、一次冷却材第1流路11が開口すると共にストレーナ30の流路形成手段の一部、本実施形態では、枠型基礎33の一部と、隔離部材40とによって仕切られる空間であって、ストレーナ30の外部の異物を含む冷却材が存在する空間から仕切られる空間である。
隔離部材40は、床112を構成する部材で形成された壁と、枠型基礎33との間を遮蔽する。ストレーナ30は、ピット19の鉛直方向上側ではなく、図11に示すように、ピット19の側方に配置される。この場合、枠型基礎33は、ピット19に開口するピット用開口33aが形成される。異物が除去された冷却材は、ピット用開口33aからピット19に導かれる。
以上、実施形態3のストレーナ20及びストレーナ30は、床112の基面112aよりも鉛直方向下側に配置される。ここで、ストレーナモジュール21が取り付けられる流路形成手段から格納容器110内に溜まった冷却材の液面までの距離は、基面112aから前記液面までの距離よりも大きい。
これにより、ストレーナ20及びストレーナ30は、ストレーナモジュール21が備えるディスク21aの枚数が向上する。これにより、ストレーナ20及びストレーナ30は、従来よりも、ストレーナ面積が向上する。よって、ストレーナ20及びストレーナ30は、図2及び図3に示すディスク21aの目詰まりが抑制される。結果として、ストレーナ20及びストレーナ30は、加圧水型原子炉120を備えるプラントの安全性を向上できる。
以上のように、本発明に係る原子炉格納容器用ストレーナは、冷却材に含まれる異物を除去することに適しており、特に、ストレーナの部分であって、冷却材に含まれる異物を取り除く部分の面積を増加させることに適している。
格納容器内と散布用冷却材再循環設備とを示す構成図である。 実施形態1に係るストレーナを示す斜視図である。 実施形態1に係るストレーナを鉛直方向に沿う面で切った断面図である。 基礎を床に形成する方法を説明する断面図である。 実施形態1に係る流路形成部材を基礎に設置した状態を格納容器の天井から見た正面図である。 実施形態1に係るプレート及びストレーナモジュールの配置例を格納容器の天井から見た正面図である。 実施形態2に係る枠型基礎を格納容器の天井から見た正面図である。 実施形態2に係るストレーナを示す斜視図である。 実施形態2に係るストレーナを鉛直方向に沿う面で切った断面図である。 ストレーナが床の基面よりも鉛直方向下側に配置される例を示す断面図である。 ストレーナが床の基面よりも鉛直方向下側に配置される他の例を示す断面図である。
符号の説明
10 散布用冷却材再循環設備
11 一次冷却材第1流路
12 一次冷却材第2流路
13 一次冷却材第3流路
14 タンク
15 一次冷却材注入用ポンプ
16 一次冷却材散布用ポンプ
17 冷却機
18 スプレイリング
19 ピット
20 ストレー
21 ストレーナモジュール
21a ディスク
21b コアチューブ
22 流路形成部材
22a コアチューブ用開口
22b ピット用開口
23 基礎
24 プレート
24a 基礎ボルト取り付けナット
24b 突起部
25 アンカーボルト
26 基礎ボルト
26a 調節ナット
26b 締め付けナット
30 ストレー
32 ボード
32a コアチューブ用開口
32b 補強部材
33 枠型基礎
33a ピット用開口
40 隔離部材
110 格納容器
111 天井
112 床
112a 基面
120 加圧水型原子炉
130 加圧器
140 蒸気発生器
150 一次冷却材ポンプ
160 一次冷却系流路

Claims (4)

  1. 加圧水型原子炉の一次冷却系から漏れ出た冷却材、及び前記加圧水型原子炉を収納する格納容器内に散布された冷却材に含まれる異物を除去する板状に形成されるディスクを複数積み重ねたストレーナモジュールと、
    前記格納容器の床の基面よりも窪んで形成され、前記ストレーナモジュールにより異物が除去された前記冷却材を溜めるピットと、
    前記格納容器の床と前記ストレーナモジュールとの間に設けられ、前記ピットを塞ぐと共に、前記ストレーナモジュールにより異物が除去された後の前記冷却材を前記ピットへ導く流路が形成された流路形成手段と、
    を備え、前記ピットを塞ぐ前記流路形成手段に前記ストレーナモジュールを配置し、前記流路形成手段は、枠型に形成された基礎であって、前記格納容器の天井から前記格納容器の床に向かって前記基礎を投影した枠内に、前記ストレーナモジュールにより前記異物が除去された前記冷却材を前記ストレーナモジュール内部のコアチューブに流れ込ませ、前記流路形成手段に導入するコアチューブ用開口部と前記ピットとを内包する枠型基礎と、前記枠型基礎の面のうち、前記床と反対側の面に取り付けられ、前記コアチューブ用開口部が形成されるボードと、を含んでいることを特徴とする原子炉格納容器用ストレーナ。
  2. 前記ストレーナモジュールは、少なくとも一部が前記床の前記基面よりも鉛直方向上側に設けられていることを特徴とする請求項1に記載の原子炉格納容器用ストレーナ。
  3. 前記ピットは、
    前記異物が除去された前記冷却材が排出される開口が形成される空間であって、前記ボードの少なくとも一部によって仕切られる空間であって、外部の異物を含む前記冷却材が存在する空間から仕切られる空間であることを特徴とする請求項1に記載の原子炉格納容器用ストレーナ。
  4. 前記ストレーナモジュールは、前記床の前記基面よりも鉛直方向下側に設けられていることを特徴とする請求項に記載の原子炉格納容器用ストレーナ。
JP2008198739A 2008-07-31 2008-07-31 原子炉格納容器用ストレーナ Active JP4875673B2 (ja)

Priority Applications (1)

Application Number Priority Date Filing Date Title
JP2008198739A JP4875673B2 (ja) 2008-07-31 2008-07-31 原子炉格納容器用ストレーナ

Applications Claiming Priority (1)

Application Number Priority Date Filing Date Title
JP2008198739A JP4875673B2 (ja) 2008-07-31 2008-07-31 原子炉格納容器用ストレーナ

Publications (2)

Publication Number Publication Date
JP2010038577A JP2010038577A (ja) 2010-02-18
JP4875673B2 true JP4875673B2 (ja) 2012-02-15

Family

ID=42011303

Family Applications (1)

Application Number Title Priority Date Filing Date
JP2008198739A Active JP4875673B2 (ja) 2008-07-31 2008-07-31 原子炉格納容器用ストレーナ

Country Status (1)

Country Link
JP (1) JP4875673B2 (ja)

Families Citing this family (2)

* Cited by examiner, † Cited by third party
Publication number Priority date Publication date Assignee Title
JP2013156195A (ja) * 2012-01-31 2013-08-15 Mitsubishi Heavy Ind Ltd 原子炉燃料取替用水ピット構造
JP6037633B2 (ja) * 2012-03-23 2016-12-07 三菱重工業株式会社 サンプスクリーン及びサンプスクリーンの施工方法

Family Cites Families (8)

* Cited by examiner, † Cited by third party
Publication number Priority date Publication date Assignee Title
US2378239A (en) * 1942-12-05 1945-06-12 Leopold Co Inc F B Filter bottom
US3615019A (en) * 1970-08-13 1971-10-26 Fred J Early Jr Underdrain system for water filtration plant
FR2384324A1 (fr) * 1977-03-16 1978-10-13 Framatome Sa Puisard de recirculation pour les circuits d'injection de securite et d'aspersion d'un reacteur nucleaire
JPH07260977A (ja) * 1994-03-18 1995-10-13 Mitsubishi Heavy Ind Ltd 燃料取替用水ピットにおける再循環サンプ構造
WO1997036664A1 (en) * 1996-04-01 1997-10-09 Continuum Dynamics, Inc. High capacity, low head loss, suction strainer for nuclear reactors
ATE316413T1 (de) * 2004-01-29 2006-02-15 Cci Ag Schutzsieb zum abschirmen eines saugraums
US7788867B2 (en) * 2004-10-13 2010-09-07 General Electric Company Floor tile debris interceptor and transition plenum in a nuclear power plant
US9672947B2 (en) * 2004-11-15 2017-06-06 Atomic Energy Of Canada Limited Finned strainer

Also Published As

Publication number Publication date
JP2010038577A (ja) 2010-02-18

Similar Documents

Publication Publication Date Title
US20020085660A1 (en) Boiling water reactor nuclear power plant and its construction method
CN104919534B (zh) 用于从核反应堆加压容器移除上部内部构件的装置和方法
KR100970913B1 (ko) 모듈식 일체형 헤드 어셈블리
EP1755129A2 (en) Reactor containment vessel cooling equipment and nuclear power plant
KR101129735B1 (ko) 원자로
KR20090108709A (ko) 가압수형 원자로 유동 스커트 장치
JP2016503902A (ja) 原子炉の炉心を冷却するための受動的システム
KR101250479B1 (ko) 안전보호용기를 구비한 피동형 비상노심냉각설비 및 이를 이용한 열 전달량 증가 방법
US7813465B2 (en) Pressure suppression and decontamination apparatus and method for reactor container
KR20130038867A (ko) 원자로 격납 용기
US7558360B1 (en) Core catcher cooling
JP4875673B2 (ja) 原子炉格納容器用ストレーナ
KR20060052234A (ko) 원자력 발전소용 플로어링 시스템
JP2017062158A (ja) 炉心溶融物保持装置および原子炉格納容器
WO2025167112A1 (zh) 海上核电平台及海上核电平台反应堆舱布置结构
JP4794149B2 (ja) 炉心を含む原子炉圧力容器内に核燃料集合体を支持するための装置
JP6590492B2 (ja) 原子炉格納容器、及び原子炉格納容器の施工方法
JP4458489B2 (ja) 流路形成装置、および自然循環型沸騰水型原子炉
JPH07333383A (ja) 原子力プラント
CN114730641A (zh) 反应堆容器中的熔体保留系统
JP2012008048A (ja) 圧損調節部材及び原子炉
KR20240146719A (ko) 일체형 원자로의 냉각 시스템
JP2003202392A (ja) 原子炉格納装置
US20060050834A1 (en) Coolant recirculation equipment for nuclear reactor
KR20140056946A (ko) 방사능 화학 제염 폐공정수 정화처리장치용 탱크

Legal Events

Date Code Title Description
A977 Report on retrieval

Free format text: JAPANESE INTERMEDIATE CODE: A971007

Effective date: 20100519

A131 Notification of reasons for refusal

Free format text: JAPANESE INTERMEDIATE CODE: A131

Effective date: 20100525

A521 Written amendment

Free format text: JAPANESE INTERMEDIATE CODE: A523

Effective date: 20100723

A131 Notification of reasons for refusal

Free format text: JAPANESE INTERMEDIATE CODE: A131

Effective date: 20110614

A521 Written amendment

Free format text: JAPANESE INTERMEDIATE CODE: A523

Effective date: 20110810

TRDD Decision of grant or rejection written
A01 Written decision to grant a patent or to grant a registration (utility model)

Free format text: JAPANESE INTERMEDIATE CODE: A01

Effective date: 20111101

A01 Written decision to grant a patent or to grant a registration (utility model)

Free format text: JAPANESE INTERMEDIATE CODE: A01

A61 First payment of annual fees (during grant procedure)

Free format text: JAPANESE INTERMEDIATE CODE: A61

Effective date: 20111125

FPAY Renewal fee payment (event date is renewal date of database)

Free format text: PAYMENT UNTIL: 20141202

Year of fee payment: 3

R151 Written notification of patent or utility model registration

Ref document number: 4875673

Country of ref document: JP

Free format text: JAPANESE INTERMEDIATE CODE: R151

FPAY Renewal fee payment (event date is renewal date of database)

Free format text: PAYMENT UNTIL: 20141202

Year of fee payment: 3