JP4807429B2 - エアバッグ装置 - Google Patents

エアバッグ装置 Download PDF

Info

Publication number
JP4807429B2
JP4807429B2 JP2009079180A JP2009079180A JP4807429B2 JP 4807429 B2 JP4807429 B2 JP 4807429B2 JP 2009079180 A JP2009079180 A JP 2009079180A JP 2009079180 A JP2009079180 A JP 2009079180A JP 4807429 B2 JP4807429 B2 JP 4807429B2
Authority
JP
Japan
Prior art keywords
exhaust
valve body
airbag
coupling
wall
Prior art date
Legal status (The legal status is an assumption and is not a legal conclusion. Google has not performed a legal analysis and makes no representation as to the accuracy of the status listed.)
Expired - Fee Related
Application number
JP2009079180A
Other languages
English (en)
Other versions
JP2010228623A (ja
Inventor
健作 本田
祐司 佐藤
幸史 柴山
篤 永田
Current Assignee (The listed assignees may be inaccurate. Google has not performed a legal analysis and makes no representation or warranty as to the accuracy of the list.)
Toyoda Gosei Co Ltd
Original Assignee
Toyoda Gosei Co Ltd
Priority date (The priority date is an assumption and is not a legal conclusion. Google has not performed a legal analysis and makes no representation as to the accuracy of the date listed.)
Filing date
Publication date
Application filed by Toyoda Gosei Co Ltd filed Critical Toyoda Gosei Co Ltd
Priority to JP2009079180A priority Critical patent/JP4807429B2/ja
Priority to US12/659,130 priority patent/US8328232B2/en
Publication of JP2010228623A publication Critical patent/JP2010228623A/ja
Application granted granted Critical
Publication of JP4807429B2 publication Critical patent/JP4807429B2/ja
Expired - Fee Related legal-status Critical Current
Anticipated expiration legal-status Critical

Links

Images

Classifications

    • BPERFORMING OPERATIONS; TRANSPORTING
    • B60VEHICLES IN GENERAL
    • B60RVEHICLES, VEHICLE FITTINGS, OR VEHICLE PARTS, NOT OTHERWISE PROVIDED FOR
    • B60R21/00Arrangements or fittings on vehicles for protecting or preventing injuries to occupants or pedestrians in case of accidents or other traffic risks
    • B60R21/02Occupant safety arrangements or fittings, e.g. crash pads
    • B60R21/16Inflatable occupant restraints or confinements designed to inflate upon impact or impending impact, e.g. air bags
    • B60R21/23Inflatable members
    • B60R21/231Inflatable members characterised by their shape, construction or spatial configuration
    • B60R21/23138Inflatable members characterised by their shape, construction or spatial configuration specially adapted for side protection
    • BPERFORMING OPERATIONS; TRANSPORTING
    • B60VEHICLES IN GENERAL
    • B60RVEHICLES, VEHICLE FITTINGS, OR VEHICLE PARTS, NOT OTHERWISE PROVIDED FOR
    • B60R21/00Arrangements or fittings on vehicles for protecting or preventing injuries to occupants or pedestrians in case of accidents or other traffic risks
    • B60R21/02Occupant safety arrangements or fittings, e.g. crash pads
    • B60R21/16Inflatable occupant restraints or confinements designed to inflate upon impact or impending impact, e.g. air bags
    • B60R21/23Inflatable members
    • B60R21/239Inflatable members characterised by their venting means
    • BPERFORMING OPERATIONS; TRANSPORTING
    • B60VEHICLES IN GENERAL
    • B60RVEHICLES, VEHICLE FITTINGS, OR VEHICLE PARTS, NOT OTHERWISE PROVIDED FOR
    • B60R21/00Arrangements or fittings on vehicles for protecting or preventing injuries to occupants or pedestrians in case of accidents or other traffic risks
    • B60R2021/003Arrangements or fittings on vehicles for protecting or preventing injuries to occupants or pedestrians in case of accidents or other traffic risks characterised by occupant or pedestian
    • B60R2021/0039Body parts of the occupant or pedestrian affected by the accident
    • B60R2021/0044Chest
    • BPERFORMING OPERATIONS; TRANSPORTING
    • B60VEHICLES IN GENERAL
    • B60RVEHICLES, VEHICLE FITTINGS, OR VEHICLE PARTS, NOT OTHERWISE PROVIDED FOR
    • B60R21/00Arrangements or fittings on vehicles for protecting or preventing injuries to occupants or pedestrians in case of accidents or other traffic risks
    • B60R21/02Occupant safety arrangements or fittings, e.g. crash pads
    • B60R21/16Inflatable occupant restraints or confinements designed to inflate upon impact or impending impact, e.g. air bags
    • B60R21/23Inflatable members
    • B60R21/231Inflatable members characterised by their shape, construction or spatial configuration
    • B60R21/23138Inflatable members characterised by their shape, construction or spatial configuration specially adapted for side protection
    • B60R2021/23146Inflatable members characterised by their shape, construction or spatial configuration specially adapted for side protection seat mounted
    • BPERFORMING OPERATIONS; TRANSPORTING
    • B60VEHICLES IN GENERAL
    • B60RVEHICLES, VEHICLE FITTINGS, OR VEHICLE PARTS, NOT OTHERWISE PROVIDED FOR
    • B60R21/00Arrangements or fittings on vehicles for protecting or preventing injuries to occupants or pedestrians in case of accidents or other traffic risks
    • B60R21/02Occupant safety arrangements or fittings, e.g. crash pads
    • B60R21/16Inflatable occupant restraints or confinements designed to inflate upon impact or impending impact, e.g. air bags
    • B60R21/23Inflatable members
    • B60R21/239Inflatable members characterised by their venting means
    • B60R2021/2395Inflatable members characterised by their venting means comprising means to control the venting

Landscapes

  • Engineering & Computer Science (AREA)
  • Mechanical Engineering (AREA)
  • Air Bags (AREA)

Description

本発明は、車両の乗員、歩行者等を保護対象として衝撃から保護すべく同車両に装備されるエアバッグ装置に関し、特に、排気孔(ベントホール)と、これを開閉する排気弁とをエアバッグに設けたエアバッグ装置に関するものである。
車両の乗員、歩行者等を衝撃から保護する装置としてエアバッグ装置が広く知られている。このエアバッグ装置は、一対の布帛部の周縁部を縫合してなるエアバッグと、そのエアバッグ内に配置されたインフレータとを備えている。
また、こうしたエアバッグ装置のうち、例えば、側突等による衝撃から乗員を保護するサイドエアバッグ装置では、上記エアバッグがインフレータとともに車両用シートのシートバック(背もたれ)等に組み込まれている。
上記サイドエアバッグ装置では、車両のボディサイド部に側方から衝撃が加わると、インフレータから膨張用ガスがエアバッグ内に供給される。この膨張用ガスによりエアバッグが膨張展開を開始し、一部をシートバック内に残した状態で車両用シートから飛び出す。このエアバッグは、車両用シートに着座した乗員とボディサイド部との間の狭い空間において、前方へ向けて膨張展開される。膨張展開したエアバッグが、乗員と車室内に侵入してくるボディサイド部との間に介在して乗員を拘束・保護する。また、膨張展開したエアバッグ内の余剰の膨張用ガスは、そのエアバッグに設けられた排気孔(ベントホール)を通じてエアバッグの外部へ排出される。
こうした排気孔に関連する技術として、例えば、特許文献1には、エアバッグの内圧に応じて排気孔を開閉する排気弁を設けたエアバッグ装置が記載されている。このエアバッグ装置では、排気孔に重なる開口を有するシートを排気弁とし、この排気弁をエアバッグの外側に配置して同排気孔の周縁部に結合し、さらに排気弁の開口を挟んだ一半側と他半側とを結合部で結合することにより、排気孔を閉じている。そして、エアバッグの内圧が所定値以上となったときに排気弁の一半側と他半側との結合が解除されるように、結合部を形成している。
このエアバッグ装置によると、エアバッグが膨張し、その内圧が所定値に達するまでは、排気弁によって排気孔が閉塞されるため、排気孔からエアバッグ外に膨張用ガスが排出されない。従って、エアバッグの内圧が速やかに上昇し、エアバッグの展開が促進(迅速化)される。そして、エアバッグの内圧が所定値以上になると、排気弁の一半側と他半側との結合部による結合が解除されて排気孔が開放されるため、排気孔からエアバッグの外部へ膨張用ガスが排出されて内圧が低下する。乗員は、適度な硬さのエアバッグによって衝撃から保護される。
特開2007−22306号公報
上記特許文献1に記載のエアバッグ装置では、エアバッグの内圧に応じて排気弁を作動させて排気孔を開閉することができる。しかしながら、排気孔を開放させるために、結合部による排気弁の一半側と他半側との結合解除を、その結合部を破断させることにより行なっている。このような結合部を物理的に破壊させる方法では、内圧に応じて、すなわち内圧が所定値よりも低い状態から所定値以上になったときに、同結合部の破断強度のバラツキを収束させ難いことから、その分、排気孔を開放させるタイミングがバラつく。このタイミングのバラツキを収束し、安定性を向上する点で、改良の余地が有る。
本発明は、このような実情に鑑みてなされたものであって、その目的は、結合部の破断という方法に頼らず、排気孔を開放させるタイミングのバラツキを収束可能な排気弁を簡便な構成で提供することにある。
上記の目的を達成するために、請求項1に記載の発明は、膨張部内の膨張用ガスを排出するための排気孔を、同膨張部の一対の排気壁部間に有するエアバッグと、前記エアバッグ内の前記排気孔の近傍に配置された第1弁体部及び第2弁体部を有する排気弁とを備え、前記エアバッグの内圧に応じて前記排気弁を作動させて前記排気孔を開閉するようにしたエアバッグ装置であって、前記第1弁体部及び第2弁体部の排気下流側の各端部は、前記膨張用ガスの排気方向に交差する方向へ延びる下流端結合部にて対応する前記排気壁部に結合され、前記第1弁体部及び前記第2弁体部について、前記両下流端結合部の排気上流側の近傍部分には、前記膨張用ガスの排気方向へ撓み得る可撓部が設けられ、前記第1弁体部及び前記第2弁体部の各々について、前記下流端結合部の延出方向の一側部は、一側縁結合部により少なくとも対応する排気壁部に対し結合され、前記一側縁結合部上又はその近傍には、少なくとも前記両排気壁部を相互に結合する壁部結合部が設けられ、前記第1弁体部及び前記第2弁体部について、前記下流端結合部の延出方向の他側部は、排気上流側へ延びる他側縁結合部により相互に結合され、前記一側縁結合部及び前記他側縁結合部間であって、同他側縁結合部の近傍には、前記第1弁体部及び前記第2弁体部を相互に結合するとともに、前記可撓部の排気上流側近傍となる箇所を起点として、さらに排気上流側へ延びる補助結合部が設けられ、前記排気弁の前記補助結合部上又はその近傍には、排気上流側へ延び、かつ前記可撓部よりも撓みにくい難撓部が設けられていることを要旨とする。
上記の構成によれば、非膨張状態の膨張部に対し膨張用ガスが供給されると、その膨張用ガスの一部が、排気弁における第1弁体部及び第2弁体部間を流れて膨張部の外部へ抜け出ようとする。第1弁体部及び第2弁体部間に膨張用ガスが流入すると、両弁体部には、円筒状になろうとする力が発生する。ただし、排気弁では、可撓部と、それよりも排気上流側の部分とで内径(周長)が異なる。後者の方が、他側縁結合部の分、内径(周長)が小さくなる。そのため、両弁体部における可撓部よりも排気上流側の部分は、同可撓部よりも小さな内径で円筒状に膨張しようとする。
しかし、各弁体部について、両下流端結合部の延出方向の一側部が、一側縁結合部により少なくとも対応する排気壁部に結合されているのに対し、他側部は、他側縁結合部によって相互に結合されるにとどまり、排気壁部に結合されていない。両弁体部の上記一側部が両排気壁部に対し動けないのに対し、上記他側部は、両排気壁部に対し動き得る。また、難撓部は撓みにくいが、可撓部は撓みやすい。
そのため、両弁体部が上記のように異なる内径(周長)で円筒状に膨張しようとすると、可撓部が排気下流側へ引き寄せられて撓む。これに伴い、両弁体部における可撓部よりも排気上流側の部分は、難撓部の排気下流側の端部を支点として、両下流端結合部側かつ壁部結合部側へ引き寄せられる。この引き寄せにより、難撓部は、排気上流側ほど壁部結合部側に位置するような傾斜状態となる。
ここで、上述したように膨張用ガスは両弁体部間を流れてエアバッグの外部へ抜け出ようとするため、両弁体部間では膨張用ガスの圧力が上昇しにくい。
一方、膨張用ガスによりエアバッグが膨張を開始する。両弁体部間の膨張用ガスの圧力が上昇しにくいのに対し、エアバッグが膨張することから、各弁体部と、対応する排気壁部との間隔が拡がる。各弁体部の排気下流側の端部が、下流端結合部によって、対応する排気壁部に結合されていて、同下流側結合部よりも排気下流側へ膨張用ガスが流れることができないことから、弁体部と対応する排気壁部との間に膨張用ガスが溜まる。
各弁体部と、それに対応する排気壁部との間の膨張用ガスの圧力が、両弁体部間の膨張用ガスの圧力に打ち勝つと、排気弁が次のように作動する。内径(周長)の相違から排気下流側へ引き寄せられて撓んだ可撓部が、膨張用ガスの圧力を受けて、同排気下流側へ押圧される。この押圧により可撓部が押され、それに伴い、両弁体部における可撓部よりも排気上流側の部分が、両下流端結合部側かつ壁部結合部側へさらに引き寄せられる。
この際、難撓部もまた引き寄せられて、両下流端結合部に接近する。難撓部は、排気下流側の端部を支点とし、自身の形状を保ちながら、両下流端結合部側かつ壁部結合部側へ倒れ込む。このときには、両弁体部における可撓部よりも排気上流側の部分のうち、難撓部を除く部分もまた、上記可撓部と同様に、排気下流側へ向かう膨張部内の膨張用ガスの圧力を受ける。この圧力を受けた部分が、両弁体部間に押し込まれるように折り曲げられる。これに伴い、両弁体部間の膨張用ガスの流路が小さくなっていき、やがて排気孔が排気弁によって閉塞された状態となる。
排気孔の閉塞された膨張部内に膨張用ガスが供給され続けることで、又は、膨張状態のエアバッグによって乗員が拘束されることで、膨張部の内圧が過剰に上昇すると、上記難撓部とその近傍部分とが、両弁体部間から膨張部の外部へ押し出される(両弁体部が反転する)。この押し出し(反転)により、それまで排気弁によって閉塞されていた排気孔が開放され、膨張部内の膨張用ガスが排気孔を通って膨張部の外部へ排出される。この排出によって、膨張部の内圧が低下する。
排気弁によって排気孔を開放させるタイミングのバラツキは、結合部を破断させることにより排気孔を開放させる場合よりも小さくなる。これは、排気弁には、排気孔の開放のために物理的に破断させる箇所がなく、破断に伴う破断強度のバラツキを生ずる箇所がないことによる。膨張部の内圧に応じた排気弁の作動が上記破断に伴う破断強度のバラツキの影響を受けない分、同排気弁による排気孔の開放タイミングのバラツキが小さくなる。
このように、排気弁は簡便な構成でありながら、結合部の破断という方法に頼らず、排気孔を開放させるタイミングのバラツキを小さくしつつ安定して作動する。
請求項2に記載の発明は、請求項1に記載の発明において、前記難撓部の長さが、前記壁部結合部において前記難撓部との間の間隔が最も狭くなる箇所と、前記下流端結合部における難撓部側の端部との間隔よりも長く設定されていることを要旨とする。
難撓部の長さが上記間隔よりも長く設定されることにより、同難撓部は上記のように倒れ込む途中で壁部結合部に当接する。この壁部結合部は、難撓部がそれ以上両下流端結合部側かつ壁部結合部側へ倒れ込むのを規制する。そして、この状態になると、排気孔が排気弁によって実質的に閉塞された状態となり、膨張部内の膨張用ガスが、両弁体部間を通って膨張部の外部へ流れる(排出される)ことが確実に規制される。
請求項3に記載の発明は、請求項1又は2に記載の発明において、前記難撓部は、前記第1弁体部及び前記第2弁体部を縫糸で縫合することにより形成されていることを要旨とする。
ここで、難撓部を硬質の材料によって形成することも考えられるが、この場合には、難撓部の撓みにくさを変更することが容易ではない。この点、請求項3に記載の発明では、もともと撓みやすい材料(布帛等)からなる両弁体部を縫糸で縫合することにより、難撓部を形成しているに過ぎない。そのため、こういった簡単な構成でありながら、可撓部よりも撓みにくい難撓部が容易に形成される。また、縫糸の種類を変えたり、本数を変えたりすることで、難撓部の撓みにくさを容易に調整し、もって難撓部が変形し反転するタイミング等を容易に設定・変更することが可能である。
請求項4に記載の発明は、請求項1〜3のいずれか1つに記載の発明において、前記一側縁結合部及び前記壁部結合部は、前記第1弁体部、前記第2弁体部及び前記両排気壁部を縫糸で縫合することにより形成されていることを要旨とする。
上記の構成によれば、第1弁体部、前記第2弁体部及び前記両排気壁部を縫糸で縫合することにより、一側縁結合部及び壁部結合部が同時に形成される。そのため、これらを別々に形成する場合に比べ、簡単かつ短時間で一側縁結合部及び壁部結合部を形成することが可能となる。
上記請求項1〜4のいずれか1つに記載の発明におけるエアバッグとしては、例えば、請求項5に記載の発明によるように、車両に対する側方からの衝撃に応じて供給される膨張用ガスにより、前記車両のボディサイド部と、車両用シートに着座した乗員との間で同車両の前方へ向けて膨張展開するものを用いることができる。
本発明のエアバッグ装置によれば、結合部の破断という方法に頼らず、排気孔を開放させるタイミングのバラツキを収束可能な排気弁を簡便な構成で提供することができる。
本発明をサイドエアバッグ装置に具体化した一実施形態において、同サイドエアバッグ装置が装備された車両用シートを乗員とともに示す側面図。 車両用シート、乗員及びボディサイド部の位置関係を示す平断面図。 車両用シート、乗員及びボディサイド部の位置関係を示す正断面図。 エアバッグが平面展開状態にされたエアバッグモジュールを乗員とともに示す側面図。 図4のエアバッグ内に配置されたインフレータアセンブリを示す側面図。 図5のインフレータアセンブリを斜め後ろ上方から見た状態を、シートフレーム、ナット、エアバッグ等とともに示す平面図。 エアバッグモジュールを製作する途中の段階を示す図であり、エアバッグ及び排気弁を平面状に展開させた状態を、インフレータアセンブリとともに示す展開図。 シートバックが略鉛直状に起立されたときのエアバッグモジュールの内部構造を示す図であり、排気弁及びその周辺部分を拡大して示す部分断面図。 エアバッグの膨張初期における排気弁の状態を示す部分断面図。 図8におけるR−R線に沿った断面構造を示す部分断面図。 エアバッグが膨張する前の排気弁の状態を模式的に示す説明図。 エアバッグの膨張初期における排気弁の状態を模式的に示す説明図。 図12の排気弁がさらに作動した状態を模式的に示す説明図。 エアバッグの内圧上昇により図13の排気弁が作動して排気孔が閉塞される状態を模式的に示す説明図。 図14の排気弁によって排気孔が完全に閉塞されて膨張用ガスの排気が規制される様子を模式的に示す説明図。 図15における排気弁の難撓部が反転して排気孔が開放された様子を模式的に示す説明図。 サイドエアバッグ装置のS(ストローク)−F(荷重)特性図。 図8に対応する図であり、一側縁結合部とは別の箇所に壁部結合部を設けた排気弁の別例を示す部分断面図。 図18におけるS−S線に沿った排気弁の断面構造を示す部分断面図。 図8に対応する図であり、補助結合部とは別の箇所に難撓部を設けた排気弁の別例を示す部分断面図。 図20におけるT−T線に沿った排気弁の断面構造を示す部分断面図。
以下、本発明をサイドエアバッグ装置に具体化した一実施形態について、図1〜図17を参照して説明する。なお、以下の記載においては、車両の進行方向(前進方向)を前方として説明する。
図1〜図3の少なくとも1つに示すように、車両10においてボディサイド部11の車内側の近傍には車両用シート12が配置されている。ここで、ボディサイド部11とは、車両10の車幅方向についての両側部に配置された部材を指す。例えば、前席に対応するボディサイド部11は、フロントドア、センターピラー(Bピラー)等である。また、後席に対応するボディサイド部11は、サイドドア(リアドア)の後部、リヤピラー(Cピラー)、タイヤハウスの前部、リアクォータ等である。
車両用シート12は、シートクッション(座部)13と、そのシートクッション13の後側から起立し、かつ傾き調整機構(図示略)を有するシートバック(背もたれ部)14とを備えて構成されている。シートバック14の車外側の側部には収納部15が設けられており、サイドエアバッグ装置の主要部をなすエアバッグモジュールAMがこの収納部15に収納されている。収納部15の位置は、車両用シート12に着座した乗員Pの斜め後方近傍となる。エアバッグモジュールAMは、ガス供給源としてのインフレータアセンブリ20(図5参照)と、そのインフレータアセンブリ20から供給される膨張用ガスGによって膨張するエアバッグ30とを主要な構成部材として備えている。
次に、これらの構成部材の各々について説明する。ここで、本実施形態では、エアバッグモジュールAM及びその構成部材について「上下方向」、「前後方向」というときは、車両用シート12のシートバック14を基準としている。シートバック14の起立する方向を「上下方向」とし、シートバック14の厚み方向を「前後方向」としている。通常、シートバック14は後方へ多少傾斜した状態で使用されることから、「上下方向」は厳密には鉛直方向ではなく、多少傾斜している。同様に、「前後方向」は厳密には水平方向ではなく、多少傾斜している。
<インフレータアセンブリ20>
図4は、エアバッグ30が膨張用ガスGを充填させることなく平面状に展開させられた状態(以下「平面展開状態」という)のエアバッグモジュールAMを、乗員Pとともに模式的に示している。また、図5は、図4のエアバッグ30内に配置されたインフレータアセンブリ20を示している。さらに、図6は、図5のインフレータアセンブリ20を斜め後ろ上方から見た状態を示している。
これらの図4〜図6の少なくとも1つに示すように、インフレータアセンブリ20は、インフレータ21と、そのインフレータ21を外側から覆うリテーナ22とを備えて構成されている。インフレータ21は略上下方向に細長い略円柱状をなしており、その内部には、外部からの作動信号に応じて反応して膨張用ガスGを生ずるガス発生剤(図示略)が収容されている。インフレータ21の上部には、生成した膨張用ガスGを径方向外方へ噴出する複数のガス噴出孔23が設けられている。インフレータ21の下端部にはコネクタ部24が設けられており、同インフレータ21への制御信号の印加配線となるハーネス25がコネクタ部24に接続されている。
なお、インフレータ21としては、上記ガス発生剤を用いたタイプに代えて、高圧ガスの充填された高圧ガスボンベの隔壁を火薬等によって破断して膨張用ガスGを噴出させるタイプが用いられてもよい。
一方、リテーナ22は、ディフューザとして機能するとともに、上記インフレータ21をエアバッグ30と一緒にシートバック14内のシートフレーム16(図6参照)に固定する機能を有する部材である。リテーナ22の大部分は、金属板等の板材を曲げ加工等することによって、略上下方向に細長い略円筒状に形成されている。リテーナ22の上部前側には、インフレータ21の一部のガス噴出孔23をリテーナ22から露出させる窓部26が設けられており、ガス噴出孔23からの膨張用ガスGが、この窓部26を通じ概ね車両前方へ向けて導出される。
リテーナ22には、これを上記シートフレーム16に取付けるための係止部材として、複数本(本実施形態では2本)のボルト27が固定されている。表現を変えると、ボルト27が、リテーナ22を介してインフレータ21に間接的に固定されている。これらのボルト27は、インフレータ21の軸線L1に直交する方向へ向けて延びている。
なお、インフレータアセンブリ20は、インフレータ21とリテーナ22とが一体になったものであってもよい。
<エアバッグ30>
図1〜図3の少なくとも1つに示すように、エアバッグ30は、車両10の走行中等に側突等により衝撃が外側方(図2では下方、図3では左方)からボディサイド部11に加わったときに、上記インフレータ21からの膨張用ガスG(図5及び図6参照)により膨張展開する。そして、エアバッグ30は、その一部を収納部15内に残した状態で同収納部15から車両10の略前方へ向けて飛び出し、車両用シート12及びボディサイド部11間の隙間G1で膨張展開することにより乗員Pを拘束して上記衝撃から保護するためのものである。
図7は、エアバッグ30の製作途中の状態を示している。図4及び図7の少なくとも一方に示すように、エアバッグ30は、1枚の布帛からなるパネル布(基布とも呼ばれる)31を、その中央部分に設定した折り線32に沿って二つ折りして車幅方向に重ね合わせ、その重ね合わされた部分を袋状となるように結合させることにより形成されている。ここでは、エアバッグ30の上記の重ね合わされた2つの部分を区別するために、車内側に位置するものを布帛部33といい、車外側に位置するものを布帛部34というものとする。
パネル布31においては、両布帛部33,34の外形形状が、折り線32を対称軸として互いに線対称の関係にある。各布帛部33,34の形状・大きさは、エアバッグ30が車両用シート12及びボディサイド部11間で膨張展開したときに、車両用シート12に着座している乗員Pの外側方近傍で、胸部PTに対応する領域を占有し得るように設定されている。
車内側の布帛部33において、上記折り線32の近傍の上下方向に互いに離間した2箇所には、ボルト孔35があけられている。
両布帛部33,34の上記結合は、それらの周縁部に設けられた周縁結合部36においてなされている。本実施形態では、周縁結合部36は、両布帛部33,34の周縁部のうち、後縁部及び上下両端部を除く部分を、縫製(縫糸で縫合)することにより形成されている。
この縫製に関し、図4、図7、図8、図11〜図16、図18及び図20では、2つの線種で縫製部分を表現している。一方の線種は、一定長さの太線を断続的に並べて表現した線(破線の一種)であり、これは、縫合の対象となる布の外側(布間ではない)における縫糸の状態を示している(図4、図7等参照)。他方の線種は、点を一定間隔おきに並べて表現した線(破線の一種)であり、これは、縫合の対象となる布の内側(布間)における縫糸の状態を示している(図8、図11等参照)。すなわち、縫製が後者の態様で表現されている図は、縫製部分を通る断面に沿った断面構造を示している。
両布帛部33,34間であって、周縁結合部36によって囲まれた空間は、膨張用ガスGによって乗員Pの胸部PTの外側方近傍で膨張することにより、衝撃から同乗員Pの胸部PTを保護するための膨張部37となっている。本実施形態では、エアバッグ30の内部空間が区画されておらず、同エアバッグ30は、1つの膨張部37を有しているのみである。
なお、エアバッグ30は、互いに独立した一対のパネル布31を車幅方向に重ね合わせ、車内側に位置するパネル布31を布帛部33とし、車外側に位置するパネル布31を布帛部34とし、両布帛部33,34を袋状となるように結合させることにより形成されたものであってもよい。また、周縁結合部36は、上記縫糸を用いた縫合とは異なる手段、例えば接着剤を用いた接着によって形成されてもよい。この点は、後述する第1下流端結合部53、第2下流端結合部54、一側縁結合部55、壁部結合部57、難撓部59及び補助結合部61についても同様である。
<エアバッグ30等に対するインフレータアセンブリ20の取付け態様>
上記インフレータアセンブリ20は、図4に示すように、前側ほど低くなるように傾斜させられた姿勢で、エアバッグ30内の下部であって上記折り線32の前側近傍に配設されている。そして、リテーナ22の2本のボルト27が、車内側の布帛部33の対応するボルト孔35(図7参照)に挿通されている。こうした挿通により、インフレータアセンブリ20がエアバッグ30に対し位置決めされた状態で係止されている。さらに、エアバッグ30の後部下端は、環状の締結具28により、インフレータアセンブリ20の下部に気密状態で締付けられている。
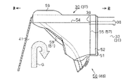
さらに、エアバッグ30には膨張部37の内圧を調整すべく膨張用ガスGを排出するための排気孔(ベントホールとも呼ばれる)38が設けられている。この排気孔38は、本実施形態では、エアバッグ30の上端部であって、折り線32の前方近傍に設けられている。そのため、エアバッグ30の膨張部37内の膨張用ガスGは、この排気孔38を通じて略上方へ排出される。このときの膨張用ガスGの流通方向を「排気方向」といい、排気孔38を基準として膨張部37の中心部に近づく側を「排気上流側」とし、排気孔38を基準として膨張部37の中心部から遠ざかる側(エアバッグ30の外部側)を「排気下流側」というものとする。
図8〜図10の少なくとも1つに示すように、排気孔38は、車幅方向に折り重ねられた両布帛部33,34の上部の一部であって、周縁結合部36が設けられていない箇所によって構成されている。なお、車内側の布帛部33について、排気孔38及びその近傍を構成する部分を、他の箇所と区別するために「第1排気壁部41」という。また、車外側の布帛部34について、排気孔38及びその近傍を構成する部分を、他の箇所と区別するために「第2排気壁部42」というものとする。両排気壁部41,42は、エアバッグ30の非膨張時にはともに扁平な状態となる。
さらに、本実施形態では、上記排気孔38を膨張部37の内圧に応じて開閉する排気弁50が設けられている。次に、この排気弁50について説明する。
<排気弁50>
図7〜図10の少なくとも1つに示すように、排気弁50は、1枚の布帛48を用いて形成されている。布帛48は、上記パネル布31の折り線32を含め、同パネル布31の布帛部33,34に跨った状態で配置されている。布帛48は、自身の中央部分に設定された折り線49をパネル布31の折り線32に合致させた状態で、同パネル布31とともに折り線32,49に沿って二つ折りされることによって車幅方向に扁平な状態で重ね合わされている。ここで、布帛48の重ね合わされた2つの部分を区別するために、車内側に位置するものを第1弁体部51といい、車外側に位置するものを第2弁体部52というものとする。
車内側の第1弁体部51の排気下流側の端部は、膨張用ガスGの排気方向に交差する方向である略前後方向へ延びる第1下流端結合部53によって、エアバッグ30の車内側の第1排気壁部41に結合されている。同様に、車外側の第2弁体部52の排気下流側の端部は、膨張用ガスGの排気方向に交差する方向である略前後方向へ延びる第2下流端結合部54によって、エアバッグ30の車外側の第2排気壁部42に結合されている。排気弁50においては、車内側の第1弁体部51と車外側の第2弁体部52とは、排気下流側の端部において相互に結合されていない。
図8〜図10の少なくとも1つに示すように、第1弁体部51及び第2弁体部52の各々について、両下流端結合部53,54の延出方向の一側部である前側部は、一側縁結合部55により少なくとも対応する排気壁部41,42に対し結合されている。本実施形態では、両弁体部51,52の前側部は、一側縁結合部55によって両排気壁部41,42に一体に結合されている。この一側縁結合部55は、両弁体部51,52の前側部及び両排気壁部41,42を、一緒に縫合(共縫い)することによって形成されている。一側縁結合部55は、両弁体部51,52の排気下流側の端部から排気上流側へ向けて延び、両弁体部51,52の排気上流側の端部に至っている。一側縁結合部55の排気下流側の端部は、周縁結合部36と交差している。また、上記一側縁結合部55は壁部結合部57も兼ねている。壁部結合部57は、一側縁結合部55上又はその近傍に設けられて、少なくとも両排気壁部41,42を相互に結合するものである。
第1弁体部51について、第1下流端結合部53の排気上流側の近傍部分、より具体的には、第1下流端結合部53と、そこから排気上流側へ長さL2離れた箇所との間の領域(図8において一点鎖線で囲まれた領域)は、柔らかく膨張用ガスGの圧力によって排気下流側へ容易に撓むことのできる可撓部58とされている。また、第2弁体部52について、第2下流端結合部54の排気上流側の近傍部分も、上記と同様に、柔らかく膨張用ガスGによって排気下流側へ容易に撓むことのできる可撓部58とされている。
第1弁体部51及び第2弁体部52について、両下流端結合部53,54の延出方向の他側部である後側部は、排気上流側へ延びる他側縁結合部56によって相互に結合されている。1枚の布帛48を、折り線49に沿って二つ折りすることによって車内側の第1弁体部51及び車外側の第2弁体部52を形成した本実施形態では、その折り返し部分(折り線49の近傍部分)が、上記他側縁結合部56に相当する。
さらに、両弁体部51,52について、両下流端結合部53,54の延出方向の他側部(後側部)、より正確には、布帛48の折り線49から前方へ若干離れた箇所には難撓部59が設けられている。難撓部59は、同他側部(後側部)において、可撓部58の排気上流側近傍となる箇所を起点として、さらに排気上流側へ延びている。ここで、排気上流側近傍となる箇所とは、上記可撓部58を挟んで両下流端結合部53,54から下方へ一定距離(長さL2)隔てた箇所である。難撓部59は、両弁体部51,52を縫糸によって1列又は複数列(ここでは2列)に縫合することによって形成されており、上記可撓部58よりも、また、排気弁50における他の結合部(両下流端結合部53,54、一側縁結合部55、他側縁結合部56及び壁部結合部57)よりも硬く(剛性が高く)、撓みにくくなっている。
この難撓部59は補助結合部61を兼ねている。補助結合部61は、上記両弁体部51,52の一側縁結合部55及び他側縁結合部56間であって、同他側縁結合部56の前側近傍において、第1弁体部51及び第2弁体部52を相互に結合するものである。また、補助結合部61は、上記可撓部58を挟んで下流端結合部53,54から排気上流側へ離れた箇所を起点として、前記排気上流側へ延びるものである。
一側縁結合部55(壁部結合部57)についても難撓部59(補助結合部61)についても、排気上流側へ向けて直線状に延びていることから、一側縁結合部55(壁部結合部57)と難撓部59(補助結合部61)とは互いに平行の関係にある。そのため、一側縁結合部55(壁部結合部57)と難撓部59(補助結合部61)との間隔(膨張用ガスGの流路面積)は、それらの長さ方向(排気方向)のどの箇所においても一定である。
上記難撓部59は、両排気壁部41,42の排気下流側の端部や両弁体部51,52の排気下流側の端部が開く(相手から離れる方向へ動く)のを規制する。この規制の程度は、難撓部59の下流端59Eが両下流端結合部53,54に近づくほど(長さL2が短くなるほど)又は難撓部59が壁部結合部57に近づくほど強くなる。そのため、難撓部59の下流端59Eは、両排気壁部41,42及び両弁体部51,52の各下流端の開放動作を大きく妨げることのない位置(高さ)に設定されている。
ここで、上記の構成を有する排気弁50では、図11に示すように、難撓部59(補助結合部61)が布帛48の折り線49(他側縁結合部56)から前方へ離れた箇所に設けられている。このことから、可撓部58において、折り線49(他側縁結合部56)と壁部結合部57(一側縁結合部55)との間隔D1は、難撓部59(補助結合部61)と壁部結合部57(一側縁結合部55)との間隔D2よりも大きくなっている。このことは、両弁体部51,52間を膨張用ガスGが流れることで排気弁50が膨張する際、難撓部59(補助結合部61)と壁部結合部57(一側縁結合部55)との間の領域が、他側縁結合部56と壁部結合部57(一側縁結合部55)との間の領域である可撓部58よりも小さな内径で円筒状に膨張することを意味する。
また、図8に示すように難撓部59の長さをL3とする。壁部結合部57(一側縁結合部55)において難撓部59との間の間隔が最も狭くなる箇所Bと、両下流端結合部53,54における難撓部59側の端部Cとの間隔をD3とする。本実施形態では、L3>D3の関係が満たされるように、長さL3及び間隔D3が設定されている。なお、本実施形態では上述したように、難撓部59(補助結合部61)と一側縁結合部55(壁部結合部57)とが平行の関係にある。このことから、一側縁結合部55(壁部結合部57)において難撓部59(補助結合部61)の前側となる部分では、排気方向に沿った、どの箇所であっても、同難撓部59(補助結合部61)との間隔が最も狭くなる箇所Bに該当する。
第1弁体部51の排気上流側の端部と、第2弁体部52の排気上流側の端部とは、両弁体部51,52の排気上流側となる部分において相互に結合されていない。また、上述したように、第1弁体部51の排気下流側の端部が、第1排気壁部41(車内側の布帛部33)に結合され、第2弁体部52の排気下流側の端部が、第2排気壁部42(車外側の布帛部34)に結合されているが、それらの排気下流側の端部同士は結合されていない。従って、排気弁50は、排気上流側の端部及び排気下流側の端部において開放された筒状に膨張することが可能である。
図9に示すように、排気弁50の車内側の第1弁体部51が第1下流端結合部53によって車内側の布帛部33に結合されていることから、膨張用ガスGはそれら第1弁体部51及び布帛部33間を通って、膨張部37の内から外へ向けて、又はその逆方向へ向けて流れることが不能である。同様に、排気弁50の車外側の第2弁体部52が第2下流端結合部54によって車外側の布帛部34に結合されていることから、膨張用ガスGはそれら第2弁体部52及び布帛部34間を通って、膨張部37の内から外へ向けて、又はその逆方向へ向けて流れることが不能である。膨張用ガスGは、排気弁50の両弁体部51,52間を流路として通ることをもってのみ、膨張部37の内から外へ向けて流れることが可能である。
ところで、エアバッグモジュールAMは、図6に示すように、上記平面展開状態のエアバッグ30(図4参照)が折り畳まれることにより、前後方向にも上下方向にも寸法が小さなコンパクトな形態(以下「収納用形態」という)にされている。これは、エアバッグモジュールAMを、シートバック14における限られた大きさの(狭い)収納部15に対して収納に適したものとするためである。
上記収納用形態にされたエアバッグモジュールAMは、エアバッグ30のボルト孔35に挿通されたボルト27がシートフレーム16に挿通され、このボルト27にナット17が締め付けられることにより、同シートフレーム16に固定される。
なお、リテーナ22は、上述したボルト27とは異なる部材によって車両10(シートフレーム16等)に固定されてもよい。
サイドエアバッグ装置は、上述したエアバッグモジュールAMのほかに図1に示す衝撃センサ71及び制御装置72を備えている。衝撃センサ71は加速度センサ等からなり、車両10のボディサイド部11等に取付けられており、同ボディサイド部11に外側方から加えられる衝撃を検出する。制御装置72は、衝撃センサ71からの検出信号に基づきインフレータ21の作動を制御する。
上記のようにして、本実施形態のサイドエアバッグ装置が構成されている。次に、このサイドエアバッグ装置の代表的な動作の態様(モード)について、図12〜図16を参照して説明する。これら図12〜図16は、排気弁50の形態が、膨張用ガスGの供給・停止状況に応じて時間とともに変化する様子を模式的に示したものであり、細部については省略・簡略化されている。
このサイドエアバッグ装置では、側突等により車両10に対し側方から衝撃が加わらないときには、エアバッグ30は収納用形態にされて、インフレータアセンブリ20とともに収納部15に収納され続ける。このとき、排気弁50では、両弁体部51,52が重なり合い続ける(図11参照)。
これに対し、車両10の走行中にボディサイド部11に所定値以上の衝撃が加わり、そのことが衝撃センサ71によって検出されると、その検出信号に基づき制御装置72からインフレータ21に対し、これを作動させるための作動信号が出力される。この作動信号に応じて、インフレータ21では、図5及び図6に示すように、ガス発生剤が高温高圧の膨張用ガスGを発生し、これを複数のガス噴出孔23からインフレータ21の軸線L1に直交する方向(径方向)へ噴出する。この際、複数のガス噴出孔23のうち後ろ側のものがリテーナ22によって閉塞され、前側のものが窓部26から露出している。そのため、前側のガス噴出孔23から膨張用ガスGが窓部26を通じ略車両前方へ向けて噴出される。この略車両前方には、前方のほか、前上方及び前下方も含まれる。
非膨張状態の膨張部37に対し膨張用ガスGが供給されると、その膨張用ガスGの一部が、排気弁50における第1弁体部51及び第2弁体部52間を流れて膨張部37の外部へ抜け出ようとする(図9参照)。第1弁体部51及び第2弁体部52間を膨張用ガスGが流入すると、両弁体部51,52には、図9及び図12に示すように、円筒状になろうとする力が発生する。
これは、1つには、第1弁体部51の排気下流側の端部が第1排気壁部41に結合され、第2弁体部52の排気下流側の端部が第2排気壁部42に結合されていることによる。さらに、両弁体部51,52について、両下流端結合部53,54の延出方向の一側部(前側部)が両排気壁部41,42に対し、一側縁結合部55(壁部結合部57)によって一体に結合されていることと、同方向の他側部(後側部)が難撓部59(補助結合部61)及び他側縁結合部56によって相互に結合されていることにもよる。
ただし、両弁体部51,52が円筒状になろうとする際、可撓部58と、それよりも排気上流側の部分とでは内径(周長)が異なる。前述したように、排気弁50では、難撓部59(補助結合部61)が布帛48の他側縁結合部56(折り線49)から前方へ離れた箇所に設けられている。このことから、可撓部58において、他側縁結合部56(折り線49)と壁部結合部57(一側縁結合部55)との間隔D1が、難撓部59(補助結合部61)と壁部結合部57(一側縁結合部55)との間隔D2よりも大きくなっている(図11参照)。そのため、両弁体部51,52における可撓部58よりも排気上流側の部分は、可撓部58よりも小さな内径(周長)で円筒状に膨張しようとする。
しかし、上述したように、両弁体部51,52について、両下流端結合部53,54の延出方向の一側部(前側部)が両排気壁部41,42に結合されているのに対し、同方向の他側部(後側部)は、難撓部59(補助結合部61)によって互いに結合されるにとどまり、両排気壁部41,42に結合されていない。両弁体部51,52の上記一側部(前側部)が両排気壁部41,42に対し動けないのに対し、上記他側部(後側部)は、両排気壁部41,42に対し動き得る。また、両弁体部51,52について、難撓部59は硬く撓みにくいが、可撓部58は柔らかく撓みやすい。
そのため、上記のように、両弁体部51,52における可撓部58が大きな内径(周長)で円筒状に膨張し、可撓部58よりも排気上流側の部分が小さな内径(周長)で円筒状に膨張しようとすると、可撓部58が排気下流側へ引き寄せられて撓む。これに伴い、両弁体部51,52における可撓部58よりも排気上流側の部分は、難撓部59の下流端59Eの近傍部分(図13において一点鎖線の枠Fで囲まれた箇所)を支点として、図12において矢印Aで示すように、両下流端結合部53,54側(上側)かつ壁部結合部57(一側縁結合部55)側(前側)へ引き寄せられる。この引き寄せにより、難撓部59は、排気上流側ほど前方に位置するような傾斜状態となる。また、両弁体部51,52において可撓部58よりも排気上流側の部分では、難撓部59が撓みにくいのに対し、それ以外の部分が撓みやすいことから、前記引き寄せに伴い、壁部結合部57(一側縁結合部55)及び難撓部59(補助結合部61)間の撓みやすい部分に皺が入りやすくなる。
ここで、上述したように膨張用ガスGは第1弁体部51及び第2弁体部52間を流れてエアバッグ30の外部へ抜け出ようとするため、両弁体部51,52間では膨張用ガスGの圧力が上昇しにくい。
一方、膨張用ガスGによりエアバッグ30が膨張を開始する。両弁体部51,52間の膨張用ガスGの圧力が上昇しにくいのに対し、エアバッグ30が膨張することから、各弁体部51,52と、対応する排気壁部41,42との間隔が拡がる(図9参照)。各弁体部51,52の排気下流側の端部が、膨張用ガスGの排気方向に交差する方向へ延びる下流端結合部53,54にて対応する排気壁部41,42に結合されていて、膨張用ガスGは、同下流端結合部53,54よりも排気下流側へ流れることができない。このことから、第1弁体部51と第1排気壁部41との間や、第2弁体部52と第2排気壁部42との間に膨張用ガスGが溜まる。
各弁体部51,52と、これに対応する排気壁部41,42との間の膨張用ガスGの圧力が、両弁体部51,52間の膨張用ガスGの圧力に打ち勝つと、排気弁50が次のように作動する。内径(周長)の相違から排気下流側へ引き寄せられて撓んだ可撓部58が、膨張用ガスGの圧力を受けて、同排気下流側へ押圧される。この押圧により、両弁体部51,52における可撓部58が、図13において矢印Hで示すようにさらに押上げられ、それに伴い、両弁体部51,52における可撓部58よりも排気上流側の部分が、両下流端結合部53,54側(上側)かつ壁部結合部57側(前側)へさらに引き寄せられる。
この際、難撓部59もまた引き寄せられて、両下流端結合部53,54に接近する。難撓部59は、両下流端結合部53,54に接近した排気下流側の端部(下流端59E)を支点とし、自身の形状を保ちながら、両下流端結合部53,54側(上側)かつ壁部結合部57側(前側)へ倒れ込む。このときには、両弁体部51,52における可撓部58よりも排気上流側の部分のうち、難撓部59を除く部分もまた、上記可撓部58と同様に、排気下流側へ向かう膨張部37内の膨張用ガスGの圧力を受ける。この圧力を受けた部分が、図14において矢印Iで示すように、両弁体部51,52間に押し込まれるように斜め前上方へ折り曲げられる。これに伴い、両弁体部51,52間の空間、すなわち膨張用ガスGの流路が小さくなる。
ここで、本実施形態では、難撓部59の長さL3が上記のように間隔D3よりも長く(L3>D3)設定されていることから、同難撓部59は上記のように斜め前上方へ倒れ込む途中で、図15に示すように、壁部結合部57(一側縁結合部55)に当接する。この壁部結合部57(一側縁結合部55)は、難撓部59がそれ以上両下流端結合部53,54側(上側)かつ壁部結合部57側(前側)へ倒れ込むのを規制する。そして、この状態になると、排気弁50によって排気孔38が実質的に閉塞された状態となり、エアバッグ30(膨張部37)内の膨張用ガスGが、両弁体部51,52間を通ってエアバッグ30(膨張部37)の外部へ流れることが規制される。
特に、本実施形態では、エアバッグ30(膨張部37)内の膨張用ガスGは排気弁50を通って流れるのみであり、排気弁50を経由せずにエアバッグ30(膨張部37)内の膨張用ガスGがエアバッグ30(膨張部37)の外部へ排出されることはない。従って、膨張用ガスGの上記排出が原因でエアバッグ30(膨張部37)の内圧の上昇速度が低下することがない。
そして、膨張部37の上記膨張により、エアバッグ30が折り畳まれた順とは逆の順に折り状態を解消する。
エアバッグ30は、自身の後部をシートバック14の収納部15に残した状態で、シートバック14から車両前方へ飛び出す。その後も膨張用ガスGの供給されるエアバッグ30は、図2及び図3の少なくとも一方に示すように、ボディサイド部11と車両用シート12に着座した乗員Pの胸部PTとの間で車両前方へ向けて折り状態を解消しながら展開する。このエアバッグ30が、乗員Pと、車室内に侵入してくるボディサイド部11との間に介在する。このエアバッグ30によって乗員Pの胸部PTが車幅方向内側へ押圧されて拘束される。そして、ボディサイド部11を通じて乗員Pの胸部PTへ伝わる側方からの衝撃がエアバッグ30によって緩和されて同胸部PTが保護される。
排気弁50によって排気孔38が閉じられた上記状態は、エアバッグ30(膨張部37)内の膨張用ガスGの圧力(内圧)が所定値αを越えるまで継続される。この所定値αは、乗員Pの胸部PTを拘束・保護するために要求される範囲の上限値である。
排気孔38の閉じられた膨張部37内に膨張用ガスGが供給され続けることで、又は、膨張状態のエアバッグ30によって乗員Pが拘束されることで、膨張部37の内圧が上昇して所定値αに達すると、壁部結合部57(一側縁結合部55)に当たって止まっている難撓部59が同壁部結合部57(一側縁結合部55)を乗り越える。そして、難撓部59は、両弁体部51,52間から膨張部37の外部へ押し出される。これに伴い、両弁体部51,52の可撓部58よりも排気上流側部分が難撓部59に追従して壁部結合部57を乗り越えて裏返る(反転する)。この押し出し(反転)により、それまで弁体部51,52によって閉塞されていた排気孔38が開放され、膨張部37内の膨張用ガスGが排気孔38を通って膨張部37の外部へ排出される。この膨張用ガスGの排出によって、膨張部37の内圧が低下する。
この際、上記排気弁50によって排気孔38を開放させるタイミングのバラツキは、結合部を破断させることにより排気孔を開放させる特許文献1よりも小さくなる。これは、結合部を物理的に破断させる特許文献1とは異なり、排気弁50には、排気孔38の開放のために物理的に破断させる箇所がなく、破断に伴う破断強度のバラツキを生ずる箇所がないことによる。膨張部37の内圧に応じた排気弁50の作動が上記破断に伴う破断強度のバラツキの影響を受けない分、同排気弁50による排気孔38の開放タイミングのバラツキが小さくなる。
以上が、排気弁50の代表的な動作の態様(モード)であるが、これとは異なる動作の態様(別モード)もあり得る。この態様(別モード)では、排気弁50は途中までは上記代表的なモードと同様に作動する。途中までとは、両弁体部51,52における可撓部58とそれよりも排気上流側の部分とが互いに異なる内径(周長)で円筒状に膨張しようとし、可撓部58が排気下流側へ引き寄せられ、難撓部59(補助結合部61)両下流端結合部53,54側(上側)かつ壁部結合部57(一側縁結合部55)側(前側)へ引き寄せられるまでである。
この引き寄せの後に、両弁体部51,52の可撓部58よりも排気上流側の部分が、膨張用ガスGの圧力によって相互に接近させられる。弁体部51,52毎の同排気上流側の部分が相互に重なり合う(密着する)と、その重なり合った(密着した)状態で、両排気上流側部分が排気下流側へ向けて潰れていき、排気孔38を閉じる。なお、エアバッグ30(膨張部37)の内圧が所定値αに達したときの排気弁50の動作は、上記代表なモードと同じである。
以上詳述した本実施形態によれば、次の効果が得られる。
(1)排気弁50における両弁体部51,52の排気下流側の各端部を、下流端結合部53,54により対応する排気壁部41,42に結合する。両弁体部51,52の各々について、両下流端結合部53,54の排気上流側の近傍部分に可撓部58を設ける。両弁体部51,52の各々について、下流端結合部53,54の延出方向の一側部(前側部)を、一側縁結合部55により少なくとも対応する排気壁部41,42に対し結合する。この一側縁結合部55に、少なくとも両排気壁部41,42を相互に結合する壁部結合部57を兼ねさせる。両弁体部51,52について、下流端結合部53,54の延出方向の他側部(後側部)を、排気上流側へ延びる他側縁結合部56によって相互に結合する。一側縁結合部55及び他側縁結合部56間であって、同他側縁結合部56の近傍には、両弁体部51,52を相互に結合するとともに、可撓部58の排気上流側近傍となる箇所を起点として、さらに排気上流側へ延びる補助結合部61を設ける。この補助結合部61に、排気上流側へ延び、かつ可撓部58よりも撓みにくい難撓部59を兼ねさせている。
そのため、エアバッグ30(膨張部37)の内圧が所定値α未満のときには、排気孔38を閉塞し、同内圧が所定値αに達すると、排気孔38を開放するように排気弁50を確実に作動させることができる。また、結合部を破断させることにより排気孔を開放させる特許文献1とは異なり、排気孔38を開放させるタイミングのバラツキが小さく安定して作動する排気弁50を簡便な構成で提供することができる。さらに、膨張用ガスGの圧力によって排気弁50を開閉させるため、排気弁50を駆動する手段を別途設ける必要がない。
(2)難撓部59の長さL3を、壁部結合部57の箇所Bと、両下流端結合部53,54における難撓部59側の端部Cとの間隔D3よりも長く設定している。このため、可撓部58と、両下流端結合部53,54よりも排気上流側の部分とが壁部結合部57を乗り越えて反転するのを抑制して、エアバッグ30(膨張部37)の内圧が所定値αに達するまでは、両弁体部51,52間の流路を確実に閉塞した状態にすることができる。
(3)難撓部59を硬質の材料によって形成した場合、その難撓部59の撓みにくさを変更することは容易ではない。この点、本実施形態では、もともと撓みやすい材料(布帛48)からなる両弁体部51,52を縫糸で縫合して難撓部59を形成しているに過ぎない。そのため、こういった簡単な構成でありながら、可撓部58よりも撓みにくい難撓部59を容易に形成することができる。また、縫糸の種類を変えたり、本数を変えたりすることも容易であり、難撓部59の撓みにくさを調整し、もって難撓部59が変形し反転するタイミング等を設定・変更することが簡単にできるようになる。
(4)一側縁結合部55及び壁部結合部57を、第1弁体部51、第2弁体部52及び両排気壁部41,42を縫糸で一緒に縫合(共縫い)することにより形成している。そのため、これらを別々に形成する場合に比べ、簡単かつ短時間で一側縁結合部55及び壁部結合部57を形成することができる。
(5)エアバッグ30を、車両側方からの衝撃に応じて供給される膨張用ガスGにより、ボディサイド部11と、車両用シート12に着座した乗員Pの胸部との間で同車両10の前方へ向けて膨張展開するサイドエアバッグ装置に用いている。そのため、排気弁50により、エアバッグ30(膨張部37)の内圧が所定値αよりも極端に高くならないようにし、乗員側部のうちでもとりわけ耐衝撃性の低い胸部PTをエアバッグ30(膨張部37)によって衝撃からソフトに保護することができる。
(6)本実施形態のサイドエアバッグ装置は、エアバッグ30に単に排気孔38(ベントホール)を設けただけで排気弁50を設けないものに比べ、次の点で優れる。
図17は、エアバッグ30に膨張用ガスGを供給していったときに、エアバッグ30が膨張して乗員P側へ変位する量(ストロークS)と、乗員Pに加える荷重Fとの関係を示している。荷重Fと、エアバッグ30(膨張部37)の内圧との間には、正の相関関係がある。
排気孔38はあるが排気弁50のないエアバッグ装置(図17の比較例参照)の場合、エアバッグ30の膨張初期から膨張用ガスGが排気孔38を通じて排出されてしまう。そのため、荷重Fが乗員保護のために必要な値(要求値)になるまでに時間がかかる。荷重Fが要求値に達して、乗員Pを拘束・保護するタイミングが遅くなる。
これに対し、排気孔38だけでなく排気弁50も設けたエアバッグ装置(図17の実施例(本実施形態がこれに該当する)参照)の場合、エアバッグ30(膨張部37)の膨張開始の一瞬だけ、膨張用ガスGが排気孔38を通じて排気されるが、その直後から排気孔38が排気弁50によって閉塞される。そのため、荷重Fが要求値に達するまでに要する時間が短い。荷重Fが要求値に達して乗員Pを拘束・保護するタイミングが早くなる。エアバッグ30(膨張部37)の内圧が所定値α以上になると、排気弁50が開弁して膨張用ガスGが排出されるようになる。そのため、荷重Fは要求値に維持される。
また、エアバッグ30が同じ量の仕事をするという前提では、排気弁50のない場合(比較例参照)には、荷重Fが徐々に上昇した後、膨張の後半で荷重Fが要求値を越え、最大値となるといった特性になる。これに対し、排気弁50を用いた場合(実施例参照)では、荷重Fが膨張初期に早期に要求値に達する分、その後は荷重Fが略一定となるといった特性になり、乗員Pを拘束・保護するうえで好適である。荷重Fの最大値が小さくなって、乗員Pの胸部PTに過度に大きな荷重が加わらなくなるからである。
なお、本発明は次に示す別の実施形態に具体化することができる。
<インフレータアセンブリ20に関する事項>
・リテーナ22を用いることなくインフレータ21をシートバック14に直接取り付けるようにしてもよい。
・リテーナ22を、布帛によって筒状に形成されたインナチューブに変更してもよい。ただし、この変更は、インナチューブが、インフレータ21からの膨張用ガスGの熱及び圧力によって大きな損傷を受けないことを前提として行なう。
このような変更は、例えば、インフレータ21として、比較的低い温度の膨張用ガスGを噴出するタイプを用いた場合に可能である。該当するタイプのインフレータは、膨張用ガスGを充填させてなるハイブリッドタイプのインフレータである。このタイプのインフレータは、発熱を伴う化学反応によりガス発生剤から膨張用ガスGを発生させるパイロタイプのインフレータよりも低い温度の膨張用ガスGを噴出するからである。
また、パイロタイプのインフレータを用いた場合であっても、耐熱性を向上させるためのコーティング層を有するコート布を用いてインナチューブを形成することで、前記の変更が可能である。
・エアバッグ装置は、インフレータアセンブリ20がエアバッグ30の外部に配置されたものであってもよい。この場合には、インフレータ21とエアバッグ30とをパイプ等によって繋ぎ、インフレータ21から噴出された膨張用ガスGを、パイプ等を通じてエアバッグ30に供給してもよい。
<エアバッグ30に関する事項>
・本発明は、エアバッグ30が、複数の膨張部37を有するエアバッグ装置にも適用可能である。この場合、エアバッグ30は、複数の膨張部37が互いに独立するものであってもよいし、隣り合う膨張部37同士が相互に連通するものであってもよい。いずれにしても、少なくとも1つの膨張部37に排気孔38及び排気弁50を設ける。
<排気弁50に関する事項>
・難撓部59の硬さ(剛性)を変えたり、長さL3を変えたりすることで、同難撓部59に壁部結合部57を乗り越えさせて両弁体部51,52を反転させる際の膨張部37の内圧を調整することができる。
難撓部59の硬さ(剛性)を変える手段としては、同難撓部59を縫合によって形成した場合には、縫い目長さ(ピッチ)を変えたり、縫糸の種類、太さ等を変えたり、本数を増減したりすることが挙げられる。
例えば、縫糸が太くなるに従い、また、本数が多くなるに従い難撓部59が硬くなり(剛性が高くなり)、両弁体部51,52を反転させる際の膨張部37の内圧が高くなる。
また、難撓部59を接着によって形成した場合には、接着剤の種類を変えたり、塗布量(厚み)を変えたりすることが、難撓部59の硬さ(剛性)を変える手段として挙げられる。例えば、塗布量が多くなるに従い難撓部59が硬くなり(剛性が高くなり)、両弁体部51,52を反転させる際の膨張部37の内圧が高くなる。
・排気孔38及び排気弁50を、エアバッグ30において前記実施形態とは異なる箇所に設けてもよい。
・図18及び図19に示すように、一側縁結合部55と壁部結合部57とをエアバッグ30の異なる箇所に設けてもよい。要は、一側縁結合部55は、第1弁体部51及び第2弁体部52の各々について、下流端結合部53,54の延出方向の一側部(前側部)を、少なくとも対応する排気壁部41,42に結合するものであればよい。ちなみに、図19は、車内側の一側縁結合部55が第1弁体部51を第1排気壁部41にのみ結合し、車外側の一側縁結合部55が第2弁体部52を第2排気壁部42にのみ結合した例を示している。
また、壁部結合部57は、一側縁結合部55の近傍に設けられて、少なくとも両排気壁部41,42を相互に結合するものであればよい。
このように異なる箇所に設けられた場合であっても、上記実施形態と同様の作用及び効果が得られる。
なお、上記図18では、壁部結合部57を周縁結合部36とは別に設けたが、同壁部結合部57を周縁結合部36の一部として設けてもよい。例えば、周縁結合部36の一部(図18の左側部分)をV字又はU字を描くように蛇行させて、それらのV字又はU字をなす部分の左半分によって壁部結合部57を兼用させてもよい。
・図20及び図21に示すように、難撓部59と補助結合部61とを両弁体部51,52の異なる箇所に設けてもよい。要は、補助結合部61は、一側縁結合部55及び他側縁結合部56間であって、同他側縁結合部56の近傍において、両弁体部51,52を相互に結合するとともに、可撓部58の排気上流側近傍となる箇所を起点として、さらに排気上流側へ延びるものであればよい。また、難撓部59は、排気弁50の補助結合部61上又はその近傍に設けられて、排気上流側へ延び、かつ可撓部58よりも撓みにくいものであればよい。このように異なる箇所に設けられた場合であっても、上記実施形態と同様の作用及び効果が得られる。
・図20及び図21に示すように、排気弁50は、互いに独立した一対の布帛を車幅方向に重ね合わせ、車内側に位置する布帛を第1弁体部51とし、車外側に位置する布帛を第2弁体部52とし、両弁体部51,52を筒状となるように結合したものであってもよい。この場合、両弁体部51,52について、下流端結合部53,54の延出方向の他側部(後側部)を他側縁結合部56によって相互に結合する。この点において、この変更例は、1枚の布帛を二つ折りし、折り返し部分(折り線49の近傍部分)を他側縁結合部56とした前記実施形態と異なる。
・前記実施形態では、排気弁50における難撓部59(補助結合部61)を、エアバッグ30の折り線32に対し平行となるように設けたが、同折り線32に対し交差する方向に延びるように設けてもよい。
・一側縁結合部55(壁部結合部57)を、難撓部59(補助結合部61)に対し、非平行状態となるように設けてもよい。この場合、一側縁結合部55(壁部結合部57)は、直線状をなすものであってもよいが、屈曲したり湾曲したりするものであってもよい。
・「排気弁50の補助結合部61上又はその近傍で、排気上流側へ延び、かつ可撓部58よりも撓みにくいこと」を条件に、難撓部59を、縫糸とは異なるものに変更してもよい。例えば、合図20及び図21に示すように、成樹脂や金属によって棒状に形成したものを難撓部59としてもよい。
・両弁体部51,52における排気上流側の端部は、図8等に示すように傾斜していてもよいし、傾斜していなくてもよい。
・両下流端結合部53,54は、排気孔38における膨張用ガスGの排気方向に交差する方向へ延びるものであればよく、前記実施形態とは異なり、必ずしも同排気方向に略直交する方向へ延びるものでなくてもよい。
<エアバッグモジュールAMの収容箇所に関する事項>
・エアバッグ装置を、上記実施形態のようにサイドエアバッグ装置に具体化した場合には、収納部15をシートバック14に代え、ボディサイド部11において、車両用シート12に着座した乗員Pの車外側近傍となる箇所に設けてもよい。
<その他の事項>
・エアバッグ装置を、上記実施形態のようにサイドエアバッグ装置に具体化した場合、エアバッグ30による乗員Pの拘束・保護箇所を、胸部PTとは異なる箇所、例えば、腰部、腹部、肩部等、又はそれらを組み合わせたものに変更してもよい。
・本発明は、サイドエアバッグ装置とは異なるタイプのエアバッグ装置、例えば頭部保護用エアバッグ装置、後突用エアバッグ装置、前滑り抑制用エアバッグ装置、歩行者保護用エアバッグ装置、膝保護用エアバッグ装置等にも適用可能である。
10…車両、11…ボディサイド部、12…車両用シート、30…エアバッグ、37…膨張部、38…排気孔、41,42…排気壁部、50…排気弁、51…第1弁体部、52…第2弁体部、53,54…下流端結合部、55…一側縁結合部、56…他側縁結合部、57…壁部結合部、58…可撓部、59…難撓部、61…補助結合部、B…箇所、C…端部、G…膨張用ガス、P…乗員、D1,D2,D3…間隔、L2,L3…長さ。

Claims (5)

  1. 膨張部内の膨張用ガスを排出するための排気孔を、同膨張部の一対の排気壁部間に有するエアバッグと、前記エアバッグ内の前記排気孔の近傍に配置された第1弁体部及び第2弁体部を有する排気弁とを備え、前記エアバッグの内圧に応じて前記排気弁を作動させて前記排気孔を開閉するようにしたエアバッグ装置であって、
    前記第1弁体部及び第2弁体部の排気下流側の各端部は、前記膨張用ガスの排気方向に交差する方向へ延びる下流端結合部にて対応する前記排気壁部に結合され、
    前記第1弁体部及び前記第2弁体部について、前記両下流端結合部の排気上流側の近傍部分には、前記膨張用ガスの排気下流側へ撓み得る可撓部が設けられ、
    前記第1弁体部及び前記第2弁体部の各々について、前記下流端結合部の延出方向の一側部は、一側縁結合部により少なくとも対応する排気壁部に対し結合され、
    前記一側縁結合部上又はその近傍には、少なくとも前記両排気壁部を相互に結合する壁部結合部が設けられ、
    前記第1弁体部及び前記第2弁体部について、前記下流端結合部の延出方向の他側部は、排気上流側へ延びる他側縁結合部により相互に結合され、
    前記一側縁結合部及び前記他側縁結合部間であって、同他側縁結合部の近傍には、前記第1弁体部及び前記第2弁体部を相互に結合するとともに、前記可撓部の排気上流側近傍となる箇所を起点として、さらに排気上流側へ延びる補助結合部が設けられ、
    前記排気弁の前記補助結合部上又はその近傍には、排気上流側へ延び、かつ前記可撓部よりも撓みにくい難撓部が設けられていることを特徴とするエアバッグ装置。
  2. 前記難撓部の長さが、前記壁部結合部において前記難撓部との間の間隔が最も狭くなる箇所と、前記下流端結合部における難撓部側の端部との間隔よりも長く設定されている請求項1に記載のエアバッグ装置。
  3. 前記難撓部は、前記第1弁体部及び前記第2弁体部を縫糸で縫合することにより形成されている請求項1又は2に記載のエアバッグ装置。
  4. 前記一側縁結合部及び前記壁部結合部は、前記第1弁体部、前記第2弁体部及び前記両排気壁部を縫糸で縫合することにより形成されている請求項1〜3のいずれか1つに記載のエアバッグ装置。
  5. 前記エアバッグは、車両に対する側方からの衝撃に応じて供給される膨張用ガスにより、前記車両のボディサイド部と、車両用シートに着座した乗員との間で同車両の前方へ向けて膨張展開するものである請求項1〜4のいずれか1つに記載のエアバッグ装置。
JP2009079180A 2009-03-27 2009-03-27 エアバッグ装置 Expired - Fee Related JP4807429B2 (ja)

Priority Applications (2)

Application Number Priority Date Filing Date Title
JP2009079180A JP4807429B2 (ja) 2009-03-27 2009-03-27 エアバッグ装置
US12/659,130 US8328232B2 (en) 2009-03-27 2010-02-26 Airbag apparatus

Applications Claiming Priority (1)

Application Number Priority Date Filing Date Title
JP2009079180A JP4807429B2 (ja) 2009-03-27 2009-03-27 エアバッグ装置

Publications (2)

Publication Number Publication Date
JP2010228623A JP2010228623A (ja) 2010-10-14
JP4807429B2 true JP4807429B2 (ja) 2011-11-02

Family

ID=42783178

Family Applications (1)

Application Number Title Priority Date Filing Date
JP2009079180A Expired - Fee Related JP4807429B2 (ja) 2009-03-27 2009-03-27 エアバッグ装置

Country Status (2)

Country Link
US (1) US8328232B2 (ja)
JP (1) JP4807429B2 (ja)

Families Citing this family (6)

* Cited by examiner, † Cited by third party
Publication number Priority date Publication date Assignee Title
DE102011122464A1 (de) * 2011-12-24 2013-06-27 Autoliv Development Ab Gassack mit zwei Kammern und einem Gasfluss-Kanal, wobei ein Ventil in dem Gasfluss-Kanal angeordnet ist
JP5918621B2 (ja) * 2012-05-09 2016-05-18 芦森工業株式会社 サイドエアバッグ装置
JP6225877B2 (ja) * 2014-10-22 2017-11-08 トヨタ自動車株式会社 車両用サイドエアバッグ装置
JP6642366B2 (ja) * 2016-09-28 2020-02-05 豊田合成株式会社 膝保護用エアバッグ
JP6745941B1 (ja) * 2019-04-18 2020-08-26 日本発條株式会社 サイドエアバッグ装置
US12415474B1 (en) * 2024-03-18 2025-09-16 Ford Global Technologies, Llc Manifold to selectively inflate seat airbags

Family Cites Families (10)

* Cited by examiner, † Cited by third party
Publication number Priority date Publication date Assignee Title
US3118468A (en) * 1961-04-20 1964-01-21 Gen Electric Resilient material check valve
US5492363A (en) * 1994-09-07 1996-02-20 Takata, Inc. Flow regulating air bag valve
DE19930155A1 (de) * 1999-06-30 2001-01-04 Takata Europ Gmbh Rückschlagventil für eine Luftsack
JP4423738B2 (ja) * 2000-03-31 2010-03-03 タカタ株式会社 エアバッグ
US6746045B2 (en) * 2002-04-05 2004-06-08 Ford Global Technologies, Llc Air bag inflator gas venting system
JP2003327071A (ja) * 2002-05-10 2003-11-19 Takata Corp エアバッグ及びエアバッグ装置
GB2407071A (en) * 2003-10-16 2005-04-20 Autoliv Dev A vehicle air-bag comprising a vent hole
JP2007022306A (ja) * 2005-07-15 2007-02-01 Takata Corp エアバッグ及びエアバッグ装置
JP5003299B2 (ja) * 2007-06-19 2012-08-15 豊田合成株式会社 サイドエアバッグ装置
JP2009255827A (ja) * 2008-04-18 2009-11-05 Toyoda Gosei Co Ltd サイドエアバッグ装置

Also Published As

Publication number Publication date
US8328232B2 (en) 2012-12-11
JP2010228623A (ja) 2010-10-14
US20100244418A1 (en) 2010-09-30

Similar Documents

Publication Publication Date Title
US9517747B2 (en) Side airbag apparatus
US9211862B2 (en) Airbag apparatus
US8720940B2 (en) Side airbag apparatus
JP5083024B2 (ja) エアバッグ装置
JP6107749B2 (ja) サイドエアバッグ装置
JP4962185B2 (ja) サイドエアバッグ装置
US8714588B2 (en) Side airbag apparatus
JP5655799B2 (ja) サイドエアバッグ装置
JP5003631B2 (ja) 側突用エアバッグ装置
JP5003299B2 (ja) サイドエアバッグ装置
JP5195684B2 (ja) エアバッグ装置
JP5327158B2 (ja) エアバッグ装置
CN111137242B (zh) 车辆用窗帘气囊装置
US11104289B2 (en) Airbag device
JP4807429B2 (ja) エアバッグ装置
JP6455365B2 (ja) シートクッションエアバッグ装置
JP2009255827A (ja) サイドエアバッグ装置
JP5163476B2 (ja) サイドエアバッグ装置
JP5556735B2 (ja) サイドエアバッグ装置
JP2010137779A (ja) エアバッグ装置
JP5724908B2 (ja) サイドエアバッグ装置
CN119489772A (zh) 附带于座椅上的安全气囊装置
JP5500129B2 (ja) サイドエアバッグ装置
JP2016120870A (ja) サイドエアバッグ装置
JP2014065417A (ja) サイドエアバッグ装置

Legal Events

Date Code Title Description
A621 Written request for application examination

Free format text: JAPANESE INTERMEDIATE CODE: A621

Effective date: 20110322

A977 Report on retrieval

Free format text: JAPANESE INTERMEDIATE CODE: A971007

Effective date: 20110714

TRDD Decision of grant or rejection written
A01 Written decision to grant a patent or to grant a registration (utility model)

Free format text: JAPANESE INTERMEDIATE CODE: A01

Effective date: 20110719

A01 Written decision to grant a patent or to grant a registration (utility model)

Free format text: JAPANESE INTERMEDIATE CODE: A01

A61 First payment of annual fees (during grant procedure)

Free format text: JAPANESE INTERMEDIATE CODE: A61

Effective date: 20110801

FPAY Renewal fee payment (event date is renewal date of database)

Free format text: PAYMENT UNTIL: 20140826

Year of fee payment: 3

R150 Certificate of patent or registration of utility model

Ref document number: 4807429

Country of ref document: JP

Free format text: JAPANESE INTERMEDIATE CODE: R150

Free format text: JAPANESE INTERMEDIATE CODE: R150

LAPS Cancellation because of no payment of annual fees