JP4792242B2 - 薄膜形成装置及び薄膜形成方法 - Google Patents
薄膜形成装置及び薄膜形成方法 Download PDFInfo
- Publication number
- JP4792242B2 JP4792242B2 JP2005155846A JP2005155846A JP4792242B2 JP 4792242 B2 JP4792242 B2 JP 4792242B2 JP 2005155846 A JP2005155846 A JP 2005155846A JP 2005155846 A JP2005155846 A JP 2005155846A JP 4792242 B2 JP4792242 B2 JP 4792242B2
- Authority
- JP
- Japan
- Prior art keywords
- substrate
- thin film
- film
- holding
- refractive index
- Prior art date
- Legal status (The legal status is an assumption and is not a legal conclusion. Google has not performed a legal analysis and makes no representation as to the accuracy of the status listed.)
- Expired - Fee Related
Links
- 239000010409 thin film Substances 0.000 title claims description 181
- 238000000034 method Methods 0.000 title claims description 70
- 239000010408 film Substances 0.000 claims description 298
- 239000000758 substrate Substances 0.000 claims description 229
- 230000015572 biosynthetic process Effects 0.000 claims description 89
- 239000013077 target material Substances 0.000 claims description 79
- 230000003287 optical effect Effects 0.000 claims description 56
- 230000008859 change Effects 0.000 claims description 37
- 230000007246 mechanism Effects 0.000 claims description 29
- 230000003595 spectral effect Effects 0.000 claims description 27
- 238000005259 measurement Methods 0.000 claims description 21
- 238000004519 manufacturing process Methods 0.000 claims description 16
- 239000000463 material Substances 0.000 claims description 14
- 238000005192 partition Methods 0.000 claims description 14
- 238000004544 sputter deposition Methods 0.000 claims description 10
- 239000010410 layer Substances 0.000 description 67
- 238000005477 sputtering target Methods 0.000 description 63
- 229910004298 SiO 2 Inorganic materials 0.000 description 30
- 239000007789 gas Substances 0.000 description 27
- 230000005540 biological transmission Effects 0.000 description 12
- 238000000151 deposition Methods 0.000 description 12
- 230000008021 deposition Effects 0.000 description 12
- 238000012937 correction Methods 0.000 description 11
- 230000000694 effects Effects 0.000 description 10
- 238000009825 accumulation Methods 0.000 description 8
- 230000000052 comparative effect Effects 0.000 description 8
- 238000002834 transmittance Methods 0.000 description 8
- 238000002360 preparation method Methods 0.000 description 7
- 238000012544 monitoring process Methods 0.000 description 6
- 239000012788 optical film Substances 0.000 description 6
- 239000002356 single layer Substances 0.000 description 6
- 239000000126 substance Substances 0.000 description 6
- 239000013076 target substance Substances 0.000 description 6
- 238000013461 design Methods 0.000 description 4
- 230000002265 prevention Effects 0.000 description 4
- 239000013078 crystal Substances 0.000 description 3
- KRHYYFGTRYWZRS-UHFFFAOYSA-M Fluoride anion Chemical compound [F-] KRHYYFGTRYWZRS-UHFFFAOYSA-M 0.000 description 2
- 230000003247 decreasing effect Effects 0.000 description 2
- 239000000203 mixture Substances 0.000 description 2
- 230000008569 process Effects 0.000 description 2
- 238000001771 vacuum deposition Methods 0.000 description 2
- 229910018072 Al 2 O 3 Inorganic materials 0.000 description 1
- -1 Ta 2 O 5 Inorganic materials 0.000 description 1
- 229910010413 TiO 2 Inorganic materials 0.000 description 1
- 230000002411 adverse Effects 0.000 description 1
- 239000000956 alloy Substances 0.000 description 1
- 229910045601 alloy Inorganic materials 0.000 description 1
- 229910052782 aluminium Inorganic materials 0.000 description 1
- 238000013459 approach Methods 0.000 description 1
- 150000001875 compounds Chemical class 0.000 description 1
- 239000000470 constituent Substances 0.000 description 1
- 229910052735 hafnium Inorganic materials 0.000 description 1
- 230000003993 interaction Effects 0.000 description 1
- 238000012423 maintenance Methods 0.000 description 1
- 239000002184 metal Substances 0.000 description 1
- 229910052751 metal Inorganic materials 0.000 description 1
- 238000012986 modification Methods 0.000 description 1
- 230000004048 modification Effects 0.000 description 1
- 229910052758 niobium Inorganic materials 0.000 description 1
- 230000002093 peripheral effect Effects 0.000 description 1
- 238000012545 processing Methods 0.000 description 1
- 229910052710 silicon Inorganic materials 0.000 description 1
- 229910052715 tantalum Inorganic materials 0.000 description 1
- 229910052719 titanium Inorganic materials 0.000 description 1
- XLYOFNOQVPJJNP-UHFFFAOYSA-N water Substances O XLYOFNOQVPJJNP-UHFFFAOYSA-N 0.000 description 1
Images
Landscapes
- Optical Filters (AREA)
- Surface Treatment Of Optical Elements (AREA)
- Physical Vapour Deposition (AREA)
Description
このような光学薄膜において、一つの薄膜の作製(形成)に用いる物質(材料)の種類を増やすことで、光学薄膜の設計の容易化、及び高性能化を図ることができる。このため、近年、混合膜の利用を検討するメーカーが増えている。
この混合膜の形成にあたっては、例えば、基板の距離と複数のターゲット間の距離を、混合膜を作製するのに最適な距離となるように設定している。そして、各ターゲット物質への印加電力を制御することで、基板上に所望の混合膜を作製するものが提案されている(例えば、特許文献1参照。)。
しかしながら、特許文献1に係る薄膜形成装置では、特に、所望の屈折率を持つ薄膜を精度良く作製することは難しい。
本発明に係る薄膜形成装置は、第一ターゲットを保持する第一保持部と、第二ターゲットを保持する第二保持部と、第一基板が配される第一基板保持部と、前記第一基板とは別の第二基板が配される第二基板保持部と、前記第一基板保持部及び前記第二基板保持部が設けられ、前記第一保持部及び前記第二保持部と対向して配される基板移動部と、該基板移動部を移動させる移動機構と、前記基板移動部と前記第一保持部との間に配され、第一開口部を有する第一可変機構と、前記基板移動部と前記第二保持部との間に配され、第二開口部を有する第二可変機構と、前記第二基板保持部と対向可能に配されている測定器の測定結果に基づき、前記第一開口部及び前記第二開口部の少なくとも一方の大きさを変化させる制御部とを備え、前記第二基板保持部は、第一、第二、及び第三保持領域を有し、前記第一保持領域及び前記第二保持領域と対向する第一孔と、前記第二保持領域及び前記第三保持領域と対向する第二孔とを有する仕切り部が配されており、前記測定器は、前記第二基板の光学特性を測定し、前記測定器の測定結果は、前記光学特性の変化であることを特徴とする。
また、第二基板が測定器の前を通過する際に、測定器により第二基板の光学特性を測定することができる。そのため、光学特性の変化を成膜情報として、第一基板の成膜におけるフィードバック制御に利用することができる。すなわち、制御部にて、第一開口部及び第二開口部の少なくとも一方について、好適な開口幅を規定することができる。よって、所望の屈折率を有する薄膜を、屈折率に関してより精度良く作製することができる。
また、3つの第二基板を、異なる3つの保持領域に配することになる。ここで、第一保持領域に保持した第二基板には、第一孔を通過したターゲット物質のみで成膜することができる。また、第二保持領域に保持した第二基板には、第一孔及び第二孔の両方を通過したターゲット物質で成膜することができる。また、第三保持領域に保持した第二基板には、第二孔を通過したターゲット物質のみで成膜することができる。従って、少なくとも1つの第二基板の光学特性を成膜情報として、第一基板の成膜におけるフィードバック制御に利用することができる。よって、所望の屈折率を有する薄膜を、屈折率に関して精度良く作製することができる。
また、第二基板の光学特性を測定することによって、第一基板に到達するターゲット物質の量を把握することができる。そのため、ターゲット物質の到達量を、好適に規定することができる。その結果、2つ以上のターゲット物質が好適な割合で混合されるので、所望の屈折率を有する混合膜を、屈折率に関して精度良く作製することができる。
本発明の薄膜形成装置によれば、第一孔のみを通過するターゲット物質により作製された薄膜と、第二孔のみを通過するターゲット物質により作製された薄膜とを、それぞれ測定することができる。従って、第一基板に成膜される混合膜の構成物質ごとに、成膜量を検出することができる。よって、所望の屈折率を有する薄膜を、屈折率に関してより精度良く作製することができる。
本発明の薄膜形成装置によれば、第二基板の光学特性の変化を測定器にて計測することによって、第二基板に形成される薄膜の膜厚変化を検出することができる。
本発明の薄膜形成方法によれば、光学式の測定器にて光量或いは分光特性の変化を計測することによって、第二基板の成膜量を好適に検出することができる。
本発明の薄膜形成方法によれば、当該層の成膜条件を見直した結果を、次層以降の成膜条件に反映することができる。よって、次層以降の薄膜について、所望の屈折率を有する薄膜を、屈折率に関して精度良く作製することができる。
本発明の薄膜形成方法によれば、一つの膜の形成時に成膜条件を見直すことができる。よって、屈折率に関してより精度の高い成膜を行うことができる。
本発明の薄膜形成方法によれば、一つの多層膜を成膜する度に成膜条件を見直すので、複数の基板に成膜を行う場合の時間を短縮することができる。
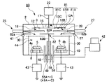
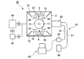
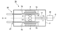
本実施形態に係る薄膜形成装置1を、図1から図3に示す。本実施形態に係る薄膜形成装置1では、第一スパッタリングターゲット(第一ターゲット)5と第二スパッタリングターゲット(第二ターゲット)6が、同一円周上に配置されている。ここで、スパッタリングターゲット5及び6は、いずれも真空チャンバ2の内部に配置されている。また、第一スパッタリングターゲット5、及び第二スパッタリングターゲット6の大きさは、それぞれφ4インチである。なお、薄膜形成装置1では、同一円周上に、第三スパッタリングターゲット7も配設可能となっている。これらのスパッタリングターゲットは、第一基板3に、ターゲット物質、すなわち成膜物質を提供するために用いられる。
第一スパッタリングターゲット5は、第一保持部4aに保持されている。この第一保持部4aは、水冷された第一マグネトロンカソード8上に配置されている。第二スパッタリングターゲット6は、第二保持部4bに保持されている。この第二保持部4bは、水冷された第二マグネトロンカソード10上に配置されている。なお、上述のように、第三スパッタリングターゲット7を用いることもできる。この場合、第三スパッタリングターゲット7は、第三保持部4cに保持される。この第三保持部4cは、水冷可能に第三マグネトロンカソード11上に配置される。
なお、第一ヤトイ12及び第二ヤトイ15は、いずれも同一円周上に配されている。
また、シャッター30は、第一開口部23と第一スパッタリングターゲット5の間、第二開口部26と第二スパッタリングターゲット6の間、及び不図示の第三開口部と第三スパッタリングターゲット7との間に、それぞれ配置されている。このシャッター30は、不図示の駆動系により駆動される。この駆動により、両者(開口部とスパッタリングターゲット)の間を開閉することによって、成膜の開始と終了とを行う。また、図5に示すように、防着板(仕切り部)31は、各スパッタリングターゲット5、6、7の間を仕切っている。防着板31の高さは、排気を妨げない高さとなっている。
また、第一可変機構25は、位置センサー38、40と、不図示のエンコーダを有している。位置センサー38、40は、原点位置の検出を行うために設けられている。また、開口部の開口幅は、エンコーダで検出される。例えば、本実施形態では、開口部の最大開口幅は70mmである。
真空チャンバ2には、各スパッタリングターゲットごとに、ガス導入口と真空計が設けられている。このガス導入口を介して、真空チャンバ2内に、処理のためのガスを導入することができる。また、真空計により、チャンバ内の圧力を検出することができる。
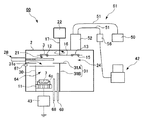
前述のように、各スパッタリングターゲットが配置されている空間は、下部防着板31Bで仕切られている。このうち、第一スパッタリングターゲット5が配置されている空間44には、真空計47、ガス導入口48,49が設けられている。また、第二スパッタリングターゲット6が配置されている空間54には、真空計57、ガス導入口58,59が設けられている。第三スパッタリングターゲット7が配置されている空間64には、真空計67、ガス導入口68,69が設けられている。
モノクロメータ56は、波長400nmから800nmまでの範囲を、1nmおきに分光する。分光された光は、受光素子によって受光される。モノクロメータ56と受光素子の相対位置が一定の場合、単一波長の光が受光素子に入射する。モノクロメータ56と受光素子の相対位置が可変の場合、1nmおきに、各波長の光量データの取り込みが行なえる。このように、モノクロメータ56と受光素子の組み合わせにより、単一波長での測定や、広範囲における分光特性の測定が可能である。
ここで、第二基板13上と第一基板3上に作製される薄膜は、いずれも同じ条件で作製されている。そこで、制御部42は、蓄積データから、第一基板の薄膜が、所定の膜厚になったか否かを判断する。そして、所定の膜厚になったと判断したときには、制御部42は、シャッター閉信号をシャッター30に伝達する。これにより、成膜を完了する。
この薄膜形成方法は、スパッタリングを行なって、第一基板3上及び第二基板13上に薄膜を形成する薄膜形成方法である。この薄膜形成方法では、スパッタリングの際に、第二基板13の光学特性を測定器41にて測定する工程と、光学特性の変化に基づいて、第一基板3に到達する物質の量を変化させる工程とを備えている。第一基板3に到達する物質は、それぞれ各スパッタリングターゲット5、6(場合により、スパッタリングターゲット7)から飛散したターゲット物質である。
本実施形態では、第一スパッタリングターゲット5としてSi、第二スパッタリングターゲット6としてNbを使用する。そして、第一基板3上の1層目、2層目にSiO2とNb2O5との混合膜、3層目にSiO2膜を形成して3層の反射防止膜を作製する。なお、Nb2O5単層の屈折率は2.37、SiO2単層の屈折率は1.46である。
その後、各スパッタリングターゲット5、6が配置されている空間44,54に、ガスの導入を行なう。空間44には、Arガスを、ガス導入口48から導入する。その際、真空計47で測定を行いながら、4×10−1PaとなるまでArガスを導入する。続いて、O2ガスを、ガス導入口49から導入する。この時も、真空計47で測定を行いながら、5×10−1PaとなるまでO2ガスを導入する。続いて、直流電源43から300wの電力を印加し、第一スパッタリングターゲット5上に、プラズマを発生させる。これにより、3分後に、SiO2膜の成膜が可能となる(成膜の準備が完了する)。
なお、本実施形態では、SiO2膜の成膜の準備と、Nb2O5膜の成膜の準備を同時に行なっている。
また、本実施形態では、成膜にあたって、第一スパッタリングターゲット5と、第二スパッタリングターゲット6だけを用いている。ただし、第三スパッタリングターゲット7を成膜に用いる場合もある。この場合は、真空計67で測定を行いながら、ガス導入口68,69から所定のガスを導入すればよい。
ここでは、以下の表1に示す値を設定して成膜した。
ここで、成膜開始から36秒経過した後に、光量蓄積データにおいて、理想の光量変化に対して+0.2%のずれが検出されたとする。この場合、所望の光量変化に対して乖離が発生したことになる。そこで、制御部42は、第一開口部23と第二開口部26について、それぞれの開口幅を変化させる。すなわち、フィードバック制御が行なわれる。ここで、ずれがあった場合の最初の補正値として2%を選択し、これで補正が大きすぎた場合は0.5%刻みの補正とする。また、補正が小さい場合は、さらに2%、補正が大きすぎた場合は戻し方向に0.5%刻みにて補正する。ここでは、第一開口部23の開口幅を、2%狭める処理が行われる。具体的には、仕切り板32、33のそれぞれを、片側0.7mmずつ、互いが接近する方向に移動させる。この結果、第一開口部23の開口幅は、合計1.4mm狭くなった値、すなわち68.6mmに変更される。
さらに、上記の開口幅の変更後も、光量蓄積データと理想状態を示すデータの比較が行なわれる。そして、乖離が発生するたびに、光量蓄積データに基づいて、第一開口部23の開口幅の調整が行なわれる。本実施形態では、時間の経過とともに開口幅を狭め、最終的に67.2mmまで変更する。
このようにして成膜した結果を、図6に示す。図6では、成膜時の透過光量のグラフは、理想状態を示すグラフに対して、時間軸方向においてずれを生じている。しかしながら、成膜時の透過光量のグラフを時間軸方向にシフトさせると、理想状態を示すグラフとほぼ重なる。これは、最終的に、透過光量が、理想状態をとほぼ等しいことを意味している。よって、1層目には、理想状態に近い混合膜、即ち所望の屈折率を有する混合膜が作製されたことになる。
1層目の薄膜の作製では、第一開口部23の開口幅を合計4%修正している。そこで、2層目の薄膜の作製についても、第一開口部23の開口幅を、表1における数値に対して−4%修正した値に設定する。
なお、本実施形態では、3層目の薄膜の作製に関しても、第一開口部23の開口幅を、表1における数値に対して−4%修正した値に設定している。しかしながら、3層目の薄膜の作製に関しては、2層目の成膜時の調整結果を利用しても良い。
このように、本実施形態では、2層目、3層目について、新たに表2に示す開口幅で成膜を行う。
最終的に得られた反射防止膜は、図7に示すような光学特性(分光反射率特性)を有する。図7に示すグラフからわかるように、所望の反射率特性(理想)が485nmで0.53%であるのに対して、本実施形態の反射防止膜では、ピーク反射率が、490nmで0.53%となっている。即ち、本実施形態の反射防止膜では、ピーク波長が長波長側にシフトした。しかし、波長範囲400nm〜650nmにおいては、反射率は1%以下であった。このように、本実施形態の反射防止膜は、理想の分光反射率特性とほぼ同じ特性を有する。これは、所望の屈折率を有する薄膜が成膜されていることから、当然の結果といえる。
なお、収集したデータと理想状態を示すデータ(例えば、設計データ)との比較を行う上で、透過光量又は反射光量自体、あるいはその変化が大きいことが望ましい。これらは、薄膜の膜厚に依存する。そのため、特に最初の混合膜は、光学膜厚がλ/4であることが望ましい。ここで、λは監視波長で、本実施形態では450nmである。
なお、第一基板3上の薄膜と第二基板13上の薄膜は、ともに同じ条件で成膜されている。よって、第二基板13の成膜状態を調べることによって、「第一基板3上の薄膜の成膜状態が、理想の成膜状態からどの程度乖離しているのか」を推測することができる。そこで、乖離の度合に基づいて、第一開口部23の開口幅を調整することができる。
すなわち、屈折率の異なる二つ以上のターゲット物質を用いて薄膜を作製するにあたって、任意の屈折率を有する薄膜を容易に、かつ、精度良く作製することができる。
なお、本実施形態では測定器41を用いたが、測定器41は必ずしも必要ではない。すなわち、同じ薄膜を、同じ成膜条件で作製する場合、過去に収集した光学特性のデータを利用して、第一開口部23の開口幅を調整することも可能である。
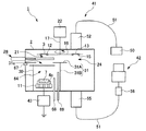
この測定器61は、透過光量ではなく反射光量を測定するものである。そして、投光側光学系保持部材52と出射側光学系保持部材55とが一体となった光学系保持部材62が、真空チャンバ2の不図示の孔に対向して配されている。
このように、反射型の光学式測定器61により、薄膜形成装置60においても、薄膜形成装置1と同様の効果が得られる。その一例を、図10に示す。図10は、この測定器61を用いて、1層目の成膜を行った結果を示している。図10において、成膜時の反射光量のグラフは、理想状態を示すグラフに対して、時間軸方向においてずれを生じている。しかしながら、成膜時の反射光量のグラフを時間軸方向にシフトさせると、理想状態を示すグラフとほぼ一致する。これは、最終的に、反射光量が、理想状態をとほぼ等しいことを意味している。よって、1層目には、理想状態に近い混合膜、即ち所望の屈折率を有する混合膜が作製されたことになる。このように、薄膜形成装置60によっても、薄膜形成装置1と同様の作用・効果を奏することができる。
なお、上述した第1の実施形態と同様の構成要素には、同一符号を付している。また、これらの構成要素については、説明を省略する。
第2の実施形態と第1の実施形態の異なる点は、本実施形態に係る薄膜形成装置70の回転保持具71が、円筒型になっている点である。
防着板72は、スパッタリングターゲットごとに配置されている。なお、測定器は反射型の光学式測定器61である。
即ち、不図示の排気系により、高真空に排気する。その後、不図示のガス導入系より、Arガス及びO2ガスを導入する。これらのガスは、各々仕切られた空間に、所定圧力になるまで導入する。続いて、不図示の直流電源から、直流電力が各スパッタリングターゲット5、6に印加される。直流電力の印加に伴って、各スパッタリングターゲット5、6から、ターゲット物質が、それぞれ飛散する。飛散した各々のターゲット物質は、第一開口部23及び第二開口部26に到達する。そして、それぞれの開口幅に応じた量のターゲット物質が、第一開口部23及び第二開口部26を通過する。それぞれの開口部を通過したターゲット物質は、第一基板3及び第二基板13上に交互に堆積する。その結果、基板上に、単一膜あるいは混合膜が作製される。成膜の開始及び終了は、不図示の駆動機構を有するシャッター73の開閉によって行われる。
なお、図11及び図12では、回転軸17が紙面の横方向となるように、回転保持具71が配置されている。このような構成では、第一基板3は、紙面の縦方向に回転する。しかし、回転軸17が紙面の縦方向となるように、回転保持具71配置してもよい。この場合、第一基板は、紙面の横方向に回転する。また、スパッタリングターゲットの形状は、円形でも正方形、長方形でもよい。いずれの形状であっても、本実施形態と同様の効果を奏することができる。さらに、回転保持具71の形状は、円筒形でも、基板保持面に長方形を多面有する多角柱型でもよい。いずれの形状であっても、本実施形態と同様の効果を奏することができる。
なお、上述した他の実施形態と同様の構成要素には同一符号を付している。また、これらの構成要素については、説明を省略する。
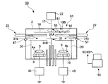
第3の実施形態と第1の実施形態の異なる点は、本実施形態に係る薄膜形成装置80の第二ヤトイ81が、第一保持領域81A、第二保持領域81B、及び第三保持領域81Cを備えている点である。この第一保持領域81A、第二保持領域81B、及び第三保持領域81Cには、それぞれ第二基板13A、13B、13Cが保持される。
第一孔82aは、第一スパッタリングターゲット5側から見たときに、第一保持領域81A及び第二保持領域81Bのみが見える大きさを有している。また、第二孔82bは、第二スパッタリングターゲット6側から見たときに、第二保持領域81B及び第三保持領域81Cのみが見える大きさを有している。
なお、第三孔82cは、本実施形態では使用しない。よって、第三孔82cは、第三スパッタリングターゲット7側から見たときに、第一保持領域81A、第二保持領域81B及び第三保持領域81Cのすべてが見える大きさを有している。
また、それぞれの孔は、保持領域と対向する位置に設けられている。
第一位置18では、第二ヤトイ81は、第一スパッタリングターゲット5上に位置する。このとき、第一スパッタリングターゲット5から飛散するターゲット物質(以下、単に、第一ターゲット物質とする。)は、第一孔82aを通過して、第二ヤトイ81に到達する。ここで、第一保持領域81A及び第二保持領域81Bは、いずれも、第一孔82aの孔の内側に位置する。そのため、第一ターゲット物質は、第一保持領域81A及び第二保持領域81Bに到達する。よって、第二基板13A及び第二基板13Bには、第一ターゲット物質が堆積していく。すなわち、第二基板13A及び第二基板13Bでは、第一ターゲット物質による成膜が行われる。
一方、第三保持領域81Cは、第一孔82aの孔の外側に位置する。そのため、第一ターゲット飛散する物質は、第三保持領域81Cには到達しない。よって、第二基板13Cには、第一ターゲット物質が堆積しない。すなわち、第二基板13Cでは、第一ターゲット物質による成膜は行われない。
一方、第一保持領域81Aは、第二孔82bの孔の外側に位置する。そのため、第二ターゲット物質は、第一保持領域81Aには到達しない。よって、第二基板13Aには、第二ターゲット物質が堆積しない。すなわち、第二基板13Aでは、第二ターゲット物質による成膜は行われない。
なお、第一ヤトイ12は、第二保持領域81Bと略同一円周上に配されている。そのため、第一基板3には、第一ターゲット物質と第二ターゲット物質による薄膜が作製される。すなわち、第一基板3には、第二基板13Bと同じ薄膜が作製形成される。
本実施形態では、第一基板3上に、多層膜を成膜している。ここで、第一基板3の屈折率と第二基板13A、13B、13Cの屈折率は1.52であって、同一の屈折率となっている。この第一基板3上に、SiO2とNb2O5との混合膜、或いはそれぞれの単層膜を積層する。より具体的には、多層膜は、高い屈折率を有する高屈折率膜と、高屈折率膜よりも相対的に低い屈折率を有する低屈折率膜とからなり、合計16層の薄膜で構成されている。
ここで、各層の屈折率は、相対的に高い屈折率(H)を2.19、相対的に低い屈折率(L)を1.46とする。
ここでは、以下の表3に示す値を設定して成膜した。表3に示すように、第一基板3及び第二基板13Bの奇数層目には、SiO2とNb2O5の混合膜を、光学膜厚1(実際の膜厚で規格化した値)で成膜する。また、第一基板3及び第二基板13Bの偶数層目には、SiO2膜を、光学膜厚1で成膜する。また、第二基板13Aには、SiO2膜のみを成膜する。また、第二基板13Cには、Nb2O5膜のみを成膜する。なお、最外層の薄膜のみ、光学膜厚を0.5とした。
具体的には、SiO2膜のみが作製される第二基板13Aについて、その光量変化を測定器41Cで測定する。また、同時に、Nb2O5膜のみが作製される第二基板13Cについて、その光量変化を測定器41Cで測定する。ここで、1層目の成膜が終了した時で、第二基板13Cの測定結果から、例えば、Nb2O5膜の膜厚が、所望の膜厚より厚く作製されていることが判明したとする。そして、その影響を受けて、混合膜の屈折率が、理想値の2.19に対して2.23と高くなっていたとする。
屈折率2.19は、Nb2O5膜の2.37とSiO2膜1.46よりその比は、
Nb2O5膜:SiO2膜=80.2%:19.8%
となる。
この比が成膜する光学膜厚の179nmのうち、それぞれの材料が占める比率である。
一方、屈折率2.23となった場合、Nb2O5膜の2.37とSiO2膜1.46よりその比は、
Nb2O5膜:SiO2膜=84.6%:15.4%
となる。
これより、差分は84.6%−80.2%=4.4%となる。
この場合、Nb2O5の到達量を、膜厚比分の4.4%だけ抑制しなくてはならない。そのために、2層目のSiO2膜の成膜が終了するまでの間に、第二開口部26の開口幅を狭くする。そして、3層目以降の成膜を行う。
所望の特性(理想特性)に対して、成膜途中でフィードバック制御を行ったものは、50%透過波長が606nmで理想値と実測値とが同一に重なった。このことから、フィードバック制御によって良好な補正を行うことができ、所望の特性にきわめて近い特性を得ることができた。
従って、第二基板13A、13Cの透過光量をそれぞれ測定することによって、混合膜における各物質の成膜量を把握することができる。そして、その把握結果に基づいて、第一基板3に到達するターゲット物質の量を制御することができる。よって、屈折率の異なる二つ以上のターゲット物質を用いて薄膜を作製するにあたって、任意の屈折率を有する薄膜を容易に、かつ、精度良く作製することができる。
なお、上述した他の実施形態と同様の構成要素には同一符号をしている。また、これらの構成要素については、説明を省略する。
第4の実施形態では、第3の実施形態に係る薄膜形成装置80を使用している。第3の実施形態との異なる点は、本実施形態に係る薄膜形成方法が、第二基板13Bについて1層毎に分光特性を測定し、特定の波長についての分光特性に基づいて、開口部の調整を行なっている点である。
ここで、1層目の薄膜の透過率特性より、1層目の屈折率が2.23であったとする。これは、所望の屈折率2.19より高くなっている状態である。そこで、2層目以降の成膜に関しては、Nb2O5が基板に到達する量を調整する必要がある。すなわち、第二開口部26の開口幅の調整を行う必要がある。
Nb2O5単層膜の屈折率2.37と、SiO2単層膜の屈折率1.46から、理想的な1層目の屈折率2.19に対するウェイトは、以下のようになる。
(2.19−1.46)/(2.37−1.46)=80.22%
これに対して、実際の屈折率2.23に対するウェイトは、以下のようになる。
(2.23−1.46)/(2.37−1.46)=84.62%
即ち、理想値に対して4.40%増となる。
そこで、Nb2O5の比率を4.40%下げる必要があることから、第二開口部26の開口幅を各層4.40%減少させた。
こうして新たに表5に示す設定にて3層目以降の成膜を行った。
図19からわかるように、成膜途中でフィードバック制御を行った場合、50%透過波長が、606nmのところで理想値と同一となっている。従って、この薄膜形成方法におけるフィードバック制御により、屈折率に関して良好な補正を行うことができたことがわかる。よって、この薄膜形成方法において、所望の分光透過率特性にきわめて近い特性を得ることができた。
一方、修正を行わなかった比較例では、分光透過率特性からわかるように、50%透過波長が601.5nmとなって短波長側に4.5nmずれている。そのため、この多層膜を光が透過すると、理想状態とは異なる色みが、透過光に現れてしまう。すなわち、比較例の多層膜は、光学特性的に不十分な性能である。
なお、上述した他の実施形態と同様の構成要素には同一符号を付している。また、これらの構成要素については、説明を省略する。
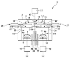
第5の実施形態と第3の実施形態との異なる点は、本実施形態に係る薄膜形成装置90では、測定器91を水晶式の測定器とした点である。
制御部98は、センサー部92、93の水晶振動子の周波数変化を検出する。そして、制御部98は、センサー部92、93に作製された個々の薄膜の膜厚を算出する。この算出にあたっては、膜厚の変化量から膜厚を算出することもできる。続いて、制御部98は、この算出結果に基づいて、所望の膜厚からの乖離を算出する。そして、成膜量を規定している開口幅の調整を行なう。
本実施形態でも、第3の実施形態と同様に、成膜準備を行う。そして、第一開口部23及び第二開口部26の開口幅を決定する。続いて、各シャッター30を同時に開けて、成膜を開始する。
本実施形態では、例えば、以下の表3に示す値を設定して成膜する。この多層膜では、第一基板3の奇数層目にSiO2とNb2O5の混合膜が作製され、偶数層目にはSiO2膜が作製されるようにした。また、センサー部92にはSiO2膜のみが、センサー部93にはNb2O5膜のみが作製されるようにした。
このとき、センサー部92は、SiO2のみで成膜が行われ、センサー部93は、Nb2O5のみで成膜が行なわれる。そこで、センサー部92とセンサー部93のそれぞれの膜厚増加量を、測定器91にて検出する。ここで、例えば、Nb2O5膜の膜厚が、所望の膜厚よりも厚く作製されていることが判明したとする。そして、その影響を受けて、混合膜の屈折率が、理想値の2.19に対して2.23と高くなっていたとする。この場合、Nb2O5の到達量を、膜厚比分の4.4%だけ抑制しなくてはならない。そのために、2層目のSiO2膜の成膜が終了するまでの間に、第二開口部26の開口幅を狭くする。そして、3層目以降の成膜を行う。
この薄膜形成装置90及び薄膜形成方法によっても、上記第3の実施形態と同様の効果を得ることができる。
なお、上述した他の実施形態と同様の構成要素には同一符号をしている。また、これらの構成要素については、説明を省略する。
第6の実施形態と第3の実施形態との異なる点は、本実施形態に係る薄膜形成方法が、第一基板3上に多層膜を形成する際に、まず、最初に、第一基板3と同じ屈折率を有する混合膜を作製し、続いて、次層以降(多層膜)を成膜する点、及び、混合膜の作製にあたって、混合膜の透過光量が増加あるいは減少しないように、ターゲット物質の飛散量を変化ている点である。
まず、混合膜を基板上に作製する。この混合膜は、第一基板3と同じ屈折率1.52を有する。成膜にあたっては、監視波長は600nmとする。
混合膜の作製後に、測定器によって第二基板13Bの透過光量変化を計測する。ここで、上記1.52の屈折率の混合膜が作製された場合には、透過光量は91.8%になる。ところが、図25に示すように、上記開口幅の場合には、屈折率1.57の混合膜が得られた。
この結果をもとにフィードバック制御を行なった。すなわち、第二開口部26の開口幅を、所定の幅に設定した。そして、設定した開口幅で、多層膜を作製した。ここでの開口幅の制御は、第3の実施形態と同様に、理想値と実測値との膜厚比を反映する制御とする。
図26からわかるように、フィードバック制御を行った場合には、606nmと400nm〜590nmの透過帯域で、50%透過波長が理想値と同一になっている。すなわち、フィードバック制御により、屈折率に関して良好な補正を行うことができたことがわかる。このように、この薄膜形成方法において、所望の特性にきわめて近い特性を得ることができた。
なお、混合膜の膜厚及び屈折率は、第一基板3の屈折率に対して屈折率±0.2であるのが望ましい。更に、望ましくは±0.15以内であればよい。この範囲内であれば、分光特性に悪影響を及ぼさない。
なお、上述した他の実施形態と同様の構成要素には同一符号を付している。また、これらの構成要素については、説明を省略する。
第7の実施形態と第6の実施形態との異なる点は、本実施形態に係る薄膜形成方法が、第一基板3上に多層膜を形成する際に、最初に、2つの材料の略平均屈折率を有する混合膜を作製した後、高い屈折率を有する高屈折率膜と、該高屈折率膜よりも相対的に低い屈折率を有する低屈折率膜を有する多層膜を作製する点、混合膜が、高屈折率膜及び低屈折率膜の間の屈折率を有する点、混合膜の透過光量を測定し、理想値と測定値との乖離を減らす方向にターゲット物質の到達量を変化させて、次層以降を成膜する点である。
まず、第6の実施形態と同様の方法によって、多層膜の1層目を成膜する前に、屈折率1.92の混合膜を第一基板3上に形成した。この屈折率1.92は、SiO2膜の屈折率1.46とNb2O5膜の屈折率2.37の平均の屈折率である。また、混合膜の作製に際しては、第一開口部23及び第二開口部26の開口幅を、例えば、それぞれ36mm、70mmとした。
この結果をもとに、フィードバック制御を行なった。すなわち、第二開口部26の開口幅を、所定の幅に設定した。そして、設定した開口幅で、多層膜を作製した。ここでの開口幅の制御は、第3の実施形態と同様に、理想値と実測値との膜厚比を反映する制御とする。
図26からわかるように、フィードバック制御を行った場合には、606nmと400nm〜590nmの透過帯域で、50%透過波長が理想値と同一になっている。この結果から、フィードバック制御により、屈折率に関して良好な補正を行うことができできたことがわかる。このように、この薄膜形成方法において、所望の特性にきわめて近い特性を得ることができた。
例えば、ターゲット物質は、金属、酸化物、フッ化物の何れのものでもよい。また、形状も円形に限らず、正方形、長方形であっても構わない。
また、SiO2、Al2O3,Ta2O5、TiO2、HfO2、Nb2O5、MgF2、或いはその混合物や化合物から、酸化物膜、フッ化物膜を作製する場合には、直流電圧ではなく高周波電圧を印加して行っても構わない。
3 第一基板
4a 第一保持部
4b 第二保持部
4c 第三保持部
5 第一スパッタリングターゲット(第一ターゲット)
6 第二スパッタリングターゲット(第二ターゲット)
12 第一ヤトイ(第一基板保持部)
13、13A、13B、13C 第二基板
15、81 第二ヤトイ(第二基板保持部)
16、71 回転保持具(基板移動部)
18 第一位置
20 第二位置
21 第三位置
22 回転モータ(移動機構)
23 第一開口部
25 第一可変機構
26 第二開口部
27 第二可変機構
31、72、82 防着板(仕切り部)
31a、82a 第一孔
31b、82b 第二孔
41、61、91 測定器
42、98 制御部
81A 第一保持領域
81B 第二保持領域
81C 第三保持領域
Claims (10)
- 第一ターゲットを保持する第一保持部と、
第二ターゲットを保持する第二保持部と、
第一基板が配される第一基板保持部と、
前記第一基板とは別の第二基板が配される第二基板保持部と、
前記第一基板保持部及び前記第二基板保持部が設けられ、前記第一保持部及び前記第二保持部と対向して配される基板移動部と、
該基板移動部を移動させる移動機構と、
前記基板移動部と前記第一保持部との間に配され、第一開口部を有する第一可変機構と、
前記基板移動部と前記第二保持部との間に配され、第二開口部を有する第二可変機構と、
前記第二基板保持部と対向可能に配されている測定器の測定結果に基づき、前記第一開口部及び前記第二開口部の少なくとも一方の大きさを変化させる制御部とを備え、
前記第二基板保持部は、
第一、第二、及び第三保持領域を有し、
前記第一保持領域及び前記第二保持領域と対向する第一孔と、前記第二保持領域及び前記第三保持領域と対向する第二孔とを有する仕切り部が配されており、
前記測定器は、前記第二基板の光学特性を測定し、
前記測定器の測定結果は、前記光学特性の変化である
ことを特徴とする薄膜形成装置。 - 前記測定器が、前記第一保持領域乃至前記第三保持領域と対向可能な位置に配されていることを特徴とする請求項1に記載の薄膜形成装置。
- 第一基板保持部に配された第一基板と対向する位置に第一保持部に保持された第一ターゲットおよび第二保持部に保持された第二ターゲットを配置し、前記第一基板と同じ側で第一、第二、及び第三保持領域を有する第二基板保持部に配された、前記第一基板とは別の第二基板を配置してスパッタリングを行なって、薄膜を形成する薄膜形成方法であって、
前記スパッタリングの際に、
前記第一および第二のターゲットから、ターゲット物質を飛散させる工程と、
前記第一基板保持部及び前記第二基板保持部が設けられ、前記第一保持部及び前記第二保持部と対向して配される基板移動部を移動させる工程と、
前記飛散したターゲット物質を、前記第一保持領域及び前記第二保持領域と対向する第一孔と前記第二保持領域及び前記第三保持領域と対向する第二孔とを有する仕切り部の、前記第一孔および前記第二孔を通過させる工程と、
前記第二基板保持部と対向可能に配されている測定器により、前記第二基板を測定する工程と、
前記測定器の測定結果に基づいて、前記基板移動部と前記第一保持部との間に配された第一開口部と、前記基板移動部と前記第二保持部との間に配され第二開口部との少なくとも一方の大きさを変化させることにより、前記第一基板に到達する前記ターゲット物質の量を変化させる工程と
を備え、
前記測定器は、前記第二基板の光学特性を測定し、
前記測定器の測定結果は、前記光学特性の変化である
ことを特徴とする薄膜形成方法。 - 前記光学特性の変化が、前記第二基板に成膜される薄膜の膜厚変化に基づくものであることを特徴とする請求項3に記載の薄膜形成方法。
- 前記光学特性が、光量或いは分光特性であることを特徴とする請求項3または4に記載の薄膜形成方法。
- 前記ターゲット物質の量を変化させる工程が、前記第一基板に一つの薄膜を作製した後に行われることを特徴とする請求項3から5の何れか一つに記載の薄膜形成方法。
- 前記ターゲット物質の量を変化させる工程が、前記第一基板に一つの薄膜を作製する中で行われることを特徴とする請求項3から5の何れか一つに記載の薄膜形成方法。
- 前記ターゲット物質の量を変化させる工程が、前記第一基板への成膜が終了した後に行われることを特徴とする請求項3から5の何れか一つに記載の薄膜形成方法。
- 前記第一基板上に多層膜を形成する際に、
前記第一基板上に、前記第一基板と同じ屈折率を有する混合膜を作製する工程と、
該混合膜の作製工程の後に、前記多層膜を作製する工程とを備え、
前記混合膜の作製工程において、前記混合膜の透過光量又は反射光量が増加あるいは減少しないように、前記ターゲット物質の到達量を変化させることを特徴とする請求項3に記載の薄膜形成方法。 - 前記第一基板上に、高い屈折率を有する高屈折率膜と、該高屈折率膜よりも相対的に低い屈折率を有する低屈折率膜とを有する多層膜を作製する際に、
前記高屈折率膜と前記低屈折率膜の略平均の屈折率を有する混合膜を作製する工程と、
前記混合膜の透過光量又は反射光量を測定する工程と、
理想値と測定値との乖離を減らす方向に前記ターゲット物質の到達量を変化させて、次層以降を成膜する工程とを備えていることを特徴とする請求項3に記載の薄膜形成方法。
Priority Applications (1)
| Application Number | Priority Date | Filing Date | Title |
|---|---|---|---|
| JP2005155846A JP4792242B2 (ja) | 2005-05-27 | 2005-05-27 | 薄膜形成装置及び薄膜形成方法 |
Applications Claiming Priority (1)
| Application Number | Priority Date | Filing Date | Title |
|---|---|---|---|
| JP2005155846A JP4792242B2 (ja) | 2005-05-27 | 2005-05-27 | 薄膜形成装置及び薄膜形成方法 |
Publications (2)
| Publication Number | Publication Date |
|---|---|
| JP2006330485A JP2006330485A (ja) | 2006-12-07 |
| JP4792242B2 true JP4792242B2 (ja) | 2011-10-12 |
Family
ID=37552215
Family Applications (1)
| Application Number | Title | Priority Date | Filing Date |
|---|---|---|---|
| JP2005155846A Expired - Fee Related JP4792242B2 (ja) | 2005-05-27 | 2005-05-27 | 薄膜形成装置及び薄膜形成方法 |
Country Status (1)
| Country | Link |
|---|---|
| JP (1) | JP4792242B2 (ja) |
Families Citing this family (5)
| Publication number | Priority date | Publication date | Assignee | Title |
|---|---|---|---|---|
| JP5209932B2 (ja) * | 2006-12-28 | 2013-06-12 | 株式会社リコー | 偏光ビームスプリッタおよび偏光変換素子 |
| US8419296B2 (en) | 2007-09-19 | 2013-04-16 | Mitsubishi Cable Industries, Ltd. | Optical fiber structure, system for fabricating the same, and block-like chip for use therein |
| JP4878632B2 (ja) * | 2009-07-03 | 2012-02-15 | 株式会社シンクロン | 光学式膜厚計及び光学式膜厚計を備えた薄膜形成装置 |
| JP6218566B2 (ja) * | 2013-11-15 | 2017-10-25 | 株式会社オプトラン | 薄膜形成装置および薄膜形成方法 |
| CN109161861B (zh) * | 2018-10-23 | 2020-05-15 | 宁波工程学院 | 一种用于镀制非均匀多层薄膜的系统 |
Family Cites Families (5)
| Publication number | Priority date | Publication date | Assignee | Title |
|---|---|---|---|---|
| JPS6431967A (en) * | 1987-07-27 | 1989-02-02 | Tokio Nakada | Manufacture of thin film |
| JPH0643176Y2 (ja) * | 1989-09-04 | 1994-11-09 | トヨタ自動車株式会社 | インライン式成膜装置 |
| JP3401058B2 (ja) * | 1993-08-30 | 2003-04-28 | アルバック成膜株式会社 | 薄膜の光学的特性測定方法及びその装置 |
| JP2004244722A (ja) * | 2003-01-24 | 2004-09-02 | Olympus Corp | 薄膜形成装置及び薄膜形成方法並びに光学素子 |
| JP4418179B2 (ja) * | 2003-06-19 | 2010-02-17 | オリンパス株式会社 | 薄膜形成装置及び薄膜形成方法 |
-
2005
- 2005-05-27 JP JP2005155846A patent/JP4792242B2/ja not_active Expired - Fee Related
Also Published As
| Publication number | Publication date |
|---|---|
| JP2006330485A (ja) | 2006-12-07 |
Similar Documents
| Publication | Publication Date | Title |
|---|---|---|
| US20040008435A1 (en) | Optical film thickness controlling method, optical film thickness controlling apparatus, dielectric multilayer film manufacturing apparatus, and dielectric multilayer film manufactured using the same controlling apparatus or manufacturing apparatus | |
| CN102892918B (zh) | 薄膜形成方法和薄膜形成装置 | |
| JP4667204B2 (ja) | 多層膜の形成方法 | |
| JP2006091694A (ja) | Ndフィルタ及びその製造方法と光量絞り装置 | |
| JP4792242B2 (ja) | 薄膜形成装置及び薄膜形成方法 | |
| JP4728143B2 (ja) | 薄膜形成装置 | |
| JP2009288294A (ja) | 光学フィルタ及びこの光学フィルタの成膜方法とこの光学フィルタの製造装置並びに撮像光量調整装置 | |
| JP3892525B2 (ja) | 膜厚モニタ装置ならびに真空蒸着方法および真空蒸着装置 | |
| CN100545301C (zh) | 溅射装置及溅射成膜方法 | |
| JP4876619B2 (ja) | 反応性スパッタリング装置及び成膜方法 | |
| JP2009102717A (ja) | 光学フィルタの成膜方法及び光学フィルタ並びに撮像光量絞り装置 | |
| JP2009228062A (ja) | スパッタ成膜装置及びスパッタ成膜方法 | |
| JP2006071402A (ja) | 多層膜の膜厚制御方法及び成膜装置 | |
| JP2010018851A (ja) | 成膜装置 | |
| JP4547612B2 (ja) | 膜厚制御方法及び装置、並びに光学多層膜の製造方法 | |
| JP2004244722A (ja) | 薄膜形成装置及び薄膜形成方法並びに光学素子 | |
| JP2005154804A (ja) | 光学薄膜成膜装置及び光学薄膜成膜方法 | |
| JPH10317128A (ja) | 膜厚均一化装置ならびに真空蒸着方法および真空蒸着装置 | |
| JP2003029026A (ja) | 光学薄膜の成膜装置及び成膜方法並びに光学フィルタ | |
| JP4003159B2 (ja) | 薄膜の成膜装置及び成膜方法 | |
| JP4418179B2 (ja) | 薄膜形成装置及び薄膜形成方法 | |
| JP2010222596A (ja) | 光学薄膜の成膜方法および成膜装置 | |
| JP2008095158A (ja) | スパッタ成膜装置及びスパッタ成膜方法 | |
| JP2005320568A (ja) | 薄膜形成装置及び膜厚監視方法 | |
| JP2007051347A (ja) | 多層膜とその形成装置及び形成方法、及び多層膜を有する光学素子 |
Legal Events
| Date | Code | Title | Description |
|---|---|---|---|
| A621 | Written request for application examination |
Free format text: JAPANESE INTERMEDIATE CODE: A621 Effective date: 20080526 |
|
| A977 | Report on retrieval |
Free format text: JAPANESE INTERMEDIATE CODE: A971007 Effective date: 20110121 |
|
| A131 | Notification of reasons for refusal |
Free format text: JAPANESE INTERMEDIATE CODE: A131 Effective date: 20110201 |
|
| A521 | Written amendment |
Free format text: JAPANESE INTERMEDIATE CODE: A523 Effective date: 20110325 |
|
| A521 | Written amendment |
Free format text: JAPANESE INTERMEDIATE CODE: A821 Effective date: 20110328 |
|
| A131 | Notification of reasons for refusal |
Free format text: JAPANESE INTERMEDIATE CODE: A131 Effective date: 20110419 |
|
| A521 | Written amendment |
Free format text: JAPANESE INTERMEDIATE CODE: A523 Effective date: 20110531 |
|
| A521 | Written amendment |
Free format text: JAPANESE INTERMEDIATE CODE: A821 Effective date: 20110601 |
|
| TRDD | Decision of grant or rejection written | ||
| A01 | Written decision to grant a patent or to grant a registration (utility model) |
Free format text: JAPANESE INTERMEDIATE CODE: A01 Effective date: 20110719 |
|
| A01 | Written decision to grant a patent or to grant a registration (utility model) |
Free format text: JAPANESE INTERMEDIATE CODE: A01 |
|
| A61 | First payment of annual fees (during grant procedure) |
Free format text: JAPANESE INTERMEDIATE CODE: A61 Effective date: 20110725 |
|
| FPAY | Renewal fee payment (event date is renewal date of database) |
Free format text: PAYMENT UNTIL: 20140729 Year of fee payment: 3 |
|
| R151 | Written notification of patent or utility model registration |
Ref document number: 4792242 Country of ref document: JP Free format text: JAPANESE INTERMEDIATE CODE: R151 |
|
| S531 | Written request for registration of change of domicile |
Free format text: JAPANESE INTERMEDIATE CODE: R313531 |
|
| R350 | Written notification of registration of transfer |
Free format text: JAPANESE INTERMEDIATE CODE: R350 |
|
| LAPS | Cancellation because of no payment of annual fees |
