JP4674792B2 - 静電チャック - Google Patents

静電チャック Download PDF

Info

Publication number
JP4674792B2
JP4674792B2 JP2004351448A JP2004351448A JP4674792B2 JP 4674792 B2 JP4674792 B2 JP 4674792B2 JP 2004351448 A JP2004351448 A JP 2004351448A JP 2004351448 A JP2004351448 A JP 2004351448A JP 4674792 B2 JP4674792 B2 JP 4674792B2
Authority
JP
Japan
Prior art keywords
electrostatic chuck
wafer
protrusion
temperature
protrusions
Prior art date
Legal status (The legal status is an assumption and is not a legal conclusion. Google has not performed a legal analysis and makes no representation as to the accuracy of the status listed.)
Expired - Fee Related
Application number
JP2004351448A
Other languages
English (en)
Other versions
JP2005191561A (ja
Inventor
伸也 西本
博之 中山
英利 木村
Current Assignee (The listed assignees may be inaccurate. Google has not performed a legal analysis and makes no representation or warranty as to the accuracy of the list.)
Tokyo Electron Ltd
Sumitomo Osaka Cement Co Ltd
Original Assignee
Tokyo Electron Ltd
Sumitomo Osaka Cement Co Ltd
Priority date (The priority date is an assumption and is not a legal conclusion. Google has not performed a legal analysis and makes no representation as to the accuracy of the date listed.)
Filing date
Publication date
Application filed by Tokyo Electron Ltd, Sumitomo Osaka Cement Co Ltd filed Critical Tokyo Electron Ltd
Priority to JP2004351448A priority Critical patent/JP4674792B2/ja
Publication of JP2005191561A publication Critical patent/JP2005191561A/ja
Application granted granted Critical
Publication of JP4674792B2 publication Critical patent/JP4674792B2/ja
Anticipated expiration legal-status Critical
Expired - Fee Related legal-status Critical Current

Links

Images

Landscapes

  • Drying Of Semiconductors (AREA)
  • Container, Conveyance, Adherence, Positioning, Of Wafer (AREA)

Description

本発明は、被吸着基板を静電気力によって吸着固定する静電チャックに関し、更に詳しくは、被吸着基板の処理時に耐消耗性を高めると共に被吸着基板の面内温度を所望の温度に制御することができる静電チャックに関する。
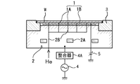
従来の静電チャック1は、例えば図12に示すように、被吸着基板(例えば、ウエハ)Wのプラズマ処理する際にプラズマ処理装置の載置体の一部として用いられるもので、ウエハWを載置体2上面に静電気力で吸着、固定するために用いられる。また、載置体2の載置面の周囲にはフォーカスリング3が配置され、このフォーカスリング3によって静電チャック1上のウエハWを囲んでいる。
また、載置体2には整合器4Aを介して高周波電源4が接続され、所定の真空度下で高周波電源4から所定の高周波電力を印加して上部電極(図示せず)との間でプロセスガスのプラズマを発生させ、フォーカスリング3によってプラズマをウエハW上面に集束させる。載置体2の内部には冷媒通路2Aが形成され、冷媒通路2Aを冷媒が循環することにより載置体2を冷却し、ウエハWを所定の温度に保持する。また、載置体2の内部には熱伝導性ガス(例えば、Heガス)のガス通路2Bが形成され、このガス通路2Bは載置体2上面の複数箇所で開口している。
静電チャック1にはガス通路2Bに対応する貫通孔1Aが形成され、ガス通路2Bから供給されたHeガスを静電チャック1の貫通孔1Aから載置体2とウエハW間の隙間に供給し、静電チャック1とウエハW間の細隙に熱伝導性を付与し、載置体2によってウエハWを効率良く冷却する。静電チャック1は例えばアルミナ焼結体またはアルミナ溶射からなるセラミックによって形成され、その内部には直流電源5に接続された電極板1Bが介在している。静電チャック1は直流電源5から印加された高電圧によって発生する静電気力でウエハWを静電吸着する。また、載置体2には複数のリフタピン(図示せず)が昇降可能に設けられ、これらのリフタピンによって静電チャック1上でウエハWの受け渡しを行う。
ところで、セラミック溶射による静電チャックは、ウエハWの吸着面が脆く、その成分からなるパーティクル等を発生し、ウエハW裏面にパーティクル等が付着しやすく、ウエハWの洗浄工程でのクロスコンタミネーションの問題を生じている。更に、ウエハWの吸着、引き離しの操作を繰り返す間に静電チャック1の表面が徐々に荒れて表面状態が変化し、ウエハ温度を初期の通り制御することができず、ウエハ温度が経時的に変化するという問題もあった。
一方、アルミナ焼結体等によって形成された静電チャック1については、例えば特許文献1及び特許文献2に開示されている。特許文献1にはハロゲン系ガスのプラズマに対する耐腐食性を高めた静電チャックについて記載されている。また、特許文献2には、表面に複数のドットが形成された静電チャックについて記載されている。これらの静電チャックの場合には上述のような問題を解消することができる。
特許第3348140号公報 特開2000−332091号公報
しかしながら、特許文献1に記載の静電チャックの場合には、耐プラズマ性を高めることができるが、セラミック溶射の場合と同様に、静電チャックとウエハW間の隙間が狭く、しかも静電チャックの静電容量が大きいため、リフタピンを用いてウエハWを静電チャックから引き離す際、静電チャックの残留電荷による吸着力が原因でリフタピンによってウエハWが跳ね上げる虞があった。
また、特許文献2に記載の静電チャックの場合には、吸着面に多数のドットが形成されているため、ウエハWの跳ね上げに関する問題は解消することができる。しかしながら、静電チャックのドットの高さが5μm以下と低く、静電チャックとウエハW間の隙間に熱伝導性ガスを供給してもウエハW全面に均一に行き渡り難いため、ウエハ温度を速やかに制御することができず、静電チャックの表面に放射状の溝を設けて熱伝導性ガスがウエハW全面に行き渡るようにしているが、溝部分とそれ以外の部分での熱伝導性ガスによる熱伝達に差を生じやく面内温度を均一に制御することが難しいという課題があった。また、ドットとウエハWとの接触面積が20%と大きいため、熱伝導性ガスにより所望の温度あるいは温度分布に制御することができなかった。また、この静電チャックの場合には耐プラズマ性に対しては明らかでない。
本発明は、上記課題を解決するためになされたもので、残留電荷による被吸着基板の跳ね上げがなく、また、耐プラズマ性を高めて表面祖度を殆ど変化させないようにする共に被吸着基板全面の面内温度を速かに制御することができ、しかも被吸着基板の温度制御性を安定化することができる静電チャックを提供することを目的としている。
本発明の請求項1に記載の静電チャックは、静電気力を使用して被吸着基板を吸着する静電チャックであって、上記静電チャックは、上記被吸着基板と接触する複数の突起部を有し且つ上記突起部が所定の粒径を有する結晶粒子を含むセラミック誘電体によって形成されていると共に、上記複数の突起部の上記被吸着基板との接触面を、プラズマによるドライクリーニングによって表面処理することにより上記粒径に依存して最終的に安定する一定の表面粗度に形成してなり、且つ、上記セラミック誘電体が酸化アルミニウムを主成分とするものであり、上記所定の粒径が1〜2μmであり、上記接触面の表面粗度がRa0.2〜0.3μmであることを特徴とするものである。
また、本発明の請求項2に記載の静電チャックは、請求項1に記載の発明において、上記セラミック誘電体は、炭化珪素を含むことを特徴とするものである。
また、本発明の請求項3に記載の静電チャックは、請求項1または請求項2に記載の発明において、上記突起部の硬度を、ヴィッカース硬度でHv2000以上に設定したことを特徴とするものである。
また、本発明の請求項4に記載の静電チャックは、請求項1〜請求項3のいずれか1項に記載の発明において、上記複数の突起部の上記被吸着基板の単位面積当たりの接触面積比率を、15%以下に設定したことを特徴するものである。
また、本発明の請求項5に記載の静電チャックは、請求項4に記載の発明において、上記突起部を、直径が0.5mm以下の円柱状の突起として形成したことを特徴とするものである。
また、本発明の請求項6に記載の静電チャックは、請求項4または請求項5に記載の発明において、上記複数の突起部間の距離を、1mm以下に設定したことを特徴とするものである。
また、本発明の請求項7に記載の静電チャックは、請求項4請求項6のいずれか1項に記載の発明において、上記突起部の高さを、30μm以上に設定したことを特徴とするものである。
本発明によれば、残留電荷による被吸着基板の跳ね上げがなく、また、耐プラズマ性を高めて表面祖度を殆ど変化させないようにする共に被吸着基板全面の面内温度を速やかに制御することができ、しかも被吸着基板の温度制御性を安定化することができる静電チャックを提供することができる。
本発明の静電チャックは、例えばプラズマ処理装置に用いることによって好適な結果が得られた。以下、プラズマ処理装置に用いられた静電チャックを例に挙げて説明する。
以下、図1〜図11に示す実施形態に基づいて本発明を説明する。
本実施形態のプラズマ処理装置10は、例えば図1に示すように、高真空を保持し得るチャンバー11と、このチャンバー11内に配置され且つ被吸着基板(例えば、ウエハ)Wを載置する載置体12と、この載置体12をチャンバー11から電気的に絶縁する絶縁体13とを備え、チャンバー11に排気管14Aを介して接続された真空排気系14によって所定の真空度を保持したチャンバー11内でウエハWに対して所定のプラズマ処理を施すように構成されている。
上記載置体12は、電極15と、電極15上に接着剤によって貼り付けられた静電チャック16とを備えている。電極15には高周波電源17が接続され、高周波電源17から電極15に所定の高周波電力を印加してチャンバー11内でプラズマを発生させる。また、電極15内には冷媒流路15Aが形成され、冷媒流路15A内に所定の冷媒を供給して電極15及び静電チャック16を介してウエハWを所定の温度に制御する。静電チャック16には後述のように高電圧直流電源18が接続され、高電圧直流電源18から静電チャック16に高電圧を印加して静電チャック16に静電気力を発生させ、静電チャック16上にウエハWを吸着、固定する。
また、上記載置体12にはHeガス等の熱伝導性ガスを供給し、後述するように熱伝導性ガスによって静電チャック16とウエハW間の熱伝導性を高め、ウエハW全面の温度を均一に制御するようにしてある。即ち、載置体12には熱伝導性ガスを供給する供給源19がガス配管19Aを介して接続され、ガス配管19Aは二系統の第1、第2の分岐配管19B、19Cに分岐している。第1、第2の分岐配管19B、19Cにはそれぞれ第1、第2のガス圧力制御器20A、20B及びバルブ21A、21Bが取り付けられ、これらのバルブ21A、21Bによって第1、第2の分岐配管19B、19Cを開閉すると共にガス圧力制御器20A、20Bによって熱伝導性ガスの圧力を制御するようにしてある。第1、第2の分岐配管19B、19Cは、バルブ21A、21Bの上流側で更に分岐し、バルブ22A、22B及びオリフィス23A、23Bを介して真空排気系14に接続され、真空排気系14によって熱伝導性ガスを所定の供給圧力に保つようしている。
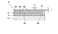
而して、上記静電チャック16は、図1、図2及び図4に示すように、電極15に接着材Aにより接着されたセラミック誘電体16Aと、セラミック誘電体16A内に形成された電極層16Bとから構成されている。静電チャック16の吸着面、即ちセラミック誘電体16Aの上面には多数の突起部16Cが略全面に均等に分散して形成されている。このように多数の突起部16Cを設けることによって静電チャック16における残留電荷の影響が軽減し、ウエハWを静電チャック16から引き離す際の跳ね上げを防止することができる。これらの突起部16Cは、例えば図2に示すように互いに略等間隔を隔てて配置され、それぞれの上端はウエハWとの接触面として平坦に形成されている。
上記複数の突起部16CのウエハWとの接触面積は、ウエハWの単位面積当たり15%以下に設定されていることが好ましい。この接触面積のウエハWに対する割合は小さいほうが熱伝導性ガスによるウエハ温度の制御を容易に行うことができるが、小さすぎると熱伝導性ガスよりも高い熱伝導率を有するセラミックで形成される突起部16Cを介してのウエハWと冷媒との間の熱伝導が小さくなってウエハWの平衡温度が上昇する。ウエハWの単位面積当たりの接触面積比率が15%を超えると、熱伝導性ガスによる温度制御性が低下するため好ましくない。本実施形態では所望の平衡温度と温度制御性を実現するために15%に設定されている。
熱伝導性ガスによるウエハ温度の制御性は、突起部16C間の底面と突起部16Cの側面との合計の総接ガス面積によって大きく変化する。つまり、熱伝導性ガスによるウエハWへの熱伝導は、ウエハW裏面と直接接触している部分からの熱伝導以外に、突起部16C間の底面と突起部16Cの側面とから突起部16Cを経由する熱伝導が存在する。そのため、総接ガス面積が大きいほど熱伝導性ガスによる熱伝導効率が良い。
ウエハWと突起部16Cの総接触面積が同一の場合、突起部16Cの高さが高いほど突起部16Cの側面の面積が大きくなり、延いては総接ガス面積は大きくなるため好ましい。また、個々の突起部16Cの任意の高さの水平断面が同一形状の突起部が複数形成されている場合には、個々の突起部16Cの水平断面(ウエハWとの接触面)が小さいほど総接ガス面積が大きくなるため好ましい。
突起部16Cは、ウエハWと突起部16Cの単位面積当たりの接触面積比率〔(突起部表面接触部/ウエハ面積)×100%〕を15%以下に設定することが好ましい。ウエハ温度の制御性を勘案すれば、突起部16Cは、直径0.5mm以下、高さ30μm以上が好ましく、高さは40μm以上がより好ましい。また、突起部16Cの直径と高さのアスペクト比(高さ/直径)が1より大きくなると、突起部16CがウエハWとの擦れ等によって破損する虞があるため、直径の下限及び高さの上限はアスペクト比で1以下の範囲に設定することが好ましい。個々の突起部16Cは、例えば、円柱状で、水平断面の直径が0.5mm、高さが30μmに設定されている。
突起部16Cの総側面面積を大きく設定するために、水平断面形状を円形状ではなく楕円形状や方形状にしても良く、また、突起部16Cの側面は垂直面ではなく傾斜あるいは段差を付けて下側の断面が大きい構造にしても良い。また、突起部16Cの先端のエッジ部は削れによるパーティクルの発生を抑制するため、曲面形状にすることが好ましい。この場合、ウエハWとの接触面は、曲面部分を含まずウエハWと接触する部分のみである。
また、上記複数の突起部16C間の距離δは、図4に示すように、2mm以下、好ましくは1mm以下、更に好ましくはウエハWの厚みtと略等しいか、あるいは厚みtより短くなるように設定されていることが好ましい。距離δと厚みtとを略等しく設定することにより、突起部16C上面からウエハWの表面まで熱伝達する時間とこの突起部16Cから隣接する突起部16Cまで熱伝達する時間が略等しくなり、ウエハW表面での突起部16Cと空間部との温度差が小さくなる。
また、上記突起部16Cの高さは、高い方が静電チャック16とウエハW間の空間全体に熱伝導性ガスが瞬時に到達するため好ましい。このような点を勘案すると突起部16Cの高さは、上述した30μm以上、より好ましくは40μm以上の高さに設定されていることが好ましい。30μm未満では熱伝導性ガスが静電チャック16とウエハW間の空間全体に到達する時間が長くなり、ウエハ温度の制御性が低下する虞がある。このことを実証するデータが図5である。図5は突起部16Cの高さが10μm及び30μmにおける、ウエハWにおける熱伝導性ガスの到達距離と時間との関係を示すグラフである。図5からも明らかなように、突起部16Cの高さが10μmの場合にはガス供給部からの距離が長くなると急激に熱伝導性ガスの到達時間が長くなるが、その高さが30μm以上の場合には瞬時にしてウエハWの全体に到達することが判る。
更に、突起部16Cの高さが10μm程度と低い場合には、突起部16Cが形成される底面部に例えば溝等のガス拡散機構を設け、ガス拡散機構を介して熱伝導性ガスを速やかに拡散させ、短時間でウエハW全体に到達させる必要があった。本実施形態では上述したように、突起部16Cの高さを30μm以上に高く設定することにより、ガス拡散機構を設ける必要がなくなり、製造コストを低減し且つ溝での温度不均一などの問題を生じることがない。
また、図1、図3に示すように、静電チャック16の外周縁部には多数の突起部16Cと同一高さの第1の環状突起部16Dが形成され、この環状突起部16Dによって静電チャック16とウエハW間の隙間に供給される熱伝導性ガスをウエハW面内に封止するシールリングとして機能する。また、第1の環状突起部16Dの内側には第1の環状突起部16Dと同心円状に第2の環状突起部16Eが複数の突起部16Cと同一高さに形成され、この環状突起部16Eによって第1の環状突起部16D内の領域を二分割している。即ち、図3に示すように、第1の環状突起部16Dと第2の環状突起部16Eとの間にリング状の第1の領域16Fが形成され、第2の環状突起部16Eの内側に円形状の第2の領域16Gが形成され、第2の環状突起部16Eが第1、第2の領域16F、16G間のシールリングとして機能する。尚、図3では突起部16Cは図示してない。
従って、静電チャック16でウエハWを静電吸着すると、ウエハWは多数の突起部16C及び第1、第2の環状突起部16D、16Eとそれぞれ接触し、ウエハWと静電チャック16の間に第1、第2の領域16F、16Gに対応した2つの空間が形成される。以下では、第1、第2の領域16F、16Gに対応するそれぞれの空間を必要に応じて第1、第2の空間16F、16Gと称する。
而して、第1、第2の領域16F、16Gにはそれぞれ図3に示すように第1、第2のガス供給口16H、16Iが複数個ずつ形成され、これらのガス供給口16H、16Iにはそれぞれ後述するように第1、第2の分岐配管19B、19Cが接続されている。尚、図3において、16Jはリフタピン24が昇降する孔である。
第1、第2の分岐配管19B、19Cは、図1に示すように、絶縁体13上面に形成された第1、第2の環状凹部13A、13Bに接続され、これらの環状凹部13A、13B内に熱伝導性ガスを供給するようにしてある。また、同図に示すように、電極15及び静電チャック16にはそれぞれ第1、第2の領域16F、16Gと連通する第1、第2の連通路25、26が形成されている。従って、ガス供給源19の熱伝導性ガスは、第1、第2の分岐配管19B、19C、第1、第2の環状凹部13A、13B、第1、第2の連通路25、26及び第1、第2のガス供給口16H、16Iを経由して静電チャック16の第1、第2の空間16F、16Gに達する。
静電チャック16とウエハW間の空間を第1、第2の環状突起部16D、16Eによって第1、第2の空間16F、16Gに二分割することによって各空間16F、16G内に供給される熱伝導性ガスの圧力を個別に制御することができる。ウエハWのプラズマ処理を行うと、ウエハWの外周縁部がその内側よりも温度が高くなる。そこで、第1の空間16F内の熱伝導性ガスの圧力を高く、例えば40Torrに設定して熱伝導性を高め、第2の空間16G内の熱伝導性ガスの圧力を低く、例えば10Torrに設定して第1の空間16F内の熱伝導性を第2の空間16G内の熱伝導性より高く設定することによってウエハW全面の温度を均一に制御することができる。
また、第1、第2の空間16F、16G内の突起部16Cをそれぞれ第1、第2の突起部と定義すれば、第1の突起部のウエハWとの接触面積比率を、第2の突起部のウエハWとの接触面積比率より大きく設定することによって突起部16Cを介したウエハWと冷媒との間の熱伝導を高めて、ウエハW全体の温度を均一に制御することができるが、ウエハ周縁部の熱伝導ガスによる温度制御性はその内側よりも低くなる。この時、同じ接触面積比率で第1の突起部の個数密度を第2の突起部の個数密度より大きく設定することによりウエハW周縁部の熱伝導性ガスによる温度制御性を高めることができる。また、第1の突起部の高さを第2の突起部の高さより低く設定することにより同様にウエハ周縁部の温度を低くすることができる。
このように静電チャック16とウエハW間の空間を二分割してそれぞれ独立して熱伝導性ガスの圧力を制御する構成を採用することにより、ウエハW周縁部と中心部それぞれにおけるウエハ温度を独立して制御することができるため、例えばプラズマ状態が不均一であってもウエハW面内のエッチング速度やエッチング形状等を均一に制御することができる。
第2の環状突起部16Eと第1、第2の空間部16F、16G内のリング状に配置された最寄りの突起部16Cとの間の距離は、2mm以下、好ましくは1mm以下、更に好ましくはウエハWの厚みtと略等しいか、あるいは厚みtより短くなるように設定されていることが好ましい。第2の環状突起部16Eと最寄りの突起部16Cとの隙間が熱伝導に与える影響を観るためにより影響が出やすい構造と考えられる突起部領域間に複数種の幅を持った溝を設けた場合について検証した。
図6の(a)、(b)は有限要素法を用いて次の設定条件で行った熱伝導解析の結果を示している。即ち、 図6の(a)、(b)に示すウエハにおける温度分布及び温度差分布は、突起部領域の接触面積率を15%、その高さを30μm、バックサイドガス圧力を15Torr、ウエハ厚さを0.7mmに設定し、更にウエハWの温度が60℃になるよう、下部電極の温度を25℃に設定し、ウエハへの入熱量を3.4W/cm、溝深さ(無限長さ)をより影響の出やすい100μmに設定し、溝幅を0mm、1mm、2mm、3mm及び4mmの5種類に設定して計算した結果を示している。
更に、上記条件でレジストが塗布されたウエハを酸素プラズマによって実際にエッチングし、エッチング速さを測定したところ、溝幅1.7mmの場合にはレジストをエッチングしても溝によるエッチングへの影響のないことを確認した。上記解析結果と実験結果とを比較すると、図6の(a)、(b)に示す解析結果では溝幅が2mmの場合にはウエハの溝幅中心とその周辺における温度差は約1℃であることから、溝周辺の温度差を1℃以下に抑えるためには溝幅を2mm以下に設定することが好ましいことが判る。この際、突起部間の間隔が溝幅以上に大きいと、温度差が大きくなるため、好ましくは1mm以下、更に好ましくはウエハWの厚み以下に設定されていることが好ましい。本実施形態では第2の環状突起部16Eと最寄りの突起部16Cの距離が0.5mmに設定されている。従って、ウエハW裏面が接触面積比率の小さい突起部16Cによって形成された静電チャック16であっても第2の環状突起部16Eの影響受けることなく、ウエハW全面で所望の温度分布を実現することができる。
ウエハWと突起部16Cの単位面積当たりの接触面積比率が15%、個々の突起部16Cが円柱状、水平断面の直径が0.5mm、高さが30μmの条件で、バックサイドガス(He)圧力を中心部で5Torr、周縁部で40Torr、ウエハWの温度が60℃になるよう、電極の温度を25℃に設定した状態でウエハWを吸着させたところ、到達平衡温度の95%の温度に達するまでの時間は14.4秒であり、従来のセラミック溶射の静電チャックと略同等の温度応答性があった。従って、温度応答性をより良くするためにはウエハWと突起部16Cとの単位面積当たりの接触面積比率を15%以下とし、同一の接触面積比率においては円柱状の突起部16Cの水平断面(ウエハとの接触面)の直径を0.5mm以下、高さを30μm以上に設定することが好ましいことが実証された。この場合、平衡温度が上昇するため、冷媒温度を下げるなどして冷却能力を高く設定することが好ましい。
また、図7の(a)、(b)は有限要素法を用いて次の設定条件で第1、第2の環状突起部16D、16Eのシール幅の温度分布への影響について行った熱伝導解析の結果を示している。即ち、図7の(a)、(b)に示すウエハにおける温度分布及び温度差分布は、突起部の接触面積率を15%、その高さを30μm、バックサイドガス圧力を15Torr、ウエハ厚さを0.7mmに設定し、更にウエハWの温度が60℃になるよう、下部電極の温度を25℃に設定し、ウエハへの入熱量を3.4W/cm、シール高さを30μmに設定し、シール幅を0mm、0.5mm、1.0mm、1.5mm及び2.0mmの5種類に設定して計算した結果を示している。
更に、レジストエッチング速度の点から温度差約1℃以内が好ましいことから、シール幅を1.5mm以下に設定することが好ましいことが判った。この際、シール幅が狭すぎるとバックサイドガスがリークする虞があるため、1mm以上に設定することが好ましい。ガスリークに関しては、環状突起部の表面粗度Raが0.2〜0.3μmの場合にはリーク量を1sccm以下に抑制するためにはシール幅として3mm以上が必要である。第2の環状突起部15Eの場合には多少のリークがあっても影響が少ないため、1.0〜1.5mmの範囲に設定することが好ましい。
而して、上記静電チャック16を形成するセラミック誘電体16Aは、所定の平均粒径を有する結晶粒子を含むと共に突起部16CのウエハWとの接触面(上面)が結晶粒子の平均粒径に依存する表面粗度に形成(加工)されている。結晶粒子の平均粒径に依存する表面粗度とは、セラミック誘電体をプラズマによるドライクリーニングにより表面がスパッタされて経時的に変化し、最終的に一定の表面粗度に到達してそれ以上表面粗度が変化せず安定する時の表面粗度のことを云う。安定する時の表面粗度は、結晶粒子の平均粒径が小さいほど小さく、結晶粒子の平均粒径が大きいほど大きくなる。
本実施形態では、結晶粒子の平均粒径が1〜2μmであり、プラズマによるドライクリーニングで最終的に到達する表面粗度がRa0.2〜0.3μmになる。従って、突起部16Cの表面粗度を予めRa0.2〜0.3μmに加工しておく。これによりドライクリーニングを複数回繰り返してもこの表面粗度以上に突起部16Cの表面が荒れることはなく、終始安定した熱伝達性能を保持することができ、ウエハ温度の制御性が終始安定する。結晶粒子の平均粒径が2μmより大きい場合には、プラズマ処理によってスパッタされて経時的に変化し、安定する表面粗度は0.3μmより大きくなるため、突起部16Cの先端は予め0.3μmより大きい所定の表面粗度に加工しておく必要がある。一方、結晶粒径の平均粒径が1μmより小さい場合には、プラズマ処理によってスパッタされて経時的に変化し、安定する表面粗度は0.2μmより小さくなるため、突起部16Cの先端は予め0.2μmより小さい所定の表面粗度に加工しておく必要がある。
また、図8は、ヴィッカース硬度の高い本実施形態の静電チャックと、本発明に含まれない静電チャックの運転時間(ウエハWを載置しない状態で静電チャックをOプラズマに曝す、ウエハドライクリーニングの積算時間)とそれぞれの突起部16Cの表面粗度を比較したグラフである。尚、図8において、本実施形態の静電チャックは●印で示し、その結晶粒子の平均粒径は1〜2μmであった。また、本発明に含まれない静電チャックは▲印で示し、その結晶粒子の平均粒径は12μmであった。この図からも明らかなように、本発明外の静電チャックは運転時間開始後40時間で表面粗度が約0.1μmから0.6μmまで急激に高くなり、40時間以降は表面粗度が0.5〜0.6μmの荒れた状態で悪化して略安定している。これに対して本実施形態の静電チャック16は運転開始時の表面粗度0.1μm弱から運転時間100時間で0.1μm強まで僅かに高くなるが、プラズマによる荒れが軽微であることが判る。
突起部16Cの表面粗度は、結晶粒子の平均粒径が異なっていても結晶粒子の粒径に依存する表面粗度で安定するため、予め安定する表面粗度に加工しておくことによって表面粗度の経時変化をなくすことができる。つまり、図8に示す本実施形態の静電チャックの場合には予め約Ra0.25μm(加工精度にバラツキがあるため、管理幅はRa0.2〜0.3μmになる)に加工し、同図に示す本発明以外の静電チャックの場合には予め約Ra0.5〜0.6μmに加工しておけば良いことが判る。
上記静電チャック16を形成するセラミック誘電体16Aは、酸化アルミニウムを主成分とするアルミナ焼結体が好ましく、更に、この焼結体は炭化珪素を含んでいることが好ましい。炭化珪素を添加することにより硬度や耐摩耗性を高めることができる。また、この静電チャック16は、高温高圧下で焼成された焼結体であることがより好ましい。高温高圧下で焼成することによって静電チャック16の硬度を更に高くすることができ、ヴィッカース硬度Hv2000以上の硬度を得ることができ、耐プラズマ性及び耐磨耗性を更に向上させることができ、延いてはウエハWの吸着、引き離しによる突起部16C上面の荒れを防止することができる。
また、図9は本実施形態の静電チャック16に用いられた焼結体と他のセラミックの耐プラズマ性を比較したグラフである。図9では、本実施形態に用いられた焼結体は炭化珪素を含み高温高圧下で焼成した試料No.3で示してあり、ヴィッカース硬度Hvが2200であった。他の試料No.1はアルミナ溶射による一般的な静電チャックで、そのヴィッカース硬度Hvが1000であった。また、試料No.2は常圧下で酸化アルミニウムのグリーンシートを焼結したセラミック誘電体からなる静電チャックで、そのヴィッカース硬度Hvが1000であった。また、試料No.4は酸化アルミニウムを主成分とし、常圧下でグリーンシートをNo.2とは異なる条件で焼結したセラミック誘電体からなる静電チャックで、そのヴィッカース硬度Hvが1400であった。図9からも明らかなように、本実施形態以外のいずれの試料もヴィッカース硬度Hvが2000より低く、プラズマによる消耗速度が速く、耐プラズマ性に劣ることが判る。
また、図10は本実施形態の静電チャック16における突起部16Cの表面粗度とウエハレスドライクリーニング時間との関係を示したグラフである。静電チャック16として焼結体のアルミナ粒子の結晶粒径が約1μmのものを用い、図10に示すように表面粗度Raが0.09〜0.29μmの範囲になるように突起部16Cの表面加工を行い、各静電チャック16とドライクリーニング時間との関係を観た。図10からも明らかなように、いずれの表面粗度を有する静電チャック16もクリーニング時間の経過と共に一定の表面粗度に収束することが実証された。そして、この収束値がRa0.25μmであることが判る。この値は他の表面粗度Ryに換算すると1.7μmであった。尚、ウエハレスドライクリーニング時のプラズマ電位(Vpp)は600Vであった。
また、図11は熱伝導性ガス(Heガス)の種々の圧力に対する、突起部16Cの表面粗度とウエハ温度との関係を示している。図11からも明らかなように、突起部16Cの表面粗度Raが0.2μmより大きくなるとウエハ温度が徐々に高くなり、載置体12側からの冷却効率が徐々に低下していることが判る。特に、表面粗度Raが0.27μm前後から急激に冷却効率が低下する傾向にある。しかし、表面粗度Raが0.2μmよりも小さくなると略一定の冷却効率を示していることが判る。従って、突起部16Cの表面粗度Raが本発明の0.2〜0.25μmの範囲で加工にバラツキがでたとしても、熱伝導性ガスの圧力が10Torrで8℃、40Torrで3℃の変動に抑制することができ、安定した冷却効率を保持することができる。つまり、突起部16C先端面の表面粗度Raが0.25μm以下では表面粗度Raの影響が小さくなり、0.2μm以下では略一定の冷却効率を示す。尚、40Torr及び10Torrは本実施形態の静電チャック16の第1、第2の空間16F、16G内の圧力である。
突起部16Cの先端面を仕上げ加工する際に、表面粗度Raを好ましくは0.25μm以下、より好ましくは0.2μm以下に設定することにより、加工バラツキ等で表面粗度Raが若干変化しても、冷却効率は表面粗度Raの影響を受け難くなる。突起部16Cの先端面は所定の接触面積に設計されていても、実際は表面粗度Raの影響で実質的な接触面積は実際の設計値よりも小さい。表面粗度Raが大きい場合には同一のバックサイドガス圧力でも図11に示すようにウエハWの平衡温度が高くなる。従って、静電チャックを設計する場合には、表面粗度Raを小さく設定して平衡温度を低くする必要がある。この表面粗度Raは、上述したように0.25μm以下、より好ましくは0.2μm以下が好ましい。
以上説明したように本実施形態によれば、静電チャック16は、ウエハWと接触する複数の突起部16Cを有し、且つ、突起部16Cは1〜2μmの平均粒径を有するアルミナ結晶粒子を含むセラミック誘電体16Aによって形成されていると共に突起部16CのウエハWとの接触面が平均粒径に依存する表面粗度(0.2〜0.3μm)に加工されているため、耐プラズマ性が高く、しかもドライクリーニングを繰り返しても突起部16Cの表面粗度が殆ど変化せず、ウエハ温度の制御性を高めることができると共にウエハ温度の制御性を安定化することができる。また、ウエハWを静電チャック16から引き離す際に残留電荷に起因するウエハWの跳ね上げや静電チャック16からの汚染がない。
また、本実施形態によれば、静電チャック16のセラミック誘電体は、炭化珪素を含むため、硬度や耐摩耗性を更に高めることができる。また、突起部16Cのヴィッカース硬度を、Hv2000以上に設定したため、プラズマを用いたドライクリーニングによる耐磨耗性を高めることができる。
また、複数の突起部のウエハ単位面積当たりの接触面積比率を15%以下に設定したため、ウエハ温度の制御性を更に高め、ウエハW全面を所望の温度に制御することができる。また、各突起部16Cの接触面は、直径が0.5mm以下の円柱状に形成されているため、突起部16Cと熱伝導性ガスによる熱伝達性が良く、ウエハWと接触する熱伝導性ガスからの熱伝達と相俟ってウエハを所望の温度に制御することができる。また、複数の突起部16C、16C間の距離δをウエハWの厚みtに相当する距離以下に設定したため、突起部16Cと接触しないウエハ部分と突起部16Cと接触するウエハ部とを均一に加熱することができ、延いてはウエハW全面を所望の温度に冷却することができる。
更に、突起部16Cを30μm以上の高さに設定したため、熱伝導性ガス用の溝を形成せずに短時間で熱伝導性ガスをウエハW全体に行き渡らすことができ、ウエハW全面の温度の応答性を高めることができる。また、静電チャック16は、第1、第2の環状突起部16D、16Eを有し、且つ、第1、第2の環状突起部16D、16E間及び第2の環状突起部16Eの内側にそれぞれ形成される第1、第2の空間16F、16G内に熱伝導用ガスをそれぞれ供給する第1、第2のガス供給口16H、16Iを有するため、第1、第2の空間16F、16G内に供給する熱伝導用ガスの圧力を個別に制御し、第2の空間16G内よりも第1の空間16F内の熱伝導性ガスの圧力を高く設定することにより、温度が高くなりがちなウエハW外周縁部の温度を内側よりも効率良く冷却し、ウエハW全面を所望の温度に制御することができる。
尚、本発明は上記実施形態に何等制限されるものではない。本発明の要旨を変更しない限り本発明に包含される。
本発明は、プラズマ処理装置等の静電チャックとして利用することができる。
本発明の静電チャックの一実施形態を適用したプラズマ処理装置を示す構成図である。 図1に示す静電チャックの突起部の分布状態を拡大して示す平面図である。 図1に示す静電チャックを示す平面図である。 図1に示す静電チャックの要部を拡大して示す部分断面図である。 図1に示す静電チャックの突起部の高さと、ウエハにおける熱伝導性ガスの到達距離と到達時間との関係を示すグラフである。 静電チャックの表面溝のウエハ温度への影響を観るための熱伝導解析結果を示すグラフで、(a)は溝幅とその近傍におけるウエハの温度分布を示すグラフ、(b)はその温度差分布を示すグラフである。 静電チャックの環状突起部のウエハ温度への影響を観るための熱伝導解析結果を示すグラフで、(a)はシール幅とその近傍におけるウエハの温度分布を示すグラフ、(b)はその温度差分布を示すグラフである。 図1に示す静電チャックと従来の静電チャックの表面粗度の経時的変化を示すグラフである。 図1に示す静電チャック及び従来の静電チャックとプラズマによる消耗速度との関係を示すグラフである。 図1に示す静電チャックの表面粗度とドライクリーニングとの関係を示すグラフである。 熱伝導性ガスのガス圧と、図1に示す静電チャックの表面粗度と、ウエハW温度との関係を示すグラフである。 従来の静電チャックを適用したプラズマ処理装置を示す構成図である。
符号の説明
16 静電チャック
16A セラミック誘電体
16C 突起部
16D 第1の環状突起部
16E 第2の環状突起部
16H 第1のガス供給口
16I 第2のガス供給口

Claims (7)

  1. 静電気力を使用して被吸着基板を吸着する静電チャックであって、
    上記静電チャックは、
    上記被吸着基板と接触する複数の突起部を有し且つ上記突起部が所定の粒径を有する結晶粒子を含むセラミック誘電体によって形成されていると共に、上記複数の突起部の上記被吸着基板との接触面を、プラズマによるドライクリーニングによって表面処理することにより上記粒径に依存して最終的に安定する一定の表面粗度に形成してなり、且つ、
    上記セラミック誘電体が酸化アルミニウムを主成分とするものであり、
    上記所定の粒径が1〜2μmであり、
    上記接触面の表面粗度がRa0.2〜0.3μmである
    ことを特徴とする静電チャック。
  2. 上記セラミック誘電体は、炭化珪素を含むことを特徴とする請求項1に記載の静電チャック。
  3. 上記突起部の硬度を、ヴィッカース硬度でHv2000以上に設定したことを特徴とする請求項1または請求項2に記載の静電チャック。
  4. 上記複数の突起部の上記被吸着基板の単位面積当たりの接触面積比率を、15%以下に設定したことを特徴する請求項1〜請求項3のいずれか1項に記載の静電チャック。
  5. 上記突起部を、直径が0.5mm以下の円柱状の突起として形成したことを特徴とする請求項4に記載の静電チャック。
  6. 上記複数の突起部間の距離を、1mm以下に設定したことを特徴とする請求項4または請求項5に記載の静電チャック。
  7. 上記突起部の高さを、30μm以上に設定したことを特徴とする請求項4請求項6のいずれか1項に記載の静電チャック。
JP2004351448A 2003-12-05 2004-12-03 静電チャック Expired - Fee Related JP4674792B2 (ja)

Priority Applications (1)

Application Number Priority Date Filing Date Title
JP2004351448A JP4674792B2 (ja) 2003-12-05 2004-12-03 静電チャック

Applications Claiming Priority (2)

Application Number Priority Date Filing Date Title
JP2003408224 2003-12-05
JP2004351448A JP4674792B2 (ja) 2003-12-05 2004-12-03 静電チャック

Related Child Applications (2)

Application Number Title Priority Date Filing Date
JP2010056826A Division JP4909424B2 (ja) 2003-12-05 2010-03-13 静電チャック
JP2010056825A Division JP2010147502A (ja) 2003-12-05 2010-03-13 静電チャック

Publications (2)

Publication Number Publication Date
JP2005191561A JP2005191561A (ja) 2005-07-14
JP4674792B2 true JP4674792B2 (ja) 2011-04-20

Family

ID=34797686

Family Applications (1)

Application Number Title Priority Date Filing Date
JP2004351448A Expired - Fee Related JP4674792B2 (ja) 2003-12-05 2004-12-03 静電チャック

Country Status (1)

Country Link
JP (1) JP4674792B2 (ja)

Families Citing this family (20)

* Cited by examiner, † Cited by third party
Publication number Priority date Publication date Assignee Title
US7663860B2 (en) 2003-12-05 2010-02-16 Tokyo Electron Limited Electrostatic chuck
JP4690837B2 (ja) * 2005-09-13 2011-06-01 株式会社日立ハイテクノロジーズ 試料載置電極の温度制御方法及び温度制御装置
JP4622764B2 (ja) * 2005-09-15 2011-02-02 パナソニック株式会社 プラズマ処理方法
JP2007173596A (ja) * 2005-12-22 2007-07-05 Ngk Insulators Ltd 静電チャック
JP2007234425A (ja) * 2006-03-01 2007-09-13 Ngk Insulators Ltd 加熱装置
JP5069452B2 (ja) 2006-04-27 2012-11-07 アプライド マテリアルズ インコーポレイテッド 二重温度帯を有する静電チャックをもつ基板支持体
US8226769B2 (en) 2006-04-27 2012-07-24 Applied Materials, Inc. Substrate support with electrostatic chuck having dual temperature zones
US9275887B2 (en) 2006-07-20 2016-03-01 Applied Materials, Inc. Substrate processing with rapid temperature gradient control
JP5183058B2 (ja) * 2006-07-20 2013-04-17 アプライド マテリアルズ インコーポレイテッド 急速温度勾配コントロールによる基板処理
JP2008085129A (ja) * 2006-09-28 2008-04-10 Taiheiyo Cement Corp 基板載置装置
JP5312765B2 (ja) * 2007-01-26 2013-10-09 株式会社日立国際電気 基板処理方法及び半導体製造装置
JP5059450B2 (ja) * 2007-03-06 2012-10-24 東京エレクトロン株式会社 基板載置台及び基板処理装置
US20080225261A1 (en) * 2007-03-13 2008-09-18 Noriyuki Hirayanagi Exposure apparatus and device manufacturing method
JP5510991B2 (ja) * 2007-09-06 2014-06-04 株式会社日立国際電気 半導体製造装置及び基板処理方法
JP5390657B2 (ja) * 2012-05-02 2014-01-15 東京エレクトロン株式会社 基板載置台及び基板処理装置
US10262886B2 (en) * 2014-09-30 2019-04-16 Sumitomo Osaka Cement Co., Ltd. Electrostatic chuck device
JP6168162B2 (ja) * 2014-09-30 2017-07-26 住友大阪セメント株式会社 静電チャック装置
WO2020231609A1 (en) * 2019-05-16 2020-11-19 Applied Materials, Inc. Methods and apparatus for minimizing substrate backside damage
WO2023022041A1 (ja) * 2021-08-20 2023-02-23 東京エレクトロン株式会社 静電チャック、基板支持器及び基板処理装置
JP7572936B2 (ja) * 2021-11-29 2024-10-24 日本碍子株式会社 ウエハ載置台

Family Cites Families (5)

* Cited by examiner, † Cited by third party
Publication number Priority date Publication date Assignee Title
JPH0945753A (ja) * 1995-07-28 1997-02-14 Kyocera Corp 物品保持装置
JPH11209182A (ja) * 1998-01-22 1999-08-03 Sumitomo Metal Ind Ltd プラズマ耐食部材
JP4213790B2 (ja) * 1998-08-26 2009-01-21 コバレントマテリアル株式会社 耐プラズマ部材およびそれを用いたプラズマ処理装置
JP4387563B2 (ja) * 2000-06-05 2009-12-16 住友大阪セメント株式会社 サセプタ及びサセプタの製造方法
JP2002151580A (ja) * 2000-11-14 2002-05-24 Sumitomo Osaka Cement Co Ltd ウエハー保持具の製造方法及びウエハー保持具

Also Published As

Publication number Publication date
JP2005191561A (ja) 2005-07-14

Similar Documents

Publication Publication Date Title
JP4909424B2 (ja) 静電チャック
JP4674792B2 (ja) 静電チャック
JP7662489B2 (ja) 極めて均一性が高い加熱基板支持アセンブリ
JP5357639B2 (ja) プラズマ処理装置およびプラズマ処理方法
JP6489146B2 (ja) 静電チャック装置
JP5881419B2 (ja) 静電クランプおよびワークピースをクランプするための方法
EP2088616A2 (en) Substrate mounting table, substrate processing apparatus and substrate temperature control method
US20080236746A1 (en) Substrate processing apparatus and substrate mounting stage on which focus ring is mounted
US11011405B2 (en) Apparatus for supporting substrate having gas supply hole and method of manufacturing same
JP2010157559A (ja) プラズマ処置装置
JP2016184645A (ja) 静電チャック装置
US7718007B2 (en) Substrate supporting member and substrate processing apparatus
JP2005347400A (ja) 静電吸着装置およびプラズマ処理装置
JPH04371579A (ja) 静電吸着装置
US11075062B2 (en) Vacuum processing apparatus
JP7450348B2 (ja) 真空処理装置
JP2023135168A (ja) 保持装置
JP2025115710A (ja) 静電チャック

Legal Events

Date Code Title Description
A711 Notification of change in applicant

Free format text: JAPANESE INTERMEDIATE CODE: A711

Effective date: 20070807

A521 Request for written amendment filed

Free format text: JAPANESE INTERMEDIATE CODE: A821

Effective date: 20070808

A521 Request for written amendment filed

Free format text: JAPANESE INTERMEDIATE CODE: A523

Effective date: 20071004

A521 Request for written amendment filed

Free format text: JAPANESE INTERMEDIATE CODE: A821

Effective date: 20071004

A621 Written request for application examination

Free format text: JAPANESE INTERMEDIATE CODE: A621

Effective date: 20071201

A977 Report on retrieval

Free format text: JAPANESE INTERMEDIATE CODE: A971007

Effective date: 20091221

A131 Notification of reasons for refusal

Free format text: JAPANESE INTERMEDIATE CODE: A131

Effective date: 20100112

A521 Request for written amendment filed

Free format text: JAPANESE INTERMEDIATE CODE: A523

Effective date: 20100313

A131 Notification of reasons for refusal

Free format text: JAPANESE INTERMEDIATE CODE: A131

Effective date: 20100907

A521 Request for written amendment filed

Free format text: JAPANESE INTERMEDIATE CODE: A523

Effective date: 20101104

TRDD Decision of grant or rejection written
A01 Written decision to grant a patent or to grant a registration (utility model)

Free format text: JAPANESE INTERMEDIATE CODE: A01

Effective date: 20110118

A01 Written decision to grant a patent or to grant a registration (utility model)

Free format text: JAPANESE INTERMEDIATE CODE: A01

A61 First payment of annual fees (during grant procedure)

Free format text: JAPANESE INTERMEDIATE CODE: A61

Effective date: 20110120

FPAY Renewal fee payment (event date is renewal date of database)

Free format text: PAYMENT UNTIL: 20140204

Year of fee payment: 3

R150 Certificate of patent or registration of utility model

Ref document number: 4674792

Country of ref document: JP

Free format text: JAPANESE INTERMEDIATE CODE: R150

Free format text: JAPANESE INTERMEDIATE CODE: R150

R250 Receipt of annual fees

Free format text: JAPANESE INTERMEDIATE CODE: R250

R250 Receipt of annual fees

Free format text: JAPANESE INTERMEDIATE CODE: R250

R250 Receipt of annual fees

Free format text: JAPANESE INTERMEDIATE CODE: R250

R250 Receipt of annual fees

Free format text: JAPANESE INTERMEDIATE CODE: R250

R250 Receipt of annual fees

Free format text: JAPANESE INTERMEDIATE CODE: R250

R250 Receipt of annual fees

Free format text: JAPANESE INTERMEDIATE CODE: R250

R250 Receipt of annual fees

Free format text: JAPANESE INTERMEDIATE CODE: R250

R250 Receipt of annual fees

Free format text: JAPANESE INTERMEDIATE CODE: R250

R250 Receipt of annual fees

Free format text: JAPANESE INTERMEDIATE CODE: R250

R250 Receipt of annual fees

Free format text: JAPANESE INTERMEDIATE CODE: R250

LAPS Cancellation because of no payment of annual fees