JP4664320B2 - めっき方法 - Google Patents

めっき方法 Download PDF

Info

Publication number
JP4664320B2
JP4664320B2 JP2007025747A JP2007025747A JP4664320B2 JP 4664320 B2 JP4664320 B2 JP 4664320B2 JP 2007025747 A JP2007025747 A JP 2007025747A JP 2007025747 A JP2007025747 A JP 2007025747A JP 4664320 B2 JP4664320 B2 JP 4664320B2
Authority
JP
Japan
Prior art keywords
substrate
plating
tank
plating solution
substrate holder
Prior art date
Legal status (The legal status is an assumption and is not a legal conclusion. Google has not performed a legal analysis and makes no representation as to the accuracy of the status listed.)
Expired - Lifetime
Application number
JP2007025747A
Other languages
English (en)
Other versions
JP2007138304A (ja
JP2007138304A5 (ja
Inventor
潤一郎 吉岡
信利 斎藤
佳孝 向山
剛 徳岡
Current Assignee (The listed assignees may be inaccurate. Google has not performed a legal analysis and makes no representation or warranty as to the accuracy of the list.)
Ebara Corp
Original Assignee
Ebara Corp
Priority date (The priority date is an assumption and is not a legal conclusion. Google has not performed a legal analysis and makes no representation as to the accuracy of the date listed.)
Filing date
Publication date
Application filed by Ebara Corp filed Critical Ebara Corp
Priority to JP2007025747A priority Critical patent/JP4664320B2/ja
Publication of JP2007138304A publication Critical patent/JP2007138304A/ja
Publication of JP2007138304A5 publication Critical patent/JP2007138304A5/ja
Application granted granted Critical
Publication of JP4664320B2 publication Critical patent/JP4664320B2/ja
Anticipated expiration legal-status Critical
Expired - Lifetime legal-status Critical Current

Links

Images

Landscapes

  • Electroplating Methods And Accessories (AREA)
  • Electrodes Of Semiconductors (AREA)

Description

本発明は、基板の被めっき処理面にめっきを施すめっき方法に関し、特に半導体ウェハ等の表面に設けられた微細な配線用溝やプラグ、レジスト開口部にめっき膜を形成したり、半導体ウェハの表面に半導体チップと基板とを電気的に接続するバンプ(突起状電極)を形成するのに使用して好適なめっき方法に関する。
図30は、従来の一般的な半導体基板に銅等のめっきを行うめっき装置の概略構成を示す。図30に示すように、従来の基板めっき装置は、めっき液Qを収容し、半導体ウェハ等の基板Wと陽極電極412とを互いに対面するように配置するめっき槽411を備えている。そして、基板Wと陽極電極412との間にめっき電源413を接続し、所定の電圧を印加することで、陽極電極412である銅板等からイオン化した電流を形成して基板Wの表面(被めっき処理面)にめっき膜を形成するように構成されている。即ち、基板Wは、基板ホルダ414に着脱自在に保持され、例えば含リン銅からなる陽極電極412との間にめっき電流が流れ、銅がイオン化してめっき電流により運ばれ、基板Wの表面に付着することによりめっき膜が形成される。めっき槽411の壁面415をオーバーフローしためっき液Qは捕集槽416に回収され、ポンプ420、温度調整槽421、フィルタ422及び流量計423等からなるめっき液循環系を介して再びめっき槽411に注入される。
半導体のウェハ等の基板に設けられた微細な配線溝やプラグ、または濡れ性の悪いレジストの開口部の中にめっき膜を形成する場合、めっき液や前処理液がこの微細な配線溝やプラグ、レジストの開口部内に浸入せず、これら配線溝やプラグ、レジストの開口部内に気泡が残ってしまうという問題があり、めっき欠け、めっきぬけの原因となっていた。
従来、このめっき欠け、めっきぬけを防止するため、めっき液に界面活性剤を加えてめっき液の表面張力を下げることによって、被めっき基板の微細な配線溝やプラグ、レジストの開口部へのめっき液の浸入を図っていた。しかしながら、表面張力が下がることによってめっき液循環中に気泡が発生し易いという問題がある。また、めっき液に新たな界面活性剤を加えることによって、めっき析出に異常が起き、めっき膜への有機物の取り込みが増え、めっき膜の特性に悪影響を与える恐れがあるなどの問題があった。
一方、例えば、TAB(Tape Automated Bonding)やフリップチップにおいては、配線が形成された半導体チップの表面の所定箇所(電極)に金、銅、はんだ、或いはニッケル、更にはこれらを多層に積層した突起状接続電極(バンプ)を形成し、このバンプを介して基板電極やTAB電極と電気的に接続することが広く行われている。このバンプの形成方法としては、電解めっき法、蒸着法、印刷法、ボールバンプ法といった種々の手法があるが、半導体チップのI/O数の増加、細ピッチ化に伴い、微細化が可能で性能が比較的安定している電解めっき法が多く用いられるようになってきている。
ここで、電解めっき法は、半導体ウェハ等の基板の被めっき処理面を下向き(フェースダウン)にして水平に置き、めっき液を下から噴き上げてめっきを施す噴流式またはカップ式と、めっき槽の中に基板を垂直に立て、めっき液をめっき槽の下から注入しオーバーフローさせつつ基板をめっき液中に浸漬させてめっきを施すディップ式に大別される。ディップ方式を採用した電解めっき法は、めっきの品質に悪影響を与える泡の抜けが良く、フットプリントが小さいばかりでなく、ウェハサイズの変更に容易に対応できるといった利点を有している。このため、埋込み穴の寸法が比較的大きく、めっきにかなりの時間を要するバンプめっきに適していると考えられる。
つまり、配線が形成された基板の所定位置にバンプを形成する際には、図29Aに示すように、基板Wの表面に給電層としてのシード層500を成膜し、このシード層500の表面に、例えば高さHが20〜120μmのレジスト502を全面に塗布した後、このレジスト502の所定の位置に、例えば直径Dが20〜200μm程度の開口部502aを設け、この状態で基板Wの表面にめっきを施すことで、開口部502a内にめっき膜504を成長させてバンプ506を形成するようにしている(図29B〜図29E参照)。しかし、フェースダウン方式を採用した電解めっき法で基板Wにバンプ506を形成すると、特にレジスト502が疎水性の場合、図29Aに仮想線で示すように、めっき液中に気泡508ができて、この気泡508が開口部502a内に残りやすくなってしまう。
一方、従来のディップ方式を採用した電解めっき装置にあっては、気泡が抜けやすくできる反面、半導体ウェハ等の基板をその端面と裏面をシールし表面(被めっき処理面)を露出させて保持する基板ホルダを備え、この基板ホルダを基板ごとめっき液中に浸漬させて基板の表面にめっきを施すようにしている。このため、基板のロードからめっき処理、更にはめっき後のアンロードまでを完全に自動化することが困難であるばかりでなく、めっき装置としてかなり広い占有面積を占めてしまうといった問題があった。
本発明は上記に鑑みて為されたもので、気泡の抜けが比較的よいディップ方式を採用し、広い占有面積を占めることなく、バンプ等の突起状電極に適した金属めっき膜を自動的に形成できるようにしためっき方法を提供することを目的とする。
本発明のめっき方法の第1の実施形態は、基板の被めっき処理面にめっき膜を形成するにあたり、カセットから取出した基板を基板ホルダで保持する工程と、この基板ホルダで保持した基板にプリウェット処理を施す工程と、このプリウェット後の基板を基板ホルダごとめっき液中に浸漬させて基板の表面にめっきを施す工程と、このめっき後の基板を基板ホルダごと洗浄し乾燥する工程と、この洗浄・乾燥後の基板を基板ホルダから取出して基板のみを乾燥する工程とを有することを特徴とする。
本発明のめっき方法の第2の実施形態は、基板の被めっき処理面にめっき膜を形成するにあたり、カセットから取出した基板を基板ホルダで保持する工程と、この基板ホルダで保持した基板に、シード層の酸化膜を酸性薬液でエッチング除去するプリソーク処理を施す工程と、このプリソーク後の基板を基板ホルダごとめっき液中に浸漬させて基板の表面にめっきを施す工程と、このめっき後の基板を基板ホルダごと洗浄し乾燥する工程と、この洗浄・乾燥後の基板を基板ホルダから取出して基板のみを乾燥する工程とを有することを特徴とする。
以下、本発明の実施の形態のめっき装置を図1乃至図28を参照して説明する。図1は、めっき装置の構成例を示す。図1に示すように、このめっき装置は、めっき電源313に接続された陰極(基板W)と陽極電極(アノード)312との間に、隔膜としての陽イオン交換膜318を配置している。ここで、陽イオン交換膜(隔膜)318はめっき槽311の内部を基板Wの配置領域Tと陽極電極312の配置領域Tの2領域に区分している。このめっき装置は、基板Wの表面(被めっき処理面)にCuめっき膜を形成するCuめっき装置であり、陽極電極312を溶解性の陽極電極とし、めっき液を硫酸銅溶液としている。基板Wは、基板ホルダ314に裏面側を水密的にシールした状態で着脱自在に保持されて、めっき液Q中に浸漬される。
陽イオン交換膜318は、溶解性の陽極電極312より溶解したCuイオンのみを透過するので、陽極電極312から溶解してくる不純物を陽イオン交換膜318で遮断することが可能となる。これにより、陽イオン交換膜318で区分された基板W側領域Tのめっき液Q中のパーティクルを極力少なくすることが可能となる。
なお、上記例では基板Wと陽極電極312との間に陽イオン交換膜318を配置した例を示しているが、この陽イオン交換膜318に換えて微粒子除去作用を有する多孔質中性隔膜を使用しても、同様な作用効果が得られる。
上記陽イオン交換膜318は、電気エネルギーによりイオンを選択的に透過分離させる性質を有し、市販のものを用いることができる。この陽イオン交換膜318としては、例えば、株式会社旭硝子製の商品名「セレミオン」等が挙げられる。また、多孔質中性隔膜としては、合成樹脂からなる極めて小さく、均一な孔径を有する多孔質膜が用いられる。例えば、ユアサアイオニクス株式会社製の骨材にポリエステル不織布を用い、膜材質がポリフッ化ビニリデン+酸化チタンの商品名「YUMICRON」が挙げられる。
めっき槽311の基板W側には、めっき槽311の壁部315をオーバーフローしためっき液Qを捕集槽316に集め、これを真空ポンプ320により温度調整槽321、濾過フィルタ322、脱気ユニット(脱気装置)328、溶存酸素濃度測定装置340、流量計323を介してめっき槽311の基板W側の領域Tに循環させる第1のめっき液循環系Cが備えられている。ここで温度調整ユニット321は、めっき液Qの温度を所定の温度に一定に保つことで、めっき膜の成長速度を安定化させる。濾過フィルタ322は、めっき液Q中のパーティクルを除去し、これにより、めっき槽311内に注入されるめっき液Qからパーティクルを除去する。
脱気ユニット328は、めっき液循環流路Cに沿って流れるめっき液Q中から溶存気体を除去する脱気装置である。脱気ユニット328は、めっき液Qの流路に対して液体を透過せず気体のみを透過する隔膜を介して液中に存在する酸素、空気、炭酸ガスなどの各種溶存気体を除去する真空ポンプ329を備えている。即ち、真空ポンプ329で脱気ユニット328中の隔膜を通してめっき液中の溶存気体を脱気する。めっき液循環流路Cには、めっき液循環流路Cに沿って流れるめっき液中の溶存酸素濃度を計測しモニタする溶存酸素濃度測定装置340が配置されている。そして、この計測結果に基づいて、図示しない制御装置により真空ポンプ329の回転速度を制御すること等により脱気ユニット328の減圧側の圧力を調整することができる。このような方法で、めっき液中の溶存気体濃度を任意に調整することが可能である。溶存酸素濃度としては、4mg/lから1μg/l程度に制御することが好ましい。これにより、めっき液中の溶存する気泡をほぼゼロとすることができ、良好なめっき膜の形成を行うことができる。
流量計323は、めっき液循環系Cに沿って流れるめっき液Qの循環流量を計測し、図示しない制御装置にこの信号を伝達する。制御装置では、真空ポンプ320の速度を制御すること等によりめっき液循環系Cを循環するめっき液Qの量を所定の一定値に保ち、これによりめっき槽311において安定しためっきが行われる。
めっき槽311の陽イオン交換膜(隔膜)318の陽極電極312側には、めっき槽311をオーバーフローしためっき液Qをポンプ320で温度調整槽321、濾過フィルタ322、流量計323を通してめっき槽311の陽極電極側の領域Tに循環させる第2のめっき液循環系Cが備えられている。ここで第2のめっき液循環系Cに沿って流れるめっき液Qの流量は、流量計323で計測される。そして、図示しない制御装置で真空ポンプ320の速度を制御する等の方法により、循環流量を一定に保つように制御される。
図2は、他のめっき装置を示す。このめっき装置においては、陽イオン交換膜(隔膜)318の陽極電極側に備えた第2のめっき液循環系Cにも脱気ユニット(脱気装置)328および溶存酸素濃度測定装置340を配置している。これにより、めっき槽311の陽イオン交換膜318を隔てた基板W(陰極)側の領域Tと陽極電極312側の領域Tの両方でそれぞれめっき液Qを循環させつつ脱気を行っている。従って、図1に示すめっき装置に対して、更にめっき液中の気泡量を低減することが可能となる。
なお、図示はしないが、陽イオン交換膜(隔膜)318の陽極電極312側に備えためっき液循環系Cにのみ脱気ユニット(脱気装置)328を配置し、基板W側に備えためっき液循環系Cは、脱気ユニット(脱気装置)328を省略してもよい。これによっても、めっき液中の銅イオンは陽極電極312側から基板W側に電流により運ばれるので、溶存気体量の極めて少ないめっき液を基板側に供給することができる。
上記のように、めっき槽311のめっき液循環系C及び/またはCに脱気ユニット328を設けることにより、めっき槽311をオーバーフローして捕集槽316に集まっためっき液には気泡が混入するが、脱気ユニット328を通ることにより該気泡は除去される。その結果、めっき液Q中の溶存酸素および各種の溶存気体が除去され、該溶存気体によるめっき液の液反応が防止され、めっき液の副反応や劣化を抑えた安定なめっき環境を得ることができる。
上記めっき装置は、陽イオン交換膜(隔膜)318で分離されためっき液循環系統C,Cの少なくとも一方に脱気ユニット(脱気装置)328を備え、脱気後あるいは脱気しながらめっきするようにしたもので、最適なめっき条件を提供できる。従って、陽極側および陰極側どちらにも気泡が発生せず、気泡によるめっき欠けがなく且つ効率の良いめっきが可能である。
まためっき液循環系C,Cに溶存酸素濃度測定装置340を備え、めっき液中の溶存気体を管理するようにすることで、めっき槽のめっき液の溶存気体を低く管理することができ、基板の表面(被めっき処理面)に気泡ができにくく安定しためっきを行うことができる。
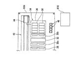
図3Aは、本発明の第1の実施の形態のめっき装置の全体配置図を示す。図3Aに示すように、このめっき装置には、半導体ウェハ等の基板Wを収納したカセット10を搭載する2台のカセットテーブル12と、基板のオリフラやノッチなどの位置を所定の方向に合わせるアライナ14と、めっき処理後の基板を高速回転させて乾燥させるスピンドライヤ16が同一円周方向に沿って備えられている。更に、この円周の接線方向に沿った位置には、基板ホルダ18を載置して基板の該基板ホルダ18との着脱を行う基板着脱部20が設けられ、この中心位置には、これらの間で基板を搬送する搬送用ロボットからなる基板搬送装置22が配置されている。
なお、図3Bに示すように、基板搬送装置に22の周囲に位置して、基板Wの表面に塗布したレジスト502(図29A〜図29E参照)を剥離して除去するレジスト剥離部600、めっき後に不要となったシード層500(図29A〜図29E参照)を除去するシード層除去部602、めっき後の基板Wに熱処理を施す熱処理部604を設けるようにしてもよい。また、この熱処理部604の代わりに、図3Cに示すように、めっき膜504(図29B〜図29D参照)をリフローさせるリフロー部606と、リフロー後にアニールを施すアニール部608を設けるようにしてもよい。
そして、基板着脱部20側から順に、基板ホルダ18の保管及び一時仮置きを行うストッカ24、基板を純水に浸漬させて濡らすことで表面の親水性を良くするプリウェット槽26、基板の表面に形成したシード層表面の電気抵抗の大きい酸化膜を硫酸や塩酸などの薬液でエッチング除去するプリソーク槽28、基板の表面を純水で水洗する第1の水洗槽30a、洗浄後の基板の水切りを行うブロー槽32、第2の水洗槽30b及び銅めっき槽34が順に配置されている。この銅めっき槽34は、オーバーフロー槽36の内部に複数の銅めっきユニット38を収納して構成され、各銅めっきユニット38は、内部に1個の基板を収納して銅めっきを施すようになっている。なお、この例では、銅めっきについて説明するが、ニッケルやはんだ、更には金めっきにおいても同様であることは勿論である。
更に、これらの各機器の側方に位置して、これらの各機器の間で基板ホルダ18を基板Wとともに搬送する基板ホルダ搬送装置(基板搬送装置)40が備えられている。この基板ホルダ搬送装置40は、基板着脱部20とストッカ24との間で基板を搬送する第1のトランスポータ42と、ストッカ24、プリウェット槽26、プリソーク槽28、水洗槽30a,30b、ブロー槽32及び銅めっき槽34との間で基板を搬送する第2のトランスポータ44を有している。
また、この基板ホルダ搬送装置40のオーバーフロー槽36を挟んだ反対側には、各銅めっきユニット38の内部に位置してめっき液を攪拌する掻き混ぜ棒としてのパドル202(図20及び図21等参照)を駆動するパドル駆動装置46が配置されている。
前記基板着脱部20は、レール50に沿って横方向にスライド自在な平板状の載置プレート52を備えており、この載置プレート52に2個の基板ホルダ18を水平状態で並列に載置し、この一方の基板ホルダ18と基板搬送装置22との間で基板の受渡しを行った後、載置プレート52を横方向にスライドさせて、他方の基板ホルダ18と基板搬送装置22との間で基板Wの受渡しを行うようになっている。
前記基板ホルダ18は、図4乃至図6に示すように、矩形平板状の固定保持部材54と、この固定保持部材54にヒンジ56を介して開閉自在に取付けたリング状の可動保持部材58とを有している。そして、この可動保持部材58の固定保持部材54側の表面に、例えば塩ビ製で補強材として役割を果たすとともに、締付けリング62との滑りを良くしたパッキンベース59を介して、リング状で一方の足を長くした略コ字状のシールパッキン60が固定保持部材54側に開口して取付けられ、固定保持部材54と反対側に、締付けリング62が円周方向に沿った長穴62aとボルト64介して回転自在で脱出不能に保持されている。
固定保持部材54には、可動保持部材58の周辺部に位置するように、逆L字状の爪66が円周方向に沿って等間隔で立設されている。一方、締付けリング62の外周面には、複数の突起部68が等間隔で一体に成形されているとともに、これを回転させるためのやや長穴とした通孔62bが図示では3カ所に設けられている。ここで、前記突起部68の上面及び爪66の下面は、回転方向に沿って互いに逆方向に傾斜するテーパ面となっている。
これにより、可動保持部材58を開いた状態で、固定保持部材54の中央部に基板Wを位置決めして挿入し、ヒンジ56を介して可動保持部材58を閉じた後、締付けリング62を時計回りに回転させ、締付けリング62の突起部68を逆L字状の爪66の内部に滑り込ませることで、固定保持部材54と可動保持部材58とを互いに締め付けてロックし、反時計回りに回転させて逆L字状の爪66から締付けリング62の突起部68を引き抜くことで、このロックを解くようになっている。
そして、このようにして可動保持部材58をロックした時、図6に示すように、シールパッキン60の内周面側の短い足が基板Wの表面に、外周面側の長い足が固定保持部材54の表面にそれぞれ圧接して、ここを確実にシールするようになっている。
また、図6に示すように、固定保持部材54には、外部電極(図示せず)に接続した導電体(電気接点)70が配置されて、この導電体70の端部が基板Wの側方で固定保持部材54の表面に露出するようになっている。一方、可動保持部材58の該導電体70の露出部に対向する位置には、シールパッキン60の内部に位置して収納用凹部71が設けられ、この収納用凹部71内に横断面コ字状で下方に開口した金属接片72がばね74を介して固定保持部材54側に付勢させて収納されている。
これにより、前述のようにして、可動保持部材58をロックすると、シールパッキン60でシールされた位置で、導電体70の露出部が金属接片72の外周側の一方の足と、この金属接片72の内周側の他方の足と基板Wとがばね74の弾性力を介して電気的に接続し、これによって、シールされた状態で基板Wに給電が行えるようになっている。
なお、導電体70の表面の、少なくとも前記金属接片72との当接面、及び該金属接片72の導電体70及び基板Wの当接面の少なくとも一方は、例えば金または白金めっきを施して、これらの各部を金属で被覆することが好ましい。また、これらを耐食性に優れたステンレス製としてもよい。
可動保持部材58の開閉は、図示しないシリンダと可動保持部材58の自重によって行われる。つまり、固定保持部材54には通孔54aが設けられ、載置プレート52のこの上に基板ホルダ18を載置した時に該通孔54aに対向する位置にシリンダが設けられている。これにより、シリンダロッドを伸展させ通孔54aを通じて可動保持部材58を上方に押上げることで可動保持部材58を開き、シリンダロッドを収縮させることで、可動保持部材58をその自重で閉じるようになっている。
この例にあっては、締付けリング62を回転させることにより、可動保持部材58のロック・アンロックを行うようになっているが、このロック・アンロック機構は、天井側に設けられている。つまり、このロック・アンロック機構は、載置プレート52の上に基板ホルダ18を載置した時、この中央側に位置する基板ホルダ18の締付けリング62の各通孔62bに対応する位置に位置させたピンを有し、載置プレート52を上昇させ、通孔62b内にピンを挿入した状態でピンを締付けリング62の軸芯周りに回転させることで、締付けリング62を回転させるように構成されている。このロック・アンロック機構は、1個備えられ、載置プレート52の上に載置した2個の基板ホルダ18の一方をロック(またはアンロック)した後、載置プレート52を横方向にスライドさせて、他方の基板ホルダ18をロック(またはアンロック)するようになっている。
また、基板ホルダ18には、基板Wを装着した時の該基板Wと接点との接触状態を確認するセンサが備えられ、このセンサからの信号がコントローラ(図示せず)に入力されるようになっている。
基板ホルダ18の固定保持部材54の端部には、基板ホルダ18を搬送したり、吊下げ支持する際の支持部となる一対の略T字状のハンド76が連接されている。そして、ストッカ24内においては、この周壁上面にハンド76の突出端部を引っかけることで、これを垂直に吊下げ保持し、この吊下げ保持した基板ホルダ18のハンド76を基板ホルダ搬送装置40のトランスポータ42で把持して基板ホルダ18を搬送するようになっている。なお、プリウェット槽26、プリソーク槽28、水洗槽30a,30b、ブロー槽32及び銅めっき槽34内においても、基板ホルダ18は、ハンド76を介してそれらの周壁に吊下げ保持される。
図7及び図8は、基板ホルダ搬送装置40の走行部であるリニアモータ部80を示すもので、このリニアモータ部80は、長尺状に延びるベース82と、このベース82に沿って走行する2台のスライダ84,86とから主に構成され、この各スライダ84,86の上面にトランスポータ42,44が搭載されている。また、ベース82の側部には、ケーブルベアブラケット88とケーブルベア受け90が設けられ、このケーブルベアブラケット88とケーブルベア受け90に沿ってケーブルベア92が延びるようになっている。
このように、トランスポータ42,44の移動方式としてリニアモータ方式を採用することで、長距離移動を可能にするとともに、トランスポータ42,44の長さを短く抑えて装置の全長をより短くし、更に長いボールネジなどの精度とメンテナンスを要する部品を削減することができる。
図9乃至図12は、トランスポータ42を示す。なお、トランスポータ44も基本的に同じ構成であるので、ここでは説明を省略する。このトランスポータ42は、トランスポータ本体100と、このトランスポータ本体100から横方向に突出するアーム部102と、アーム部102を昇降させるアーム部昇降機構104と、アーム部102を回転させるアーム部回転機構106と、アーム部102の内部に設けられて基板ホルダ18のハンド76を着脱自在に把持する把持機構108とから主に構成されている。
アーム部昇降機構104は、図9及び図10に示すように、鉛直方向に延びる回転自在なボールねじ110と、このボールねじ110に螺合するナット112とを有し、このナット112にLMベース114が連結されている。そして、トランスポータ本体100に固定した昇降用モータ116の駆動軸に固着した駆動プーリ118とボールねじ110の上端に固着した従動プーリ120との間にタイミングベルト122が掛け渡されている。これによって、昇降用モータ116の駆動に伴ってボールねじ110が回転し、このボールねじ110に螺合するナット112に連結したLMベース114がLMガイドに沿って上下に昇降するようになっている。
アーム部回転機構106は、図10に仮想線で示すように、内部に回転軸130を回転自在に収納し取付け台132を介してLMベース114に固着したスリーブ134と、このスリーブ134の端部にモータベース136を介して取付けた回転用モータ138とを有している。そして、この回転用モータ138の駆動軸に固着した駆動プーリ140と回転軸130の端部に固着した従動プーリ142との間にタイミングベルト144が掛け渡されている。これによって、回転用モータ138の駆動に伴って回転軸130が回転するようになっている。そして、アーム部102は、この回転軸130にカップリング146を介して連結されて回転軸130と一体となって昇降し回転するようになっている。
アーム部102は、図10の仮想線、図11及び図12に示すように、回転軸130に連結されて該回転軸130と一体に回転する一対の側板150,150を備え、この側板150,150間に把持機構108が配置されている。なお、この例では、2つの把持機構108が備えられているが、これらは同じ構成であるので、一方のみを説明する。
把持機構108は、端部を側板150,150間に幅方向自在に収納した固定ホルダ152と、この固定ホルダ152の内部を挿通させたガイドシャフト154と、このガイドシャフト154の一端(図12における下端)に連結した可動ホルダ156とを有している。そして、固定ホルダ152は、一方の側板150に取付けた幅方向移動用シリンダ158にシリンダジョイント160を介して連結されている。一方、ガイドシャフト154の他端(図12における上端)には、シャフトホルダ162が取付けられ、このシャフトホルダ162は、上下移動用シリンダ166にシリンダコネクタ164を介して連結されている。
これにより、幅方向移動用シリンダ158の作動に伴って、固定ホルダ152が可動ホルダ156と共に側板150,150間をその幅方向に移動し、上下移動用シリンダ166の作動に伴って、可動ホルダ156がガイドシャフト154にガイドされつつ上下に移動するようになっている。
この把持機構108でストッカ24等に吊下げ保持した基板ホルダ18のハンド76を把持する時には、ハンド76との干渉を防止しつつ可動ホルダ156をこの下方まで下げ、しかる後、幅方向移動用シリンダ158を作動させて、固定ホルダ152と可動ホルダ156をハンド76を上下から挟む位置に位置させる。この状態で、上下移動用シリンダ166を作動させて、可動ホルダ156を固定ホルダ152と可動ホルダ156で狭持して把持する。そして、この逆の動作を行わせることで、この把持を解く。
なお、図4に示すように、基板ホルダ18のハンド76の一方には、凹部76aが設けられ、可動ホルダ156の該凹部76aに対応する位置には、この凹部76aに嵌合する突起168が設けられて、この把持を確実なものとすることができるように構成されている。
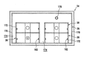
図13乃至図16は、4個の銅めっきユニット38を2列に収納した銅めっき槽34を示す。なお、図3Aに示す8個の銅めっきユニット38を2列に収容するようにした銅めっき槽34も基本的には同じ構成である。銅めっきユニットをこれ以上増やしても同様である。
この銅めっき槽34は、上方に開口した矩形ボックス状に形成されたオーバーフロー槽36を備え、このオーバーフロー槽36の周壁170の上端は、この内部に収納する各銅めっきユニット38の周壁172の上端180よりも上方に突出するように構成されている。そして、この内部に銅めっきユニット38を収納した時に、銅めっきユニット38の周囲にめっき液流路174が形成され、このめっき液流路174にポンプ吸込口178が設けられている。これによって、銅めっきユニット38をオーバーフローしためっき液は、めっき液流路174を流れてポンプ吸込口178から外部に排出されるようになっている。なお、このオーバーフロー槽36には、各めっきユニット38内のめっき液の液面を均一に調整する液面レベラが設けられている。
ここで、図13及び図15Aに示すように、銅めっきユニット38の内周面には、基板ホルダ18の案内となる嵌合溝182が設けられている。
そして、前述のように、めっきユニット38をオーバーフローしためっき液Qをオーバーフロー槽36に集め、これを真空ポンプ320により温度調整槽321、濾過フィルタ322、脱気ユニット(脱気装置)328、溶存酸素濃度測定装置340、流量計323を介してめっきユニット38の内部に戻すめっき液循環系Cが備えられている。脱気ユニット328は、めっき液Qの流路に対して液体を透過せず気体のみを透過する隔膜を介して液中に存在する酸素、空気、炭酸ガスなどの各種溶存気体を除去する真空ポンプ329を備えている。
更に、このめっき液循環系Cに分岐して、例えば全めっき液量の1/10を取出してめっき液を分析し、この分析結果に基づいてめっき液に不足する成分を追加するめっき液管理装置610が備えられている。このめっき液管理装置610は、めっき液調整タンク612を備え、このめっき液調整タンク612内で不足する成分を追加するようになっており、このめっき液調整タンク612に温度コントローラ614や、サンプルを取出して分析するめっき液分析ユニット616が付設されている。そして、ポンプ618の駆動に伴って、めっき液調整タンク612からフィルタ620を通してめっき液がめっき液循環系Cに戻るようになっている。
なお、この例では、めっき処理時間やめっきした基板の数等の外乱を予測して不足する成分を添加するフィードフォワード制御と、めっき液を分析し、この分析結果に基づいてめっき液に不足する成分を追加するフィードバック制御とを併用している。フィードバック制御のみでもよいことは勿論である。
このめっき液管理装置610は、例えば、図3Dに示すように、カセットテーブル12、基板脱着部20、ストッカ24、プリウェット槽26、プリソーク槽28、水洗槽30a,30b及び銅めっき槽34等を収納したハウジング609の内部に配置されているが、図3Eに示すように、ハウジング609の外部に配置するようにしてもよい。
プリウェット槽26にあっても、図15Bに示すように、プリウェットユニット26aをオーバーフローした純水をオーバーフロー槽26bに集め、これを真空ポンプ320により温度調整槽321、濾過フィルタ322、脱気ユニット(脱気装置)328、流量計323を介してプリウェットユニット26aの内部に戻す純水循環系Cが備えられている。脱気ユニット328は、純水の流路に対して液体を透過せず気体のみを透過する隔膜を介して液中に存在する酸素、空気、炭酸ガスなどの各種溶存気体を除去する真空ポンプ329を備えている。また、純水循環系Cに純水を供給する純水タンク330が備えられている。
また、図16に示すように、オーバーフロー槽36のめっき液流路174の内部には、空電解用のカソード184とアノード186が配置されている。このアノード186は、例えばチタン製のバスケットからなり、内部に銅等のチップを入れるようになっている。これにより、オーバーフロー槽36にめっきタンクとしての役割を果たさせて、銅めっきユニット38間におけるめっき膜のむらをなくすとともに、空電解の電極面を大きくして、空電解の効率を上げ、更に、循環するめっき液の多くの部分が空電解部を通過するようにして、均一なめっき液状態を形成しやすくすることができる。
図17は、銅めっきユニット38の断面を示す。同17に示すように、銅めっきユニット38の内部には、この嵌合溝182(図13及び図15A参照)に沿って基板Wを装着した基板ホルダ18を配置した時、この基板Wの表面と対面する位置にアノード200が配置され、このアノード200と基板Wとの間にパドル(掻き混ぜ棒)202がほぼ垂直に配置されている。このパドル202は、下記に詳述するパドル駆動装置46によって、基板Wと平行に往復移動できるようになっている。
このように、基板Wとアノード200との間にパドル202を配置し、これを基板Wと平行に往復移動させることで、基板Wの表面に沿っためっき液の流れを該表面の全面でより均等にして、基板Wの全面に亘ってより均一な膜厚のめっき膜を形成することができる。
また、この例では、基板Wとアノード200との間に、基板Wの大きさに見合った中央孔204aを設けたレギュレーションプレート(マスク)204を配置している。これにより、基板Wの周辺部の電位をレギュレーションプレート204で下げて、めっき膜の膜厚をより均等化することができる。
図18は、このめっき装置の銅めっき槽34を配置した部分の断面を示し、図19は、図18におけるめっき液注入部の詳細を示す。図18に示すように、銅めっきユニット38の内部には、その下方にあるめっき液供給管206からめっき液が供給され、オーバーフロー槽36をオーバーフローしためっき液は、下部のめっき液排出管208を通して排出される。
ここで、図19に示すように、めっき液供給管206は、銅めっきユニット38の底部で該銅めっきユニット38の内部に開口しており、この開口端に整流板210が取付けられて、この整流板210を通してめっき液が銅めっきユニット38内に注入される。このめっき液供給管206を囲繞する位置に排液管212の一端が銅めっきユニット38に開口して取付けられ、この排液管212の他端にベント管214を介してめっき液排出管208が連結されている。これによって、めっき液供給管206の近傍のめっき液は、排液管212及びめっき液排出管208から排出されて、ここでのめっき液の滞留が防止されるようになっている。
図20及び図21は、パドル駆動装置46を示す。なお、この例では、複数のパドル駆動装置46が備えられ、図20及び図21は、2個のみを示しているが、全て同じ構成であるので、その内の1個のみを説明し、他は同一符号を付してその説明を省略する。
このパドル駆動装置46には、パドル駆動用モータ220と、このモータ220の駆動軸に基端を連結したクランク222と、このクランク222の先端に取付けたカムフォロア224と、このカムフォロア224が摺動する溝カム226を有するスライダ228とを有している。そして、このスライダ228にパドルシャフト230が連結されて、このパドルシャフト230が銅めっき槽34を横切るように配置されている。このパドルシャフト230の長さ方向に沿った所定箇所にパドル202が垂設され、その長さ方向に沿った往復移動のみを許容するようにシャフトガイド232で支持されている。
これにより、パドル駆動用モータ220の駆動に伴って、クランク222が回転し、このクランク222の回転運動がスライダ228及びカムフォロア224を介してパドルシャフト230の直線運動に変換され、このパドルシャフト230に垂設したパドル202が、前述のように、基板Wと平行に往復移動するようになっている。
なお、基板の径が異なる場合には、パドルシャフト230に対するパドル202の取付け位置を任意に調節することで、これに容易に対処することができる。また、パドル202はめっき処理中常に往復移動しているため、摩耗が発生し、機械的な摺動によりパーティクル発生の原因ともなっていたが、この例にあっては、パドル支持部の構造を改良することにより、耐久性を改善して、問題の発生を大幅に減少させることができる。
このように構成した本発明の実施の形態のめっき装置による一連のバンプめっき処理を説明する。先ず、図29Aに示すように、表面に給電層としてのシード層500を成膜し、このシード層500の表面に、例えば高さHが20〜120μmのレジスト502を全面に塗布した後、このレジスト502の所定の位置に、例えば直径Dが20〜200μm程度の開口部502aを設けた基板をその表面(被めっき処理面)を上した状態でカセット10に収容し、このカセット10をカセットテーブル12に搭載する。
このカセットテーブル12に搭載したカセット10から、基板搬送装置22で基板を1枚取出し、アライナ14に載せてオリフラやノッチなどの位置を所定の方向に合わせる。このアライナ14で方向を合わせた基板を基板搬送装置22で基板着脱部20まで搬送する。
基板着脱部20においては、ストッカ24内に収容されていた基板ホルダ18を基板ホルダ搬送装置40のトランスポータ42の把持機構108で2基同時に把持し、アーム部昇降機構104を介してアーム部102を上昇させた後、基板着脱部20まで搬送し、アーム部回転機構106を介してアーム部102を90゜回転させて基板ホルダ18を水平な状態とする。しかる後、アーム部昇降機構104を介してアーム部102を下降させ、これによって、2基の基板ホルダ18を基板着脱部20の載置プレート52の上に同時に載置し、シリンダを作動させて基板ホルダ18の可動保持部材58を開いた状態にしておく。
この状態で、中央側に位置する基板ホルダ18に基板搬送装置22で搬送した基板を挿入し、シリンダを逆作動させて可動保持部材58を閉じ、しかる後、ロック・アンロック機構で可動保持部材58をロックする。そして、一方の基板ホルダ18への基板の装着が完了した後、載置プレート52を横方向にスライドさせて、同様にして、他方の基板ホルダ18に基板を装着し、しかる後、載置プレート52を元の位置に戻す。
これにより、基板は、そのめっき処理を行う面を基板ホルダ18の開口部から露出させた状態で、周囲をシールパッキン60でめっき液が浸入しないようにシールされ、シールによってめっき液に触れない部分において複数の接点と電気的に導通するように固定される。ここで、接点からは基板ホルダ18のハンド76まで配線が繋がっており、ハンド76の部分に電源を接続することにより基板のシード層500に給電することができる。
次に、基板を装着した基板ホルダ18を基板ホルダ搬送装置40のトランスポータ42の把持機構108で2基同時に把持し、アーム部昇降機構104を介してアーム部102を上昇させた後、ストッカ24まで搬送し、アーム部回転機構106を介してアーム部102を90゜回転させて基板ホルダ18を垂直な状態となし、しかる後、アーム部昇降機構104を介してアーム部102を下降させ、これによって、2基の基板ホルダ18をストッカ24に吊下げ保持(仮置き)する。
これらの基板搬送装置22、基板着脱部20及び基板ホルダ搬送装置40のトランスポータ42においては、前記作業を順次繰り返して、ストッカ24内に収容された基板ホルダ18に順次基板を装着し、ストッカ24の所定の位置に順次吊り下げ保持(仮置き)する。
なお、基板ホルダ18に備えられていた基板と接点との接触状態を確認するセンサで、この接触状態が不良である判断とした時には、その信号をコントローラ(図示せず)に入力する。
一方、基板ホルダ搬送装置40の他方のトランスポータ44にあっては、基板を装着しストッカ24に仮置きした基板ホルダ18をこの把持機構108で2基同時に把持し、アーム部昇降機構104を介してアーム部102を上昇させた後、プリウェット槽26まで搬送し、しかる後、アーム部昇降機構104を介してアーム部102を下降させ、これによって、2基の基板ホルダ18をプリウェット槽26内に入れた、例えば純水に浸漬させて基板の表面を濡らして表面の親水性を良くする。なお、基板の表面を濡らし穴の中の空気を水に置換して親水性をよくできるものであれば、純水に限らないことは勿論である。
なお、この時、基板ホルダ18に備えられていた基板と接点との接触状態を確認するセンサで、この接触状態が不良であると判断した基板を収納した基板ホルダ18は、ストッカ24に仮置きしたままにしておく。これにより、基板ホルダ18に基板を装着した時に該基板と接点との間に接触不良が生じても、装置を停止させることなく、めっき作業を継続することができる。この接触不良を生じた基板にはめっき処理が施されないが、この場合には、カセットを戻した後にめっき未処理の基板をカセットから排除することで、これに対処することができる。
次に、この基板を装着した基板ホルダ18を、前記と同様にして、プリソーク槽28に搬送し、プリソーク槽28に入れた硫酸や塩酸などの薬液に基板を浸漬させてシード層表面の電気抵抗の大きい酸化膜をエッチングし、清浄な金属面を露出させる。更に、この基板を装着した基板ホルダ18を、前記と同様にして、水洗槽30aに搬送し、この水洗槽30aに入れた純水で基板の表面を水洗する。
水洗が終了した基板を装着した基板ホルダ18を、前記と同様にして、めっき液を満たした銅めっき槽34に搬送し、銅めっきユニット38に吊り下げ保持する。基板ホルダ搬送装置40のトランスポータ44は、上記作業を順次繰り返し行って、基板を装着した基板ホルダ18を順次銅めっき槽34の銅めっきユニット38に搬送して所定の位置に吊下げ保持する。
全ての基板ホルダ18の吊下げ保持が完了した後、めっき液供給管206からめっき液を供給し、オーバーフロー槽36にめっき液をオーバーフローさせながら、アノード200と基板との間にめっき電圧を印加し、同時にパドル駆動装置46によりパドル202を基板の表面と平行に往復移動させることで、基板の表面にめっきを施す。この時、基板ホルダ18は銅めっきユニット38の上部でハンド76により吊り下げられて固定され、めっき電源からハンド固定部、ハンド、接点を通してシード層に給電される。
また、めっき液は、銅めっきユニット38の下部から銅めっきユニット38内に流入し、銅めっきユニット38の上部外周部からオーバーフローして、濃度調整、フィルタによる異物除去を行った後、再度銅めっきユニット38下部から銅めっきユニット38に流入する。この循環により、めっき液の濃度は常に一定に保たれる。なお、この時、空電解用のカソード184とアノード186との間に空電解用の電圧を印加することで、めっき液の状態をより均一にすることができる。
めっきが終了した後、めっき電源の印加、めっき液の供給及びパドル往復運動を停止し、めっき後の基板を装着した基板ホルダ18を基板ホルダ搬送装置40のトランスポータ44の把持機構108で2基同時に把持し、前述と同様にして、水洗槽30bまで搬送し、この水洗槽30bに入れた純水に浸漬させて基板の表面を純水洗浄する。しかる後、この基板を装着した基板ホルダ18を、前記と同様にして、ブロー槽32に搬送し、ここで、エアの吹き付けによって基板ホルダ18に付着した水滴を除去する。しかる後、この基板を装着した基板ホルダ18を、前記と同様にして、ストッカ24の所定の位置に戻して吊下げ保持する。
基板ホルダ搬送装置40のトランスポータ44は、上記作業を順次繰り返し、めっきが終了した基板を装着した基板ホルダ18を順次ストッカ24の所定の位置に戻して吊下げ保持する。
一方、基板ホルダ搬送装置40の他方のトランスポータ42にあっては、めっき処理後の基板を装着しストッカ24に戻した基板ホルダ18をこの把持機構108で2基同時に把持し、前記と同様にして、基板着脱部20の載置プレート52の上に載置する。この時、基板ホルダ18に備えられていた基板と接点との接触状態を確認するセンサで、この接触状態が不良である判断とした基板を装着しストッカ24に仮置きしたままの基板ホルダ18も同時に搬送して載置プレート52の上に載置する。
そして、中央側に位置する基板ホルダ18の可動保持部材58のロックをロック・アンロック機構を介して解き、シリンダを作動させて可動保持部材58を開く。この状態で、基板ホルダ18内のめっき処理後の基板を基板搬送装置22で取出して、スピンドライヤ16に運び、このスピンドライヤ16の高速回転によってスピンドライ(水切り)した基板を基板搬送装置22でカセット10に戻す。
そして、一方の基板ホルダ18に装着した基板をカセット10に戻した後、或いはこれと並行して、載置プレート52を横方向にスライドさせて、同様にして、他方の基板ホルダ18に装着した基板をスピンドライしてカセット10に戻す。
載置プレート52を元の状態に戻した後、基板を取出した基板ホルダ18を基板ホルダ搬送装置40のトランスポータ42の把持機構108で2基同時に把持し、前記と同様にして、これをストッカ24の所定の場所に戻す。しかる後、めっき処理後の基板を装着しストッカ24に戻した基板ホルダ18を基板ホルダ搬送装置40のトランスポータ42の把持機構108で2基同時に把持し、前記と同様にして、基板着脱部20の載置プレート52の上に載置して、前記と同様な作業を繰り返す。
そして、めっき処理後の基板を装着しストッカ24に戻した基板ホルダ18から全ての基板を取出し、スピンドライしてカセット10に戻して作業を完了する。これにより、図29Bに示すように、レジスト502に設けた開口部502a内にめっき膜504を成長させた基板Wが得られる。
なお、図3Bに示すように、レジスト剥離部600、シード層除去部602及び熱処理部604を備えためっき装置にあっては、前述のようにしてスピンドライした基板Wを、先ずレジスト剥離部600に搬送し、例えば温度が50〜60℃のアセトン等の溶剤に浸漬させて、図29Cに示すように、基板W上のレジスト502を剥離除去する。そして、このレジスト502を除去した基板Wをシード層除去部602に搬送し、図29Dに示すように、めっき後の外部に露出する不要となったシード層500を除去する。次に、この基板Wを、例えば拡散炉からなる熱処理部604に搬送し、めっき膜504をリフローさせることで、図29Eに示すように、表面張力で丸くなったバンプ506を形成する。更に、この基板Wを、例えば、100℃以上の温度でアニールし、バンプ506内の残留応力を除去する。なお、下記のように、多層めっきによるバンプにあっては、このようにアニールを施すことで、バンプ506の合金化を図る。そして、このアニール後の基板をカセット10に戻して作業を完了する。
また、図3Cに示すように、前記熱処理部604の代わりにリフロー部606とアニール部608とを備えためっき装置にあっては、このリフロー部606でめっき膜504をリフローさせ、このリフロー後の基板をアニール部608に搬送してアニールする。
なお、この例では、基板着脱部20と銅めっきユニット38との間に基板ホルダ18を縦置きで収納するストッカ24を配置し、基板着脱部20とストッカ24との間での基板ホルダ18の搬送を基板ホルダ搬送装置40の第1のトランスポータ42で、ストッカ24と銅めっきユニット38との間での基板ホルダ18の搬送を第2のトランスポータ44でそれぞれ行うことで、不使用時の基板ホルダ18をストッカ24に保管しておき、またストッカ24を挟んだ前後における基板ホルダ18の搬送をスムーズに行ってスループットを向上させるようにしている。1つのトランスポータで全ての搬送を行うようにしても良いことは勿論である。
また、基板搬送装置22として、ドライハンドとウェットハンドを有するロボットを使用し、基板ホルダ18からめっき後の基板を取出す時にのみウェットハンドを使用し、他はドライハンドを使用するようにしている。基板ホルダ18のシールによって基板の裏面はめっき液に接触しないように保たれており、原則的にはウェットハンドとすることは必ずしも必要ではないが、このようにハンドを使い分けることで、リンス水の回り込みやシール不良によるめっき液汚染が生じ、この汚染が新しい基板の裏面を汚染することを防止することができる。
また、基板カセット10にバーコードを付けたものを使用し、更に基板ホルダ18のストッカ24内の収納位置等の基板ホルダ18の使用状態や、基板カセット10と該カセット10に収納した基板Wとの関係や、基板ホルダ18から取出した基板Wと基板ホルダ18との関係等を、例えばコントロールパネルから入力することで、基板カセット10から取出しためっき処理前の基板をめっき処理後に元の位置に戻すとともに、基板Wの処理の状態や基板ホルダ18の状態を監視することができる。なお、基板自体にバーコードを付けることで、基板自体をそのまま管理するようにしてもよい。
図22A及び図23は、本発明の第2の実施の形態のめっき装置を示すもので、これは、異なる種類のめっきを行うめっき槽を備え、自由自在に工程に対応できるようにしたものである。
つまり、図22Aは、異なる種類のめっきを行うめっき槽を備えためっき処理部を示すもので、これは、ストッカ24、仮置き台240、プリウェット槽26、プリソーク槽28、第1の水洗槽30a、基板の表面にニッケルめっきを施す複数のニッケルめっきユニット242をオーバーフロー槽36a内に収納したニッケルめっき槽244、第2の水洗槽30b、基板の表面に銅めっきを施す複数の銅めっきユニット38をオーバーフロー槽36内に収納した銅めっき槽34、第3の水洗槽30c、ブロー槽32、第4の水洗槽30d、基板の表面にはんだめっきを施す複数のはんだめっきユニット246をオーバーフロー槽36b内に収納したはんだめっき槽248とを有している。
なお、これらのニッケルめっきユニット242やはんだめっきユニット246の構成は、基本的に銅めっきユニット38と同じであり、これらの各ユニットをオーバーフロー槽内に収容したニッケルめっき槽244やはんだめっき槽248の構成は、基本的に銅めっき槽34と同じである。また、その他の構成は、第1の実施の形態と同様である。
この実施の形態によれば、基板を基板ホルダ18に装着した状態で、この表面にニッケルめっき、銅めっき及びはんだめっきを順次に施して、ニッケル−銅−はんだからなる多層めっきによるバンプ等を一連の操作で形成することができる。
なお、この例では、4個のニッケルめっきユニット242、4個の銅めっきユニット38及び14個のはんだめっきユニット246(合計22個のめっきめっきユニット)を備えた例を示しているが、例えば図22Bに示すように、4個のニッケルめっきユニット242、4個の銅めっきユニット38及び18個のはんだめっきユニット246(合計26個のめっきユニット)を備える等、これらの各めっきユニットの個数は、任意に変更できることは勿論であり、また、各めっきユニットでめっきする金属を任意に変更できることは勿論である。
多層めっきによるバンプとしては、このNi−Cu−はんだの他に、Cu−Au−はんだ、Cu−Ni−はんだ、Cu−Ni−Au、Cu−Sn、Cu−Pd、Cu−Ni−Pd−Au、Cu−Ni−Pd、Ni−はんだ、Ni−Au等が挙げられる。ここで、このはんだとしては、高融点はんだと共晶はんだのどちらでもよい。
また、Sn−Agの多層めっきによるバンプ、またはSn−Ag−Cuの多層めっきによりバンプを形成し、前述のように、アニールを施してこれらの合金化を図ることもでる。これにより、従来のSn−Pbはんだとは異なり、Pbフリーとして、α線による環境問題を解消することができる。
ここで、この実施の形態にあっては、基板ホルダ搬送装置40側にこれと並行に局所排気ダクト250を設け、図23に示すように、この局所排気ダクト250に連通する複数の排気ダクト孔252から吸引することで、局所排気ダクト250方向に向かう一方向の空気の流れを生じさせ、各めっき槽等の下方から天井に向かう一方向の空気の流れができるようにしている。このように、局所排気ダクト250方向に向かう一方向の空気の流れを生じさせ、この流れに各めっき槽から蒸発した蒸気を乗せることで、この蒸気による基板等の汚染を防止することができる。
以上説明したように、この実施の形態のめっき装置によれば、基板を収納したカセットをカセットテーブルにセットして装置を始動することで、ディップ方式を採用した電解めっきを全自動で行って、基板の表面にバンプ等に適した金属めっき膜を自動的に形成することができる。
なお、上記例は、基板ホルダで基板の周縁部及び裏面をシールして保持した状態で、基板を基板ホルダと共に搬送して各種の処理を施すようにした例を示しているが、例えばラック式の基板搬送装置に基板を収納して基板を搬送するようにしてもよい。この場合、例えば基板の裏面に熱酸化膜(Si酸化膜)を付けたり、フィルムを粘着テープによって貼り付けることで、基板の裏面にめっきが付かないようにすることができる。
また、上記例は、ディップ方式を採用した電解めっきを全自動で行って、バンプを形成するようにした例を示しているが、めっき液を下から噴き上げてめっきを施す噴流式またはカップ式の電解めっきを全自動で行って、バンプを形成するようにしてもよい。
図24は、本発明の第3の実施の形態のめっき装置のめっき処理部の要部配置図で、これは、例えば図22Aに示す水洗槽30dの後段に、噴流式またはカップ式の複数のめっきユニット700からなるめっき処理部を配置して、このめっきユニット700によって、例えば銅めっき等のめっきを施すようにしたものである。
図25は、この図24に示すめっきユニット700を示すもので、このめっき装置700は、めっき槽本体702を有し、このめっき槽本体702内に基板Wを保持するための基板保持部704が収容されている。この基板保持部704は、基板保持ケース706と回転軸708とを有し、この回転軸708は、円筒状のガイド部材710の内壁に軸受712,712を介して回転自在に支持されている。そして、ガイド部材710と基板保持部704は、めっき槽本体702の頂部に設けたシリンダ714により上下に所定ストロークで昇降できるようになっている。
基板保持部704は、ガイド部材710の内部上方に設けたモータ715により、回転軸708を介して矢印A方向に回転できるようになっている。基板保持部704の内部には、基板押え板716及び基板抑え軸718からなる基板押え部材720を収納する空間Cが設けられており、この基板押え部材720は、基板保持部704の回転軸708内の上部に設けられたシリンダ722により上下に所定ストロークで昇降できるようになっている。
基板保持部704の基板保持ケース706の下部には、空間Cに連通する下部開口706aが設けられ、この下部開口706aの上部には、基板Wの縁部が載置される段部が形成されている。この段部に基板Wの縁部を載置し、基板Wの上面を基板押え部材720の基板押え板716で押圧することで、基板Wの縁部は、基板押え板716と段部の間に挟持される。そして、基板Wの下面(めっき面)は下部開口706aに露出する。
めっき槽本体702の基板保持部704の下方、即ち下部開口706aに露出する基板Wのめっき面の下方にはめっき液室724が設けられ、めっき液Qは複数のめっき液噴射管726より中心に向かって噴射される。また、めっき液室724の外側には、このめっき液室724をオーバーフローしためっき液Qを捕集する捕集樋728が設けられている。
捕集樋728で回収されためっき液Qは、めっき液貯留槽730に戻るようになっている。めっき液貯留槽730内のめっき液Qは、ポンプ732によりめっき液室724の外周方向から水平方向にこの内部に導入される。めっき液室724の外周方向からこの内部に導入されためっき液Qは、基板Wを回転させることで基板Wに対して均一な垂直方向の流れになって、基板Wのめっき面に当接する。めっき液室724をオーバーフローしためっき液Qは、捕集樋728で回収され、めっき液貯留槽730に流れ込む。即ち、めっき液Qは、めっき槽本体702のめっき液室724とめっき液貯留槽730との間を循環するようになっている。
めっき液室724のめっき液面レベルLは、基板Wのめっき液面レベルLより若干ΔLだけ高くなっており、基板Wのめっき面は、その全面でめっき液Qに接触するようになっている。
基板保持ケース706の段部には、基板Wの導電部と電気的に導通する電気接点が設けられ、この電気接点はブラシを介して外部のめっき電源(図示せず)の陰極に接続されるようになっている。また、めっき槽本体702のめっき液室724の底部には、めっき電源(図示せず)の陽極に接続される陽極電極736が基板Wと対向して設けられている。基板保持ケース706の壁面の所定位置には、例えばロボットアーム等の基板搬出入治具で基板Wを出し入れする基板取出し開口706cが設けられている。
この構成のめっき装置700において、めっきを行うに際しては、先ずシリンダ714を動作させ、基板保持部704をガイド部材710ごと所定量上昇させるとともに、シリンダ722を作動させて、基板押え部材720を所定量(基板押え板716が基板取出し開口706cの上方に達する位置まで)上昇させる。この状態でロボットアーム等の基板搬出入治具で基板Wを基板保持部704の空間Cに搬入し、基板Wをそのめっき面が下向きになるように段部に載置する。この状態でシリンダ722を作動させて基板押え板716の下面が基板Wの上面に当接するまで下降させ、基板押え板716と段部との間に基板Wの縁部を挟持する。
この状態でシリンダ714を作動させ、基板保持部704をガイド部材710ごと基板Wのめっき面がめっき液室724のめっき液Qに接触するまで(めっき液面レベルLより上記ΔLだけ低い位置まで)下降させる。この時、モータ715を起動して、基板保持部704と基板Wを低速で回転させながら下降させる。めっき液室724にはめっき液Qが充満している。この状態で、陽極電極736と電気接点の間にめっき電源から所定の電圧を印加する。すると、陽極電極736から基板Wへとめっき電流が流れ、基板Wのめっき面にめっき膜が形成される。
上記めっき中はモータ715を運転し、基板保持部704と基板Wを低速で回転させる。この時、めっき液室724内のめっき液Qの垂直噴流を乱すことなく、基板Wのめっき面に均一な膜厚のめっき膜を形成できるように回転速度を設定する。
めっきが終了すると、シリンダ714を作動させて、基板保持部704と基板Wを上昇させる。そして、基板保持ケース706の下面がめっき液面レベルLより上に達した時に、モータ715を高速で回転させ、遠心力で基板Wのめっき面及び基板保持ケース706の下面に付着しためっき液を振り切る。めっき液を振り切ったら、シリンダ722を作動させ、基板押え板716を上昇させて基板Wを開放し、基板Wが基板保持ケース706の段部に載置された状態にする。この状態で、ロボットアーム等の基板搬送治具を基板取出し開口706cから基板保持部704の空間Cに侵入させ、基板Wをピックアップして外部に搬出する。
なお、この例は、めっきユニット700として、いわゆるフェースダウン方式を採用したものを使用した例を示しているが、図26に示すように、いわゆるフェースアップ方式を採用したものを使用してもよい。
即ち、図26は、いわゆるフェースアップ方式を採用しためっきユニット800の例を示すもので、これは、基板Wをその表面(被めっき面)を上向きにして保持する上下動自在な基板保持部802と、この基板保持部802の上方に配置された電極ヘッド804とを有している。この電極ヘッド804は、下方に開口したカップ状に形成され、この上面には、めっき液供給管に接続されるめっき液供給口806が設けられ、下部開口部には、例えば多孔質材料または内部に上下に貫通する多数の貫通孔を有する板体からなる陽極電極808が取付けられている。
この電極ヘッド804の下方の位置して、電極ヘッド804の下部外周部を囲繞する位置に略円筒状で下方に従って小径となるシール材810が配置され、更に、このシール材810の外部に多数の電気接点812が配置されている。これによって、基板保持部802が基板Wを保持した状態で上昇すると、基板Wの周縁部がシール材810に当接して、このシール材810と基板Wによってめっき室814が区画形成され、同時に基板Wの周縁部がシール材810との当接部の外方で電気接点812に接触して、基板Wが陰極になるようになっている。
この例によれば、基板保持部802で基板Wを保持して上昇させ、基板Wの上面の周縁部をシール材810に当接させることで、めっき室814を区画形成すると同時に基板Wを陰極となす。この状態で電極ヘッド804のめっき液供給口806からめっき液を電極ヘッド804の内部に供給し、更に陽極電極808を通してめっき室814の内部に導いて、このめっき室814内のめっき液に陽極電極808と陰極となる基板Wの表面を浸漬させる。この状態で陽極電極808と基板Wとの間にめっき電源から所定の電圧を印加することで、基板Wの表面にめっきを施すことができる。
図27は、本発明の第4の実施の形態のめっき装置のめっき処理部の要部配置図で、これは、例えば図24に示す水洗槽30dの後段に、開閉式の複数のめっきユニット900を両側に配置してめっき処理部を構成し、中央の搬送経路902に沿って、例えばロボットからなる基板搬送装置904が走行するようにしたものである。この例にあっては、めっきユニット900内の基板載置台950と基板搬送装置904との間で基板Wの受け渡しを行い、基板載置台950は、基板搬送装置904から基板Wを受け取って、この表面にめっきを施すようになっている。
図28は、この図27に示すめっきユニット900の一例を示すもので、これは、めっき槽本体911と側板912を具備している。めっき槽本体911と側板912は対向して配置され、めっき槽本体911の側板912に対向する面に凹部空間Aが形成されている。また、側板912の下端は、ヒンジ機構でめっき槽本体911の凹部空間Aを開閉できるようになっている。
めっき槽本体911の底体911aの凹部空間Aの底面には、不溶解性の陽極電極板913が配置され、側板912のめっき槽本体911側の面には基板Wが装着されている。これにより、側板912でめっき槽本体911の凹部空間Aを閉じた場合、陽極電極板913と基板Wは所定の間隔を設けて対向配置されることになる。また、めっき槽本体911には、多孔質の中性隔膜又は陽イオン交換膜914が陽極電極板913と基板Wの間に位置するように取付けられ、めっき槽本体911の凹部空間Aを該多孔質の中性隔膜又は陽イオン交換膜914で陽極室915と陰極室916に隔離している。
めっき槽本体911の上下には、上部ヘッダ918と下部ヘッダ919がそれぞれ設けられており、上部ヘッダ918の空隙918aと下部ヘッダ919の空隙919aはそれぞれ陰極室916に連通している。また、陽極室915の下部は、めっき槽本体911に設けられた陽極室液の入り口911bに連通し、上部は陽極室液のオーバーフロー口911cに連通している。また、めっき槽本体911の側部にはオ−バーフロー口911cに隣接してオーバーフロー室920が設けられている。
めっき液タンク921に収容されためっき液は、ポンプ922で配管923を通して下部ヘッダ919の空隙919aに供給され、該空隙919aから陰極室916を満たし、更に上部ヘッダの空隙918a及び配管924を通ってめっき液タンク921に戻る。また、陽極液タンク925に収容されためっき液はポンプ926で配管927を通して陽極室915に供給され、該陽極室915を満たした後、オーバーフロー口911cからオーバーフローしてオーバーフロー室920に流れ込み、一時的に滞留した後、排出口920a及び配管928を通って陽極液タンク925に戻るようになっている。
ここで、陰極室916は密閉型に構成され、陽極室915はその上部が大気に開放された開放型となっている。
めっき槽本体911の凹部空間Aの外周縁部には、環状のパッキン929が設けられており、側板912で凹部空間Aを閉じることにより、パッキン929は基板Wの外周表面に当接し、陰極室916を密閉空間とする。パッキン929の外側には外部陰極端子930が設けられ、側板912で凹部空間Aを閉じた状態で外部陰極端子930の先端は基板Wの導電部に当接して、電気的に導通すると共に、パッキン929によりめっき液に接液しないようになっている。外部陰極端子930と陽極電極板913の間にはめっき電源931が接続されている。
上記構成の基板めっきユニット900において、陰極室916にめっき液を充満させ循環させると共に、陽極室915には他のめっき液を充満させオーバーフローさせながら循環させ、めっき電源931から不溶解性の陽極電極板913と陰極となる基板Wの間に電流を通電することにより、基板Wの表面にめっき膜が形成される。
なお、この例では、陽極室915と陰極室916とに区画して、それぞれの室に個別にめっき液を導入するようにしているが、中性隔膜又は陽イオン交換膜を設けないで一つの室としてめっき液を導入するようにしてもよい。また、陽極電極板913として、溶解性の陽極電極板を用いることもできる。
また、他の例としてめっきユニット900内の基板載置台950を側板912を兼ねて用いることもできる。この場合、基板搬送装置904から基板Wを受け取った基板載置台950は、基板載置台950でめっき槽本体911の凹部空間Aを閉じるように動くように配される以外は、上記の例と同様である。
めっき装置の概略図である。 他のめっき装置の概略図である。 本発明の第1の実施の形態のめっき装置の全体配置図である。 図3Aの変形例を示す全体配置図である。 図3Aの他の変形例を示す全体配置図である。 めっき液管理装置の配置例を示す配置図である。 めっき液管理装置の他の配置例を示す配置図である。 基板ホルダの平面図である。 基板を基板ホルダの内部に装着してシールした状態を示す拡大断面図である。 同じく、基板に給電する状態を示す拡大断面図である。 基板ホルダ搬送装置のリニアモータ部(走行部)を示す平面図である。 図7の正面図である。 トランスポータの正面図である。 トランスポータのアーム部回転機構を仮想線で示す平面図である。 アーム部に備えられた把持機構の平面図である。 同じく、縦断正面図である。 銅めっき槽の平面図である。 図13の縦断正面図である。 銅めっき槽の縦断側面図である。 プリウェット槽の縦断側面図である。 銅めっき槽の拡大断面図である。 銅めっきユニットの拡大断面図である。 図3Aにおける銅めっき槽配置部の断面図である。 銅めっきユニットのめっき液注入孔付近の拡大断面図である。 パドル駆動装置の平面図である。 同じく、縦断正面図である。 本発明の第2の実施の形態のめっき装置を示すめっき処理部の配置図である。 図22Aの変形例を示す配置図である。 局所排気ダクト及び該排気ダクトに連通する排気ダクト孔を示す図である。 本発明の第3の実施の形態のめっき装置を示すめっき処理部の配置図である。 図24に示すめっき装置に使用されるめっきユニットを示す断面図である。 図24に示すめっき装置に使用される他のめっきユニットを示す断面図である。 本発明の第4の実施の形態のめっき装置を示すめっき処理部の配置図である。 図27に示すめっき装置に使用されるめっきユニットを示す断面図である。 基板上にバンプ(突起状電極)を形成する過程におけるシード層の表面に塗布したジストに開口部を設けた状態を示す断面図である。 基板上にバンプ(突起状電極)を形成する過程における開口部内にめっき膜を成長させた状態を示す断面図である。 基板上にバンプ(突起状電極)を形成する過程におけるレジストを除去した状態を示す断面図である。 基板上にバンプ(突起状電極)を形成する過程における不要となったシード層を除去した状態を示す断面図である。 基板上にバンプ(突起状電極)を形成する過程におけるめっき膜をリフローさせた状態を示す断面図である。 従来のめっき装置の概略図である。
符号の説明
10 カセット
12 カセットテーブル
14 アライナ
16 スピンドライヤ
18 基板ホルダ
20 基板着脱部
22 基板搬送装置
24 ストッカ
26 プリウェット槽
28 プリソーク槽
30a〜30d 水洗槽
32 ブロー槽
34 銅めっき槽
36,36a,36b オーバーフロー槽
38 銅めっきユニット
40 基板ホルダ搬送装置(基板搬送装置)
42,44 トランスポータ
46 パドル駆動装置
52 載置プレート
54 固定保持部材
56 ヒンジ
58 可動保持部材
60 シールパッキン
62 締付けリング
66 爪
68 突起部
70 導電体
71 収納用凹部
72 金属接片
74 ばね
76 ハンド
80 リニアモータ部
82 ベース
84,86 スライダ
92 ケーブルベア
100 トランスポータ本体
102 アーム部
104 アーム部昇降機構
106 アーム部回転機構
108 把持機構
110 ボールねじ
112 ナット
118,140 駆動プーリ
120,142 従動プーリ
122,144 タイミングベルト
130 回転軸
132 取付け台
134 スリーブ
138 回転用モータ
150 側板
152 固定ホルダ
154 ガイドシャフト
156 可動ホルダ
158 幅方向移動用シリンダ
166 上下移動用シリンダ
174,176 めっき液流路
178 ポンプ吸込口
182 嵌合溝
184 空電解用カソード
186 空電解用アノード
200 アノード
202 パドル
204 レギュレーションプレート
206 めっき液供給管
208 めっき液排出管
210 整流板
212 排液管
220 パドル駆動用モータ
222 クランク
224 カムフォロア
226 溝カム
228 スライダ
230 パドルシャフト
232 シャフトガイド
242 ニッケルめっきユニット
244 ニッケルめっき槽
246 はんだめっきユニット
248 はんだめっき槽
250 局所排気ダクト
252 排気ダクト孔

Claims (4)

  1. 基板の被めっき処理面にめっき膜を形成するにあたり、
    カセットから取出した基板を基板ホルダで保持する工程と、
    この基板ホルダで保持した基板にプリウェット処理を施す工程と、
    このプリウェット後の基板を基板ホルダごとめっき液中に浸漬させて基板の表面にめっきを施す工程と、
    このめっき後の基板を基板ホルダごと洗浄し乾燥する工程と、
    この洗浄・乾燥後の基板を基板ホルダから取出して基板のみを乾燥する工程とを有することを特徴とするめっき方法。
  2. 前記プリウェット処理は、基板を基板ホルダごと純水に浸漬させることを特徴とする請求項1記載のめっき方法。
  3. 基板の被めっき処理面にめっき膜を形成するにあたり、
    カセットから取出した基板を基板ホルダで保持する工程と、
    この基板ホルダで保持した基板に、シード層の酸化膜を酸性薬液でエッチング除去するプリソーク処理を施す工程と、
    このプリソーク後の基板を基板ホルダごとめっき液中に浸漬させて基板の表面にめっきを施す工程と、
    このめっき後の基板を基板ホルダごと洗浄し乾燥する工程と、
    この洗浄・乾燥後の基板を基板ホルダから取出して基板のみを乾燥する工程とを有することを特徴とするめっき方法。
  4. 前記プリソーク処理は、基板を基板ホルダごと硫酸又は塩酸に浸漬させることを特徴とする請求項3記載のめっき方法。
JP2007025747A 2000-03-17 2007-02-05 めっき方法 Expired - Lifetime JP4664320B2 (ja)

Priority Applications (1)

Application Number Priority Date Filing Date Title
JP2007025747A JP4664320B2 (ja) 2000-03-17 2007-02-05 めっき方法

Applications Claiming Priority (3)

Application Number Priority Date Filing Date Title
JP2000077188 2000-03-17
JP2000287324 2000-09-21
JP2007025747A JP4664320B2 (ja) 2000-03-17 2007-02-05 めっき方法

Related Parent Applications (1)

Application Number Title Priority Date Filing Date
JP2001567827A Division JP3979847B2 (ja) 2000-03-17 2001-03-16 めっき装置

Publications (3)

Publication Number Publication Date
JP2007138304A JP2007138304A (ja) 2007-06-07
JP2007138304A5 JP2007138304A5 (ja) 2008-04-24
JP4664320B2 true JP4664320B2 (ja) 2011-04-06

Family

ID=38201522

Family Applications (1)

Application Number Title Priority Date Filing Date
JP2007025747A Expired - Lifetime JP4664320B2 (ja) 2000-03-17 2007-02-05 めっき方法

Country Status (1)

Country Link
JP (1) JP4664320B2 (ja)

Cited By (1)

* Cited by examiner, † Cited by third party
Publication number Priority date Publication date Assignee Title
KR20180077027A (ko) 2016-12-28 2018-07-06 가부시키가이샤 에바라 세이사꾸쇼 기판을 처리하기 위한 방법 및 장치

Families Citing this family (25)

* Cited by examiner, † Cited by third party
Publication number Priority date Publication date Assignee Title
US9677188B2 (en) 2009-06-17 2017-06-13 Novellus Systems, Inc. Electrofill vacuum plating cell
US9455139B2 (en) 2009-06-17 2016-09-27 Novellus Systems, Inc. Methods and apparatus for wetting pretreatment for through resist metal plating
US20100320081A1 (en) * 2009-06-17 2010-12-23 Mayer Steven T Apparatus for wetting pretreatment for enhanced damascene metal filling
US9138784B1 (en) 2009-12-18 2015-09-22 Novellus Systems, Inc. Deionized water conditioning system and methods
KR101050674B1 (ko) 2010-10-20 2011-07-20 (주) 피토 전자부품의 외부전극 형성장치
JP6022922B2 (ja) * 2012-12-13 2016-11-09 株式会社荏原製作所 Sn合金めっき装置及び方法
US9613833B2 (en) 2013-02-20 2017-04-04 Novellus Systems, Inc. Methods and apparatus for wetting pretreatment for through resist metal plating
US9435049B2 (en) 2013-11-20 2016-09-06 Lam Research Corporation Alkaline pretreatment for electroplating
JP6251124B2 (ja) * 2014-06-09 2017-12-20 株式会社荏原製作所 基板ホルダ用の基板着脱部及びこれを備えた湿式基板処理装置
US9481942B2 (en) 2015-02-03 2016-11-01 Lam Research Corporation Geometry and process optimization for ultra-high RPM plating
US9617648B2 (en) 2015-03-04 2017-04-11 Lam Research Corporation Pretreatment of nickel and cobalt liners for electrodeposition of copper into through silicon vias
JP6799395B2 (ja) * 2016-06-30 2020-12-16 株式会社荏原製作所 基板ホルダ、電子デバイス製造装置において基板を搬送する搬送システム、および電子デバイス製造装置
US11542627B2 (en) 2016-10-07 2023-01-03 Tokyo Electron Limited Electrolytic processing jig and electrolytic processing method
JP6336022B1 (ja) 2016-12-19 2018-06-06 株式会社荏原製作所 めっき装置、めっき方法、及びコンピュータ読み取り可能な記録媒体
JP7159671B2 (ja) * 2018-07-24 2022-10-25 富士フイルムビジネスイノベーション株式会社 めっき装置
JP7542391B2 (ja) * 2020-10-09 2024-08-30 株式会社荏原製作所 めっき方法
KR102406835B1 (ko) * 2020-12-08 2022-06-10 가부시키가이샤 에바라 세이사꾸쇼 도금 장치 및 도금 처리 방법
JP6934127B1 (ja) * 2020-12-22 2021-09-08 株式会社荏原製作所 めっき装置、プリウェット処理方法及び洗浄処理方法
KR102404458B1 (ko) * 2020-12-23 2022-06-07 가부시키가이샤 에바라 세이사꾸쇼 도금 장치 및 도금 처리 방법
CN114981487B (zh) * 2020-12-28 2023-05-02 株式会社荏原制作所 镀覆装置、以及镀覆装置的动作控制方法
WO2022149257A1 (ja) * 2021-01-08 2022-07-14 株式会社荏原製作所 基板ホルダ、めっき装置、めっき方法、及び記憶媒体
KR102404459B1 (ko) * 2021-03-10 2022-06-07 가부시키가이샤 에바라 세이사꾸쇼 도금 장치 및 도금 방법
JP7101925B1 (ja) * 2021-10-14 2022-07-15 株式会社荏原製作所 プリウェット処理方法
JP7081063B1 (ja) * 2021-10-18 2022-06-06 株式会社荏原製作所 めっき方法及びめっき装置
CN118639300B (zh) * 2024-08-19 2024-10-22 内江威士凯电子有限公司 一种pcb多层板及其电镀装置

Family Cites Families (5)

* Cited by examiner, † Cited by third party
Publication number Priority date Publication date Assignee Title
JPH059797A (ja) * 1991-07-05 1993-01-19 Matsushita Electric Ind Co Ltd メツキ装置
JP2746181B2 (ja) * 1995-02-28 1998-04-28 日本電気株式会社 基板へのバンプアレイの形成方法及び形成装置
JPH10335296A (ja) * 1997-06-03 1998-12-18 Sony Corp 洗浄乾燥装置および洗浄乾燥方法
JP3830272B2 (ja) * 1998-03-05 2006-10-04 株式会社荏原製作所 基板のめっき装置
JP3043709B2 (ja) * 1997-11-19 2000-05-22 株式会社カイジョー 基板の乾燥装置

Cited By (3)

* Cited by examiner, † Cited by third party
Publication number Priority date Publication date Assignee Title
KR20180077027A (ko) 2016-12-28 2018-07-06 가부시키가이샤 에바라 세이사꾸쇼 기판을 처리하기 위한 방법 및 장치
US10508352B2 (en) 2016-12-28 2019-12-17 Ebara Corporation Method and apparatus for processing a substrate
US11371155B2 (en) 2016-12-28 2022-06-28 Ebara Corporation Method and apparatus for processing a substrate

Also Published As

Publication number Publication date
JP2007138304A (ja) 2007-06-07

Similar Documents

Publication Publication Date Title
JP4664320B2 (ja) めっき方法
JP3979847B2 (ja) めっき装置
JPWO2001068952A1 (ja) めっき装置及び方法
KR101099068B1 (ko) 도금 장치 및 도금 방법
US10119198B2 (en) Method of cleaning substrate holder
JP4229954B2 (ja) めっき処理ユニット
JP3778281B2 (ja) 基板ホルダ及びめっき装置
US20100219078A1 (en) Plating apparatus and plating method
CN100477098C (zh) 电镀设备和电镀方法
US20160369421A1 (en) Anode holder and plating apparatus
JP2005029863A (ja) めっき装置
JP2015071802A (ja) めっき装置および該めっき装置に使用されるクリーニング装置
JP2002363794A (ja) 基板ホルダ及びめっき装置
KR102565317B1 (ko) 기판 세정 방법
JP4846201B2 (ja) めっき装置及びめっき方法
WO2020217796A1 (ja) アノードホルダ、めっき装置、及びめっき方法
JP2003247098A (ja) めっき装置
JP2002363793A (ja) 基板ホルダ及びめっき装置
JP2002363797A (ja) 電気接点及びその製造方法、並びにめっき装置
JP2010084235A (ja) めっき装置
JP2005281720A (ja) 湿式処理方法及び装置
JP2006265738A (ja) めっき装置

Legal Events

Date Code Title Description
A521 Request for written amendment filed

Free format text: JAPANESE INTERMEDIATE CODE: A523

Effective date: 20080312

A621 Written request for application examination

Free format text: JAPANESE INTERMEDIATE CODE: A621

Effective date: 20080312

A131 Notification of reasons for refusal

Free format text: JAPANESE INTERMEDIATE CODE: A131

Effective date: 20100921

A521 Request for written amendment filed

Free format text: JAPANESE INTERMEDIATE CODE: A523

Effective date: 20101119

TRDD Decision of grant or rejection written
A01 Written decision to grant a patent or to grant a registration (utility model)

Free format text: JAPANESE INTERMEDIATE CODE: A01

Effective date: 20101214

A01 Written decision to grant a patent or to grant a registration (utility model)

Free format text: JAPANESE INTERMEDIATE CODE: A01

A61 First payment of annual fees (during grant procedure)

Free format text: JAPANESE INTERMEDIATE CODE: A61

Effective date: 20110106

R150 Certificate of patent or registration of utility model

Ref document number: 4664320

Country of ref document: JP

Free format text: JAPANESE INTERMEDIATE CODE: R150

Free format text: JAPANESE INTERMEDIATE CODE: R150

FPAY Renewal fee payment (event date is renewal date of database)

Free format text: PAYMENT UNTIL: 20140114

Year of fee payment: 3

R250 Receipt of annual fees

Free format text: JAPANESE INTERMEDIATE CODE: R250

R250 Receipt of annual fees

Free format text: JAPANESE INTERMEDIATE CODE: R250

R250 Receipt of annual fees

Free format text: JAPANESE INTERMEDIATE CODE: R250

R250 Receipt of annual fees

Free format text: JAPANESE INTERMEDIATE CODE: R250

R250 Receipt of annual fees

Free format text: JAPANESE INTERMEDIATE CODE: R250

R250 Receipt of annual fees

Free format text: JAPANESE INTERMEDIATE CODE: R250

R250 Receipt of annual fees

Free format text: JAPANESE INTERMEDIATE CODE: R250

R250 Receipt of annual fees

Free format text: JAPANESE INTERMEDIATE CODE: R250

EXPY Cancellation because of completion of term