JP4645472B2 - 流体冷却装置、および電子機器 - Google Patents

流体冷却装置、および電子機器 Download PDF

Info

Publication number
JP4645472B2
JP4645472B2 JP2006044347A JP2006044347A JP4645472B2 JP 4645472 B2 JP4645472 B2 JP 4645472B2 JP 2006044347 A JP2006044347 A JP 2006044347A JP 2006044347 A JP2006044347 A JP 2006044347A JP 4645472 B2 JP4645472 B2 JP 4645472B2
Authority
JP
Japan
Prior art keywords
fluid
cooling device
flow path
plate
fluid cooling
Prior art date
Legal status (The legal status is an assumption and is not a legal conclusion. Google has not performed a legal analysis and makes no representation as to the accuracy of the status listed.)
Active
Application number
JP2006044347A
Other languages
English (en)
Other versions
JP2007227476A (ja
Inventor
明 江川
Current Assignee (The listed assignees may be inaccurate. Google has not performed a legal analysis and makes no representation or warranty as to the accuracy of the list.)
Seiko Epson Corp
Original Assignee
Seiko Epson Corp
Priority date (The priority date is an assumption and is not a legal conclusion. Google has not performed a legal analysis and makes no representation as to the accuracy of the date listed.)
Filing date
Publication date
Application filed by Seiko Epson Corp filed Critical Seiko Epson Corp
Priority to JP2006044347A priority Critical patent/JP4645472B2/ja
Publication of JP2007227476A publication Critical patent/JP2007227476A/ja
Application granted granted Critical
Publication of JP4645472B2 publication Critical patent/JP4645472B2/ja
Active legal-status Critical Current
Anticipated expiration legal-status Critical

Links

Images

Classifications

    • HELECTRICITY
    • H01ELECTRIC ELEMENTS
    • H01LSEMICONDUCTOR DEVICES NOT COVERED BY CLASS H10
    • H01L2924/00Indexing scheme for arrangements or methods for connecting or disconnecting semiconductor or solid-state bodies as covered by H01L24/00
    • H01L2924/0001Technical content checked by a classifier
    • H01L2924/0002Not covered by any one of groups H01L24/00, H01L24/00 and H01L2224/00

Landscapes

  • Arrangement Of Elements, Cooling, Sealing, Or The Like Of Lighting Devices (AREA)
  • Non-Portable Lighting Devices Or Systems Thereof (AREA)
  • Cooling Or The Like Of Electrical Apparatus (AREA)
  • Cooling Or The Like Of Semiconductors Or Solid State Devices (AREA)

Description

本発明は、流路孔に冷却水を流通させることで発熱体を冷却する流体冷却装置、および電子機器に関する。
従来、電子機器に設けられる例えば半導体などの発熱体を冷却する冷却装置として、微小寸法の流路が形成された流路板を複数積層した、いわゆるマイクロチャネル構造を備えた冷却装置が知られている(例えば、特許文献1参照)。
この特許文献1に記載のものは、積層プレートを積層して形成される液冷ジャケットである。この液冷ジャケットは、銅のような熱伝導性の良好な金属の薄板に、流路を形成する穴を打ち抜き加工して積層プレートを形成し、これらの積層プレートを積層させて接合し、端部に流体の流入部および流出部が設けられた端板を接合して形成されている。この液冷ジャケットでは、積層プレートの端辺により形成される下面に半導体モジュールの上面が熱的に接続される。
特開2005−166855号公報(第4頁ないし第7頁、図1ないし図7参照)
ところで、上記特許文献1に記載のような構成の液冷ジャケットにて発熱体を冷却するためには、発熱体が液冷ジャケットに固定されて密着されている必要がある。しかしながら、上記のような液冷ジャケットでは、積層プレートにより流路のみが形成されているため、ねじ孔などを加工するスペースがなく、半導体モジュールの固定が困難になる。また、仮に積層プレートの枚数を増やしてねじ孔を加工するスペースを作ったとしても、積層面に沿って形成されたねじ孔では強度が低く、接合部がはがれる可能性もあり、積層枚数も増加して製造コストも増大してしまうという問題がある。
本発明は、上記のような問題に鑑み、容易に発熱体を固定可能な流体冷却装置、および電子機器を提供することを1つの目的とする。
本発明に係る流体冷却装置は、発熱体を有する冷却対象部からの熱が伝達されるフィンを備えた伝熱板、および前記フィン間に配置されて流体を流通する流路を形成する流路板を含む積層板を複数積層した積層体を備えた流体冷却装置であって、前記積層体の前記積層板の積層方向の端部に、積層方向に沿う厚み寸法が前記積層板厚み寸法より大きく形成されるとともに前記冷却対象を固定する固定部が設けられたことを特徴とする。
この発明によれば、伝熱板および流路板を含む積層板が積層されて内部に流路が形成される積層体の端部に発熱体を備えた冷却対象部を固定する積層板よりも厚み寸法の大きい固定部が設けられている。このため、この固定部に例えばねじ止めなどにより容易に冷却対象部を固定することができる。また、固定部に冷却対象部を固定するため、冷却対象部の固定により積層体の接合強度が弱くなることがなく、積層板の剥離などをも防止できる。
本発明では、前記固定部は、前記積層板の一端面に設けられるとともに前記積層体内部に形成される流路に流体を導入する導入パイプを有する流体導入部、および前記積層板の他端面に設けられるとともに前記積層体内部に形成される流路から流体を流出させる流出パイプを有する流体流出部をそれぞれ固定することが好ましい。
この発明によれば、固定部は、積層板の両端面にそれぞれ設けられる流体導入部および流体流出部をそれぞれ固定している。これにより、固定部は、これらの流体導入部および流体流出部を固定することで、流体導入部および流体流出部の間に配置される積層板の剥離を防止できる。したがって、積層板の接合強度を向上させることができる。
本発明では、前記固定部は、前記積層板の一端面に設けられるとともに前記積層体内部に形成される流路に流体を導入する導入パイプおよび前記流路から流体を流出させる流出パイプを有するパイプ接続板を固定することが好ましい。
この発明によれば、固定部は、積層板の一端面に設けられて、導入パイプおよび流出パイプが接続されるパイプ接続板を固定している。これにより、固定部は、パイプ接続板を確実に積層体の端面に固定することができる。また、パイプ接続板に導入パイプと流出パイプとの双方が接続されているため、1つのみのパイプ接続板で流体冷却装置への流体の導入および排出を実施でき、部品点数を減少させることができる。また、導パイプ接続板が積層体の一端面のみに接合すればよいので、接合作業も簡単になり、組み立て作業の効率化を図ることができる。
本発明では、前記固定部は、前記冷却対象部をねじ止めするねじ孔を備えることが好ましい。
この発明によれば、固定部にねじ孔が形成されているため、このねじ孔に冷却対象部をねじにより固定することができる。したがって、冷却対象部をより確実に流体冷却装置に固定することができる。また、冷却対象部をねじにより固定するため、冷却対象部の固定が容易に実施できる。
本発明に係る電子機器は、電子により駆動させるとともに、駆動により発熱する発熱体を備えた前記冷却対象部と、前記冷却対象部を冷却する上記のような流体冷却装置と、を備えることを特徴とする。
ここで、電子機器としては、例えば電子により発光するLEDもしくはLDなどを備えた照明光学系と、照明光学系から射出された光束を光変調する光変調素子と、光変調素子から射出された光束をスクリーンなどの投写対象に拡大投写する投写光学系と、照明光学系のLED(Light Emitting Diode:発光ダイオード)やLD(Laser Diode:半導体レーザ)を固定する上記のような流体冷却装置と、を備えたプロジェクタなどが例示できる。
この発明によれば、電子機器の冷却対象部を上記のような流体冷却装置の固定部に固定しているので、冷却対象部を確実に冷却することができ、冷却対象部の固定の容易に実施できる。また、固定部に冷却対象部を固定することで、流体冷却装置と冷却対象部とを簡単にユニット化することができ、冷却対象部および流体冷却装置のユニット化されたものを電子機器に取り付けるので、電子機器の組み立てが簡単になる。したがって、電子機器の組み立て性が良好になり、製造コストの低減を図ることができる。
本発明では、前記冷却対象部および前記流体冷却装置を収納する筐体を備え、前記固定部は、前記筐体に前記流体冷却装置自身を固定することが好ましい。
この発明によれば、固定部は、流体冷却装置自身を筐体の設置位置に固定する。このため、この固定部を筐体の設置位置に固定するだけで容易に流体冷却装置を電子機器に確実に固定することができる。
[第一の実施の形態]
以下、本発明における一実施の形態を図面に基づいて説明する。
[流体冷却装置の構成]
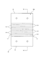
図1は、本発明に係る第一の実施の形態の流体冷却装置の概略を示す平面図である。図2は、図1のII-II線で断面した際の流体冷却装置の断面図である。図3は、図1において冷却対象部である半導体パッケージを取り外した状態における流体冷却装置の平面図である。図4は、図3において、パイプ接続板を取り外した状態における流体冷却装置の平面図である。図5は、図4のV-V線で断面した際の流体冷却装置の断面図である。図6は、図5のVI-VI線で断面した際の流体冷却装置の断面図である。図7は、流体冷却装置の分解斜視図である。
図1において、1は、流体冷却装置であり、この流体冷却装置1は、内部に冷却流体を流通させることで、冷却対象部である半導体パッケージ2の熱を冷却する装置である。この流体冷却装置1は図2ないし図6に示すように、伝熱板111および流路板112を有する積層板が積層された積層体10を備えている。そして、積層板の端辺にて形成される積層体10の端面10Aには、半導体パッケージ2が固定され、熱的に接続されている。
半導体パッケージ2は、取り付け基板21と半導体基板22とを備えている。
取り付け基板21は、流体冷却装置1に固定される基板であり、この取り付け基板21は、熱伝導率の良好な例えば銅、アルミ、銅やアルミの合金などにて形成されている。この取り付け基板21は、例えば略矩形状に形成され、矩形の4隅にそれぞれ取り付け孔211が形成されている。また、この取り付け基板21は、例えばシリコンゴムシートなどの熱伝導性が良好な図示しない熱伝導部材を介して流体冷却装置1に取り付けられている。
半導体基板22は、取り付け基板21の略中心位置に接合されている。このとき、半導体基板22は、例えばシリコンゴムシートなどの熱伝導性の良好な熱伝導部材を介して接合されていてもよい。この半導体基板22には、発熱体23が設けられている。この発熱体23としては、例えばLED(Light Emitting Diode:発光ダイオード)やLD(Laser Diode:半導体レーザ)などが挙げられる。また、半導体基板22の例えば両端部には、配線部24が設けられており、この配線部24は図示しない電力供給部に電気的に接続されている。これにより、半導体基板22は、電力供給部から電力が供給されて、発熱体23がこの電力により駆動して発熱する。
流体冷却装置1は、複数の伝熱板111および流路板112が交互に積層されて構成される冷却部11と、この冷却部11の伝熱板111および流路板112の積層方向の両端部に設けられる固定部12と、これらの冷却部11および固定部12の積層方向に沿って接合される流体導入部としての導入側パイプ接続板13および流体流出部としての排出側パイプ接続板14とを備えている。そして、冷却部11よび固定部12により前記した積層体10が構成されている。
冷却部11は、前記したように伝熱板111と流路板112とを備えており、これらの伝熱板111および流路板112を、例えば拡散接合やロウ付けなどにより積層方向に接合することで、形成されている。なお、図2ないし図6において、説明の都合上、伝熱板111および流路板112の数を少なくして表示しているが、実際にはさらに多くの伝熱板111および流路板112が配置されている。
伝熱板111は、厚み寸法が例えば10μmないし1mmに形成される薄板状の積層板である。この伝熱板111は、長手方向を有する略矩形状に形成され、この長手方向の両端側の短辺にはそれぞれ、略コ字状の流体導入孔111Aおよび流体排出孔111Bが切欠形成されている。
そして、これらの伝熱板111に形成された流体導入孔111A同士は、後述の流路板112に形成される流路部112Aにより互いに連結され、導入流路15Aを形成している。同様に、伝熱板111に形成された流体排出孔111B同士は、流路板112に形成される流路部112Aにより互いに連結されて排出流路15Bを形成している。
また、伝熱板111の流体導入孔111Aおよび流体排出孔111Bの間には、フィン111Cが形成されている。
流路板112は、伝熱板111と略同一厚み寸法、例えば10μmないし1mmに形成される薄板状の積層板である。この流路板112は、伝熱板111の長手方向と同一方向に長手となる略矩形状に形成され、伝熱板111の長手方向と平行する側辺に沿ってそれぞれ2つ設けられている。この流路板112の長手方向と直行する幅寸法は、伝熱板111の長手方向に平行する側端辺から、流体導入孔111Aおよび流体排出孔111Bの側縁までの寸法と略同一寸法に形成されている。そして、これらの2つの流路板112の間には所定幅寸法の空間が形成され、この空間が流路孔としての流路部112Aを構成する。この流路部112Aは、上記したように隣り合う伝熱板111の流体導入孔111A同士を連結し、導入流路15Aを形成する。また、流路部112Aは、上記したように、隣り合う伝熱板111の流体排出孔111B同士を連結して、排出流路15Bを形成する。さらに、流路部112Aは、隣り合う伝熱板111のフィン111Cの間に、導入流路15Aおよび排出流路15B間を連通する流路としてのマイクロチャネル部15Cを形成する。
固定部12は、積層方向に沿う厚み寸法が伝熱板111や流路板112よりも厚み寸法が大きい、例えば6mmないし7mmに形成され、積層面が伝熱板111と略同一矩形状に形成された中実材である。そして、固定部12は、伝熱板111および流路板112の積層方向に両端側に例えば拡散接合やロウ付けなどにより接合されている。また、この固定部12の素材としては、特に限定されないが、伝熱板111や流路板112と同一素材である、例えば銅、アルミなどにて形成されていれば、拡散接合に際に、伝熱板111や流路板112との接合強度をより良好にすることができる。
また、固定部12には、前記した積層体10の半導体パッケージ2が固定される端面10A側の側面に、ねじ孔12Aが形成されている。このねじ孔12Aは、積層方向に直行する幅方向に沿ってそれぞれ2つ設けられている。そして、固定部12に半導体パッケージ2の取り付け基板21を載置して、ねじを取り付け基板21の取り付け孔211からねじ孔12Aに螺合させることで、半導体パッケージ2が固定部12に固定される。また、固定部12は、積層板の積層方向に沿う端面に接合される後述する導入側パイプ接続板13および排出側パイプ接続板14をそれぞれ固定している。さらに、固定部12は、例えば電子機器を構成する筐体などに、この流体冷却装置1自身を固定する。すなわち、固定部12は、半導体パッケージ2が設けられる端面10Aと反対側面に、図示しないねじ孔が形成されており、このねじ孔にねじを螺合させることで、流体冷却装置1を筐体に固定している。
導入側パイプ接続板13および排出側パイプ接続板14は、前述した導入流路15Aおよび排出流路15Bが露出される積層体10の側端面にそれぞれ接合されている。これらの導入側パイプ接続板13および排出側パイプ接続板14は、積層体10の積層方向の両端部に設けられる固定部12間に亘って設けられ、これらの固定部12に固定されている。
そして、これらの導入側パイプ接続板13および排出側パイプ接続板14は、伝熱板111の流体導入孔111Aにより形成される導入流路15Aおよび排出流路15Bを閉塞し、冷却部11内に閉塞された流路を形成する。また、導入側パイプ接続板13は、導入流路15Aと外部とを連通する導入孔を備え、この導入孔にパイプ3が接続されている。同様に、排出側パイプ接続板14は、排出流路15Bと外部とを連通する排出孔を備え、この排出孔にパイプ3が接続されている。そして、これらのパイプ3はそれぞれ、図示しないポンプに接続されており、このポンプから冷却流体が冷却部11の内部に流通される。
[流体冷却装置の使用方法]
上記のような流体冷却装置1では、積層体10の端面10Aに半導体パッケージ2を載置し、半導体パッケージ2の取り付け基板21に設けられる取り付け孔211から固定部12のねじ孔12Aにねじを螺合させる。この固定部12は、比較的厚み寸法が大きい例えば6mmないし7mmに形成されているため、ねじ孔にねじを螺合させても破損することがなく、良好に半導体パッケージ2を取り付けることができる。そして、半導体パッケージ2の半導体基板22に設けられる配線部24を図示しない電力供給部に接続する。
そして、図示しないポンプにより、この半導体パッケージ2を固定した流体冷却装置1の冷却部11に冷却流体を流通させる。これにより、半導体パッケージ2の発熱体23から熱が伝達されるフィン111Cとマイクロチャネル部15Cを流れる冷却流体との間で熱交換され、フィン111Cの熱が冷却流体中に放熱される。これにより、半導体パッケージ2の発熱体23を良好に冷却することができる。
[流体冷却装置の製造方法]
次に、上記のような流体冷却装置1の製造方法について説明する。
上記のような流体冷却装置1を製造するためには、まず、例えば銅やアルミなどの熱伝導率の良好な基板を打ち抜き加工することで形成された伝熱板111および流路板112を交互に積層し、拡散接合により接合して冷却部11を形成する。この後、この冷却部11の両端部に固定部12を拡散接合により接合して固定し、積層体10を形成する。
そして、この積層体10の導入流路15Aおよび排出流路15Bが露出する側面に、それぞれ導入側パイプ接続板13、排出側パイプ接続板14を接合し、冷却部11の内部に形成される流路を閉塞する。この時、導入側パイプ接続板13および排出側パイプ接続板14の両端側を固定部12の端面に固定する。この固定には、例えば拡散接合、ロウ付け、ねじ止め、接着剤による接着固定など、各種固定方法を利用できる。このようにパイプ接続板13,14を固定部12に固定することで、パイプ接続板13,14を確実に積層体10に固定することができ、パイプ接続板13,14と積層体10との接合強度を良好にできる。また、このパイプ接続板13,14は、積層板を構成する伝熱板111および流路板112の両端面に接合されているので、このパイプ接続板13,14を固定部12に確実に固定することで、これらの伝熱板111および流路板112の接合強度を強めることができ、伝熱板111および流路板112の剥離などを防止することができる。
[第二の実施の形態]
次に本発明の第二の実施の形態について、図面に基づいて説明する。図8は、第二の実施の形態に係る流体冷却装置の冷却流体の流通方向に沿って断面した断面図である。図9は、第二の実施の形態の流体冷却装置の分解斜視図である。なお、上記第一の実施の形態と同様の構成については、同符号を付し、その説明を省略もしくは簡略する。
上記した第一の実施の形態では、導入流路15Aおよび排出流路15Bが露出される積層体10の両側端側に沿って導入側パイプ接続板13および排出側パイプ接続板14を接合する例を示したが、第二の実施の形態では、積層体10の一側端面にのみパイプ接続板18が接合される。
すなわち、図8および図9において、流体冷却装置1Aは、複数の伝熱板171、複数の流路板172、および流路仕切板173を備えた積層板が積層されて構成される冷却部17と、この冷却部17の各積層板の積層方向の両端部に設けられる固定部12と、これらの冷却部11および固定部12の積層方向に沿う一側端面に接合されるパイプ接続板18とを備えている。そして、これらの冷却部17および固定部12により積層体10が構成されている。
冷却部17は、第一の実施の形態の冷却部11略同様に、伝熱板171、流路板172、および流路仕切板173を、例えば拡散接合やロウ付けなどにより積層方向に接合して形成されている。なお、図8および図9において、説明の都合上、伝熱板171および流路板172の数を少なくして表示しているが、実際にはさらに多くの伝熱板171および流路板172が配置されている。
伝熱板171は、第一の実施の形態の伝熱板111と略同様に、厚み寸法が例えば10μmないし1mmに形成される薄板状の積層板である。この伝熱板171は、長手方向を有する略矩形状に形成され、この長手方向の一端側の短辺には、略コ字状の流体流通孔171Aが切欠形成されている。一方、長手方向の流体流通孔171Aが形成される一端側とは反対側となる他端側には、略矩形状の連結孔171Bが例えば打ち抜き加工などにより形成されている。
そして、これらの伝熱板171に形成された流体流通孔171A同士は、後述の流路板172に形成される流路孔172Aにより互いに連結され、導入流路15Aおよび排出流路15Bを形成している。また、伝熱板171に形成された連結孔171B同士は、流路板172に形成される流路部172Aにより互いにに連結されてターン流路15Dを形成している。
また、伝熱板171の流体流通孔171Aおよび連結孔171Bの間には、フィン171Cが形成されている。
流路板172は、上記伝熱板171と略同一厚み寸法、例えば10μmないし1mmに形成される薄板矩形状の積層板である。この流路板172には、流体流通孔171Aに対向する流路板172の長手方向の一端側の短辺から、連結孔172Bに対向する位置に亘って流路孔172Aが形成されている。そして、この流路孔172Aは、上記したように、隣り合う伝熱板171の流体流通孔171A同士を連結し、導入流路15Aおよび排出流路15Bを形成し、連結孔171B同士を連結して、ターン流路15Dを形成する。さらに、流路孔172Aは、隣り合う伝熱板171のフィン171Cの間に、導入流路15Aおよびターン流路15D、ターン流路15Dおよび排出流路15B間を連通するマイクロチャネル部15Cを形成する。
流路仕切板173は、冷却部17の略中心位置に設けられ、導入流路15Aと排出流路15Bとを分離する。この流路仕切板173は、伝熱板17と同様の素材にて、略同一矩形状に形成されている。そして、流路仕切板173の、伝熱板171の連結孔171Bに対向する位置には、この連結孔171Bと略同一形状の連結孔173Aが形成されている。この連結孔173Aは、上記連結孔171Bと同様に、流路孔172Aにより連結され、ターン流路15Dを形成する。
固定部12は、第一の実施の形態と同様の構成であり、伝熱板171および流路板172の積層方向に両端側に例えば拡散接合やロウ付けなどにより接合されている。また、固定部12には、積層体10の半導体パッケージ2が固定される端面10A側の側面に、ねじ孔12Aが形成されており、このねじ孔にねじを螺合させることで半導体パッケージ2を固定する。また、固定部12は、積層板の積層方向に沿う一端面に後述するパイプ接続板18を固定している。さらに、固定部12は、例えば電子機器を構成する筐体などに、この流体冷却装置1A自身を固定する。
パイプ接続板18は、前述した導入流路15Aおよび排出流路15Bが露出される積層体10の一側端面に接合されている。このパイプ接続板18は、積層体10の積層方向の両端部に設けられる固定部12間に亘って設けられ、これらの固定部12に固定されている。
そして、このパイプ接続板18は、伝熱板171の流体流通孔171Aにより形成される導入流路15Aおよび排出流路15Bを閉塞し、冷却部11内に閉塞された流路を形成する。また、パイプ接続板13は、流路仕切板173を挟んで導入流路15Aおよび排出流路15Bのそれぞれに対応する位置に、外部と冷却部17の内部とを連通する導入孔を備え、これらの導入孔にそれぞれ導入パイプ3Aおよび排出パイプ3Bが接続されている。そして、これらのパイプ3はそれぞれ、図示しないポンプに接続されており、このポンプから冷却流体が冷却部17の内部に流通される。
このような流体冷却装置1Aでは、導入ポンプ3Aから冷却流体が冷却部17内に導入されると、冷却流体は導入流路15Aからマイクロチャネル部15Cを通ってターン流路15Dに流通する。この後、ターン流路15Dから再びマイクロチャネル部15Cを通って排出流路15Bに流通され、排出流路15Bから排出パイプ3Bを通って冷却流体が排出される。そして、この流体冷却装置1Aでは、冷却流体が導入流路15Aからターン流路15Dに向かってマイクロチャネル部15Cを流通する際、およびターン流路15Dから排出流路15Bに向かってマイクロチャネル部15Cを流通する際に、半導体パッケージ2の熱を冷却する。
上記のような流体冷却装置1Aでも、前記した第一の実施の形態と同様に、固定部12のねじ孔12Aにねじ止めなどにより、良好に半導体パッケージ2を取り付けることができる。また、パイプ接続部18が積層体10の積層体の積層方向に沿う一側面にのみ接合されている。このため、導入側パイプ接続板および排出側パイプ接続板を積層体10の両端面に接合する場合に比べて、部品点数を減少させることができ、接合作業も容易に実施できる。
[第三の実施の形態]
次に本発明の第三の実施の形態について、図面に基づいて説明する。図10は、第三の実施の形態に係るプロジェクタの光学系の概略構成を示す図である。
第三の実施の形態は、上記第一および第二の実施の形態にて示した流体冷却装置1,1Aを備えた電子機器としてのプロジェクタについて説明する。
この第三の実施の形態に係るプロジェクタ5は、図10に示すように、R(赤色)、G(緑色)、B(青色)の各色をそれぞれ発光する駆動発熱部としてのLED(Light Emitting Diode:発光ダイオード)51と、LED51からの射出された光束を光変調する液晶パネル52と、液晶パネル52にて光変調された光束を色合成するクロスダイクロイックプリズム53と、色合成された光束をスクリーン8に向かって投写する投写光学系54と、LED51に設けられてLED51の熱を冷却する冷却機構7とを備えている。
LED51は、色毎に設けられ、すなわち、赤色LED51R、緑色LED51G、および青色LED51Bが設けられている。これらのLED51は、光束の発光量に応じた熱量を発熱する発熱体である。そして、LED51の発熱効率の低下を防止し、射出される光束の色を安定させるためには、この発熱された熱を吸熱、放熱などにより冷却することが必要となる。そして、このLED51は、それぞれ半導体基板22に固定されており、半導体基板22に設けられる配線部24を介して図示しない制御回路部に電気的に接続されている。また、LED51が設けられた半導体基板22の裏面は、取り付け基板21が取り付けられ、これらのLED51、半導体基板22、取り付け基板21により半導体パッケージ2が構成されている。
液晶パネル52は、赤色用液晶パネル52R、緑色用液晶パネル52G、および青色用液晶パネル52Bを備え、これらの各色液晶パネル52は、それぞれ各色のLED51に対向して配置されている。これらの液晶パネル52は、図示しない制御回路部に電気的に接続されている。そして、この制御回路部から画像信号に基づいた所定の駆動信号が入力されることにより駆動され、LED51から入射した光束を画素毎に光変調する。
クロスダイクロイックプリズム53は、各液晶パネル52から射出された光束を色合成し、画像を形成し、投写光学系54に投射する。そして、投写光学系54は、クロスダイクロイックプリズム53からの画像を拡大投写させてスクリーン8に表示させる。
冷却機構7は、LED51を有する半導体パッケージ2の取り付け基板21が固定部12に固定された第一の実施の形態にて説明した流体冷却装置1と、流体冷却装置1に冷却流体を流通させるポンプ71と、冷却流体の熱を放熱するラジエータ72と、これらの流体冷却装置1、ポンプ71、およびラジエータ72を連結するチューブ73とを備えている。このような冷却機構7では、流体冷却装置1の固定部12がプロジェクタ5の光学系を収納する図示しない光学筐体に例えばねじ止めなどにより固定されている。なお、ここでは、第一の実施の形態の流体冷却装置1を用いる例を示すが、上記第二の実施の形態の流体冷却装置1Aを用いた構成としてもよい。
このような冷却機構7では、ポンプ71により冷却流体を流体冷却装置1、ラジエータ72、およびチューブ73の内部を流通させる。このような構成では、流体冷却装置1にてLED51の熱を冷却流体内に放熱させ、この冷却流体の熱をラジエータ72にて冷却し、再び流体冷却装置1に流通させるので、効率よく流体冷却装置1にてLEDの熱を冷却することができる。
そして、上記のような構成では、流体冷却装置1にLED51を備えた半導体パッケージ2を固定し、ユニット化している。このため、流体冷却装置1を半導体パッケージ2の設置が容易となり、プロジェクタ5の組み立て効率が良好にできる。また、流体冷却装置1を光学筐体に固定する際に、固定部12を例えばねじ止めなどにより固定すればよいので、容易にプロジェクタ5を組み立てることができる。また、固定部12により流体冷却装置1および半導体パッケージ2を確実に光学筐体に固定することができるので、LED51から射出される光束の射出方向のずれを防止でき、プロジェクタ5の性能を良好にすることができる。さらに、固定部12は上記第一の実施の形態で説明したように、比較的厚み寸法が大きい中実材にて形成されているため、例えばねじ止めなどしても破損することなく、冷却部11を形成する各積層板の剥離などをも防止できる。
[実施の形態の変形例]
なお、本発明は前述の実施形態に限定されるものではなく、本発明の目的を達成できる範囲での変形、改良等は本発明に含まれるものである。
例えば、上記第三の実施の形態において、流体冷却装置1にプロジェクタ5のLED51を有する半導体パッケージ2を取り付ける構成を示したが、これに限定されず、例えばLD(Laser Diode:半導体レーザ)を備えたプロジェクタにおいて、LDを有する半導体パッケージを流体冷却装置1の固定部12に固定する構成としてもよい。また、電子機器としてプロジェクタに限らず、例えばパーソナルコンピュータなどの他の電子機器に本発明の流体冷却装置1を取り付ける構成としてもよく、この場合、例えばCPU(Central Processing Unit)などに取り付ける構成とすれば、CPUを良好に冷却することができる。
また、上記第一および第二の実施の形態において、伝熱板111,171と流路板112,172とを積層した冷却部11,17の積層方向の両端部に固定部12を接合して積層体10を形成し、この積層体10の積層方向に沿う両端端面にパイプ接続板13,14,18を接合した例を示したが、これに限らない。例えばパイプ接続板13,14を、積層板の積層方向の両端部に接合し、固定部12を積層方向に沿う積層体の両端面に構成としてもよい。この場合、例えば図11および図12に示すように、伝熱板111および流路板112にて構成される冷却部11の積層方向の両端側にそれぞれ、流路規制板16を積層する。これらの流路規制板16のうち、冷却部11の一方端に設けられる流路規制板16には、導入流路15Aに対応する短辺に略コ字状の孔部が切欠形成され、冷却部の他方端に設けられる流路規制板16には、排出流路15Bに対応する短辺に略コ字状の孔部が切欠形成されている。そして、これらの流路規制板16の外方に、導入流路15Aに対応した位置にパイプ3が接続される導入側パイプ接続板13と、排出流路15Bに対応した位置にパイプ3が接続される排出側パイプ接続板14とを積層する。
そして、これらの積層板を積層した積層体10Bの積層方向に沿う両側面に固定部12をそれぞれ接合し、この固定部12の端面で積層体10B内部の流路を閉塞し、導入流路15A,排出流路15B、およびマイクロチャネル部15Cを形成する。そして、この固定部12は、上記実施の形態と同様に、ねじ孔12Aが形成されており、このねじ孔12Aに半導体パッケージ2をねじ止めにより固定する。このような構成の流体冷却装置1Aでも上記実施の形態と同様に、確実に半導体パッケージ2を固定部12に確実に固定することができ、半導体パッケージ2を流体冷却装置1Aで良好に冷却することができる。
本発明を実施するための最良の構成などは、以上の記載で開示されているが、本発明は、これに限定されるものではない。すなわち、本発明は、主に特定の実施形態に関して特に図示され、かつ、説明されているが、本発明の技術的思想および目的の範囲から逸脱することなく、以上述べた実施形態に対し、形状、材質、数量、その他の詳細な構成において、当業者が様々な変形を加えることができるものである。
したがって、上記に開示した形状、材質などを限定した記載は、本発明の理解を容易にするために例示的に記載したものであり、本発明を限定するものではないから、それらの形状、材質などの限定の一部若しくは全部の限定を外した部材の名称での記載は、本発明に含まれるものである。
本発明は、発熱体の熱を冷却する流体冷却装置、およびこの流体冷却装置を備えた電子機器に利用できる。
本発明に係る第一の実施の形態の流体冷却装置の概略を示す平面図。 図1のII-II線で断面した際の流体冷却装置の断面図。 図1において冷却対象部である半導体パッケージを取り外した状態における流体冷却装置の平面図。 図3において、パイプ接続板を取り外した状態における流体冷却装置の平面図。 図4のV-V線で断面した際の流体冷却装置の断面図。 図5のVI-VI線で断面した際の流体冷却装置の断面図。 第一の実施の形態の流体冷却装置の分解斜視図。 第二の実施の形態の流体冷却装置の冷却流体の流通方向に沿って断面した断面図。 第二の実施の形態の流体冷却装置の分解斜視図。 第三の実施の形態に係るプロジェクタの光学系の概略構成を示す図。 他の実施の形態における流体冷却装置の概略構成を模式的に示す斜視図。 図9における流体冷却装置の分解斜視図。
符号の説明
1,1A…流体冷却装置、2…冷却対象部としての半導体パッケージ、3…パイプ、5…電子機器としてのプロジェクタ、10…積層体、12…固定部、12A…ねじ孔、13…流体導入部としての導入側パイプ接続板、14…流体流出部としての排出側パイプ接続板、18…パイプ接続板、22…発熱体、51…発熱体としてのLED、111…伝熱板、111C…フィン、112…流路板、112A…流路孔としての流路部、171…伝熱板、171C…フィン、172…流路板、172A…流路孔。

Claims (6)

  1. 発熱体を有する冷却対象部からの熱が伝達されるフィンを備えた伝熱板、および前記フィン間に配置されて流体を流通する流路を形成する流路板を含む積層板を複数積層した積層体を備えた流体冷却装置であって、
    前記積層体の前記積層板の積層方向の端部に、積層方向に沿う厚み寸法が前記積層板厚み寸法より大きく形成されるとともに前記冷却対象を固定する固定部が設けられた
    ことを特徴とする流体冷却装置。
  2. 請求項1に記載の流体冷却装置において、
    前記固定部は、前記積層板の端面に設けられるとともに前記積層体内部に形成される流路に流体を導入する導入パイプを有する流体導入部、および前記積層板の端面に設けられるとともに前記積層体内部に形成される流路から流体を流出させる流出パイプを有する流体流出部をそれぞれ固定する
    ことを特徴とする流体冷却装置。
  3. 請求項1に記載の流体冷却装置において、
    前記固定部は、前記積層板の一端面に設けられるとともに前記積層体内部に形成される流路に流体を導入する導入パイプおよび前記流路から流体を流出させる流出パイプを有するパイプ接続板を固定する
    ことを特徴とする流体冷却装置。
  4. 請求項1ないし請求項3のいずれかに記載の流体冷却装置において、
    前記固定部は、前記冷却対象部をねじ止めするねじ孔を備えた
    ことを特徴とする流体冷却装置。
  5. 電子により駆動させるとともに、駆動により発熱する発熱体を備えた前記冷却対象部と、
    前記冷却対象部を冷却する請求項1ないし請求項4のいずれかに記載の流体冷却装置と、
    を備えたことを特徴とする電子機器。
  6. 請求項5に記載の電子機器において、
    前記冷却対象部および前記流体冷却装置を収納する筐体を備え、
    前記固定部は、前記筐体に前記流体冷却装置自身を固定する
    ことを特徴とする電子機器。
JP2006044347A 2006-02-21 2006-02-21 流体冷却装置、および電子機器 Active JP4645472B2 (ja)

Priority Applications (1)

Application Number Priority Date Filing Date Title
JP2006044347A JP4645472B2 (ja) 2006-02-21 2006-02-21 流体冷却装置、および電子機器

Applications Claiming Priority (1)

Application Number Priority Date Filing Date Title
JP2006044347A JP4645472B2 (ja) 2006-02-21 2006-02-21 流体冷却装置、および電子機器

Publications (2)

Publication Number Publication Date
JP2007227476A JP2007227476A (ja) 2007-09-06
JP4645472B2 true JP4645472B2 (ja) 2011-03-09

Family

ID=38549027

Family Applications (1)

Application Number Title Priority Date Filing Date
JP2006044347A Active JP4645472B2 (ja) 2006-02-21 2006-02-21 流体冷却装置、および電子機器

Country Status (1)

Country Link
JP (1) JP4645472B2 (ja)

Families Citing this family (3)

* Cited by examiner, † Cited by third party
Publication number Priority date Publication date Assignee Title
JP6238800B2 (ja) * 2014-03-17 2017-11-29 株式会社フジクラ 冷却構造
US9664371B2 (en) * 2015-01-15 2017-05-30 Heraeus Noblelight America Llc Lamp head assemblies and methods of assembling the same
WO2024127957A1 (ja) * 2022-12-16 2024-06-20 日本発條株式会社 放熱構造体、及び放熱構造体の製造方法

Family Cites Families (7)

* Cited by examiner, † Cited by third party
Publication number Priority date Publication date Assignee Title
JP3141639B2 (ja) * 1993-08-24 2001-03-05 株式会社デンソー 冷却装置
JP4306120B2 (ja) * 2000-11-24 2009-07-29 株式会社デンソー 積層冷却器
TW511885U (en) * 2002-01-30 2002-11-21 Hon Hai Prec Ind Co Ltd Assembly of heat dissipation apparatus
JP2004153218A (ja) * 2002-11-01 2004-05-27 Matsushita Electric Ind Co Ltd 放熱器
JP2004282001A (ja) * 2003-02-28 2004-10-07 Denso Corp 沸騰冷却装置
JP2005166855A (ja) * 2003-12-02 2005-06-23 Hitachi Ltd 電子機器
JP4586396B2 (ja) * 2004-04-07 2010-11-24 セイコーエプソン株式会社 光源装置及びこれを用いたプロジェクタ

Also Published As

Publication number Publication date
JP2007227476A (ja) 2007-09-06

Similar Documents

Publication Publication Date Title
US8096348B2 (en) Heat exchanger, method of manufacturing heat exchanger, liquid cooling system, light source device, projector, electronic device unit, and electronic equipment
JP4449894B2 (ja) 熱交換器、光源装置、プロジェクタおよび電子機器
JP4967988B2 (ja) 半導体冷却装置
US7334898B2 (en) Projector
US20070165425A1 (en) Light source device and liquid display device
US20060157230A1 (en) Cooling device
EP2101360A1 (en) Light emitting device, display device and solid-state light emitting element substrate
JP4151546B2 (ja) プロジェクタ
JP2007165481A (ja) 熱交換器、光源装置、プロジェクタ、電子機器
JP4645472B2 (ja) 流体冷却装置、および電子機器
JP2007103748A (ja) 熱交換器、液冷システム、光源装置、プロジェクタ、電子デバイスユニット、電子機器
JP2007205694A (ja) 流体冷却装置、および電子機器
CN101071652A (zh) 热交换器、光源装置和投影机
JP4552845B2 (ja) 熱交換器、光源装置、プロジェクタ、電子機器
CN1946278A (zh) 热交换器、其制造方法、液冷系统、光源装置、投影机、电子器件单元及电子设备
JP4682775B2 (ja) マイクロチャンネル構造体、熱交換システム及び電子機器
US20230291875A1 (en) Display device
JP2007103702A (ja) 熱交換器、熱交換器の製造方法、液冷システム、光源装置、プロジェクタ、電子デバイスユニット、電子機器
CN116339054B (zh) 光源组件以及投影设备
JP2010258022A (ja) 冷却装置及びスペース部材
CN115039521B (zh) 冷却子组件
CN115145067B (zh) 光调制装置和投影仪
JP2007220834A (ja) 流体冷却装置、電子機器、および流体冷却装置の製造方法
JP6725118B2 (ja) 光源装置および投写型表示装置、半導体発光素子の冷却方法
US20250004356A1 (en) Display device

Legal Events

Date Code Title Description
RD02 Notification of acceptance of power of attorney

Free format text: JAPANESE INTERMEDIATE CODE: A7422

Effective date: 20070704

RD02 Notification of acceptance of power of attorney

Free format text: JAPANESE INTERMEDIATE CODE: A7422

Effective date: 20070813

A621 Written request for application examination

Free format text: JAPANESE INTERMEDIATE CODE: A621

Effective date: 20090123

A977 Report on retrieval

Free format text: JAPANESE INTERMEDIATE CODE: A971007

Effective date: 20100520

A131 Notification of reasons for refusal

Free format text: JAPANESE INTERMEDIATE CODE: A131

Effective date: 20100525

A521 Request for written amendment filed

Free format text: JAPANESE INTERMEDIATE CODE: A523

Effective date: 20100723

TRDD Decision of grant or rejection written
A01 Written decision to grant a patent or to grant a registration (utility model)

Free format text: JAPANESE INTERMEDIATE CODE: A01

Effective date: 20101109

A01 Written decision to grant a patent or to grant a registration (utility model)

Free format text: JAPANESE INTERMEDIATE CODE: A01

A61 First payment of annual fees (during grant procedure)

Free format text: JAPANESE INTERMEDIATE CODE: A61

Effective date: 20101122

FPAY Renewal fee payment (event date is renewal date of database)

Free format text: PAYMENT UNTIL: 20131217

Year of fee payment: 3

R150 Certificate of patent or registration of utility model

Ref document number: 4645472

Country of ref document: JP

Free format text: JAPANESE INTERMEDIATE CODE: R150

S531 Written request for registration of change of domicile

Free format text: JAPANESE INTERMEDIATE CODE: R313531

R350 Written notification of registration of transfer

Free format text: JAPANESE INTERMEDIATE CODE: R350