JP4644397B2 - 難溶性薬物を含む医薬用固形製剤の製造方法 - Google Patents
難溶性薬物を含む医薬用固形製剤の製造方法 Download PDFInfo
- Publication number
- JP4644397B2 JP4644397B2 JP2001268341A JP2001268341A JP4644397B2 JP 4644397 B2 JP4644397 B2 JP 4644397B2 JP 2001268341 A JP2001268341 A JP 2001268341A JP 2001268341 A JP2001268341 A JP 2001268341A JP 4644397 B2 JP4644397 B2 JP 4644397B2
- Authority
- JP
- Japan
- Prior art keywords
- drug
- water
- solution
- poorly soluble
- soluble polymer
- Prior art date
- Legal status (The legal status is an assumption and is not a legal conclusion. Google has not performed a legal analysis and makes no representation as to the accuracy of the status listed.)
- Expired - Fee Related
Links
Images
Classifications
-
- A—HUMAN NECESSITIES
- A61—MEDICAL OR VETERINARY SCIENCE; HYGIENE
- A61K—PREPARATIONS FOR MEDICAL, DENTAL OR TOILETRY PURPOSES
- A61K9/00—Medicinal preparations characterised by special physical form
- A61K9/14—Particulate form, e.g. powders, Processes for size reducing of pure drugs or the resulting products, Pure drug nanoparticles
- A61K9/16—Agglomerates; Granulates; Microbeadlets ; Microspheres; Pellets; Solid products obtained by spray drying, spray freeze drying, spray congealing,(multiple) emulsion solvent evaporation or extraction
- A61K9/1605—Excipients; Inactive ingredients
- A61K9/1629—Organic macromolecular compounds
- A61K9/1652—Polysaccharides, e.g. alginate, cellulose derivatives; Cyclodextrin
-
- A—HUMAN NECESSITIES
- A61—MEDICAL OR VETERINARY SCIENCE; HYGIENE
- A61K—PREPARATIONS FOR MEDICAL, DENTAL OR TOILETRY PURPOSES
- A61K9/00—Medicinal preparations characterised by special physical form
- A61K9/14—Particulate form, e.g. powders, Processes for size reducing of pure drugs or the resulting products, Pure drug nanoparticles
- A61K9/141—Intimate drug-carrier mixtures characterised by the carrier, e.g. ordered mixtures, adsorbates, solid solutions, eutectica, co-dried, co-solubilised, co-kneaded, co-milled, co-ground products, co-precipitates, co-evaporates, co-extrudates, co-melts; Drug nanoparticles with adsorbed surface modifiers
- A61K9/143—Intimate drug-carrier mixtures characterised by the carrier, e.g. ordered mixtures, adsorbates, solid solutions, eutectica, co-dried, co-solubilised, co-kneaded, co-milled, co-ground products, co-precipitates, co-evaporates, co-extrudates, co-melts; Drug nanoparticles with adsorbed surface modifiers with inorganic compounds
-
- A—HUMAN NECESSITIES
- A61—MEDICAL OR VETERINARY SCIENCE; HYGIENE
- A61K—PREPARATIONS FOR MEDICAL, DENTAL OR TOILETRY PURPOSES
- A61K9/00—Medicinal preparations characterised by special physical form
- A61K9/14—Particulate form, e.g. powders, Processes for size reducing of pure drugs or the resulting products, Pure drug nanoparticles
- A61K9/141—Intimate drug-carrier mixtures characterised by the carrier, e.g. ordered mixtures, adsorbates, solid solutions, eutectica, co-dried, co-solubilised, co-kneaded, co-milled, co-ground products, co-precipitates, co-evaporates, co-extrudates, co-melts; Drug nanoparticles with adsorbed surface modifiers
- A61K9/145—Intimate drug-carrier mixtures characterised by the carrier, e.g. ordered mixtures, adsorbates, solid solutions, eutectica, co-dried, co-solubilised, co-kneaded, co-milled, co-ground products, co-precipitates, co-evaporates, co-extrudates, co-melts; Drug nanoparticles with adsorbed surface modifiers with organic compounds
-
- A—HUMAN NECESSITIES
- A61—MEDICAL OR VETERINARY SCIENCE; HYGIENE
- A61K—PREPARATIONS FOR MEDICAL, DENTAL OR TOILETRY PURPOSES
- A61K9/00—Medicinal preparations characterised by special physical form
- A61K9/14—Particulate form, e.g. powders, Processes for size reducing of pure drugs or the resulting products, Pure drug nanoparticles
- A61K9/141—Intimate drug-carrier mixtures characterised by the carrier, e.g. ordered mixtures, adsorbates, solid solutions, eutectica, co-dried, co-solubilised, co-kneaded, co-milled, co-ground products, co-precipitates, co-evaporates, co-extrudates, co-melts; Drug nanoparticles with adsorbed surface modifiers
- A61K9/146—Intimate drug-carrier mixtures characterised by the carrier, e.g. ordered mixtures, adsorbates, solid solutions, eutectica, co-dried, co-solubilised, co-kneaded, co-milled, co-ground products, co-precipitates, co-evaporates, co-extrudates, co-melts; Drug nanoparticles with adsorbed surface modifiers with organic macromolecular compounds
-
- A—HUMAN NECESSITIES
- A61—MEDICAL OR VETERINARY SCIENCE; HYGIENE
- A61K—PREPARATIONS FOR MEDICAL, DENTAL OR TOILETRY PURPOSES
- A61K9/00—Medicinal preparations characterised by special physical form
- A61K9/14—Particulate form, e.g. powders, Processes for size reducing of pure drugs or the resulting products, Pure drug nanoparticles
- A61K9/16—Agglomerates; Granulates; Microbeadlets ; Microspheres; Pellets; Solid products obtained by spray drying, spray freeze drying, spray congealing,(multiple) emulsion solvent evaporation or extraction
- A61K9/1605—Excipients; Inactive ingredients
- A61K9/1617—Organic compounds, e.g. phospholipids, fats
-
- A—HUMAN NECESSITIES
- A61—MEDICAL OR VETERINARY SCIENCE; HYGIENE
- A61K—PREPARATIONS FOR MEDICAL, DENTAL OR TOILETRY PURPOSES
- A61K9/00—Medicinal preparations characterised by special physical form
- A61K9/14—Particulate form, e.g. powders, Processes for size reducing of pure drugs or the resulting products, Pure drug nanoparticles
- A61K9/16—Agglomerates; Granulates; Microbeadlets ; Microspheres; Pellets; Solid products obtained by spray drying, spray freeze drying, spray congealing,(multiple) emulsion solvent evaporation or extraction
- A61K9/1605—Excipients; Inactive ingredients
- A61K9/1617—Organic compounds, e.g. phospholipids, fats
- A61K9/1623—Sugars or sugar alcohols, e.g. lactose; Derivatives thereof; Homeopathic globules
-
- A—HUMAN NECESSITIES
- A61—MEDICAL OR VETERINARY SCIENCE; HYGIENE
- A61K—PREPARATIONS FOR MEDICAL, DENTAL OR TOILETRY PURPOSES
- A61K9/00—Medicinal preparations characterised by special physical form
- A61K9/14—Particulate form, e.g. powders, Processes for size reducing of pure drugs or the resulting products, Pure drug nanoparticles
- A61K9/16—Agglomerates; Granulates; Microbeadlets ; Microspheres; Pellets; Solid products obtained by spray drying, spray freeze drying, spray congealing,(multiple) emulsion solvent evaporation or extraction
- A61K9/167—Agglomerates; Granulates; Microbeadlets ; Microspheres; Pellets; Solid products obtained by spray drying, spray freeze drying, spray congealing,(multiple) emulsion solvent evaporation or extraction with an outer layer or coating comprising drug; with chemically bound drugs or non-active substances on their surface
- A61K9/1676—Agglomerates; Granulates; Microbeadlets ; Microspheres; Pellets; Solid products obtained by spray drying, spray freeze drying, spray congealing,(multiple) emulsion solvent evaporation or extraction with an outer layer or coating comprising drug; with chemically bound drugs or non-active substances on their surface having a drug-free core with discrete complete coating layer containing drug
Landscapes
- Health & Medical Sciences (AREA)
- Bioinformatics & Cheminformatics (AREA)
- Engineering & Computer Science (AREA)
- Life Sciences & Earth Sciences (AREA)
- Chemical & Material Sciences (AREA)
- Animal Behavior & Ethology (AREA)
- Epidemiology (AREA)
- Pharmacology & Pharmacy (AREA)
- Medicinal Chemistry (AREA)
- General Health & Medical Sciences (AREA)
- Public Health (AREA)
- Veterinary Medicine (AREA)
- Biophysics (AREA)
- Molecular Biology (AREA)
- Inorganic Chemistry (AREA)
- Medicinal Preparation (AREA)
- Pharmaceuticals Containing Other Organic And Inorganic Compounds (AREA)
- Medical Preparation Storing Or Oral Administration Devices (AREA)
Description
【発明の属する技術分野】
本発明は、溶出性の改善を目的とした難溶性薬物を含む医薬用固形製剤及びその製法に関し、更に詳しくは水溶性高分子の水溶液及び/又は水分散液と、難溶性薬物を溶解した可塑剤溶液とを、ノズル口から同時に別々に搬送し吐出噴霧処理することにより得られる医薬用固形製剤又はその製法に関する。
【0002】
【従来の技術】
医薬用固形製剤の設計において、生物学的利用能(Bioavailability)を充分に高く設計することが、有効性、安全性の面から重要視されている。医薬品の生物学的利用能に影響を与える重要な因子の一つとして、薬物の溶解性が挙げられ、これまでにも溶解性と消化管吸収の関係に関する多くの研究が行われている。特に難溶性薬物では、その溶解速度が吸収の律速段階となることが知られている。難溶性薬物における溶解改善の製剤技術手法としては、種々の方法が検討されているが、中でも有望視されているものに固体分散体法がある。この方法は、薬物を単分子状で薬物に不活性な担体中に固体状態で分散させる方法として定義されている。その製造方法にも幾種類かの方法が提案されているが、特に実際的な方法として溶媒法や混合粉砕法が挙げられる。
【0003】
溶媒法は、薬物と担体である水溶性高分子を有機溶剤等の溶媒中に溶解した後に、溶媒を留去するか又は薬物を溶媒に溶解し、担体中に分散させた後に溶媒を留去して固体分散体を製造する方法である。難溶性薬物を溶媒中で溶解することにより、薬物が非晶化し、この状態で担体中へ分散するので溶解性及び生物学的利用能を改善できると考えられる。
【0004】
溶媒法の具体例としては、特公平3−1288号公報、特公平3−28404号公報に、乳糖等をヒドロキシプロピルセルロースのような水溶性高分子で造粒した細粒上に、難溶性薬物であるニフェジピンとポリビニルピロリドン、ヒドロキシプロピルメチルセルロース、メチルセルロース等の高分子基剤とを有機溶剤で溶解した液を噴霧、乾燥して固体分散体を得ることが報告されている。また、特開2000−281561号公報には、シクロヘプタジン類等の難溶性薬物とポリビニルピロリドン、ヒドロキシプロピルメチルセルロース、ヒドロキシプロピルセルロース等の水溶性高分子等を水/アルコールの系に溶解した後、乳糖に噴霧造粒することにより固体分散体を調製している。
【0005】
【発明が解決しようとする課題】
従来の固体分散体を製造する方法のうち、溶媒法で得られる固体分散体は難溶性薬物の溶解性及び生物学的利用能の点では優れたものであるが、この溶媒法ではジクロロメタン、アセトンやアルコール等の有機溶剤を使用することが多いために、生成物への有機溶剤の残留性や環境汚染の問題、作業上の安全性の問題又はこれらの事柄を回避するために必要とされる設備投資等産業上の問題が生じていた。
【0006】
【課題を解決するための手段】
本発明の発明者らは、上記の課題を解決する目的で鋭意検討した結果、従来の溶媒法において多く用いられる有機溶剤を使用することなしに医薬用固形製剤を調製する方法を見出した。すなわち、医薬用固形製剤において水溶性高分子の水溶液及び/又は水分散液と、難溶性薬物を溶解した可塑剤溶液とをノズル口から同時に別々に搬送し吐出噴霧し製剤化すると、薬物の溶出改善性の優れた医薬用固形製剤となることを見出した。製剤化には、噴霧造粒や製剤のコーティング処理を含み、例えば、造粒又はコーテイング処理により得られた造粒物又は被膜粒子が薬物の溶出改善性の優れた医薬用固形製剤となる。本発明によれば、従来のように有機溶剤を使用することなく、且つ既存の設備や技術を用いて医薬用固形製剤を調製することができ、また、得られた医薬用固形製剤は、従来の溶媒法と同様に優れた溶出性の改善効果が得られることが確認された。
【0007】
【実施の形態】
本発明に用いる難溶性薬物は、水に対する溶解度が非常に低く、通常経口投与では吸収性の悪い薬物であって、例えば、日本薬局方に定められている「ほとんど溶けない」又は「極めて溶けにくい」とされる薬物をいう。日本薬局方における薬物の溶解性とは、薬物が固形の場合は粉末とした後、溶媒中に入れ、20±5℃で5分毎に30秒間振り混ぜるとき、30分以内に溶ける度合いをいい、「ほとんど溶けない」とは、薬物1g又は1mlを溶かすのに要する溶媒量(ここでは水)が10,000ml以上、「極めて溶けにくい」とは、薬物1g又は1mlを溶かすのに要する溶媒量が1,000ml以上10,000ml未満の性状をいう。具体的には、例えば、ニフェジピン、フェナセチン、フェニトイン、ジキトキシン、ニルパジピン、ジアゼパム、グリセオフルビン、クロラムフェニコール等が挙げられる。
【0008】
本発明に用いる可塑剤としては、プロピレングリコール、ポリエチレングリコール、クエン酸トリエチル、アセチルモノグリセリド、グリセリン、クエン酸トリブチル、トリアセチン、ジアセチン、モノアセチン、ジエチルフタレート等が挙げられ、単独又は2種類以上混合して使用しても良い。
【0009】
これらの可塑剤は、高分子被膜の可塑性の向上を目的として加えられ、造粒物もしくはコーティング被膜の均一性を向上する目的で添加させる。この目的の達成のために必要な添加量であれば特に制限はされないが、使用する薬物1重量部に対して1重量部〜20重量部、好ましくは7重量部〜15重量部の範囲で、薬物が可塑剤中で充分に溶解する最小重量部添加することが望ましい。
【0010】
本発明に用いる薬物を可塑剤に溶解した溶液は、好ましくは薬物と可塑剤を上記の重量割合で溶解した溶液であるが、薬物の溶解をより改善させる目的で界面活性剤、油脂等を含むことができる。
【0011】
また、本発明に用いられる水溶性高分子としては、例えばメチルセルロース、ヒドロキシプロピルセルロース、ヒドロキシプロピルメチルセルロース、ヒドロキシプロピルメチルセルロースフタレート、ヒドロキシプロピルメチルセルロースアセテートサクシネート、エチルセルロース、ヒドロキシエチルセルロース、カルボキシメチルセルロースナトリウム等のセルロース誘導体やポリビニルピロリドン、ポリビニルアルコール等が挙げられる。中でも、ヒドロキシプロピルメチルセルロースアセテートサクシネートやヒドロキシプロピルメチルセルロースフタレート、ヒドロキシプロピルメチルセルロース、ポリビニルピロリドンは薬物の溶出に対して効果的な高分子である。また、これらの水溶性高分子を適宜混合して用いることもできる。
【0012】
これらの水溶性高分子の粉末度としては分散液として使用する場合は、スプレーガンを閉塞しない程度であれば特に限定しないが、平均粒径100μm以下、好ましくは50μm以下である。
【0013】
水溶性高分子の水溶液には、アンモニア水など弱アルカリ性水中に溶解して得られる水溶液等も含まれるが、5〜30重量%の濃度で調製するのが望ましい。
水溶性高分子の分散液は、所定量の水に撹拌しながら前記の水溶性高分子を分散させればよく、その濃度としては特に限定しないが、5〜30重量%が好ましい。
【0014】
本発明の医薬用固形製剤における難溶性薬物と水溶性高分子の配合比率は、使用される難溶性薬物及び水溶性高分子の種類により適宜決められるが、重量比で(1:0.1)〜(1:10)であり、好ましくは(1:0.5)〜(1:5)である。水溶性高分子の配合比率がこれより低いと、医薬用固形製剤中で薬物の再結晶が析出し溶出性を低下させる場合があり、これよりも多いと溶出改善性はそれ程向上せずに医薬用固形製剤が嵩高くなってしまうおそれがあり、服用量が増大するだけなので好ましくない。
【0015】
本発明の製剤化は、製剤のコーティング処理や噴霧造粒を含む。
コーティングの対象となる製剤の種類としては、特に限定されないが、錠剤、顆粒剤、あるいはカプセル剤等の固形製剤が均一なコーティングを行う上で好ましい。また、噴霧造粒において噴霧の対象となるものには、乳糖、ショ糖、グルコース、トレハロース、フルクトース、デキストリン、デンプン、プルラン、カルボキシメチルセルロース及びその塩、カルボキシメチルスターチ及びその塩、セルロース、ポリビニルアルコール、ヘミセルロース等の粉体や核等が挙げられる。
【0016】
コーティングの量として固形製剤の種類によって異なるが、固形分で固形製剤の重量に対して、3〜50重量%が好ましい。固形製剤をコーティングする場合には、それに先だって、該固形製剤を別のコーティング剤、例えばヒドロキシプロピルメチルセルロースなどのコーティング剤を用いてコーティングを行ってもよい。
【0017】
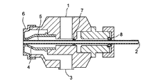
本発明の固体分散体製剤の製造方法は、例えば、図1に示されるスプレーガンを用いると、有利に医薬用固形製剤を調製することができる。
液体A入り口1と液体B入り口2からは、水溶性高分子分散液及び/又は水溶性高分子溶液と可塑剤液を適宜選択してポンプにて挿入できる構造なっている。液体A入り口1と液体B入り口2は、それぞれAノズル4のノズル口とBノズル5のノズル口に連結しており、液体AとBは吐出噴霧される。空気入り口3からの空気は、空気ノズル(キャップ)6のノズル口から吐出される。図1では、Aノズル4のノズル口とBノズル5のノズル口と空気のノズル口は、略同心円であり、それぞれ内から外に配されている。図1は、Oリング7とパッキン8も示す。液体Aとして水溶性高分子分散液及び/又は水溶性高分子溶液、液体Bとして可塑剤液を使用する態様がある。また、逆に、液体Aとして可塑剤液、液体Bとして水溶性高分子分散液及び/又は水溶性高分子溶液を使用する態様もある。
【0018】
水溶性高分子分散液及び/又は水溶性高分子溶液と可塑剤液を挿入するポンプは、特に限定されず通常のものが用いられるが、例えば、ギヤーポンプ又はチューブポンプを用いるのが好ましい。
【0019】
本発明で用いるスプレーガンの材質としては、耐水性があり、室温〜100℃前後において、可塑剤に溶解したり、溶融しない材質であれば特に限定しないが、錆にくいステンレスやシリコーンなどの耐熱材料であることが好ましい。
また、ノズルの形状及び径も噴霧可能であれば特に限定しないが、噴霧が容易に行える径ないしは管壁間の距離として0.1〜5mm程度が好ましい。
【0020】
スプレーガンの送液の速度についても特に限定しないが、一般に製剤化しやすい目安として数g/分〜数100g/分が好ましい。また、噴霧のために空気又はガスがノズルに供給できる構造であっても問題はなく、この空気又はガスの供給量についても噴霧できる範囲であれば特に限定しないが、数10リッター/分から数100リッター/分が好ましい。空気以外のガスの種類についても特に限定しないが薬剤と相互作用しにくいチッソやヘリウム等の不活性ガス類が好ましい。
【0021】
このスプレーガンを使用することで、液体を噴霧・乾燥するシステムを持ち合わせている通常の製剤機械をそのまま用いることができる。
【0022】
製剤化の装置としては、流動層造粒装置、パンコーティング装置、通気乾燥機構をとり入れたコーティング装置、流動コーティング装置を用いることができる。
【0023】
本発明の医薬用固形製剤には、調製した固形製剤を更に錠剤化等するために、後に難溶性薬物及び水溶性高分子以外に製剤の分野で通常用いられる例えば乳糖、トウモロコシデンプン、結晶性セルロース、D−マンニトール、エリスリトール等の賦形剤や、低置換度ヒドロキシプロピルセルロース、クロスカルメロースナトリウム、カルメロースカルシウム、クロスポビドン等の崩壊剤、色素、香料、甘味料等を必要に応じて適宜添加しても良い。
【0024】
【実施例】
以下、実施例及び比較例を示し、本発明を詳細に説明するが、これらは本発明を限定するものではない。
実施例1
難溶性薬物のニフェジピン(ダイト社製)10gに対して可塑剤のポリエチレングリコール400を96g及びクエン酸トリエチル4gの混合液に溶解してスプレーA液とした。水溶性高分子溶液としてヒドロキシプロピルメチルセルロースアセテートサクシネート(HPMCAS)(信越化学工業社製:AS−MF)20gに対して、タルク6g、ラウリル硫酸ナトリウム0.2gと精製水107.1gからなる分散液を調製し、スプレーB液とした。乳糖(DMV社製:乳糖200M)200gを流動層造粒機(装置名:マルチプレックス(フロイント産業社製:マルチプレックス MP−01)中で流動させ、両スプレーA、B液を図1に示す3流体ノズル(スプレーガン)を用いて、サイドスプレー方式で噴霧造粒を行った。3流体ノズルには、チューブポンプにより外部からスプレー液A、スプレー液B及び圧縮空気がそれぞれ供給された。それぞれ、溶液導入路Aノズル及びBノズルから溶液A、Bが、空気導入路(キャップ)から圧縮空気が通され、同芯円上に広がるスプレー液として噴霧された。
造粒後、14メッシュの篩で整粒しニフェジピン含有製剤を得た。
【0025】
なお、操作条件は以下の通りであった。
スプレーガン: 図1に示すスプレーガンと同様のものであり、Aノズルとして内径2.5mmを有するもの、Bノズルとして外径2.0mmで内径1.0mmを有するものを用いた。
スプレーA液及びB液の温度:27℃
乾燥空気温度: 70〜80℃
スプレーガンへの空気供給速度: 25リッター/分
スプレーA液供給速度: 5g/分
スプレーB液供給速度: 4.1g/分
操作: 40分
HPMCAS使用量:主薬(ニフェジピン)に対して2重量倍量
【0026】
実施例2
水溶性高分子の水溶液をヒドロキシプロピルメチルセルロース(信越化学工業社製:TC−5R)20gを精製水180gに溶解してスプレーB液とした以外は、実施例1と同様の方法で造粒を行い、ニフェジピン含有製剤を得た。
【0027】
実施例3
実施例1の乳糖200gを乳糖170gと含水二酸化ケイ素(塩野義製薬社製:カープレックス#80)30gの混合末に代えた以外は、実施例1と同様の方法で造粒を行い、ニフェジピン含有製剤を得た。
【0028】
比較例1
ニフェジピン10g及びヒドロキシプロピルメチルセルロースアセテートサクシネート20gをジクロルメタンとエタノール(1:1(重量比))の混合溶媒300gに溶解し、スプレー液とした。乳糖200gを流動層造粒機中で流動させ、スプレー液をサイドスプレー方式で噴霧造粒し、14メッシュの篩で整粒しニフェジピン含有製剤を得た。
【0029】
比較例2
ニフェジピン10g、ヒドロキシプロピルメチルセルロースアセテートサクシネート20g及び乳糖200gを乳鉢混合し、物理的混合末のニフェジピン含有製剤を得た。
【0030】
試験例
実施例1〜3及び比較例1、2の製剤について、以下の試験を行なった。
(1)試料 実施例1〜3及び比較例1〜2の製剤
(2)試験方法 試験液として日本薬局方記載の第2液(pH6.8)500mlを用い、これにニフェジピン10mg相当の各試料を加え日本薬局方記載の溶出試験法第2法(パドル法)に従い試験した。パドルの回転数は100rpmとした。一定時間(0、10、20、40、80分)経過毎に溶液2mlを採取し第2液で全量10mlにして5倍希釈した後、自動溶出試験器(島津製作所製:Shimadzu UV−160)を用いて、波長325nm及び波長500nmの吸光度を測定することによりニフェジピンの溶出量を測定した。
なお、溶出率の改善の評価は、ニフェジピンの飽和溶解度(10mg/ml)を上回る過飽和溶解度を与え、かつ上記の溶出試験における結果が、製剤中の薬物の75%以上の溶出率を得られたものを「良好」と見なした。
(3)試験結果 ニフェジピン溶出率の経時的な推移(3例の平均値)を図2に示す。
【0031】
図2から明らかなように、本発明による製剤はニフェジピンの飽和溶解度(比較例2)を上回る過飽和溶液を与え、且つそれが経時的に減少することなく過飽和濃度を維持することができる。また、本発明の製剤は、効果の確認されている有機溶剤溶媒法による製剤(比較例1)に匹敵する優れた薬物溶解性改善効果を有することが示された。
【0032】
【発明の効果】
本発明によれば、既存の設備を用いて簡便に、且つ有機溶剤を用いることなく難溶性薬物の固溶体製剤を製造することができる。又、本発明の製剤は、従来の物理的混合方で得られる固体分散体に比べて難溶性薬物の溶出性が改善されており、従来の溶媒方で得られる固体分散体等と同等の溶解性を有している。
【0033】
【図面の簡単な説明】
【図1】流動層造粒工程で用いた3流体ノズルの断面図を示す。
【図2】実施例1〜3及び比較例1、2の製剤からのニフェジピン溶出率の経時的な推移(平均値)を示す。
【符号の説明】
1 スプレー液A入り口
2 スプレー液B入り口
3 空気入り口
4 Aノズル
5 Bノズル
6 空気ノズル(キャップ)
7 Oリング
8 パッキン
Claims (3)
- 難溶性薬物を可塑剤に溶解した溶液と水溶性高分子の水溶液及び/又は水分散液とをノズル口から同時に別々に搬送し吐出噴霧させて製剤化することを特徴とする医薬用固形製剤の製造方法であって、上記可塑剤が、クエン酸エステル類と、グリセリンエステル類と、フタル酸エステル類と、多価アルコールとからなる一群から選ばれる医薬用固形製剤の製造方法。
- 上記水溶性高分子が、セルロース誘導体とポリビニルピロリドンとからなる一群から選ばれる請求項1に記載の医薬用固形製剤の製造方法。
- 請求項1又は請求項2に記載の製造方法により製造された医薬用固形製剤。
Priority Applications (5)
| Application Number | Priority Date | Filing Date | Title |
|---|---|---|---|
| JP2001268341A JP4644397B2 (ja) | 2001-09-05 | 2001-09-05 | 難溶性薬物を含む医薬用固形製剤の製造方法 |
| US10/232,631 US6872336B2 (en) | 2001-09-05 | 2002-08-30 | Process for producing a pharmaceutical solid preparation containing a poorly soluble drug |
| DE60210552T DE60210552T2 (de) | 2001-09-05 | 2002-09-03 | Prozess zur Herstellung einer festen pharmazeutischen Zubereitung welche einen schwerlöslichen Wirkstoff enthält |
| EP02019737A EP1291014B1 (en) | 2001-09-05 | 2002-09-03 | A process for producing a pharmaceutical solid preparation containing a poorly soluble drug |
| US11/061,995 US20050158386A1 (en) | 2001-09-05 | 2005-02-21 | Process for producing a pharmaceutical solid preparation containing a poorly soluble drug |
Applications Claiming Priority (1)
| Application Number | Priority Date | Filing Date | Title |
|---|---|---|---|
| JP2001268341A JP4644397B2 (ja) | 2001-09-05 | 2001-09-05 | 難溶性薬物を含む医薬用固形製剤の製造方法 |
Publications (2)
| Publication Number | Publication Date |
|---|---|
| JP2003073261A JP2003073261A (ja) | 2003-03-12 |
| JP4644397B2 true JP4644397B2 (ja) | 2011-03-02 |
Family
ID=19094339
Family Applications (1)
| Application Number | Title | Priority Date | Filing Date |
|---|---|---|---|
| JP2001268341A Expired - Fee Related JP4644397B2 (ja) | 2001-09-05 | 2001-09-05 | 難溶性薬物を含む医薬用固形製剤の製造方法 |
Country Status (4)
| Country | Link |
|---|---|
| US (2) | US6872336B2 (ja) |
| EP (1) | EP1291014B1 (ja) |
| JP (1) | JP4644397B2 (ja) |
| DE (1) | DE60210552T2 (ja) |
Families Citing this family (28)
| Publication number | Priority date | Publication date | Assignee | Title |
|---|---|---|---|---|
| DE10026698A1 (de) * | 2000-05-30 | 2001-12-06 | Basf Ag | Selbstemulgierende Wirkstoffformulierung und Verwendung dieser Formulierung |
| US6753017B2 (en) * | 2001-11-07 | 2004-06-22 | Jrs Pharma Lp | Process for preparing dry extracts |
| US7179488B2 (en) * | 2001-11-29 | 2007-02-20 | Bob Sherwood | Process for co-spray drying liquid herbal extracts with dry silicified MCC |
| PL371416A1 (en) * | 2002-02-01 | 2005-06-13 | Pfizer Products Inc. | Controlled release pharmaceutical dosage forms of a cholesteryl ester transfer protein inhibitor |
| AU2003211267A1 (en) * | 2002-02-27 | 2003-09-09 | Shionogi And Co., Ltd. | Solid preparations with improved absorbability of hardly water-soluble drug |
| EP1479666A4 (en) | 2002-02-28 | 2010-10-13 | Japan Tobacco Inc | ESTER CONNECTION AND THEIR MEDICAL USE |
| JP2004339162A (ja) * | 2003-05-16 | 2004-12-02 | Shin Etsu Chem Co Ltd | 難溶性薬物を含む医薬用固形製剤とその製造方法 |
| US8025899B2 (en) * | 2003-08-28 | 2011-09-27 | Abbott Laboratories | Solid pharmaceutical dosage form |
| US8377952B2 (en) * | 2003-08-28 | 2013-02-19 | Abbott Laboratories | Solid pharmaceutical dosage formulation |
| EP1669345A4 (en) | 2003-08-29 | 2008-02-20 | Japan Tobacco Inc | ESTER DERIVATIVE AND MEDICAL USE THEREOF |
| CA2543458A1 (en) * | 2003-10-24 | 2005-05-12 | Josef Rettenmaier & Soehne Gmbh & Co., Kg | Process for co-spray drying agents with dry silicified mcc |
| US20060030623A1 (en) * | 2004-07-16 | 2006-02-09 | Noboru Furukawa | Agent for the treatment or prevention of diabetes, obesity or arteriosclerosis |
| US8101774B2 (en) | 2004-10-18 | 2012-01-24 | Japan Tobacco Inc. | Ester derivatives and medicinal use thereof |
| RU2375046C2 (ru) * | 2004-10-25 | 2009-12-10 | Джапан Тобакко Инк. | Твердый состав с улучшенными растворимостью и стабильностью и способ его получения |
| JP2007308480A (ja) * | 2006-04-20 | 2007-11-29 | Shin Etsu Chem Co Ltd | 腸溶性固体分散体を含んでなる固形製剤 |
| JP2007308479A (ja) * | 2006-04-20 | 2007-11-29 | Shin Etsu Chem Co Ltd | 固体分散体製剤 |
| JP5546860B2 (ja) | 2006-08-16 | 2014-07-09 | ノバルティス アーゲー | 高結晶性治療化合物の固体分散体を製造するための方法 |
| WO2008031780A2 (de) * | 2006-09-13 | 2008-03-20 | Basf Se | Verfahren zur herstellung feinteiliger dispersionen |
| ITMI20080227A1 (it) * | 2008-02-13 | 2009-08-14 | Felice Vinati | '' dispositivo di sicurezza per apparati di sollevamento a fune '' |
| WO2011102504A1 (ja) | 2010-02-22 | 2011-08-25 | 第一三共株式会社 | 経口用徐放性固形製剤 |
| JP5870023B2 (ja) * | 2010-02-22 | 2016-02-24 | 第一三共株式会社 | 経口用徐放性固形製剤 |
| ES2706994T3 (es) | 2012-09-03 | 2019-04-02 | Daiichi Sankyo Co Ltd | Composición farmacéutica de liberación prolongada de administración oral que contiene clorhidrato de hidromorfona |
| ES2957541T3 (es) * | 2013-08-27 | 2024-01-22 | Vasilios Voudouris | Composiciones farmacéuticas de bendamustina |
| PT108885B (pt) * | 2015-10-12 | 2019-02-13 | Hovione Farm S A | Método de produção de partículas compósitas inaláveis mediante a utilização de um atomizador de três fluidos |
| US20180344646A1 (en) * | 2015-11-25 | 2018-12-06 | Patheon Development Services Inc. | Amorphous dispersion granules and oral dosage forms |
| JP6423495B1 (ja) * | 2017-07-21 | 2018-11-14 | 株式会社メンテック | ノズルキャップ、それを備えたノズル装置及び薬液の散布方法 |
| MX2021002492A (es) * | 2018-09-06 | 2021-09-08 | Yissum Res Dev Co Of Hebrew Univ Jerusalem Ltd | Formulación antibiótica inyectable de liberación sostenida. |
| CN115737593B (zh) * | 2023-01-06 | 2023-05-05 | 山东国邦药业有限公司 | 一种恩诺沙星掩味微囊及其制备方法 |
Family Cites Families (25)
| Publication number | Priority date | Publication date | Assignee | Title |
|---|---|---|---|---|
| US3494780A (en) | 1966-11-04 | 1970-02-10 | Dow Chemical Co | Method for enhancing permeability of separatory membranes |
| HU174057B (hu) * | 1976-09-17 | 1979-10-28 | Richter Gedeon Vegyeszet | Sostav dlja pokrytij obespechivajuhhij uregulirovannuju otdachy aktivnogo vehhestva biologicheski aktivnykh preparatov i sposob poluchenija takikh preparatov s uregulirovannoj otdachej aktivnogo vehhestva |
| JPS5785316A (en) | 1980-11-14 | 1982-05-28 | Kanebo Ltd | Preparation of easily absorbable nifedipine preparation |
| JPS5877811A (ja) | 1981-11-04 | 1983-05-11 | Kanebo Ltd | 安定な易吸収性ニフエジピン製剤の製法 |
| US4502888A (en) * | 1982-12-13 | 1985-03-05 | The Dow Chemical Company | Aqueous dispersions of plasticized polymer particles |
| EP0175671A1 (de) * | 1984-08-23 | 1986-03-26 | Kuhlemann & Co. | Pharmazeutische Zubereitung sowie Verfahren zum Darreichen dieser pharmazeutischen Zubereitung |
| IT1252185B (it) | 1991-12-11 | 1995-06-05 | Therapicon Srl | Preparazioni farmaceutiche a liberazione programmata |
| JPH06128147A (ja) * | 1992-10-20 | 1994-05-10 | Masayasu Sugihara | 水難溶性薬品の溶解性改善方法およびそれにより得られた薬品組成物 |
| US5431916A (en) * | 1993-04-29 | 1995-07-11 | The Procter & Gamble Company | Pharmaceutical compositions and process of manufacture thereof |
| JPH07112928A (ja) * | 1993-10-15 | 1995-05-02 | Freunt Ind Co Ltd | 難溶性薬物の溶解性改善方法およびそれにより得られた粒状薬剤 |
| JPH07291854A (ja) * | 1994-04-26 | 1995-11-07 | Tanabe Seiyaku Co Ltd | 溶解性の改善された医薬品製剤 |
| US5543099A (en) * | 1994-09-29 | 1996-08-06 | Hallmark Pharmaceutical, Inc. | Process to manufacture micronized nifedipine granules for sustained release medicaments |
| NZ270439A (en) * | 1995-02-02 | 1996-04-26 | Bernard Charles Sherman | Solid slow release pharmaceutical composition: carrier is polyethylene glycol and hydrophilic gel-forming polymer |
| JP3471977B2 (ja) * | 1995-06-02 | 2003-12-02 | 信越化学工業株式会社 | 液体状可塑剤を用いる無溶媒腸溶性コーティング剤で被覆した腸溶性製剤 |
| US5789014A (en) | 1995-12-25 | 1998-08-04 | Shin-Etsu Chemical Co., Ltd. | Method of manufacturing a solid preparation coated with non-solvent coating |
| JPH1058419A (ja) * | 1996-08-20 | 1998-03-03 | Taiyo Yuden Co Ltd | セラミックス成形加工体の製造方法 |
| FR2754175B1 (fr) * | 1996-10-07 | 1999-07-02 | Oreal | Utilisation d'un organopolysiloxane de nature elastomerique associe a une phase organique dans un produit de demaquillage des ongles |
| JP2001507701A (ja) * | 1996-12-31 | 2001-06-12 | インヘイル・セラピューティック・システムズ・インコーポレーテッド | 親水性賦形剤を有する疎水性薬剤の溶液を噴霧乾燥するための方法及びその方法によって作製された組成物 |
| US6197787B1 (en) * | 1997-03-03 | 2001-03-06 | Sanofi-Synthelabo | Pharmaceutical formulations containing poorly soluble drug substances |
| WO1998050019A1 (en) * | 1997-05-09 | 1998-11-12 | Sage Pharmaceuticals, Inc. | Stable oral pharmaceutical dosage forms |
| DE19860497A1 (de) * | 1998-12-28 | 2000-07-06 | Basf Ag | Verfahren und Vorrichtung zur Herstellung stabil feinteiliger Pulver |
| US6168806B1 (en) * | 1999-03-05 | 2001-01-02 | Fang-Yu Lee | Orally administrable nifedipine pellet and process for the preparation thereof |
| JP2000281561A (ja) | 1999-03-26 | 2000-10-10 | Ajinomoto Co Inc | 新規溶媒法固体分散体製剤 |
| JP2000300583A (ja) * | 2000-06-01 | 2000-10-31 | Yoichiro Oe | フッ素系ポリマーを用いた義歯安定剤 |
| JP4181738B2 (ja) * | 2000-08-25 | 2008-11-19 | 信越化学工業株式会社 | 腸溶性コーティング製剤の製造方法 |
-
2001
- 2001-09-05 JP JP2001268341A patent/JP4644397B2/ja not_active Expired - Fee Related
-
2002
- 2002-08-30 US US10/232,631 patent/US6872336B2/en not_active Expired - Fee Related
- 2002-09-03 DE DE60210552T patent/DE60210552T2/de not_active Expired - Lifetime
- 2002-09-03 EP EP02019737A patent/EP1291014B1/en not_active Expired - Lifetime
-
2005
- 2005-02-21 US US11/061,995 patent/US20050158386A1/en not_active Abandoned
Also Published As
| Publication number | Publication date |
|---|---|
| JP2003073261A (ja) | 2003-03-12 |
| DE60210552D1 (de) | 2006-05-24 |
| DE60210552T2 (de) | 2007-01-25 |
| EP1291014A1 (en) | 2003-03-12 |
| US6872336B2 (en) | 2005-03-29 |
| EP1291014B1 (en) | 2006-04-12 |
| US20030044528A1 (en) | 2003-03-06 |
| US20050158386A1 (en) | 2005-07-21 |
Similar Documents
| Publication | Publication Date | Title |
|---|---|---|
| JP4644397B2 (ja) | 難溶性薬物を含む医薬用固形製剤の製造方法 | |
| CN100352432C (zh) | 含有那格列奈的制剂 | |
| UA90881C2 (uk) | Гастрорезистентна фармацевтична композиція, що містить рифаксимін | |
| JP2009514821A (ja) | 極微細微粒子の製造方法及び装置、該微粒子のコーティング方法及び装置 | |
| WO2000009133A1 (fr) | Preparations orales, a liberation prolongee, a base de chlorhydrate de fasudil | |
| EP2170289A2 (en) | Preparation method for solid disupersions | |
| HK1209337A1 (en) | Medicament-containing hollow particle | |
| JP4880871B2 (ja) | 味覚を遮蔽した医薬処方物およびその製造方法 | |
| JP3221891B2 (ja) | 咀嚼可能な製薬錠剤調製のための回転造粒及び味覚遮蔽被覆加工 | |
| ES2561940T3 (es) | Composición para administración oral de hidrocloruro de tamsulosina y formulación granulada de liberación controlada que comprende la misma | |
| ES2372983T3 (es) | Proceso para preparar formulaciones secadas por aspersión de tmc125. | |
| MX2007005427A (es) | Composicion de dispersion solida de pranlukast con biodisponibilidad mejorada y metodo para preparar la dispersion solida. | |
| CN100464738C (zh) | 含难溶药物的药用固体制剂的生产方法 | |
| CN103877027A (zh) | 一种头孢呋辛酯热熔包衣组合物及其制备方法 | |
| ES2809254T3 (es) | Microcápsulas de piperaquina y composiciones que las contienen | |
| JP2021046380A (ja) | ラメルテオン含有被覆製剤 | |
| US20240366660A1 (en) | Delivery of Cellular Material and Other Material as a Dry Powder | |
| EP2201939A1 (en) | Method for producing coated spiramycin and novel formulations containing the same | |
| JP2006232789A (ja) | 経口製剤用組成物及びその製造方法 | |
| US20060062848A1 (en) | Formulation comprising itraconazole | |
| JP4181738B2 (ja) | 腸溶性コーティング製剤の製造方法 | |
| JPH06227969A (ja) | 薬品の腸溶性改善方法およびそれにより得られた薬品組成物 | |
| JPH04264023A (ja) | 持続性カプセル製剤 | |
| BRPI0412707B1 (pt) | processo para preparo de partículas contendo itraconazol na forma de um co-precipitado e partículas | |
| JPH0334927A (ja) | 潰瘍性大腸炎およびクローン病治療用経口投与組成物 |
Legal Events
| Date | Code | Title | Description |
|---|---|---|---|
| A621 | Written request for application examination |
Free format text: JAPANESE INTERMEDIATE CODE: A621 Effective date: 20070724 |
|
| A977 | Report on retrieval |
Free format text: JAPANESE INTERMEDIATE CODE: A971007 Effective date: 20100830 |
|
| A131 | Notification of reasons for refusal |
Free format text: JAPANESE INTERMEDIATE CODE: A131 Effective date: 20100906 |
|
| A521 | Request for written amendment filed |
Free format text: JAPANESE INTERMEDIATE CODE: A523 Effective date: 20101021 |
|
| TRDD | Decision of grant or rejection written | ||
| A01 | Written decision to grant a patent or to grant a registration (utility model) |
Free format text: JAPANESE INTERMEDIATE CODE: A01 Effective date: 20101112 |
|
| A01 | Written decision to grant a patent or to grant a registration (utility model) |
Free format text: JAPANESE INTERMEDIATE CODE: A01 |
|
| A61 | First payment of annual fees (during grant procedure) |
Free format text: JAPANESE INTERMEDIATE CODE: A61 Effective date: 20101206 |
|
| R150 | Certificate of patent or registration of utility model |
Ref document number: 4644397 Country of ref document: JP Free format text: JAPANESE INTERMEDIATE CODE: R150 Free format text: JAPANESE INTERMEDIATE CODE: R150 |
|
| FPAY | Renewal fee payment (event date is renewal date of database) |
Free format text: PAYMENT UNTIL: 20131210 Year of fee payment: 3 |
|
| LAPS | Cancellation because of no payment of annual fees |