JP4635630B2 - 相間絶縁紙およびモータ - Google Patents

相間絶縁紙およびモータ Download PDF

Info

Publication number
JP4635630B2
JP4635630B2 JP2005026335A JP2005026335A JP4635630B2 JP 4635630 B2 JP4635630 B2 JP 4635630B2 JP 2005026335 A JP2005026335 A JP 2005026335A JP 2005026335 A JP2005026335 A JP 2005026335A JP 4635630 B2 JP4635630 B2 JP 4635630B2
Authority
JP
Japan
Prior art keywords
interphase
insulating paper
insulating
phase
coil
Prior art date
Legal status (The legal status is an assumption and is not a legal conclusion. Google has not performed a legal analysis and makes no representation as to the accuracy of the status listed.)
Expired - Fee Related
Application number
JP2005026335A
Other languages
English (en)
Other versions
JP2006217707A (ja
Inventor
誉人 竹内
Current Assignee (The listed assignees may be inaccurate. Google has not performed a legal analysis and makes no representation or warranty as to the accuracy of the list.)
Toyota Motor Corp
Original Assignee
Toyota Motor Corp
Priority date (The priority date is an assumption and is not a legal conclusion. Google has not performed a legal analysis and makes no representation as to the accuracy of the date listed.)
Filing date
Publication date
Application filed by Toyota Motor Corp filed Critical Toyota Motor Corp
Priority to JP2005026335A priority Critical patent/JP4635630B2/ja
Publication of JP2006217707A publication Critical patent/JP2006217707A/ja
Application granted granted Critical
Publication of JP4635630B2 publication Critical patent/JP4635630B2/ja
Anticipated expiration legal-status Critical
Expired - Fee Related legal-status Critical Current

Links

Images

Classifications

    • YGENERAL TAGGING OF NEW TECHNOLOGICAL DEVELOPMENTS; GENERAL TAGGING OF CROSS-SECTIONAL TECHNOLOGIES SPANNING OVER SEVERAL SECTIONS OF THE IPC; TECHNICAL SUBJECTS COVERED BY FORMER USPC CROSS-REFERENCE ART COLLECTIONS [XRACs] AND DIGESTS
    • Y02TECHNOLOGIES OR APPLICATIONS FOR MITIGATION OR ADAPTATION AGAINST CLIMATE CHANGE
    • Y02TCLIMATE CHANGE MITIGATION TECHNOLOGIES RELATED TO TRANSPORTATION
    • Y02T10/00Road transport of goods or passengers
    • Y02T10/60Other road transportation technologies with climate change mitigation effect
    • Y02T10/64Electric machine technologies in electromobility

Landscapes

  • Insulation, Fastening Of Motor, Generator Windings (AREA)

Description

本発明は、モータのステータコアに装着された多相コイルの各相間絶縁を確保するために各コイル相間に設けられる相間絶縁紙と該相間絶縁紙が備えられたモータに係り、特に、コイルエンドの形状を整える成形工程や複数のコイルエンドを固定するレーシング工程などの際に、コイルエンドにおける絶縁紙が位置ずれや破損を生じ難い相間絶縁紙と該相間絶縁紙を備えたモータに関するものである。
例えば、電気自動車に多用される三相交流モータにおいては、U相、V相、W相の3つの電気的な位相を構成するコイルをそのステータコアに配設するとともに、それぞれのコイルエンドの一部を重ね合わせることによってステータが構成されている。かかる三相交流モータにおいて、相間絶縁紙と呼ばれる電気絶縁性のシートを各コイルエンドの重ね合わされた部分に介装させることで、位相の異なるコイル間の電気的絶縁性が確保されている。
上記する相間絶縁紙は、コイルエンドのみに配設される短冊状の絶縁紙や、2つのコイルエンドに配設される短冊状の絶縁紙を、複数の繋ぎ部にて繋いだ構成の絶縁紙などが使用されるのが一般的である。例えば、特許文献1に開示の回転電機の電機子にかかる発明においては、短冊状の絶縁紙がスロット内を挿入する複数の繋ぎ部にて繋がれた構成の一体型絶縁紙の実施形態が示されている。この繋ぎ部は、ステータコア間に形成されるスロット内に挿入されるものであり、上下2つの絶縁紙を一気にステータコアに装着できるというメリットを有している。
ところで、コイルエンドは、コイルエンドを紐で固定するレーシング工程や、プレス加工によってその形状を整える成形工程などを経て成形が施されるが、かかる工程の際に、コイル間に配設された相間絶縁紙が引張られて引裂きや歪みなどが生じてしまい、相間絶縁紙の位置ずれや、場合によっては破損を招来するといった問題があった。上記する一体型絶縁紙においては、かかる破損は短冊状の絶縁紙と繋ぎ部の接続箇所にて生じ易く、絶縁紙が破損することによってコイル相間の絶縁性能が低下することとなる。
特開2000−41351号公報
特許文献1に開示の一体型絶縁紙を使用すれば、ステータコアの両端部に配設される絶縁紙を一気に配設することが可能となる。しかし、上記する問題、すなわち、コイルエンドの成形工程やレーシング工程の際に、該一体型絶縁紙に引張りが作用することにより絶縁紙が位置ずれしたり、さらには破損にまで至るといった問題を解決することはできない。
本発明は、上記する問題に鑑みてなされたものであり、ステータコアの両端部に配設される絶縁紙を一気に配設することを可能としながら、コイルエンドの成形工程やレーシング工程などの際に該相間絶縁紙が引張られても、コイルエンドの相間絶縁紙が位置ずれや破損を生じ難い相間絶縁紙および該相間絶縁紙を備えたモータを提供することを目的とする。
前記目的を達成すべく、本発明による相間絶縁紙は、モータの各コイル相間に挿入される相間絶縁紙であって、該相間絶縁紙は、各コイルエンドの相間絶縁をおこなうためにステータコアの両端部に配設される絶縁部と、ティース間のスロット内に挿入され、2つの絶縁部を繋ぐ複数の繋ぎ部と、からなる相間絶縁紙において、前記絶縁部に作用する引張り応力を緩和する応力緩和領域が、前記繋ぎ部に設けられていることを特徴とする。
本発明の相間絶縁紙は、ステータコアの両端部のコイルエンドに配設される2つの絶縁部と、この絶縁部を繋ぐ複数(例えば2つ)の繋ぎ部とから構成される一体型絶縁紙である。絶縁部はステータコアの両端面から突出して配設され、繋ぎ部はステータコア間に形成されるスロット内に挿入されることにより、ステータコアに相間絶縁紙が装着されることとなる。かかる相間絶縁紙は、公知のプラスチックフィルムや、2つのノーメックス不織布の間にポリエチレンナフタレートフィルムが介装されてなる多層構造のフィルムなどを使用することができる。例えば、U相、V相、W相の3つの電気的な位相を構成するコイルからなる三相交流モータにおいては、ステータコアに装着されるU相コイルとV相コイルの間、および、V相コイルとW相コイルの間にそれぞれ相間絶縁紙が介装される。なお、スロットにおけるステータコアと各コイルの間の絶縁を確保するために、上記する相間絶縁紙とは別途のスロット絶縁紙がスロット内に挿入されていることは勿論のことである。
ここで、応力緩和領域とは、コイルエンドの成形工程やレーシング工程において該相間絶縁紙が引張られた際には、絶縁部に過大な応力(例えば、絶縁紙の破断応力以上の応力など)が作用する前に、この引張り応力を吸収もしくは解放させる領域のことである。この応力緩和領域の作用により、結果的には絶縁部に過大な応力が作用せず、絶縁部の破損を防止することが可能となる。
また、本発明による相間絶縁紙の他の実施形態において、前記繋ぎ部が、伸縮自在に形成されていることを特徴とする。
繋ぎ部に伸縮自在な部分を設けることで、この部分が上記する応力緩和領域となり、絶縁部に過大な引張り応力が作用する前に、この繋ぎ部が伸縮することが可能となる。なお、繋ぎ部の伸縮によって絶縁部も多少の位置ずれを生じ得ることとなるが、少なくともコイルエンドにおける各コイル間で圧縮状態の絶縁部が、コイル相間の絶縁性を阻害される程度まで位置ずれされるといった問題はない。尤も、かかる絶縁部の位置ずれを勘案して予め大きめに絶縁部を形成しておくこともできる。
また、本発明による相間絶縁紙の他の実施形態において、前記繋ぎ部の一部が、折り畳まれていることを特徴とする。
本発明は、伸縮自在に形成された繋ぎ部の一実施形態として、繋ぎ部の一部が折り畳まれてなる相間絶縁紙に関するものである。繋ぎ部の一部が二重または三重に折り畳まれていることで、絶縁部に引張りが作用した際に、この折り畳まれた部分の重ね代だけ繋ぎ部の延長が長くなり、したがって絶縁部には過大な引張り応力が作用しないこととなる。
また、本発明による相間絶縁紙の他の実施形態において、前記繋ぎ部の一部が、波打ち状に成形されていることを特徴とする。
ここで、波打ち状に成形されているとは、例えば繋ぎ部の一部がギャザー成形等されていて多数のしわを有した状態に成形されていることを意味しており、繋ぎ部に引張りが作用した際には、この波打ち状の部分が伸びることによって繋ぎ部の延長が長くなり、絶縁部への作用応力の緩和を図るものである。
また、本発明による相間絶縁紙の他の実施形態において、前記繋ぎ部には、該繋ぎ部の幅方向または略幅方向に伸びる切り込みが複数設けられており、それぞれの切り込みが繋ぎ部の長手方向にわたって千鳥状に設けられていることを特徴とする。
ここでいう切り込みとは、例えば、直線状の切り込みでよい。また、切り込みが繋ぎ部の長手方向にわたって千鳥状に設けられているとは、繋ぎ部を正面から見た際に、繋ぎ部の一側辺から切り込みを設け、次に間隔をおいて繋ぎ部の他側辺から切り込みを設け、次に間隔を置いて繋ぎ部の一側辺から切り込みを設け、これらの切り込みが繋ぎ部の長手方向にわたって順に設けられてなる実施形態を意味している。繋ぎ部に、切り込みが千鳥状に設けられていることにより、繋ぎ部に引張りが作用した際に、これら複数の切り込みがそれぞれ開くことで繋ぎ部の延長が長くなり、結果として、絶縁部への作用応力の緩和を図ることが可能となる。
また、本発明による相間絶縁紙の他の実施形態は、モータの各コイル相間に挿入される相間絶縁紙であって、該相間絶縁紙は、各コイルエンドの相間絶縁をおこなうためにステータコアの両端部に配設される絶縁部と、ステータコア間のスロット内に挿入され、2つの絶縁部を繋ぐ複数の繋ぎ部と、からなる相間絶縁紙において、前記繋ぎ部には、引張り応力が相対的に大きくなる脆弱部が設けられていることを特徴とする。
本発明は、繋ぎ部の一部または全部を伸縮自在に形成するのではなく、繋ぎ部の一部に他の部分よりも引張り破断し易い部分、すなわち脆弱部を設けてなる相間絶縁紙に関するものであり、例えば、繋ぎ部の一部において、他の部分よりも引張りが作用する幅(断面)が小さくなるような部分を設けておくことで、かかる部分が応力緩和領域(ここでは、応力を解放する領域)となる。引張りが作用する幅が相対的に小さくなることで、この部分には他の部分よりも大きな引張り応力が作用することとなり、この脆弱部にて繋ぎ部を積極的に破断に至らしめることで、結果として絶縁部に作用する引張り応力を緩和することが可能となる。
また、本発明による相間絶縁紙の他の実施形態において、前記脆弱部がミシン目からなることを特徴とする。
本発明は、繋ぎ部の一部に、その長手方向に直交する方向(繋ぎ部の幅方向)に例えば一条のミシン目が設けられてなる相間絶縁紙に関するものである。繋ぎ部に引張りが作用した際には、このミシン目が脆弱部となって該ミシン目を境に繋ぎ部が破断され、絶縁部に作用する応力の緩和を図ることが可能となる。なお、スロット部に配設される繋ぎ部がその途中で破断されても、コイルエンドにおけるコイル相間の絶縁性能には全く影響はないため、かかる脆弱部にて積極的に繋ぎ部を破断に至らしめる構造とすることは絶縁性能の確保にとって効果的である。
また、本発明による相間絶縁紙の他の実施形態において、前記繋ぎ部には、繋ぎ部の幅が相対的に狭い部分が設けられており、該幅が相対的に狭い部分が前記脆弱部となることを特徴とする。
ここで、繋ぎ部の幅が相対的に狭い部分とは、繋ぎ部の一部の両側辺から内側に略V字状の切り欠きが設けられることで他の部分に比べて幅が狭くなっている部分が設けられている形態や、繋ぎ部と絶縁部との接続部から繋ぎ部の長手方向の中央付近に向かってテーパー状もしくは曲線状に該繋ぎ部の幅が徐々に狭くなっているような形態のことである。この場合、繋ぎ部に引張りが作用すると、幅が狭くなっている部分には他の部分に比べて大きな引張り応力が生じることとなり、この部分が脆弱部となって破断し易くなる。
また、本発明による相間絶縁紙の他の実施形態において、前記繋ぎ部が途中で縁切りされており、縁切りされた双方の繋ぎ部が接着されており、接着された部分が前記脆弱部となることを特徴とする。
縁切りされた繋ぎ部の双方の端部は、その端面で当接するとともに端面間が接着剤にて接続された形態や、双方の端部が重ね合わされていて、双方の重ね代の間に粘着テープや糊などが塗布された形態などがある。ここで使用される接着剤は、繋ぎ部に作用する想定引張り力よりも小さな接着力を備えた適宜の接着剤を使用でき、上記する重ね代同士を接着する材料も一例として挙げた粘着テープなどのほかに、想定引張り力よりも小さな接着力を備えた適宜の材料でよい。
また、本発明によるモータは、前記相間絶縁紙によって各コイルエンドの相間絶縁がなされていることを特徴とする。
上記するように、繋ぎ部が伸縮自在に形成されている相間絶縁紙や繋ぎ部に脆弱部が設けられている一体型の相間絶縁紙を使用してコイル相間の絶縁性を確保したモータを製作することにより、相間絶縁紙のステータコアへの装着効率を高めることができるとともに、絶縁部に破断が生じ難いことから高いコイル相間の絶縁性を確保することができ、モータの長寿命化を図ることが可能となる。
以上の説明から理解できるように、本発明の相間絶縁紙および該相間絶縁紙を備えたモータによれば、コイルエンドの成形工程やレーシング工程などの際に絶縁部に過大な応力が作用する前に繋ぎ部が伸縮もしくは破断することとなり、絶縁部が破断する可能性を極めて低くすることができる。その結果、コイル相間の高い絶縁性を確保することができ、信頼性の高い長寿命なモータを提供することができる。
以下、図面を参照して本発明の実施の形態を説明する。図1は、本発明の3相交流モータの一部を示した平面図を、図2は、図1のII−II矢視図をそれぞれ示している。図3aは、本発明の相間絶縁紙の一実施形態の平面図であり、図3bは、その断面図である。図4aは、本発明の相間絶縁紙の他の実施形態の平面図であり、図4bは、その断面図である。図5〜8は、本発明の相間絶縁紙の他の実施形態の平面図であり、図9aは、本発明の相間絶縁紙の他の実施形態の平面図であり、図9bは、その断面図を、図9cは、1枚の相間絶縁紙材料から2つの相間絶縁紙が製作されることを示した模式図をそれぞれ示している。なお、図示する実施形態では、3相交流モータを対象としているが、2相交流モータや5相交流モータなど、その他の仕様のモータであってもよいことは勿論のことである。
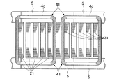
図1は、3相交流モータの一部を示した図である。リング状のステータ2には、その径方向内側に突出する複数のティース21,21,…が設けられており、ティース21,21間にはスロット22が形成されている。ステータ2の内部にはロータ3が回転可能に配設されており、このステータ2とロータ3とからモータ1が大略構成されている。
3相交流モータにおいては、通常、ティースの外側(ステータのヨーク側)から順に、U相コイル、V相コイル、W相コイルがそれぞれティース21に分布巻きされてステータ2が形成されている。このU相コイルとV相コイル、およびV相コイルとW相コイルは、それぞれ平面的に一部重なるようにティース21に装着されるのが通常であり、図2に示すように、各コイルがティース21の端部から突出したコイルエンド41においては、相間絶縁を図ることが必要となってくる。そこで、図1に示すように、各コイル間に相間絶縁紙5を介装させることにより、コイルエンド41における相間絶縁がおこなわれる。なお、スロットを構成する壁面とコイル間との絶縁を図るために、双方の間にスロット絶縁紙7が装着されている。
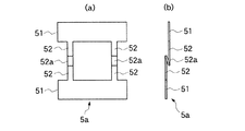
次に、図3〜9に基づいて、本発明の相間絶縁紙を説明する。なお、例示する相間絶縁紙は、いずれもコイルエンドに配設される2つの短冊状の絶縁部を、スロットに挿入される2本の繋ぎ部にて繋いでなる一体型絶縁紙である。
図3〜5は、繋ぎ部の一部が伸縮自在となるように形成された実施形態に関するものである。図3に示す相間絶縁紙5aは、短冊状の絶縁部51,51を2本の繋ぎ部52,52が繋いで構成されている。ここで、繋ぎ部52には、該繋ぎ部52が伸縮できるように折り畳まれている部分52aが設けられている。なお、この折り畳まれている部分52aは、2重、3重など適宜の回数に折り畳まれている。絶縁部51に引張りが作用した際には、この折り畳まれている部分52aが伸びることで引張りに追従することができ、絶縁部51に過度の引張りが作用しない。
図4に示す相間絶縁紙5bでは、繋ぎ部52の一部がギャザー成形等されていて、多数のしわを有した波打ち状の部分52bを有している。絶縁部51に引張りが作用した際には、この波打ち状の部分52bが伸びることができる。
図5に示す相間絶縁紙5cでは、繋ぎ部52の幅方向に伸びる直線状の切り込み52cが複数設けられており、それぞれの切り込み52c、52c、…が繋ぎ部の長手方向にわたって千鳥状に設けられている。絶縁部51に引張りが作用した際には、この切り込み52cがそれぞれ引張り方向に広げられることで繋ぎ部52が伸び、引張りに追従可能となる。
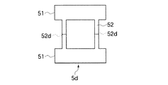
図6〜9は、繋ぎ部の一部に他の部分よりも引張り耐力の低い脆弱部が設けられている実施形態に関するものである。図6に示す相間絶縁紙5dにおいては、繋ぎ部52の一部に、該繋ぎ部52の幅方向に伸びるミシン目52dが設けられている。絶縁部51に引張りが作用した際には、絶縁部51に過度の引張りが作用する前に、他の部分に比して引張り耐力の低いミシン目52dが積極的に破断に至ることで、絶縁部51の破損防止を図ることができる。
図7に示す相間絶縁紙5eでは、繋ぎ部52の一部にV字状の切り込み52eが穿設されている。図示する実施形態では切り込み52eが各繋ぎ部52に1つ設けられているが、繋ぎ部52の両側端から対向する位置に2つの切り込み52e,52eを設けた構成であってもよい。
図8に示す相間絶縁紙5fでは、繋ぎ部52と絶縁部51との接続部から繋ぎ部52の長手方向の中央付近に向かってテーパー部52f、52fが設けられ、該中央付近で繋ぎ部52の幅が最も狭くなるように成形されている。この中央部分は他の部分に比べ、同じ引張りが作用した際の単位幅当たりの引張り応力が最も大きくなることから他の部分よりも先に破断に至ることとなる。
図9に示す実施形態では、1つの絶縁部51と2本の繋ぎ部52,52とからなる相間絶縁紙5gを2つ用意し、双方の繋ぎ部52,52の端部同士を一部重ね合わせ、双方の重ね合わせ部分を粘着テープ6で接着することで一体型絶縁紙が形成される。この実施形態の利点は、粘着テープ6で接着された部分を脆弱部とし、この部分で積極的に双方の相間絶縁紙5g、5gの接着を解放することのほかに、絶縁紙の製作にあたって材料を有効に利用できるという点が挙げられる。図3〜図8に示す相間絶縁紙を製作する場合には、2つの絶縁部と2つの繋ぎ部とで囲まれた部分が不要となってしまう一方で、図9に示す相間絶縁紙5g、5gでは、絶縁紙材料から双方の繋ぎ部52,52を横方向に重ねた状態で切取ることができるため、絶縁紙材料の不要部分を極端に低減することが可能となる(図9c参照)。
以上、本発明の実施の形態を図面を用いて詳述してきたが、具体的な構成はこの実施形態に限定されるものではなく、本発明の要旨を逸脱しない範囲における設計変更等があっても、それらは本発明に含まれるものである。
本発明の3相交流モータの一部を示した平面図。 図1のII−II矢視図。 (a)は、本発明の相間絶縁紙の一実施形態の平面図であり、(b)は、その断面図。 (a)は、本発明の相間絶縁紙の他の実施形態の平面図であり、(b)は、その断面図。 本発明の相間絶縁紙の他の実施形態の平面図。 本発明の相間絶縁紙の他の実施形態の平面図。 本発明の相間絶縁紙の他の実施形態の平面図。 本発明の相間絶縁紙の他の実施形態の平面図。 (a)は、本発明の相間絶縁紙の他の実施形態の平面図であり、(b)は、その断面図であり、(c)は、1枚の相間絶縁紙材料から2つの相間絶縁紙が製作されることを示した模式図。
符号の説明
1…モータ、2…ステータ、3…ロータ、4a…U相コイル、4b…V相コイル、4c…W相コイル、41…コイルエンド、5,5a,5b,5c,5d,5e,5f,5g…相間絶縁紙、51…絶縁部、52…繋ぎ部、52a…折り畳まれている部分、52b…波打ち状の部分、52c…切り込み、52d…ミシン目、52e…切り欠き、52f…テーパー部、6…粘着テープ、7…スロット絶縁紙

Claims (5)

  1. モータの各コイル相間に挿入される相間絶縁紙において、
    前記相間絶縁紙は、各コイルエンドの相間絶縁をおこなうためにステータコアの両端部に配設される絶縁部と、ティース間のスロット内に挿入され2つの絶縁部を繋ぐ複数の繋ぎ部と、からなる一体型絶縁紙からなり、
    前記繋ぎ部の一部が該繋ぎ部の厚み方向に折り畳まれていて、前記絶縁部に生じる引張り応力を該繋ぎ部の伸縮によって緩和するとを特徴とする相間絶縁紙。
  2. モータの各コイル相間に挿入される相間絶縁紙において、
    前記相間絶縁紙は、各コイルエンドの相間絶縁をおこなうためにステータコアの両端部に配設される絶縁部と、ティース間のスロット内に挿入され2つの絶縁部を繋ぐ複数の繋ぎ部と、からなる一体型絶縁紙からなり、
    前記繋ぎ部の一部が該繋ぎ部の厚み方向に波打ち状に成形されていて、前記絶縁部に生じる引張り応力を該繋ぎ部の伸縮によって緩和するとを特徴とする相間絶縁紙。
  3. モータの各コイル相間に挿入される相間絶縁紙において、
    前記相間絶縁紙は、各コイルエンドの相間絶縁をおこなうためにステータコアの両端部に配設される絶縁部と、ティース間のスロット内に挿入され2つの絶縁部を繋ぐ複数の繋ぎ部と、からなる一体型絶縁紙からなり、
    前記繋ぎ部の一部に該繋ぎ部の幅方向に伸びるミシン目が設けてあり、前記絶縁部に生じる引張り応力を該ミシン目の破断によって緩和するとを特徴とする相間絶縁紙。
  4. モータの各コイル相間に挿入される相間絶縁紙において、
    前記相間絶縁紙は、各コイルエンドの相間絶縁をおこなうためにステータコアの両端部に配設される絶縁部と、ティース間のスロット内に挿入され2つの絶縁部を繋ぐ複数の繋ぎ部と、からなる一体型絶縁紙からなり、
    前記繋ぎ部の一部には、単位幅当たりの引張り応力が該繋ぎ部の他の部分に比して相対的に大きくなる、繋ぎ部の幅が相対的に狭い部分が設けられており、前記絶縁部に生じる引張り応力を該繋ぎ部の幅が相対的に狭い部分の破断によって緩和するとを特徴とする相間絶縁紙。
  5. 請求項1〜のいずれかに記載の相間絶縁紙によって各コイルエンドの相間絶縁がなされていることを特徴とするモータ。
JP2005026335A 2005-02-02 2005-02-02 相間絶縁紙およびモータ Expired - Fee Related JP4635630B2 (ja)

Priority Applications (1)

Application Number Priority Date Filing Date Title
JP2005026335A JP4635630B2 (ja) 2005-02-02 2005-02-02 相間絶縁紙およびモータ

Applications Claiming Priority (1)

Application Number Priority Date Filing Date Title
JP2005026335A JP4635630B2 (ja) 2005-02-02 2005-02-02 相間絶縁紙およびモータ

Publications (2)

Publication Number Publication Date
JP2006217707A JP2006217707A (ja) 2006-08-17
JP4635630B2 true JP4635630B2 (ja) 2011-02-23

Family

ID=36980436

Family Applications (1)

Application Number Title Priority Date Filing Date
JP2005026335A Expired - Fee Related JP4635630B2 (ja) 2005-02-02 2005-02-02 相間絶縁紙およびモータ

Country Status (1)

Country Link
JP (1) JP4635630B2 (ja)

Families Citing this family (5)

* Cited by examiner, † Cited by third party
Publication number Priority date Publication date Assignee Title
JP4905731B2 (ja) * 2009-01-30 2012-03-28 本田技研工業株式会社 アキシャルギャップ型モータ
EP2544339B1 (en) 2010-03-04 2018-05-30 Toyota Jidosha Kabushiki Kaisha Stator and method for producing stator
JP5336528B2 (ja) * 2011-01-18 2013-11-06 三菱電機株式会社 電動機の固定子及び圧縮機及び冷凍サイクル装置
JP6125340B2 (ja) * 2013-06-14 2017-05-10 アイチエレック株式会社 相間絶縁部材製造方法、相間絶縁部材および電動機
JP6186235B2 (ja) * 2013-10-07 2017-08-23 株式会社日立製作所 回転電機

Family Cites Families (6)

* Cited by examiner, † Cited by third party
Publication number Priority date Publication date Assignee Title
JPS5812549A (ja) * 1981-07-10 1983-01-24 Toshiba Corp 電動機の相間絶縁紙
JPS5825541U (ja) * 1981-08-10 1983-02-18 三菱電機株式会社 回転機の相間絶縁紙
JPS58172346U (ja) * 1982-05-10 1983-11-17 株式会社東芝 回転電機
JPS5937851U (ja) * 1982-08-31 1984-03-09 三菱電機株式会社 回転電機の相間絶縁紙
JPH0629381U (ja) * 1992-09-02 1994-04-15 澤藤電機株式会社 回転電機のステータ用絶縁材
JPH1084647A (ja) * 1996-09-09 1998-03-31 Hitachi Ltd 回転電気機械の巻線相間絶縁物

Also Published As

Publication number Publication date
JP2006217707A (ja) 2006-08-17

Similar Documents

Publication Publication Date Title
US6995491B2 (en) Insulating paper piece for electric motors and electric motor
US8981614B2 (en) Stator for electrical rotating machine
US9467017B2 (en) Inter-phase insulation sheet for rotating electric machine
JP4973420B2 (ja) ステータの製造方法
US9590460B2 (en) Electric machine with a slot liner
JP2012090487A5 (ja)
JP4293237B2 (ja) 固定子
JP2016135060A (ja) 回転電機ステータ
JP4635630B2 (ja) 相間絶縁紙およびモータ
JP2008253037A (ja) 相間絶縁体
JP6670279B2 (ja) 絶縁紙及び回転電機のステータ
JP2017028831A (ja) 回転電機ステータ
JP5242075B2 (ja) 回転電機の相間絶縁紙及び固定子
JP5267114B2 (ja) 回転電機用のコア絶縁部材及び回転電機の絶縁構造
JP5324547B2 (ja) ステータ
JP2006149003A (ja) 相間絶縁紙、および相間絶縁紙が取り付けられた固定子
JP4764048B2 (ja) 回転電機の相間絶縁紙
JP4301174B2 (ja) 相内絶縁紙および相内絶縁紙を使用したステータ
JP4109016B2 (ja) 電動機の固定子
JP5944713B2 (ja) 固定子の製造方法
JP4826736B2 (ja) 電機子
JP2015109738A (ja) 回転電機のステータ
JP4341603B2 (ja) 相間絶縁紙の製造方法
JP4215001B2 (ja) 相間絶縁紙およびその相間絶縁紙を使用したステータ
JP2004364382A (ja) 三相モータ用相間絶縁紙

Legal Events

Date Code Title Description
A621 Written request for application examination

Free format text: JAPANESE INTERMEDIATE CODE: A621

Effective date: 20071212

A977 Report on retrieval

Free format text: JAPANESE INTERMEDIATE CODE: A971007

Effective date: 20100610

A131 Notification of reasons for refusal

Free format text: JAPANESE INTERMEDIATE CODE: A131

Effective date: 20100615

A521 Request for written amendment filed

Free format text: JAPANESE INTERMEDIATE CODE: A523

Effective date: 20100729

TRDD Decision of grant or rejection written
A01 Written decision to grant a patent or to grant a registration (utility model)

Free format text: JAPANESE INTERMEDIATE CODE: A01

Effective date: 20101026

A01 Written decision to grant a patent or to grant a registration (utility model)

Free format text: JAPANESE INTERMEDIATE CODE: A01

A61 First payment of annual fees (during grant procedure)

Free format text: JAPANESE INTERMEDIATE CODE: A61

Effective date: 20101108

FPAY Renewal fee payment (event date is renewal date of database)

Free format text: PAYMENT UNTIL: 20131203

Year of fee payment: 3

FPAY Renewal fee payment (event date is renewal date of database)

Free format text: PAYMENT UNTIL: 20131203

Year of fee payment: 3

LAPS Cancellation because of no payment of annual fees