JP4635602B2 - 車両用操舵制御装置 - Google Patents

車両用操舵制御装置 Download PDF

Info

Publication number
JP4635602B2
JP4635602B2 JP2004374676A JP2004374676A JP4635602B2 JP 4635602 B2 JP4635602 B2 JP 4635602B2 JP 2004374676 A JP2004374676 A JP 2004374676A JP 2004374676 A JP2004374676 A JP 2004374676A JP 4635602 B2 JP4635602 B2 JP 4635602B2
Authority
JP
Japan
Prior art keywords
steering
vehicle
control device
reaction force
change
Prior art date
Legal status (The legal status is an assumption and is not a legal conclusion. Google has not performed a legal analysis and makes no representation as to the accuracy of the status listed.)
Expired - Fee Related
Application number
JP2004374676A
Other languages
English (en)
Other versions
JP2006182055A (ja
Inventor
淳二 堤
裕介 加藤
秀男 岩本
Current Assignee (The listed assignees may be inaccurate. Google has not performed a legal analysis and makes no representation or warranty as to the accuracy of the list.)
Nissan Motor Co Ltd
Original Assignee
Nissan Motor Co Ltd
Priority date (The priority date is an assumption and is not a legal conclusion. Google has not performed a legal analysis and makes no representation as to the accuracy of the date listed.)
Filing date
Publication date
Application filed by Nissan Motor Co Ltd filed Critical Nissan Motor Co Ltd
Priority to JP2004374676A priority Critical patent/JP4635602B2/ja
Publication of JP2006182055A publication Critical patent/JP2006182055A/ja
Application granted granted Critical
Publication of JP4635602B2 publication Critical patent/JP4635602B2/ja
Anticipated expiration legal-status Critical
Expired - Fee Related legal-status Critical Current

Links

Images

Landscapes

  • Steering Control In Accordance With Driving Conditions (AREA)
  • Power Steering Mechanism (AREA)

Description

本発明は、ハンドルを有する操舵側と操向タイヤを有する転舵側との間に機械的なつながりが無いステア・バイ・ワイヤシステム等に採用される車両用操舵制御装置の技術分野に属する。
従来、ABSコントローラを介して車速情報を取得するステア・バイ・ワイヤ(SBW)システムでは、イグニッションスイッチがオフされ、かつ車速ゼロが検出された場合に限り、SBWコントローラへの駆動電力の供給をオフする構成となっている。これにより、走行中にイグニッションスイッチがオフされた場合でも、車速がゼロとなるまではABSコントローラへの電力供給が中止されないため、SBWコントローラは、ABSコントローラより車速情報を取得することが可能となり、安全にSBW制御を継続することができる(例えば、特許文献1参照)。
特開2004−168258号公報
しかしながら、上記従来技術にあっては、例えば車内ネットワーク異常の発生等により車速情報が失陥すると、車速情報が得られないため、走行中のイグニッションスイッチオフにより操舵制御を終了してしまう。または駐車時にイグニッションスイッチをオフしても操舵制御が終了しない等の問題が生じるおそれがある。
本発明は、上記問題に着目してなされたもので、その目的とするところは、操舵制御を正常に終了させることができる車両用操舵制御装置を提供することにある。
上述の目的を達成するため、本発明では、
操向輪に転舵トルクを付加する転舵手段、およびハンドルに操舵力を付加する操舵反力手段の少なくともいずれか一方を駆動制御する操舵制御手段と、
車両の動力源が停止するか否かを判定する動力停止判定手段と、
路面から車両のタイヤへの入力を検出するタイヤ入力検出手段と、
車両の動力停止が判定され、かつタイヤ入力が変化しない状態が所定時間継続したとき、前記操舵制御手段を停止させる操舵制御停止手段と、
を備えることを特徴とする。
本発明にあっては、車両の動力源が停止し、かつ、路面からの入力が発生していない状態が所定時間継続したとき、車両停止と判断して操舵制御手段を終了する。すなわち、車両が確実に所定時間以上停止している場合に限り、操舵制御手段を停止させるため、走行中の操舵制御停止を防ぐことができる。

以下、本発明を実施するための最良の形態を、実施例1,2に基づいて説明する。
まず、構成を説明する。
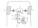
図1は実施例1のステア・バイ・ワイヤ(SBW)システムの構成を示す図である。
実施例1に示すSBWシステムは、ハンドル1および操舵反力用アクチュエータ(操舵反力手段)2と、操向タイヤ3および転舵用アクチュエータ(転舵手段)4との間に機械的なつながりが無い。
このSBWシステムは、ハンドル1の回転操作に応じて、転舵用コントローラ6で演算された指令値に基づいて転舵用アクチュエータ4が駆動されることで、転舵動作を達成している。転舵用アクチュエータ4は、ブラシレスモータ等の電動モータ4aにより構成することができる。
ハンドル1に操舵反力を与えるための操舵反力用アクチュエータ2は、転舵用アクチュエータ4と同様にブラシレスモータ等の電動モータ2aにより構成することができる。操舵反力用アクチュエータ2は、操舵反力用コントローラ5で演算された指令値に基づいて駆動される。
操舵反力用コントローラ5および転舵用コントローラ6で演算される指令値は、操舵反力用アクチュエータ2および転舵用アクチュエータ4を構成する電動モータへの電流指令値となる。操舵反力用コントローラ5、転舵用コントローラ6間は、通信ライン7で各信号の伝達を行っており、この通信ライン7は2重系の構成となっている。
また、操舵反力用アクチュエータ2および転舵用アクチュエータ4の動作状態を検出するセンサ(モータ回転角センサなど)も2重系の構成となっており、SBWシステムとして冗長な構成を実現している。
上記のように構成されたSBWシステムは、イグニッションスイッチ8がオンされることで動作を開始する。また、実施例1において、SBWシステムの終了は、走行中に誤ってイグニッションスイッチ8がオフされた場合の安全性を考慮し、イグニッションスイッチ8のオフで直ちにSBWシステムを終了しないよう構成されている。車両の確実な停止および運転者がハンドル1を放している状態であると判定された後に、SBWシステムを終了させる構成としている。
次に、作用を説明する。
[操舵制御処理]
図2は、実施例1の操舵反力用コントローラ5および転舵用コントローラ6で実行される操舵制御処理の流れを示すフローチャートで、以下、各ステップについて説明する。この処理は、所定の制御周期(例えば5msec)で実行される。
ステップS1では、イグニッションスイッチ8から出力されるIGN信号の状態をチェックする(動力停止判定手段に相当)。IGN信号がオンの場合にはステップS6へ移行し、オフの場合にはステップS2へ移行する。
ステップS2では、操舵反力用アクチュエータ2の操舵反力モータ2aに流れる電流をチェックする(手放し検出手段に相当)。この操舵反力モータ電流値は、操舵反力用コントローラ5が演算する操舵反力モータ電流指令値と実際に操舵反力モータ電流を検出した値とのどちらを用いても良い。ここで求めた操舵反力モータ電流値の絶対値が所定の手放し電流しきい値Ih以上の場合は、運転者が操舵している、すなわちハンドル1を握っていると判断し、ステップS6へ移行し、操舵反力モータ電流値の絶対値が手放し電流しきい値Ih未満の場合は、運転者が操舵を行っていない、すなわちハンドル1から手を放している状態と判断し、ステップS3へ移行する。
ここで、手放し電流しきい値Ihは、充分に小さな値であり、操舵反力モータ電流の絶対値が手放し電流しきい値Ihよりも小さい場合は、ハンドル1にトルクが加えられていない状態と判断できる。実施例1では、操舵反力モータ電流を用いて運転者がハンドル1から手を放している状態を判断したが、ステアリングコラムシャフトに設置したトルクセンサなどにより検出または推定した、操舵トルクに基づいて判断しても良い(操舵トルク検出手段に相当)。
ステップS3では、転舵用アクチュエータ4の転舵モータ4aに流れる電流をチェックする(タイヤ入力検出手段に相当)。この転舵モータ電流値は、転舵用コントローラ6が演算する転舵モータ電流指令値と実際に転舵モータ電流を検出した値とのどちらを用いても良い。ここで求めた転舵モータ電流の絶対値が車両停止電流しきい値Is以上の場合には、ステアリングラックに軸力変化が生じている、すなわち車両が走行している状態と判断し、ステップS6へ移行し、転舵モータ電流の絶対値が車両停止電流しきい値Is未満である場合には、ステアリングラックに軸力変化が生じていない、すなわち車両が停止している状態と判断し、ステップS4へ移行する。
ここで、車両停止電流しきい値Isは、仮に運転者がハンドル1から手を放していても、車両が走行している状態では転舵モータ電流の絶対値が車両停止電流しきい値Isよりも大きくなるような、十分に小さい値に設定している。実施例1では、転舵モータ電流を用いて車両の停止状態を判断しているが、ステアリングラック軸に生じる力を検出する軸力センサなどにより検出または推定し、ステアリングラック軸力に基づいて判断しても良い。
ステップS4では、操舵反力モータ電流の絶対値が手放し電流しきい値Ih未満、かつ転舵モータ電流の絶対値が車両停止電流しきい値Is未満である状態が継続した時間OFFtimerをチェックする。OFFtimerが所定時間Ts以上の場合は、ステップS5へ移行し、OFFtimerが所定時間Ts未満の場合はステップS6へ移行する。IGN信号がオフで、操舵反力モータ電流の絶対値が手放し電流しきい値Ih未満、かつ転舵モータ電流の絶対値が車両停止電流しきい値Is未満の状態が所定時間Ts(例えば15秒)継続した場合は、確実に運転者がハンドル1から手を放し、車両が停止している状態と判断する。
ステップS5では、SBWシステムを終了させる(操舵制御停止手段に相当)。転舵用コントローラ6では転舵モータ4aへの電流指令値出力を終了し、操舵反力用コントローラ5では操舵反力モータ2aへの電流指令値出力を終了する。
ステップS6では、通常のSBW制御、すなわち転舵用コントローラ6では転舵モータ4aへの電流指令値を出力し、操舵反力用コントローラ6では操舵反力モータ2aへの電流指令値出力を行う(操舵制御手段に相当)。
[技術背景]
車両制御システムのネットワーク化が進展している今日においては、車速センサにより検出された車速信号を、ステア・バイ・ワイヤ(SBW)システムが車速センサから直接受け取る構成を採るとは限らず、車内ネットワークを経由して他の制御システムから車速情報を取得している場合がある。このような構成を採る操舵制御装置では、例えば、運転者等によりイグニッションスイッチがオンからオフに切り替えられた場合には、一般にはエンジンが停止、つまり車両が駐停車していることを前提に車両制御システムが構成されているため、イグニッションスイッチのオフ後は、車速情報を生成する他のシステム(例えば、ABSシステム)を含めてシステム全体に供給される駆動電力が切断される構成が、一般的に採用されている。
このように、他のシステムから車速情報を取得するような構成を採る操舵制御装置によると、イグニッションスイッチのオフ後は他のシステムに供給される駆動電力も切断されるため、操舵制御装置は他のシステムから車速情報を取得することができない。
これらの問題を解決するため、特開2004−168258号公報に記載の車両用操舵装置では、イグニッションスイッチのオフ状態を検出してオフ通知を出力するSBWコントローラと、車輪速センサから車速情報を取得し、車速がゼロであることを検出した場合に、車速ゼロ情報を出力するABSコントローラとを備えている。ABSコントローラは、SBWコントローラからイグニッションスイッチのオフ通知の出力があり、かつ、当該車両の車速がゼロである場合に限り、バッテリーからの駆動電力の供給を中止する構成となっている。これにより、走行中にイグニッションスイッチがオフされた場合でも、ABSコントローラより車速情報を取得することが可能となり、安全にSBW制御を継続することができる(図3)。
しかしながら、上記従来技術にあっては、例えば、車内ネットワーク異常の発生等により車速情報が失陥した場合、下記のような問題が生じるおそれがある。
(a)図4に示すように、走行中に車速をゼロと誤認識した場合、イグニッションスイッチがオフされると、ABSシステムへの電力供給が停止するため、SBWシステムは車速情報が得られなくなる。
(b)図5に示すように、駐車時に車速をゼロ以外と誤認識した場合、イグニッションスイッチをオフしたにもかかわらず、SBWシステムが終了せず、バッテリー電源が消費される。
通常、SBWシステムでは、その重要性から考えて、操舵制御関連情報と異なり車速情報は冗長構成としていない。よって、別途SBWコントローラで車速センサ信号を直接読み込むなどの冗長構成とした場合、コストアップにつながる。
[SBWシステム終了判定作用]
これに対し、実施例1のSBWシステムでは、イグニッションスイッチ8がオフされ、運転者がハンドル1から手を放し、かつ路面からの入力が発生していない状態が所定時間Ts以上継続したとき、車両停止と判断し、SBWシステムを終了する。
すなわち、イグニッションスイッチがオフされ、操舵反力モータ電流の絶対値が手放し電流しきい値Ih未満であり、かつ、転舵モータ電流の絶対値が車両停止電流しきい値Is未満である状態が、所定時間Ts以上である場合には、図2のフローチャートにおいて、ステップS1→ステップS2→ステップS3→ステップS4→ステップS5へと進み、ステップS5では、SBWシステムを終了させる。
よって、エンジンが停止し、ハンドル1が握られておらず、かつ操向タイヤ3が転舵されていない状態が所定時間Ts継続した場合、すなわち車両が確実に停止しているときにのみ、SBWシステムを終了するため、走行中にSBWシステムが停止するのを防ぐことができる。また、車両の停止判断に用いる操舵制御関連情報(操舵反力モータ電流、転舵モータ電流)は、SBWシステムにおいて重要度が高く、冗長構成(2重系以上)となっているため、1次失陥で信号が異常となることが無い。よって、コストアップを伴うことなく、正常にSBWシステムを終了することが可能となる。
[転舵モータ電流変化に基づくタイヤ入力変化検出作用]
実施例1では、タイヤ入力変化を、ラック軸力変化から検出している。走行中は直進時でも操向タイヤ3を介して路面からの力を受けるため、所定値以上の軸力が生じている場合には、走行中であると判断できる。
また、ラック軸力変化を、転舵モータ4aに流れる電流の変化から求めている。転舵モータ4aには、転舵角指令値に実際の転舵角を一致させるための電流指令値が入力される。すなわち、直進走行(転舵角ゼロ)であっても、路面からの外乱等を補うため、走行中において実際にモータへ流れる電流は常に変化している。よって、この路面からの影響を含む電流値の変化状態をモニタリングすることにより、ラック軸に生じる軸力変化に対応した値を求めることができる。
[操舵反力モータ電流変化に基づく手放し検出作用]
実施例1では、運転者がハンドル1から手を放しているか否かを、運転者の操舵トルクから検出している。運転者がハンドル1を握っている状態では、常にハンドル1に操舵トルクが生じているため、このトルクが生じている間は、SBWシステムを終了しない。これにより、仮にエンジンが停止している場合であっても、SBW制御だけでなく、ステアリングアシスト制御(EPS制御)などの継続が可能となり、エンジン停止後の据え切りにも対応可能となる。
また、操舵トルクを、操舵反力トルクを発生させる操舵反力モータ2aに流れる電流の変化から求めている。操舵反力モータ2aには、操舵角、操舵角速度や操舵角速度の微分値(操舵角加速度)に応じて演算された電流指令値が入力される。すなわち、運転者がハンドル1を握っている場合は、操舵角、操舵角速度や操舵角速度の微分値が変化するため、常に操舵反力モータ2aに流れる電流値は変化する。よって、操舵反力モータ2aの電流変化をモニタリングすることにより、運転者がハンドル1を握っているか否かを確実に判断できる。
次に、効果を説明する。
実施例1の車両用操舵制御装置にあっては、以下に列挙する効果が得られる。
(1) 操向タイヤ3に転舵トルクを付加する転舵用アクチュエータ4、およびハンドル1に操舵力を付加する操舵反力用アクチュエータ2の少なくともいずれか一方を駆動制御する操舵制御手段(ステップS6)と、車両の動力源が停止するか否かを判定する動力停止判定手段(ステップS1)と、路面からのタイヤ入力を検出するタイヤ入力検出手段(ステップS3)と、車両の動力停止が判定され、かつタイヤ入力が変化しない状態が所定時間Ts継続したとき、ステア・バイ・ワイヤ制御を停止させる操舵制御停止手段(ステップS5)と、を備えるため、車両が確実に停止している状態が一定時間継続した場合に限り、ステア・バイ・ワイヤシステムを停止させるため、走行中のシステム停止を防止でき、ステア・バイ・ワイヤシステムを正常に終了できる。
(2) 運転者がハンドルから手を放しているか否かを検出する手放し検出手段(ステップS2)を備え、操舵制御停止手段は、手放し状態が所定時間Ts以上継続したとき、ステア・バイ・ワイヤ制御を停止させる。すなわち、車両が停止している場合であっても、運転者がハンドル1を握っている場合には、ステア・バイ・ワイヤ制御を停止しないため、エンジン停止後の据え切り等に対応して操向タイヤ3を転舵させることができる。
(3) ハンドル1に入力される操舵トルクを検出する操舵トルク検出手段を備え、手放し検出手段は、操舵トルクが変化しない状態が所定時間Ts継続したとき、手放し状態であると判定するため、手放し状態を確実に判定できる。
(4) 手放し検出手段は、操舵反力モータ2aに流れる電流変化に基づいて操舵トルク変化を検出するため、操舵トルク変化をより正確に検出できる。また、操舵反力モータ電流を検出するセンサは、2重系とした冗長構成であるため、1次失陥が発生した場合でも、手放し状態を検出することができる。よって、車速信号を用いた従来技術に比して、コストアップを伴うことなくシステムの信頼性を高めることができる。
(5) タイヤ入力検出手段は、ラック軸力変化からタイヤ入力変化を検出するため、車両が走行中であるか否かを確実に判定できる。
(6) タイヤ入力検出手段は、転舵モータ4aに流れる電流変化に基づいてラック軸力の変化を検出するため、また、転舵モータ電流を検出するセンサは、2重系の冗長構成であるため、1次失陥が発生した場合でも、車両が走行中であるか否かを検出することができる。よって、車速信号を用いて車両停止を判定する従来技術に比して、コストアップを伴うことなくシステムの信頼性を高めることができる。
実施例2は、運転者の車両停止指示を検出したとき、ハンドルと操向タイヤとの間を連結するバックアップ機構を作動させ、転舵用アクチュエータを用いて運転者の操舵を補助するパワーアシスト制御を行う例である。
まず、構成を説明する。
図7は、実施例2のステア・バイ・ワイヤ(SBW)システムの構成を示す図であり、実施例1の構成に対し、ハンドル1と操向タイヤ3との間に、メカバックアップ機構9を設け、エンジン停止後にパワーアシスト制御を実施する点で異なる。
メカバックアップ機構9は、操舵反力用アクチュエータ2と転舵用アクチュエータ4との間を、例えばケーブル等により機械的に連結するもので、クラッチ10を締結または解放することで、ハンドル1と操向タイヤ3との機械的なつながりを断接することが可能となっている。
前記クラッチ10の締結/解放は、転舵用コントローラ6により制御される。転舵用コントローラ6は、SBW制御中はクラッチ10を解放させ、SBWシステムが失陥した場合には、クラッチ10を締結させてメカバックアップ機構9を作動させる。これにより、SBWシステム失陥時の操舵が可能となる。
また、実施例2のSBWシステムでは、イグニッションスイッチ8がオフされたとき、運転者がハンドル1を握っている場合には、クラッチ10を締結してメカバックアップ機構9を作動させ、転舵用アクチュエータ4により運転者の操舵負担を軽減するためのパワーアシスト制御を実施する。
次に、作用を説明する。
[操舵制御処理]
図8は、実施例2の操舵反力用コントローラ5および転舵用コントローラ6で実行される操舵制御処理の流れを示すフローチャートで、以下、各ステップについて説明する。この処理は、所定の制御周期(例えば5msec)で実行される。なお、ステップS1,ステップS3〜ステップS6については、図2のステップS1,ステップS3〜ステップS6と同一の処理を行うステップであるため、説明を省略する。
ステップS2では、操舵反力用アクチュエータ2の操舵反力モータ2aに流れる電流をチェックし、操舵反力モータ電流値の絶対値が所定の手放し電流しきい値Ih以上の場合には、運転者がハンドル1を握っていると判断してステップS7へと移行し、操舵反力モータ電流値の絶対値が手放し電流しきい値Ih未満である場合には、ハンドル1から手を放している状態と判断し、ステップS3へ移行する。
ステップS7では、メカバックアップ機構9のクラッチ10を締結させ、ステップS8へ移行する。
ステップS8では、バッテリー電圧の確認を行い、ステップS9へ移行する。エンジンが停止した状態でパワーアシスト制御を続けると、バッテリー電力を消費してしまうため、バッテリーの状態に応じてパワーアシスト制御を実行または停止するために、バッテリー電圧を確認する。
ステップS9では、転舵モータ4aの発生トルクを用いてパワーアシスト制御を実施する。このステップS9とステップS8とにより、パワーアシスト制御手段が構成される。
パワーアシスト制御としては、例えば、特開平11−34892号公報に記載の技術のように、操舵トルク信号に基づいてアシストモータへ供給する目標電流を演算し、実際にアシストモータに流れる電流値を検出し、両者の偏差に基づいて駆動制御信号をアシストモータへ供給する。そして、イグニッションスイッチ8がオフされた場合、ならびにバッテリーの電源電圧が所定電圧以下に停止した場合に、駆動制御信号を時間の経過と共に漸減っせる方法が提案されている。ここで、バッテリーの所定電圧とは、エンジン停止に至る前の例えば、8V程度を言う。
なお、上記パワーアシスト制御は、転舵用コントローラ6で行い、操舵反力用コントローラ5では、操舵反力モータ2aへの電流指令値を終了する処理を行う。
[エンジン停止時のパワーアシスト制御作用]
運転者がイグニッションスイッチ8をオフした後に操舵するような場合、実施例1では、SBW制御を継続する例を示したが、実施例2では、メカバックアップ機構9を作動させてハンドル1と操向タイヤ3とを機械的に連結することで、パワーアシスト制御を実施することが可能となる。
イグニッションスイッチ8がオフされるとエンジンが停止し、オルタネータによる発電も停止する。転舵モータ4a、操舵反力モータ2aはバッテリーで駆動されるため、バッテリー電力が消費される。SBW制御を行うには転舵モータ4a、操舵反力モータ2aそれぞれに電流を供給する必要があるが、パワーアシスト制御の場合は転舵モータ4aのみで実現できるため、パワーアシスト制御を行う方がバッテリー電力の消費を抑制できる。
また、エンジン停止状態でのパワーアシスト制御が継続され、バッテリー電圧が低下するような場合は、バッテリー電圧を検出し、パワーアシスト制御のアシスト力を徐々に減らすことで、バッテリー電力の消費を抑えることができる。
次に、効果を説明する。
実施例2の車両用操舵制御装置にあっては、実施例1の効果(1)〜(6)に加え、以下に列挙する効果が得られる。
(7) ハンドル1と操向タイヤ3とを機械的に連結するメカバックアップ機構9を備え、前記車両の動力停止が判定されたとき、メカバックアップ機構9を連結し、転舵モータ4aを用い、運転者の操舵トルクに操舵付加トルクを与えるパワーアシスト制御を行うパワーアシスト制御手段(ステップS8、ステップS9)と、を備えるため、エンジン停止後に、転舵モータ4aおよび操舵反力モータ2aを用いてステア・バイ・ワイヤ制御を行う実施例1と比較して、バッテリー電力の消費を抑制できる。
(他の実施例)
以上、本発明を実施するための最良の形態を、実施例1,2に基づいて説明したが、本発明の具体的な構成は、実施例1,2に限定されるものではなく、発明の要旨を逸脱しない範囲の設計変更等があっても本発明に含まれる。
例えば、実施例では、車両の動力源を停止するか否かを、イグニッションスイッチのオフで判定する例を示したが、動力源は、ハイブリッドや電気の場合でも、バッテリーが発電状態でなくなる状態を、同類の停止スイッチ等で判断するか、車両側の電源系監視機能などから、発電できない状態にある状態信号を受け取り判定しても良い。
実施例では、ハンドルと操向輪とが機械的に切り離されたステア・バイ・ワイヤシステムに適用した例を示したが、本発明は電動パワーステアリングシステムや可変ギヤ比システム等の操舵制御システムに適用することができる。
実施例1のステア・バイ・ワイヤ(SBW)システムの構成を示す図である。 実施例1の操舵反力用コントローラ5および転舵用コントローラ6で実行される操舵制御処理の流れを示すフローチャートである。 従来のSBWシステム終了判定方法を示す図である。 従来のSBWシステム終了判定方法において、走行中に車速ゼロと誤認識した場合の問題点を説明する図である。 従来のSBWシステム終了判定方法において、車両停止中に走行中であると誤認識した場合の問題点を説明する図である。 実施例1のSBWシステム終了判定作用を示す図である。 実施例2のSBWシステムの構成を示す図である。 実施例2の操舵反力用コントローラ5および転舵用コントローラ6で実行される操舵制御処理の流れを示すフローチャートである。
符号の説明
1 ハンドル
2 操舵反力用アクチュエータ
3 操向タイヤ
4 転舵用アクチュエータ
5 操舵反力用コントローラ
6 転舵用コントローラ
7 通信ライン
8 イグニッションスイッチ
9 メカバックアップ機構
10 クラッチ

Claims (7)

  1. 操向輪に転舵トルクを付加する転舵手段、およびハンドルに操舵力を付加する操舵反力手段の少なくともいずれか一方を駆動制御する操舵制御手段と、
    車両の動力源が停止するか否かを判定する動力停止判定手段と、
    路面から車両のタイヤへの入力を検出するタイヤ入力検出手段と、
    車両の動力停止が判定され、かつタイヤ入力が変化しない状態が所定時間継続したとき、前記操舵制御手段を停止させる操舵制御停止手段と、
    を備えることを特徴とする車両用操舵制御装置。
  2. 請求項1に記載の車両用操舵制御装置において、
    運転者がハンドルから手を放しているか否かを検出する手放し検出手段を備え、
    前記操舵制御停止手段は、前記手放し状態が前記所定時間以上継続したとき、操舵制御を停止させることを特徴とする車両用操舵制御装置。
  3. 請求項2に記載の車両用操舵制御装置において、
    前記ハンドルに入力される操舵トルクを検出する操舵トルク検出手段を備え、
    前記手放し検出手段は、前記操舵トルクが変化しない状態が前記所定時間継続したとき、手放し状態である判定することを特徴とする車両用操舵制御装置。
  4. 請求項3に記載の車両用操舵制御装置において、
    前記操舵反力手段は、操舵反力モータを有し、
    前記手放し検出手段は、前記操舵反力モータに流れる電流変化に基づいて前記操舵トルク変化を検出することを特徴とする車両用操舵制御装置。
  5. 請求項1ないし請求項のいずれか1項に記載の車両用操舵装置において、
    前記タイヤ入力検出手段は、ラック軸力変化から前記タイヤ入力変化を検出することを特徴とする車両用操舵制御装置。
  6. 請求項5に記載の車両用操舵制御装置において、
    前記転舵手段は、転舵モータを有し、
    前記タイヤ入力検出手段は、前記転舵モータに流れる電流変化に基づいて前記ラック軸力の変化を検出することを特徴とする車両用操舵制御装置。
  7. 請求項に記載の車両用操舵制御装置において、
    前記ハンドルと前記操向輪とは、機械的に切り離され、
    前記ハンドルと前記操向輪とを機械的に連結するバックアップ機構を備え、
    前記車両の動力停止が判定されたとき、前記バックアップ機構を連結し、前記転舵モータを用い、運転者の操舵トルクに操舵付加トルクを与えるパワーアシスト制御を行うパワーアシスト制御手段と、
    を備えることを特徴とする車両用操舵制御装置。
JP2004374676A 2004-12-24 2004-12-24 車両用操舵制御装置 Expired - Fee Related JP4635602B2 (ja)

Priority Applications (1)

Application Number Priority Date Filing Date Title
JP2004374676A JP4635602B2 (ja) 2004-12-24 2004-12-24 車両用操舵制御装置

Applications Claiming Priority (1)

Application Number Priority Date Filing Date Title
JP2004374676A JP4635602B2 (ja) 2004-12-24 2004-12-24 車両用操舵制御装置

Publications (2)

Publication Number Publication Date
JP2006182055A JP2006182055A (ja) 2006-07-13
JP4635602B2 true JP4635602B2 (ja) 2011-02-23

Family

ID=36735491

Family Applications (1)

Application Number Title Priority Date Filing Date
JP2004374676A Expired - Fee Related JP4635602B2 (ja) 2004-12-24 2004-12-24 車両用操舵制御装置

Country Status (1)

Country Link
JP (1) JP4635602B2 (ja)

Families Citing this family (5)

* Cited by examiner, † Cited by third party
Publication number Priority date Publication date Assignee Title
JP2012101705A (ja) * 2010-11-11 2012-05-31 Tokai Rika Co Ltd 車載通信機
JP6013171B2 (ja) * 2012-12-17 2016-10-25 株式会社ショーワ 操舵装置、操舵装置用の切替え装置およびプログラム
RU2633023C2 (ru) * 2013-01-11 2017-10-11 Ниссан Мотор Ко., Лтд. Устройство управления рулением и способ управления рулением
US9688301B2 (en) 2013-01-11 2017-06-27 Nissan Motor Co., Ltd. Steering control device and steering control method
CN103587576B (zh) * 2013-12-06 2015-09-02 中国石油大学(华东) 一种电动汽车线控转向系统及控制方法

Family Cites Families (10)

* Cited by examiner, † Cited by third party
Publication number Priority date Publication date Assignee Title
JPH061901Y2 (ja) * 1987-06-17 1994-01-19 日本精工株式会社 電動式動力舵取装置
JP3381539B2 (ja) * 1997-02-07 2003-03-04 日産自動車株式会社 電動式パワーステアリングの制御装置
JP2998929B2 (ja) * 1997-08-18 2000-01-17 本田技研工業株式会社 電動パワーステアリング装置
JP3345804B2 (ja) * 1998-10-23 2002-11-18 光洋精工株式会社 車両用操舵装置
JP3525414B2 (ja) * 2000-06-06 2004-05-10 本田技研工業株式会社 電動パワーステアリング装置
JP2002037111A (ja) * 2000-07-25 2002-02-06 Koyo Seiko Co Ltd 車両用操舵装置
JP4586258B2 (ja) * 2000-11-02 2010-11-24 日産自動車株式会社 車両の操舵制御装置
JP3972643B2 (ja) * 2001-12-11 2007-09-05 日産自動車株式会社 電動パワーステアリング制御装置
JP4039175B2 (ja) * 2002-08-15 2008-01-30 日産自動車株式会社 車両用操舵装置
JP2004161140A (ja) * 2002-11-13 2004-06-10 Koyo Seiko Co Ltd 電動パワーステアリング装置

Also Published As

Publication number Publication date
JP2006182055A (ja) 2006-07-13

Similar Documents

Publication Publication Date Title
JP5804198B2 (ja) 車両の操舵制御装置及び操舵制御方法
JP4853053B2 (ja) 車両用操舵制御装置
JP6533772B2 (ja) 操舵装置
US12005975B2 (en) Method for providing steering assistance for an electromechanical steering system of a motor vehicle comprising a redundantly designed control device
JP5406377B2 (ja) 制御システム、及び電動パワーステアリング制御装置
US10246121B2 (en) Vehicle steering device
CN105358408A (zh) 用于车辆的转向系统
JP5206845B2 (ja) 車両用操舵制御装置
JP4839793B2 (ja) 車両用操舵制御装置
US20090055050A1 (en) Steering apparatus for vehicle
CN110641547A (zh) 车辆用转向系统
US11807317B2 (en) Method for operating a vehicle
JP2005096745A (ja) 車両用操舵装置
WO2008059731A1 (fr) Dispositif de direction de véhicule
JP5239245B2 (ja) 車両用操舵制御装置
JP4635602B2 (ja) 車両用操舵制御装置
JP5076564B2 (ja) 駆動制御装置およびそれを用いた操舵制御装置
JP3531560B2 (ja) 車両の電動パワーステアリング装置
JP5332213B2 (ja) ステアバイワイヤシステムの診断装置およびステアバイワイヤシステムの診断方法
JP4945909B2 (ja) 車両用操舵装置
JP5050402B2 (ja) 車両用操舵制御装置
JP4243146B2 (ja) 電動ステアリング装置におけるバッテリ状態判定装置
JP4534845B2 (ja) 操舵制御装置
JPH0696389B2 (ja) 電動式パワ−ステアリング制御装置
JP3741039B2 (ja) 操舵制御装置

Legal Events

Date Code Title Description
A621 Written request for application examination

Free format text: JAPANESE INTERMEDIATE CODE: A621

Effective date: 20071128

A977 Report on retrieval

Free format text: JAPANESE INTERMEDIATE CODE: A971007

Effective date: 20091217

A131 Notification of reasons for refusal

Free format text: JAPANESE INTERMEDIATE CODE: A131

Effective date: 20100713

A521 Request for written amendment filed

Free format text: JAPANESE INTERMEDIATE CODE: A523

Effective date: 20100805

TRDD Decision of grant or rejection written
A01 Written decision to grant a patent or to grant a registration (utility model)

Free format text: JAPANESE INTERMEDIATE CODE: A01

Effective date: 20101026

A01 Written decision to grant a patent or to grant a registration (utility model)

Free format text: JAPANESE INTERMEDIATE CODE: A01

A61 First payment of annual fees (during grant procedure)

Free format text: JAPANESE INTERMEDIATE CODE: A61

Effective date: 20101108

FPAY Renewal fee payment (event date is renewal date of database)

Free format text: PAYMENT UNTIL: 20131203

Year of fee payment: 3

R150 Certificate of patent or registration of utility model

Ref document number: 4635602

Country of ref document: JP

Free format text: JAPANESE INTERMEDIATE CODE: R150

Free format text: JAPANESE INTERMEDIATE CODE: R150

LAPS Cancellation because of no payment of annual fees