JP4635573B2 - 現像装置および画像形成装置 - Google Patents

現像装置および画像形成装置 Download PDF

Info

Publication number
JP4635573B2
JP4635573B2 JP2004325961A JP2004325961A JP4635573B2 JP 4635573 B2 JP4635573 B2 JP 4635573B2 JP 2004325961 A JP2004325961 A JP 2004325961A JP 2004325961 A JP2004325961 A JP 2004325961A JP 4635573 B2 JP4635573 B2 JP 4635573B2
Authority
JP
Japan
Prior art keywords
roller
developer
developing
liquid developer
surface roughness
Prior art date
Legal status (The legal status is an assumption and is not a legal conclusion. Google has not performed a legal analysis and makes no representation as to the accuracy of the status listed.)
Expired - Fee Related
Application number
JP2004325961A
Other languages
English (en)
Other versions
JP2006138885A5 (ja
JP2006138885A (ja
Inventor
浩一 上條
秀裕 ▲高▼野
健 井熊
Current Assignee (The listed assignees may be inaccurate. Google has not performed a legal analysis and makes no representation or warranty as to the accuracy of the list.)
Seiko Epson Corp
Original Assignee
Seiko Epson Corp
Priority date (The priority date is an assumption and is not a legal conclusion. Google has not performed a legal analysis and makes no representation as to the accuracy of the date listed.)
Filing date
Publication date
Application filed by Seiko Epson Corp filed Critical Seiko Epson Corp
Priority to JP2004325961A priority Critical patent/JP4635573B2/ja
Priority to US11/260,889 priority patent/US7149459B2/en
Publication of JP2006138885A publication Critical patent/JP2006138885A/ja
Publication of JP2006138885A5 publication Critical patent/JP2006138885A5/ja
Application granted granted Critical
Publication of JP4635573B2 publication Critical patent/JP4635573B2/ja
Anticipated expiration legal-status Critical
Expired - Fee Related legal-status Critical Current

Links

Images

Landscapes

  • Wet Developing In Electrophotography (AREA)

Description

この発明は、プリンタ、複写機やファクシミリ装置などの電子写真方式の画像形成技術、特に現像方式として湿式現像方式を採用した画像形成技術に関するものである。
従来より、湿式現像方式を採用した画像形成装置としては、現像ローラ(現像剤担持体)の表面に均一に塗布された液体現像剤で、潜像担持体に形成された静電潜像を現像することによって、ムラのない画像(トナー像)を形成する構成が知られている。このように、現像ローラの表面に液体現像剤を均一に塗布する技術としては、次のような技術が従来より提案されている。すなわち、表面に凹部が形成されたアニロクスローラ(塗布ローラ)で液体現像剤を汲み上げた後、規制部材を該アニロクスローラに当接させることで、アニロクスローラ上の液体現像剤の量を規制する。この規制により、アニロクスローラに当接する規制部材は、アニロクスローラ表面の凹部に担持された液体現像剤を残して、アニロクスローラ表面から液体現像剤を掻き取ることとなるので、アニロクスローラ上の液体現像剤の量が、凹部の容量に応じた値に正確に計量される。そして、このように正確に計量された液体現像剤を現像ローラに塗布することによって、正確に計量された液体現像剤を現像ローラに転移させて、該現像ローラに均一な現像液薄層を形成することができる(例えば特許文献1参照)。
特開2002−72692号公報([0057]〜[0059]、図3)
ところで、上記した従来の構成を採用したとしても、形成されたトナー像にムラが生じて画質低下を招いてしまうことがあった。本発明者らの鋭意研究の結果、塗布ローラにより現像剤担持体に塗布された液体現像剤の塗布パターンに乱れが生じてしまっていることが、画質低下の原因の一つであることを見いだした。
この発明は上記課題に鑑みなされたものであり、現像剤担持体に塗布された液体現像剤の塗布パターンの乱れを防止することによって、良好な画質のトナー像を形成することを目的とする。
上記したように、本発明者らは、塗布ローラにより現像剤担持体に塗布された液体現像剤の塗布パターンに乱れが生じてしまっていることが、画質低下の原因の一つであることを見いだした。さらに鋭意研究を行った結果、塗布ローラと規制部材との接触部において、規制部材が微振動してしまうことがあることを見いだした。このような場合には、塗布ローラ表面の凸部の液体現像剤を該規制部材で完全に規制する(掻き取る)ことができず、該凸部には液体現像剤が担持されたままとなることがある。そのため、塗布ローラ表面の凹部に担持された液体現像剤を現像剤担持体に塗布する際、該凹部に担持されている液体現像剤と一緒に、規制部材によって規制することができなかった凸部に担持されている液体現像剤が現像剤担持体に塗布されてしまう。この結果、現像剤担持体に塗布された液体現像剤の塗布パターンに乱れが生じてしまう。
さらに鋭意研究を行った結果、このような液体現像剤の塗布パターンに乱れを生じさせる一因である規制部材の微振動は、塗布ローラ表面の凹凸、塗布ローラ表面の凸部の表面粗さ、および規制部材の塗布ローラとの接触部分の表面粗さ等に起因して発生することを見いだした。これらの微振動の要因のうち、塗布ローラ表面の凸部の表面粗さが規制部材の微振動に特に影響を与えていると考えられる。そこで、この発明にかかる現像装置は、上記目的を達成するため、現像剤担持体と、表面に凹部および凸部を有し、液体現像剤を前記現像剤担持体に塗布する塗布ローラと、塗布ローラの凹部に担持された液体現像剤を残して塗布ローラの表面から液体現像剤を掻き取ることによって塗布ローラが担持する液体現像剤の量を規制する規制部材とを備え、塗布ローラの凸部の表面粗さをR1、塗布ローラの凹部の表面粗さをR2、規制部材の少なくとも塗布ローラと接触する部分の表面粗さをR3としたとき、第1条件:R1<R3<R2、を満足することを特徴とする。また、この発明にかかる画像形成装置は、上記目的を達成するため、感光体と、帯電部と、露光部と、現像剤担持体と、表面に凹凸部を有し液体現像剤を現像剤担持体に塗布する塗布ローラと、塗布ローラの凹部に担持された液体現像剤を残して塗布ローラの表面から液体現像剤を掻き取ることによって塗布ローラが担持する液体現像剤の量を規制する規制部材と、を備え、塗布ローラの表面の凸部の表面粗さをR1、塗布ローラの表面の凹部の表面粗さをR2、規制部材の少なくとも塗布ローラと接触する部分の表面粗さをR3としたとき、第1条件:R1<R3<R2、を満足する現像装置と、を備えることを特徴とする。
このように構成された発明では、表面に凹部および凸部を有する塗布ローラが担持する液体現像剤の量を規制する規制部材が設けられている。そして、塗布ローラの表面の凸部の表面粗さをR1、凹部の表面粗さをR2、規制部材の少なくとも塗布ローラと接触する部分の表面粗さをR3としたとき、第1条件:R1<R3<R2を満足するように構成されている。この第1条件のうち、R1<R3を満足することによって、上記した微振動が規制部材に生じていたとしても、塗布ローラ表面の凸部に担持された液体現像剤は、該塗布ローラと規制部材とが接触する部分を通過する際に、該凸部の表面粗さよりも表面粗さが大きい規制部材側へ移動することによって、該規制部材によって確実に掻き取られる。また、第1条件のうち、R3<R2を満足することによって、塗布ローラ表面の凹部に担持された液体現像剤は、該塗布ローラと規制部材とが接触する部分を通過する際に、表面粗さの小さい規制部材側に移動せず、表面粗さの大きい該凹部側に確実に担持されたままとなる。
また、規制部材の微振動に特に影響を与えていると考えられる塗布ローラ表面の凸部の表面粗さR1が最小となるように構成されているため、規制部材に微振動が生じるのが抑制される。したがって、微振動の発生が抑制された該規制部材によって、より確実に塗布ローラが担持する液体現像剤の量を規制することができる。このように塗布ローラが担持する液体現像剤の量は、現像剤担持体に塗布される前に規制部材により確実に規制され、塗布ローラはその表面の凹部でのみ液体現像剤を担持することとなる。したがって、該凹部で担持された液体現像剤のみが現像剤担持体へ塗布されるため、現像剤担持体に塗布された液体現像剤の塗布パターンの乱れを防止することができる。その結果、該塗布パターンに乱れが生じるのを防止された現像剤担持体上の液体現像剤で、感光体などの潜像担持体上の静電潜像を現像することができるので、良好な画質のトナー像を形成することができる。なお、表面粗さの異なる2つの部材で液体現像剤を挟んだ後に、該部材を離間する方向へ移動させた場合、表面粗さの大きい部材側へより多くの液体現像剤が付着する現象は、本発明者らの鋭意研究により得た知見であり、詳細は後で述べる。
ところで、塗布ローラ表面の凹部に液体現像剤を担持する際、該凹部内全体に液体現像剤が充填されずに、特に該凹部の底部に空気を含んでしまうことがあった。この凹部に担持された液体現像剤に含まれた空気は、塗布ローラの回転にともなって該液体現像剤が現像剤担持体へと搬送される過程で、該凹部に担持された液体現像剤の表層部分まで移動したりすることがある。その結果、この凹部に担持された液体現像剤は現像剤担持体へ上手く転移されず、該現像剤担持体に塗布された液体現像剤の塗布パターンが乱れる原因の一つとなっていた。なお、このような現象は、例えば、比較的粘度の高い液体現像剤を使用する現像装置および画像形成装置においてより顕著となる。そこで、前記現像剤担持体の前記塗布ローラと接触する部分の表面粗さをR4としたとき、第2条件:R2>R4、を満足する構成としても構わない。このような構成とすれば、塗布ローラ表面の凹部に担持された液体現像剤が現像剤担持体に塗布される際、該凹部の表面粗さR2の方が現像剤担持体の表面粗さR4よりも大きいため、該凹部に担持された液体現像剤の全てが現像剤担持体に転移されるわけではなく、その一部は確実に該凹部の底部に残留した状態となる。そのため、再度、塗布ローラ表面の凹部に液体現像剤を担持する際、該凹部の底部には液体現像剤が確実に残留しているため、該凹部の底部に空気を含んでしまうことを防止することができる。すなわち、塗布ローラ表面の凹部に液体現像剤を担持する際、該凹部に空気が含まれるのを効果的に防止することができる。その結果、塗布ローラ表面の凹部内全体に充填されることにより担持されている液体現像剤が、現像剤担持体へ塗布されるため、該現像剤担持体へ塗布された液体現像剤の塗布パターンが乱れるのをさらに効果的に防止することができる。
前記規制部材は、規制ブレードであり、前記規制ブレードで前記塗布ローラに接触する構成としてもよい。このような構成とすれば、規制ブレードで塗布ローラを押圧することができるので、該押圧力を塗布ローラに効率良く伝えることができる。したがって、より効率良く、塗布ローラ表面の凸部に担持されている液体現像剤を規制する(掻き取る)ことができる。その結果、確実に該凸部の液体現像剤が規制された状態で、塗布ローラから現像剤担持体へ液体現像剤を塗布することができるので、現像剤担持体に塗布される液体現像剤の塗布パターンが乱れるのをさらに効果的に防止することができる。
また、前記規制ブレードを支持する支持部材を備え、前記規制ブレードと前記塗布ローラとの接触位置における、前記塗布ローラーの外周面の接線と前記規制ブレードとがなす角を接触角としたとき、前記支持部材は前記接触角を0°〜45°の範囲で調整可能な構成としてもよい。このような構成とすれば、規制ブレードが塗布ローラに接触する接触角を任意に調整することができる。このように、接触角を調整することによって、規制ブレードに任意な大きさで撓りを生じさせ、規制ブレードの弾性力の大きさを任意に調整することができる。したがって、規制ブレードが塗布ローラを押圧する力を任意に調整することができる。よって、塗布ローラおよび規制ブレードの構成に応じて、規制ブレードによって塗布ローラを押圧する力を任意に調整することができる。このように、規制ブレードによって塗布ローラを押圧する力を、塗布ローラおよび規制ブレードの構成に応じて任意に調整することによって、塗布ローラ表面の凸部に担持されている液体現像剤をより効率よく規制する(掻き取る)ことができる。その結果、現像剤担持体に塗布される液体現像剤の塗布パターンが乱れるのをさらに効率よく防止することができる。
前記塗布ローラは、凹凸部が形成されたアニロクスローラであって、前記凹部に前記液体現像剤を担持することによって前記液体現像剤を搬送する構成としても構わない。このような構成とすれば、アニロクスローラの凹部で液体現像剤を担持することによって、一定量に計量した液体現像剤を現像剤担持体に塗布することができる。したがって、現像剤担持体に精度よく均一に液体現像剤を塗布することができる。このように、現像剤担持体に均一に塗布された液体現像剤によって、感光体などの潜像担持体上の静電潜像を現像するすることができるので現像精度を向上させ、形成されるトナー像の画質向上を図ることができる。
<第1実施形態>
図1は本発明にかかる画像形成装置の第1実施形態であるプリンタの内部構成を示す図、図2は図1の要部拡大図、図3は同プリンタの電気的構成を示すブロック図である。この画像形成装置は、いわゆるタンデム方式のカラープリンタであり、イエロー(Y)、マゼンタ(M)、シアン(C)、ブラック(K)の4色の感光体11Y、11M、11C、11Kを装置本体2内に並設している。このプリンタは、湿式現像方式を採用して、各感光体11Y、11M、11C、11K上のトナー像を重ね合わせてフルカラー画像を形成したり、ブラック(K)のトナー像のみを用いてモノクロ画像を形成するものである。このプリンタでは、ホストコンピュータなどの外部装置から画像信号を含む印刷命令が主制御部100に与えられると、この主制御部100からの制御信号に応じてエンジン制御部110がエンジン部1の各部を制御して、装置本体2の下部に配設された給紙カセット3から搬送した転写紙、複写紙およびOHP用紙などの記録媒体4に上記画像信号に対応する画像を印字出力する。
上記エンジン部1では、転写ユニット40の一構成要素である中間転写ベルト41の周回方向47に沿って並設された4つの感光体11Y、11M、11C、11Kのそれぞれに対応して、帯電部12、露光部20、現像部30(30Y、30M、30C、30K)および感光体クリーニング部14が設けられている。また、各現像部30Y、30M、30C、30Kは、各色トナーを分散した現像液32を貯留するタンク33(33Y、33M、33C、33K)をそれぞれ備えている。なお、これら帯電部12、露光部20、現像部30および感光体クリーニング部14の構成はいずれのトナー色についても同一である。したがって、ここでは、イエローに関する構成について説明し、その他のトナー色については同一または相当符号を付して説明を省略する。
図2に示すように、感光体11Yは矢印の方向(図中、時計回り方向)に回転自在に設けられており、その直径は約40mmである。そして、この感光体11Yの周りには、その回転方向に沿って、帯電部12、現像ローラ31、除電部(図示省略)および感光体クリーニング部14が配設されている。また、帯電部12と現像位置16との間の表面領域が露光部20からの光ビーム21の照射領域となっている。帯電部12は、帯電バイアス発生部111から帯電バイアスが印加されて、感光体11Yの外周面を所定の表面電位Vd(例えばVd=DC+600V)に均一に帯電するもので、帯電手段としての機能を有する。
この帯電部12によって均一に帯電された感光体11Yの外周面に向けて露光部20から例えばレーザで形成される光ビーム21が照射される。この露光部20は、露光制御部112から与えられる制御指令に応じて光ビーム21により感光体11Yを露光して、感光体11Y上に画像信号に対応するイエロー用静電潜像を形成するもので、露光手段としての機能を有する。例えば、ホストコンピュータなどの外部装置よりインターフェース102を介して主制御部100のCPU101に画像信号を含む印刷命令が与えられると、主制御部100のCPU101からの指令に応じてCPU113が露光制御部112に対し所定のタイミングで画像信号に対応した制御信号を出力する。そして、この露光制御部112からの制御指令に応じて露光部20から光ビーム21が感光体11Yに照射されて、画像信号に対応するイエロー用静電潜像が感光体11Y上に形成される(潜像形成処理)。また、必要に応じてパッチ画像を形成する場合には、予め設定された所定パターン(例えば、べた画像、細線画像、白抜き細線画像、レジストマークなど)の画像信号に対応した制御信号がCPU113から露光制御部112に与えられ、該パターンに対応するイエロー用静電潜像が感光体11Y上に形成される。
こうして形成されたイエロー用静電潜像は現像部30Yの現像ローラ31から供給されるイエロートナーによって顕像化される(現像処理)。そして、感光体11Y上に形成されたイエロートナー像は、感光体11Yの回転に伴って1次転写ローラ53Yと対向する1次転写位置42Yに搬送される。この1次転写ローラ53Yは感光体11Yとで中間転写ベルト41を挟み込むように配置されている。また、この中間転写ベルト41は複数のローラ43a〜43e,44,45に掛け渡されており、図示を省略する駆動モータにより感光体11Yに従動する方向(図1中、反時計回り)47に感光体11Yと等しい周速で周回走行する。そして、転写バイアス発生部115から1次転写バイアス(例えばDC−400V)が印加されると、感光体11Y上のイエロートナー像が1次転写位置42Yで中間転写ベルト41に1次転写される(転写処理)。
一方、1次転写後における感光体11Y上の残留電荷はLEDなどからなる除電部により除去され、残留現像液は感光体クリーニング部14により除去される。この感光体クリーニング部14は、感光体11Yの表面に当接されたゴム製の感光体クリーニングブレード141を有し、中間転写ベルト41にトナー像が1次転写された後に、感光体11Y上に残存する現像液32を感光体クリーニングブレード141により掻き落として除去することができる。なお、この現像部30Yの構成および動作については後で詳述する。
また、他のトナー色についても、イエロー(Y)と同様に構成されており、画像信号に対応したトナー像が形成される。そして、感光体11Y、11M、11C、11K上に形成されたイエロー(Y)、マゼンタ(M)、シアン(C)、ブラック(K)の各色トナー像は、1次転写ローラ53Y、53M、53C、53Kと対向する1次転写位置42Y、42M、42C、42Kでそれぞれ1次転写されることにより、中間転写ベルト41の表面上で重ね合わされてフルカラーのトナー像が形成される。
中間転写ベルト41に形成されたトナー像は中間転写ベルト41の回転に伴ってローラ45、48で挟まれた2次転写位置49に搬送される。一方、給紙カセット3(図1)に収容されている記録媒体4は、1次転写トナー像の搬送に同期して後述する搬送ユニット70により2次転写位置49に搬送される。そして、ローラ48は中間転写ベルト41に従動する方向(図1中、時計回り)に中間転写ベルト41と等しい周速で回転しており、転写バイアス発生部115から2次転写バイアスが印加されると、中間転写ベルト41上のトナー像が記録媒体4に2次転写される。このローラ48としては、例えば、ゴム硬度がJIS−Aで約50度のウレタンゴムで構成されており、その直径が約25mmのものを用いることができる。なお、この実施形態ではローラ転写を採用しているため、定電圧制御により転写条件を設定したり、定電流制御により転写条件を設定することができる。また、ローラ転写の代わりに、コロナ放電により転写を行うようにしてもよいが、この場合にはコロナ放電の出力を制御することで転写条件を設定することができる。2次転写後における中間転写ベルト41上の残留現像液はクリーニングブレード51により除去される。
上記のようにしてトナー像が2次転写された記録媒体4は、所定の搬送経路5(図1中、一点鎖線)に沿って搬送され、定着ユニット60によってトナー像が記録媒体4に定着され、装置本体2の上部に設けられた排出トレイに排出される。この定着ユニット60は加熱ヒータ61hを内蔵する加熱ローラ61と、加熱ローラ61に接触する加圧ローラ62とを備えている。そして、ヒータ制御部116により加熱ヒータ61hの作動を制御することで定着ユニット60での定着温度が任意の温度に調整可能となっている。
また、この実施形態にかかる画像形成装置では、記録媒体4を所定の搬送経路5に沿って搬送するための搬送ユニット70が設けられている。この搬送ユニット70では、図1に示すように、給紙カセット3に対応して給紙ローラ71が設けられており、この給紙ローラ71により給紙カセット3に収容されている記録媒体4を1枚ずつ取出し、フィードローラ72に搬送する。そして、このフィードローラ72が記録媒体4をゲートローラ73に搬送し、このゲートローラ位置で一時的に待機させる。そして、上記のように2次転写動作に対応したタイミングでゲートローラ73が駆動して記録媒体4を2次転写位置49に送り込む。また、排出トレイ側では、排出前ローラ74、排出ローラ75および反転コロ76が設けられており、2次転写された記録媒体4は定着ユニット60、排出前ローラ74および排出ローラ75を経由して排出トレイ側に搬送される。
ここで、両面印刷するためには記録媒体4を反転させて再度ゲートローラ73に搬送する必要があるため、排出ローラ75は正逆回転可能となっている。すなわち、記録媒体4をそのまま排出トレイに排出する際には、正回転し続けて記録媒体4を排出トレイに完全に搬送する。一方、反転再給送する際には、記録媒体4の後端部が排出前ローラ74と排出ローラ75との間の所定位置に達すると、排出ローラ75が逆回転して記録媒体4を反転コロ76に送り込む。これによって記録媒体4は反転経路5aに沿って再給送中間ローラ77に搬送される。そして、再給送中間ローラ77および再給送ゲート前ローラ78がゲートローラ73に記録媒体4を搬送し、このゲートローラ位置で一時的に待機させる。こうして、記録媒体4の反転再給送が行われる。このとき、2次転写位置49において中間転写ベルト41と当接し画像を転写される記録媒体4の面は、先に画像が転写された面とは反対の面である。このようにして、記録媒体4の両面に画像を形成することができる。また、該反対の面に2次転写が実行される際、先に画像が転写された面がローラ48に接触するが、この際、完全に記録媒体4に定着されていないトナーがローラ48に付着することがある。このようにしてローラ48に付着したトナーは、クリーニングブレード52により除去される。
なお、図3において、主制御部100は、インターフェース102を介して外部装置から与えられた画像信号を記憶するための画像メモリ103を備えており、CPU101は、外部装置から画像信号を含む印刷命令をインターフェース102を介して受信すると、エンジン部1の動作指示に適した形式のジョブデータに変換し、エンジン制御部110に送出する。
また、エンジン制御部110のメモリ117は、予め設定された固定データを含むCPU113の制御プログラムを記憶するROMや、エンジン部1の制御データやCPU113による演算結果などを一時的に記憶するRAMなどからなる。CPU113はCPU101を介して外部装置から送られた画像信号に関するデータをメモリ117に格納する。
続いて、現像部30Yの構成および動作について図2、図4および図5を参照しつつ詳述する。図4は表面に溝が形成されたアニロクスローラの斜視概念図、図5は塗布ローラおよび規制ブレードの拡大模式図である。なお、現像部30M,30C,30Kの構成は現像部30Yの構成と同様であり、同一構成には同一符号または相当符号を付して説明を省略する。現像部30Y,30M,30C,30Kは本発明の「現像装置」として機能している。
この現像部30Yは、現像ローラ31(本発明の「現像剤担持体」に相当)に加えて、イエロートナーを分散した現像液32を貯留するタンク33Yと、該タンク33Yに貯留された現像液32を撹拌する撹拌ローラ37と、該現像液32を汲み出して現像ローラ31に塗布する塗布ローラ34と、該塗布ローラ34上の現像液層の厚さを均一に規制する規制ブレード35と、感光体11Yへのトナー供給後に現像ローラ31上に残留した現像液を除去する現像ローラクリーニング部36とを備えている。現像ローラ31は感光体11Yに従動する方向D1(図2中、反時計回り)に感光体11Yとほぼ等しい周速で回転する。また、塗布ローラ34は現像ローラ31に従動する方向D2(図2中、時計回り)に現像ローラ31とほぼ等しい周速で回転する。
現像液32(本発明の「液体現像剤」に相当)は、本実施形態では、平均粒径0.1〜5μm程度の着色顔料、この着色顔料を接着するエポキシ樹脂などの接着剤、トナーに所定の電荷を与える荷電制御剤、着色顔料を均一に分散させる分散剤等からなるトナーが、液体キャリア中に分散されてなる。本実施形態では、液体キャリアとして、例えばポリジメチルシロキサンオイルなどのシリコーンオイルを用いており、トナー濃度を5〜40重量%として、湿式現像方式で多く用いられる低濃度現像液(トナー濃度が1〜2重量%)に比べて高濃度にしている。なお、液体キャリアの種類はシリコーンオイルに限定されるものではなく、例えば、エクソン化学製のアイソパーL(商品名)やパラフィンオイルを用いることができる。また、現像液32の粘度は、使用する液体キャリアやトナーを構成する各材料、トナー濃度などによって決まるが、本実施形態では、例えば粘度を100〜10000mPa・sとしている。
感光体11Yと現像ローラ31との間隔(現像ギャップ=現像液層の厚さ)は、本実施形態では例えば5〜40μmに設定し、現像ニップ距離(現像液層が感光体11Yおよび現像ローラ31の双方に接触している周方向の距離)は、本実施形態では例えば5mmに設定している。上述した低濃度現像液の場合にはトナー量を稼ぐべく100〜200μmの現像ギャップを必要とするのに比べて、高濃度現像液を用いる本実施形態では現像ギャップを短縮することができる。従って、現像液中を電気泳動によって移動するトナーの移動距離が短縮するとともに、同一の現像バイアスを印加してもより高い電界が発生するので、現像効率を向上することができ、現像を高速に行えることとなる。
撹拌ローラ37は、タンク33Yに収容されている現像液32を汲み上げて塗布ローラ34へ搬送する。この撹拌ローラ37は、その下部がタンク33Yに貯留された現像液32に浸されており、また、塗布ローラ34から、約1mmの幅を持って離間している。さらに、撹拌ローラ37は、その中心軸を中心として回転可能であり、該中心軸は、塗布ローラ34の回転中心軸よりも下方にある。また、撹拌ローラ37は、塗布ローラ34の回転方向(図2中、時計回り)と同じ方向に回転する。なお、撹拌ローラ37は、タンク33Yに収容された現像液32を汲み上げて塗布ローラ34へ搬送する機能を有するとともに、現像液32を適正な状態に維持するためにを撹拌する機能をも有している。このような撹拌ローラとしては、例えば、鉄等金属性のローラであり、その直径が約20mmのものを用いることができる。
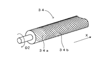
塗布ローラ34は、タンク33Yから撹拌ローラ37により搬送された現像液32を塗布位置17において現像ローラ31へ供給する。この塗布ローラ34は、鉄等金属性のローラの表面に図4に示すように溝34a(本発明の「凹部」に相当)が均一かつ螺旋状に形成されニッケルメッキが施された、いわゆるアニロクスローラを呼称されるものであり、その直径は約25mmである。本実施形態では、図4に示すように、塗布ローラ34の回転方向D2に対して斜めに複数の溝34aが形成されている。
この塗布ローラ34は時計回りに回転しながら現像液32に接触することによって、溝34aに現像液32を担持して、該担持した現像液32を現像ローラ31へ搬送する。したがって、塗布ローラ34は溝34aが形成されているX方向の幅で現像ローラ31に現像液32を塗布することができる。なお、溝ピッチ(スラスト方向(X方向)において、溝34aを形成する山と山の周期)は、必要な現像液32の膜厚に応じておよそ55〜250μmとするのが好ましい。本実施形態では、溝ピッチが約170μm、山の幅が約45μm、溝34aの幅30μm、溝34aの深さが約50μmとなるように構成されている。また、塗布ローラ34の表面の、溝34a間の山34bが本発明における「凸部」に相当している。また、本実施形態では、山34b部の表面粗さRaをR1a≒0.03μm、溝34a部の表面粗さRaをR2a≒0.15μmとなるように構成している。
また、塗布ローラ34は、該塗布ローラ34上の現像液32を現像ローラ31に適切に塗布するために、その表面が、該現像ローラ31の後述する弾性体の層に圧接している。また、塗布ローラ34は、その中心軸を中心として回転可能であり、当該中心軸は、現像ローラ31の回転中心軸よりも下方にある。また、塗布ローラ34は、現像ローラ31の回転方向(図2中、反時計回り)と逆の方向(図2中、時計回り)に回転する。
規制ブレード35(本発明の「規制部材」に相当)は、塗布ローラ34の回転方向D2における塗布位置17の上流側において、その腹部で塗布ローラ34の表面に接触して、塗布ローラ34上の現像液32の量を規制する。すなわち、規制ブレード35は、塗布ローラ34表面の山34b部分の余剰な現像液32を掻き取って、現像ローラ31に供給する塗布ローラ34の現像液32の量を計量する役割を果たしている。この規制ブレード35は、弾性体としてのウレタンゴムからなり、厚さ約1.6mmのブレード状のウレタンゴムが鉄等金属製の規制ブレード支持部材351によって支持されている。なお、規制ブレード35のゴム硬度は、JIS−Aで約77度であり、規制ブレード35の、塗布ローラ34表面への当接部の硬度(約77度)は、後述する現像ローラ31の弾性体の層の、塗布ローラ34表面への圧接部、の硬度(約85度)よりも低くなっている。また、本実施形態において、規制ブレード35は、その先端が塗布ローラ34の回転方向の下流側に向くように配置されており、いわゆるトレール規制を行っている。図5に示すように、規制ブレード35と塗布ローラ34との接触位置における、塗布ローラ34の外周面の接線と規制ブレード35の腹部とのなす角を接触角としたとき、本実施形態では、該接触角が15°となるように規制ブレード35を支持部材351によって支持している。また、本実施形態では、規制ブレード35の塗布ローラ34に接触する部分の表面粗さRaがR3a≒0.06μmとなるように構成されている。なお、規制ブレード35と塗布ローラ34の接触部の状態等については後で詳細に述べる。
現像ローラ31は、感光体11Yに担持された静電潜像を現像液32により現像するために、現像液32を担持して感光体11Yと対向する現像位置16に搬送する。この現像ローラ31は、鉄等金属製の内芯の外周部に、導電性を有する弾性部の一例としての弾性体の層を備えたものであり、その直径は約20mmである。また、弾性体の層は、二層構造になっており、その内層として、ゴム硬度がJIS−A約30度で、厚み約5mmのウレタンゴムが、その表層(外層)として、ゴム硬度がJIS−A約85度で、厚み約30μmのウレタンゴムが備えられている。そして、現像ローラ31は、その表層が圧接部となって、弾性変形された状態で塗布ローラ34及び感光体11Yのそれぞれに圧接して
いる。なお、現像ローラ31の表面の表面粗さRaはR4a≒0.4μmとなるように構成されている。
また、現像ローラ31は、その中心軸を中心として回転可能であり、該中心軸は、感光体11Yの回転中心軸よりも下方にあって、感光体11Yの回転方向と逆の方向D1(図2中、反時計回り)に回転する。なお、感光体11Y上に形成された静電潜像を現像する際には、現像ローラ31と感光体11Yとの間に電界が形成される。
現像ローラクリーニング部36は、現像ローラ31の回転方向D1における現像位置16の下流側において、現像ローラ31のスラスト方向に沿って、該現像ローラ31の表面に当接されたゴム製の現像ローラクリーニングブレード361を有する。そして、前記現像位置16で現像が行われた後に、現像ローラ31上に残存する現像液32を現像ローラクリーニングブレード361により掻き落として除去するための装置である。
なお、本実施形態では、塗布ローラ34から現像ローラ31へ良好に現像液32が移動するように、塗布ローラ34の回転軸と現像ローラ31の回転軸との軸間距離が、塗布ローラ34の半径と現像ローラ31の半径との和よりも小さくなるように構成している。上記したように、塗布ローラ34の直径を約25mm、現像ローラ31の直径を約20mmとした場合、塗布ローラ34の回転軸と現像ローラ31の回転軸との軸距離を、例えば、約22.3mmとすることができる。
このように構成された現像部30Yにおいて、撹拌ローラ37が、その中心軸回りに回転することによって、タンク33Yに収容されている現像液32を汲み上げて塗布ローラ34へ搬送する。塗布ローラ34に搬送された現像液32は、塗布ローラ34の回転によって、規制ブレード35の当接位置に至る。そして、該当接位置を通過する際に、現像液32の余剰分が規制ブレード35によって掻き取られ、現像ローラ31に供給される現像液32の量が計量される。すなわち、塗布ローラ34には、前述したとおり、溝34aが設けられているから、塗布ローラ34に当接する規制ブレード35は、溝34aに担持された現像液32を残して、塗布ローラ34から現像液32を掻き取ることとなる。また、現像ローラ31に供給される現像液32の量が適正な量になるように溝34aの寸法が決められているので、規制ブレード35が塗布ローラ34上の現像液32を掻き取った際には、溝34aによって適正な量に計量された現像液32が溝34aに残存することとなる。
このようにして、タンク33Yに貯留された現像液32が塗布ローラ34により汲み出され、規制ブレード35により塗布ローラ34上の現像液32の量が均一に規制され、この均一な現像液32が塗布位置17において現像ローラ31の表面に塗布され、現像ローラ31の回転に伴って感光体11Yに対向する現像位置16に搬送される。現像液32中のトナーは、荷電制御剤などの作用によって例えば正に帯電している。そして、現像位置16において現像ローラ31に担持されている現像液32が、現像ローラ31から供給されて感光体11Yに付着し、現像バイアス発生部114から現像ローラ31に印加される現像バイアスVb(例えばVb=DC+400V)によってイエロートナーが現像ローラ31から感光体11Yに移動して、イエロー用静電潜像が顕像化される。また、感光体11Yに付着せずに現像ローラ31上に残った現像液は、現像ローラクリーニングブレード361により掻き落とされる。
このようにして、感光体11Y上に形成されたイエロートナー像は、上述したように、1次転写位置42Yにおいて中間転写ベルト41に1次転写され、1次転写が終了後に感光体11Yに残留している現像液32は感光体クリーニング部14によって除去される。
続いて、上記「発明が解決しようとする課題」の項で説明した課題について、図6ないし図8を参照しつつ詳述する。図6は塗布ローラおよび規制ブレードの部分拡大図、図7は液体現像剤が規制される様子を表す模式図、図8は塗布ローラから現像ローラへ液体現像剤が塗布される様子を表す模式図である。上記したように、本発明者らは、塗布ローラ34と規制ブレード35との接触部において、規制ブレード35が微振動してしまうことが、現像ローラ31に塗布される現像液32の塗布パターンに乱れを生じさせる一因であることを見いだした。このような規制ブレード35の微振動は、塗布ローラ34表面に形成されているの溝34aと山34b、塗布ローラ34表面の山34b部の表面粗さ、および規制ブレード35の塗布ローラ34との接触部分である腹部35aの表面粗さ等に起因して発生すると考えられる(図6参照)。
続いて、上記したような微振動が発生している場合に、塗布ローラ34上の現像液32が規制ブレード35によって規制される様子について図7を参照しつつ詳述する。図7(a)は塗布ローラ34の表面に規制ブレード35の腹部35aが接触している様子を示している。塗布ローラ34の回転動作にともない、塗布ローラ34の表面が矢印D2の方向へ進んでいくことによって、塗布ローラ34上の余分な現像液32が規制ブレード35の腹部35aによって掻き取られることとなる。
図7(b)は規制ブレード35による塗布ローラ34上の現像液32の規制動作(掻き取り動作)中に、規制ブレード35に微振動が生じた際の様子を示している。この微振動により、規制ブレード35は矢印UPの方向へ微小時間移動した状態となり、該微小時間の間、規制ブレード35の腹部35aが塗布ローラ34の表面から離間した状態となる。この際、図7(b)に示すように、溝34a1と溝34a2との間の山34bに担持されている現像液32を、該腹部35aは掻き取ることができない状態となる。
図7(c)は図7(b)の状態から、規制ブレード35が矢印DWの方向へ移動して、規制ブレード35の腹部35aが再び塗布ローラ34の表面に接触した様子を示している。上記したように、規制ブレード35に発生した微振動によって、規制ブレード35の腹部35aが塗布ローラ34の表面から離間した状態となってしまった際、該腹部35aによって塗布ローラ34上の現像液32の余剰分を掻き取ることができなくなる。このように、塗布ローラ34表面の山34bの現像液32を規制ブレード35で完全に規制する(掻き取る)ことができないため、該山34bには現像液32aが担持されたままとなってしまう。
続いて、上記したように、塗布ローラ34上の現像液32の余剰分を完全に規制することができなかった状態で、該塗布ローラ34上の現像液32が現像ローラ31に塗布される様子について図8を参照しつつ詳述する。図8(a)は、塗布ローラ34の溝34a(34a1,34a2)に現像液32が、山34bに余剰分の現像液32aが担持されている様子を示す。図8(a)に示すように、塗布ローラ34は現像液32を溝34aに、余剰分の現像液32aを山34bに担持して、該現像液32を塗布位置17へ搬送する。
図8(b)は、塗布位置17において、現像ローラ31と塗布ローラ34とが圧接している様子を示す。現像ローラ31は、塗布位置17において、塗布ローラ34と圧接することによって、表面のゴム層が弾性変形して溝34aに食い込んで、該溝34aに担持されている現像液32に接触する。
その後、塗布ローラ34および現像ローラの回転移動にともない、塗布ローラ34の表面と現像ローラ31とが圧接した状態から、離間した状態となる(図5(c))。このとき、図8(c)に示すように、溝34a(34a1,34a2)に担持されていた現像液32と一緒に、規制ブレード35によって規制することができなかった山34bに担持されていた現像液32aが現像ローラ31に移動することによって、現像ローラ31に塗布されてしまう。この結果、塗布ローラ34表面の溝34a部に担持された現像液32を現像ローラ31に塗布する際、山34bに担持されていた現像液32aがいわゆる「リブ」の原因となり、現像ローラ31に塗布された現像液32の塗布パターンに乱れが生じてしまう。
一方、本発明にかかる第1実施形態においては、上記したように、塗布ローラ34表面の山34b部の表面粗さをR1a、溝34a部の表面粗さをR2a、規制ブレード35の腹部35aの表面粗さをR3aとしたとき、
第1条件:R1a<R3a<R2a
を満足するように構成されている。このように構成することで、塗布ローラ34が規制ブレード35との接触部を通過した後、上記したような余剰な現像液32aが塗布ローラ34表面の山34b部に残留することを防止することができる。この本発明の基本原理について図9を参照しつつ詳述する。
図9は本発明の基本原理を示す模式図である。図9(a)は、上板UBと下板SBとで現像液32を挟んだ状態を示している。上板UBの現像液32と接触する側の面UBaの表面粗さRaをRub、下板SBの現像液32と接触する側の面SBaの表面粗さRaをRsbとしたとき、
Rub<Rsb
を満足するように構成されている。
続いて、図9(b)に示すように、上板UBと下板SBとを離間する方向へ移動させた場合、表面粗さRaの大きい下板SB側により多くの現像液32が付着する。すなわち、上板UBの面UBaの表面粗さRaと、下板SBの面SBaの表面粗さRaとの関係が上記関係を満足するように構成されているため、上板UBと下板SBを離間させる方向へ移動させた場合、上板UBには厚さHubの現像液32が付着し、下板SBには厚さHsb(>Hub)の現像液32が付着するように、上板UBおよび下板SBに挟まれた現像液32は分離する。
したがって、本実施形態では、上記第1条件を満足しているため、規制ブレード35によって塗布ローラ34上の現像液32を規制する際、図10を参照しつつ詳述するように、余剰な現像液32aが塗布ローラ34表面の山34bに残留することを防止することができる。図10は液体現像剤が規制される様子を表す模式図である。
図10(a)は塗布ローラ34の表面に規制ブレード35の腹部35aが接触している様子を示している。塗布ローラ34の回転動作にともない、塗布ローラ34の表面が矢印D2の方向へ進んでいくことによって、塗布ローラ34上の余分な現像液32が規制ブレード35の腹部35aによって掻き取られることとなる。
図10(b)は規制ブレード35による塗布ローラ34上の現像液32の規制動作(掻き取り動作)中に、規制ブレード35に微振動が生じた際の様子を示している。この微振動により、規制ブレード35は矢印UPの方向へ微小時間移動した状態となり、該微小時間の間、規制ブレード35の腹部35aが塗布ローラ34の表面から離間した状態となる。この際、山34bの表面粗さR1aは腹部35aの表面粗さR3aよりも小さくなるように構成されているため、図9を参照しつつ詳述した本発明の基本原理により、溝34a1と溝34a2との間の山34bに担持されている現像液32の大部分は、規制ブレード35の腹部35a側に移動する(図10(b)参照)。一方、溝34aの表面粗さR2aは腹部35aの表面粗さR3aよりも大きくなるように構成されているため、規制ブレード35の腹部35aが塗布ローラ34の表面から離間したとしても、溝34aに担持されている現像液32の大部分は該腹部35a側に移動することはない。
図10(c)は図10(b)の状態から、規制ブレード35が矢印DWの方向へ移動して、規制ブレード35の腹部35aが再び塗布ローラ34の表面に接触した様子を示している。上記したように、規制ブレード35に発生した微振動によって、規制ブレード35の腹部35aが塗布ローラ34の表面から離間した状態となってしまった際、該腹部35aと対向する山34bが担持する現像液32は、腹部35a側へ大部分が移動する。この結果、該腹部35aによって塗布ローラ34上の現像液32の余剰分を確実に掻き取ることができる。このように、塗布ローラ34表面の山34b部の現像液32を規制ブレード35で完全に規制する(掻き取る)ことができるため、塗布ローラ34は溝34a部にのみ現像液32aを担持した状態となる。
以上のように、この実施形態では、塗布ローラ34表面の山34bの表面粗さをR1a、溝34aの表面粗さをR2a、規制ブレード35の腹部35aの表面粗さをR3aとしたとき、
第1条件:R1a<R3a<R2a
を満足するように構成されている。したがって、R1a<R3aを満足しているため、上記した微振動が規制ブレード35に生じたとしても、塗布ローラ34表面の山34bに担持された現像液32は、表面粗さが大きい規制ブレード35の腹部35a側へ移動するため、該規制ブレード35によって確実に掻き取られる。また、R3a<R2aを満足しているため、塗布ローラ34表面の溝34aに担持された現像液32は、塗布ローラ34と規制ブレード35の腹部35aとが接触する部分を通過する際に、表面粗さの小さい規制ブレード35の腹部35a側に移動せず、表面粗さの大きい溝34a部側に確実に担持されたままとなる。
また、規制ブレード35の微振動の発生に特に影響を与えていると考えられる塗布ローラ34表面の山34b部の表面粗さR1aが最小となるように構成されているため、規制ブレード35に微振動が生じるのが抑制される。このように、塗布ローラ34上の現像液32の余剰分の掻き取りを阻害する規制ブレード35の微振動を抑制することができるので、より確実に塗布ローラ34が担持する現像液32の量を規制することができる。この結果、塗布ローラ34が担持する現像液32の量は、塗布位置17において現像ローラ31に塗布される前に規制ブレード35によって確実に規制され、塗布ローラ34はその表面の溝34a部のみで現像液32を担持することとなる。したがって、塗布位置17において、溝34a部で担持された現像液32のみが現像ローラ31へ塗布されるため、現像ローラ31に塗布される現像液32の塗布パターンのに乱れが生じるのを防止することができる。その結果、塗布パターンに乱れが生じるのを防止された現像ローラ31上の現像液32で感光体上の静電潜像を現像することができるので、良好な画質のトナー像を形成することができる。
また、この実施形態では、規制ブレード35の腹部35a(面)で塗布ローラ34を押圧しているので、該押圧力を塗布ローラ34の広範囲に効率良く伝えることができる。したがって、より効率良く、塗布ローラ34表面の山34b部に担持されている現像液32を規制する(掻き取る)ことができる。その結果、確実に山34b部の現像液32が規制された状態で、塗布ローラ34から現像ローラ31へ現像液32を塗布することができるので、現像ローラ31に塗布される現像液32の塗布パターンに乱れが生じるのをさらに効果的に防止することができる。
また、この実施形態では、アニロクスローラ(塗布ローラ34)の溝34a部で現像液32を担持することによって、一定量に計量した現像液32を現像ローラ31に塗布している。したがって、現像ローラ31に精度よく均一に現像液32を塗布することができる。このように、現像ローラ31に均一に塗布された現像液32によって感光体上の静電潜像を現像することができるので現像精度を向上させ、形成されるトナー像の画質向上を図ることができる。
<第2実施形態>
第2実施形態が第1実施形態と大きく相違する点は、規制ブレードを構成する材質が異なる点である。また、塗布ローラの山部、溝部、規制ブレードの腹部および現像ローラの表面粗さRaの値が変更されている。その他の構成は第1実施形態と同様であり、以下、第1実施形態との相違点を中心に第2実施形態について詳細に述べる。なお、第1実施形態と同一な構成および動作については、その構成および動作の説明を省略する。
この第2実施形態における塗布ローラおよび規制ブレードは以下のように構成されている。
塗布ローラの山部の表面粗さRa:R1b≒0.01μm
塗布ローラの溝部の表面粗さRa:R2b≒0.1μm
規制ブレードの材質および腹部の表面粗さRa:厚さ約0.5mmのリン青銅;R3b≒0.05μm
規制ブレードと塗布ローラの接触角:約10°
規制方式:トレール規制
現像ローラの表面粗さRa:R4b≒0.4μm
その他の構成および動作は上記第1実施形態と同様である。
この第2実施形態では、上記第1実施形態と同様に、
第1条件:R1b<R3b<R2b
を満足しているため、上記第1実施形態と同様の作用効果を奏することができる。
<第3実施形態>
第3実施形態が上記第1および第2実施形態と大きく相違する点は、規制ブレードを構成する材質が異なる点である。また、塗布ローラの山部、溝部、規制ブレードの腹部および現像ローラの表面粗さRaの値が変更されている。また、この第3実施形態では、後で詳述する第2条件を満足するように構成されている。その他の構成は第1および第2実施形態と同様であり、以下、第1および第2実施形態との相違点を中心に第3実施形態について詳細に述べる。なお、第1および第2実施形態と同一な構成および動作については、その構成および動作の説明を省略する。
この第3実施形態における塗布ローラおよび規制ブレードは以下のように構成されている。
塗布ローラの山部の表面粗さRa:R1c≒0.05μm
塗布ローラの溝部の表面粗さRa:R2c≒0.2μm
規制ブレードの材質および腹部の表面粗さRa:厚さ約0.2mmのステンレス鋼(SUS304);R3c≒0.1μm
規制ブレードと塗布ローラの接触角:約5°
規制方式:トレール規制
現像ローラの表面粗さRa:R4c≒0.15μm
その他の構成および動作は上記第1および第2実施形態と同様である。
この第3実施形態では、上記第1および第2実施形態と同様に、
第1条件:R1c<R3c<R2c
を満足しているため、上記第1および第2実施形態と同様の作用効果を奏することができる。
ところで、塗布ローラ34が時計回りに回転しながら現像液32に接触して溝34aに現像液32を担持する際、溝34aの内部全体に現像液32が充填されずに、特に溝34aの底部に空気を含んでしまうことがある。この溝34aに担持された現像液32に含まれた空気は、塗布ローラ34の回転にともなって塗布位置17へと搬送される過程で、該溝34aに担持された現像液32の表層部分まで移動したりすることがある。その結果、この溝34aに担持された現像液32は現像ローラ31へ上手く転移されず、現像ローラ31に塗布された現像液32の塗布パターンが乱れる原因の一つとなっていた。
しかしながら、この第3実施形態では、塗布ローラ34の溝34a部の表面粗さR2cと現像ローラ31の表面粗さR4cとの関係が、
第2条件:R2c>R4c
を満足するように構成されている。そのため、図9を参照しつつ詳述した本発明の基本原理により、塗布ローラ34表面の溝34a部に担持された現像液32が現像ローラ31に塗布される際、溝34a部の表面粗さR2cの方が現像ローラ31の表面粗さR4cよりも大きいため、溝34a部に担持された現像液32の全てが現像ローラ31に転移されるわけではなく、その一部は確実に溝34aの底部に残留した状態となる。
この結果、再度、塗布ローラ34が時計回りに回転しながら現像液32に接触して溝34aに現像液32を担持する際、溝34aの底部には現像液32が確実に残留しているため、溝34aの底部に空気を含んでしまうことを防止することができる。すなわち、塗布ローラ34表面の溝34aに現像液32を担持する際、該溝34aの内部に空気が含まれるのを効果的に防止することができる。その結果、溝34aの内部全体に充填された現像液32が現像ローラ31へ塗布されるため、現像ローラ31へ塗布された現像液32の塗布パターンが乱れるのをさらに効果的に防止することができる。
<第4実施形態>
図11は本発明にかかる画像形成装置の第4実施形態の要部拡大図である。この実施形態が上記第1ないし第3実施形態と大きく異なる点は、規制ブレードを支持する支持部材351が調整部材352をさらに有する点である。その他の構成は第1ないし第3実施形態と同様である。以下、第1ないし第3実施形態との相違点を中心に第4実施形態について詳細に述べる。なお、第1ないし第3実施形態と同一な構成および動作については、その構成および動作の説明を省略する。
この第4実施形態では、規制ブレード35を支持する支持部材351が調整部材352をさらに有し、規制ブレード35と塗布ローラ34との接触位置における、塗布ローラ34の外周面の接線と規制ブレード35の腹部とがなす角を接触角としたとき、調整部材352を調整することによって、接触角を0°〜45°の範囲で任意に調整可能となっている。本実施形態では、接触角が約20°となるように、調整部材352が調整されている。
このように、接触角を調整することによって、規制ブレード35に任意な大きさで撓りを生じさせ、規制ブレード35の弾性力の大きさを任意に調整することができる。したがって、規制ブレード35が塗布ローラ34を押圧する力を任意に調整することができる。よって、塗布ローラ34の構成や規制ブレード35の構成(弾性力等)に応じて、規制ブレード35によって塗布ローラ34を押圧する力を任意に調整することができる。したがって、規制ブレード35によって塗布ローラ34を押圧する力を、塗布ローラ34および規制ブレード35の構成に応じて任意に調整して、塗布ローラ34表面に担持されている現像液32をより効率よく規制する(掻き取る)ことができる。その結果、現像ローラ31に塗布された現像液32の塗布パターンに乱れが生じるのをさらに効果的に防止することができる。
<その他>
なお、本発明は上記実施形態に限定されるものではなく、その趣旨を逸脱しない限りにおいて上述したものに対して種々の変更を加えることが可能である。例えば、上記した表面粗さRaの各数値は、これらの値に限定されるものではなく、製造条件や材質等によって設定すればよい。要は、上記第1条件を満足するように構成すればよい。また、装置構成によっては、第1条件と同時に、第2条件を満足するように構成すれば、より効果的に良好な画質のトナー像を形成することができる。
また、上記第1ないし第4実施形態では、露光部20を各感光体11Y,11M,11C,11Kに1対1に対応して設け、各感光体11Y,11M,11C,11Kのそれぞれに、対応した静電潜像を形成するように構成したが、例えば、1つの露光部を配設し、レーザービームの照射方向をミラー等を用いて切り替えることによって、各感光体11Y,11M,11C,11Kのそれぞれに対応した静電潜像を形成する構成としてもよい。その他、LEDアレイを用いた露光手段を使用したり、いわゆる書込帯電を行う潜像書込み手段を用いても構わない。要は、各感光体11Y,11M,11C,11Kのそれぞれに、1対1に対応した静電潜像を形成できる構成であれば、どのような構成としてもよい。
また、上記第1ないし第4実施形態では、規制ブレード35はトレール規制を行っているが、規制ブレードの35の先端が塗布ローラ34の回転方向の上流側に向くように配置して、いわゆるカウンタ規制を行っても構わない。また、本発明における規制部材を規制ローラによって構成することもできる。要は、塗布ローラに接触することによって塗布ローラ上の現像液の量を規制する規制部材に本発明を適用することができる。
また、上記第4実施形態における構成を、第1ないし第3実施形態で採用しても構わない。この場合、規制ブレードを構成する各種材料の弾性係数等に応じて、規制ブレードと塗布ローラとの接触角を任意に変更することができるので、より効果的に規制ブレードによって塗布ローラ34上の液体現像剤の量を規制することができる。
また、規制ブレードをウレタンゴム等のゴム部材で構成する場合、該ゴムブレードは型による成型によって製造されるため、その表面が平滑化されており、その表面粗さRaの大きさが第1条件を満足しないことがある。この場合、装置購入後の最初の電源投入時や、該規制ブレードの交換時等に初期駆動動作として、「ならし運転動作」を実行するのが有効である。この「ならし運転動作」によって、規制ブレードの塗布ローラ34との接触部が、塗布ローラ34との接触摩擦力によって粗くなる。そのため、実使用時において、規制ブレードの腹部の表面粗さRaは第1条件を満足する状態となり、上記実施形態と同様の作用効果を奏することができる。
また、上記実施形態では、本発明をタンデム方式のカラープリンタに具現化しているが、いわゆる、モノクロプリンタに本発明にかかる構成を適用しても構わない。
また、上記実施形態では、ホストコンピュータなどの外部装置より与えられた画像を転写紙に印刷するプリンタを用いて説明しているが、本発明はこれに限られず、複写機やファクシミリ装置などを含む一般の電子写真方式の画像形成装置に適用することができる。要は、液体キャリアにトナーを分散した液体現像剤を、一旦、塗布ローラで担持したあと、該担持した液体現像剤を規制部材によって規制し、該規制された液体現像剤を現像剤担持体に塗布し、現像剤担持体に塗布された液体現像剤によって、潜像担持体上の静電潜像を現像する画像形成装置全般に本発明を適用することができる。
本発明の第1実施形態であるプリンタの内部構成を示す図。 図1の要部拡大図。 同プリンタの電気的構成を示すブロック図。 アニロクスローラを示す斜視概念図。 塗布ローラおよび規制ブレードの拡大模式図。 塗布ローラおよび規制ブレードの部分拡大図。 液体現像剤が規制される様子を表す模式図。 塗布ローラから現像ローラへ液体現像剤が塗布される様子を表す模式図。 本発明の基本原理を示す模式図。 液体現像剤が規制される様子を表す模式図。 第4実施形態の要部拡大図。
符号の説明
11…感光体、 31…現像ローラ(現像剤担持体)、 32…現像液(液体現像剤)、 34…塗布ローラ(アニロクスローラ)、 34a,34a1,34a2…溝(凹部)、 34b…山(凸部)、 35…規制ブレード(規制部材)、 35a…腹部、 351,352…支持部材

Claims (7)

  1. 現像剤担持体と、
    表面に凹部および凸部を有し、液体現像剤を前記現像剤担持体に塗布する塗布ローラと、
    前記塗布ローラの凹部に担持された液体現像剤を残して前記塗布ローラの表面から前記液体現像剤を掻き取ることによって前記塗布ローラが担持する前記液体現像剤の量を規制する規制部材と
    を備え、
    前記塗布ローラの前記凸部の表面粗さをR1、前記塗布ローラの前記凹部の表面粗さをR2、前記規制部材の少なくとも前記塗布ローラと接触する部分の表面粗さをR3としたとき、
    第1条件:R1<R3<R2
    を満足することを特徴とする現像装置。
  2. 前記現像剤担持体の前記塗布ローラと接触する部分の表面粗さをR4としたとき、
    第2条件:R2>R4
    を満足する請求項1記載の現像装置。
  3. 前記規制部材は、規制ブレードであり、前記規制ブレードで前記塗布ローラに接触する請求項1または2記載の現像装置。
  4. 前記規制ブレードを支持する支持部材を備え、前記規制ブレードと前記塗布ローラとの接触位置における、前記塗布ローラの外周面の接線と前記規制ブレードとがなす角を接触角としたとき、前記支持部材は前記接触角を0°〜45°の範囲で調整可能な請求項3記載の現像装置。
  5. 前記塗布ローラは、凹凸部が形成されたアニロクスローラであって、前記凹部に前記液体現像剤を担持することによって前記液体現像剤を搬送する請求項1ないし4のいずれかに記載の現像装置。
  6. 感光体と、
    帯電部と、
    露光部と、
    現像剤担持体と、表面に凹凸部を有し液体現像剤を前記現像剤担持体に塗布する塗布ローラと、前記塗布ローラの凹部に担持された液体現像剤を残して前記塗布ローラの表面から前記液体現像剤を掻き取ることによって前記塗布ローラが担持する前記液体現像剤の量を規制する規制部材と、を備え、前記塗布ローラの表面の凸部の表面粗さをR1、前記塗布ローラの表面の凹部の表面粗さをR2、前記規制部材の少なくとも前記塗布ローラと接触する部分の表面粗さをR3としたとき、
    第1条件:R1<R3<R2
    を満足する現像装置と、
    を備えることを特徴とする画像形成装置。
  7. 前記現像剤担持体の前記塗布ローラと接触する部分の表面粗さをR4としたとき、
    第2条件:R2>R4
    を満足する請求項6記載の画像形成装置。
JP2004325961A 2004-11-10 2004-11-10 現像装置および画像形成装置 Expired - Fee Related JP4635573B2 (ja)

Priority Applications (2)

Application Number Priority Date Filing Date Title
JP2004325961A JP4635573B2 (ja) 2004-11-10 2004-11-10 現像装置および画像形成装置
US11/260,889 US7149459B2 (en) 2004-11-10 2005-10-26 Application roller and image forming apparatus

Applications Claiming Priority (1)

Application Number Priority Date Filing Date Title
JP2004325961A JP4635573B2 (ja) 2004-11-10 2004-11-10 現像装置および画像形成装置

Publications (3)

Publication Number Publication Date
JP2006138885A JP2006138885A (ja) 2006-06-01
JP2006138885A5 JP2006138885A5 (ja) 2007-12-27
JP4635573B2 true JP4635573B2 (ja) 2011-02-23

Family

ID=36619783

Family Applications (1)

Application Number Title Priority Date Filing Date
JP2004325961A Expired - Fee Related JP4635573B2 (ja) 2004-11-10 2004-11-10 現像装置および画像形成装置

Country Status (1)

Country Link
JP (1) JP4635573B2 (ja)

Family Cites Families (6)

* Cited by examiner, † Cited by third party
Publication number Priority date Publication date Assignee Title
JPH01119374A (ja) * 1987-10-31 1989-05-11 Sony Corp 塗膜形成方法
JP2000242088A (ja) * 1999-02-17 2000-09-08 Ricoh Co Ltd 画像形成方法
JP2002072692A (ja) * 2000-08-30 2002-03-12 Ricoh Co Ltd 現像剤塗布体、湿式現像装置、湿式現像方法、湿式画像形成装置及び湿式画像形成方法
JP2002091172A (ja) * 2000-09-18 2002-03-27 Ricoh Co Ltd 液体現像剤を用いた画像形成装置
JP2003098833A (ja) * 2001-09-25 2003-04-04 Ricoh Co Ltd 液体現像装置及び画像形成装置
JP2004249186A (ja) * 2003-02-19 2004-09-09 Toray Ind Inc 塗布方法およびコーティングフィルムの製造方法

Also Published As

Publication number Publication date
JP2006138885A (ja) 2006-06-01

Similar Documents

Publication Publication Date Title
JP4801843B2 (ja) 液体現像剤の塗布装置、現像装置、及び、画像形成装置
JP5180270B2 (ja) 現像装置及び画像形成装置
JP4821098B2 (ja) 画像形成装置
US7149459B2 (en) Application roller and image forming apparatus
US8918036B2 (en) Developing device and image forming apparatus using the same
US10394156B2 (en) Image formation apparatus controlling charging voltage and development voltage
JP5178439B2 (ja) 画像形成装置
JP4385732B2 (ja) 画像形成装置および方法
JP4635573B2 (ja) 現像装置および画像形成装置
JP4655594B2 (ja) 画像形成装置
JP5155970B2 (ja) 画像形成装置
JP4701692B2 (ja) 現像装置、画像形成装置
US8326191B2 (en) Developing device and image forming apparatus
JP2006138885A5 (ja)
JP4529584B2 (ja) 画像形成装置
JP2022059718A (ja) 現像装置およびそれを備えた画像形成装置
JP4821920B2 (ja) 画像形成装置
JP4821919B2 (ja) 画像形成装置
JP4581592B2 (ja) 液体現像装置及び画像形成装置
JP4704051B2 (ja) 画像形成装置
JP2013088602A (ja) 現像装置及びこれを用いる画像形成装置
JP2006071882A (ja) 画像形成装置
JP2010032832A (ja) 回転制御方法および画像形成装置
JP2006106471A (ja) 画像形成装置および画像形成方法
JP2006071884A (ja) 画像形成装置

Legal Events

Date Code Title Description
A521 Request for written amendment filed

Free format text: JAPANESE INTERMEDIATE CODE: A523

Effective date: 20071109

A621 Written request for application examination

Free format text: JAPANESE INTERMEDIATE CODE: A621

Effective date: 20071109

A977 Report on retrieval

Free format text: JAPANESE INTERMEDIATE CODE: A971007

Effective date: 20100617

A131 Notification of reasons for refusal

Free format text: JAPANESE INTERMEDIATE CODE: A131

Effective date: 20100803

A521 Request for written amendment filed

Free format text: JAPANESE INTERMEDIATE CODE: A523

Effective date: 20101001

TRDD Decision of grant or rejection written
A01 Written decision to grant a patent or to grant a registration (utility model)

Free format text: JAPANESE INTERMEDIATE CODE: A01

Effective date: 20101026

A01 Written decision to grant a patent or to grant a registration (utility model)

Free format text: JAPANESE INTERMEDIATE CODE: A01

A61 First payment of annual fees (during grant procedure)

Free format text: JAPANESE INTERMEDIATE CODE: A61

Effective date: 20101108

FPAY Renewal fee payment (event date is renewal date of database)

Free format text: PAYMENT UNTIL: 20131203

Year of fee payment: 3

R150 Certificate of patent or registration of utility model

Free format text: JAPANESE INTERMEDIATE CODE: R150

LAPS Cancellation because of no payment of annual fees