JP4626041B2 - チップ型コイル部品 - Google Patents

チップ型コイル部品 Download PDF

Info

Publication number
JP4626041B2
JP4626041B2 JP2000296558A JP2000296558A JP4626041B2 JP 4626041 B2 JP4626041 B2 JP 4626041B2 JP 2000296558 A JP2000296558 A JP 2000296558A JP 2000296558 A JP2000296558 A JP 2000296558A JP 4626041 B2 JP4626041 B2 JP 4626041B2
Authority
JP
Japan
Prior art keywords
substrate
spiral coils
spiral
chip
type coil
Prior art date
Legal status (The legal status is an assumption and is not a legal conclusion. Google has not performed a legal analysis and makes no representation as to the accuracy of the status listed.)
Expired - Lifetime
Application number
JP2000296558A
Other languages
English (en)
Other versions
JP2002110422A (ja
JP2002110422A5 (ja
Inventor
旭 大久保
良介 原田
Current Assignee (The listed assignees may be inaccurate. Google has not performed a legal analysis and makes no representation or warranty as to the accuracy of the list.)
Murata Manufacturing Co Ltd
Original Assignee
Murata Manufacturing Co Ltd
Priority date (The priority date is an assumption and is not a legal conclusion. Google has not performed a legal analysis and makes no representation as to the accuracy of the date listed.)
Filing date
Publication date
Application filed by Murata Manufacturing Co Ltd filed Critical Murata Manufacturing Co Ltd
Priority to JP2000296558A priority Critical patent/JP4626041B2/ja
Publication of JP2002110422A publication Critical patent/JP2002110422A/ja
Publication of JP2002110422A5 publication Critical patent/JP2002110422A5/ja
Application granted granted Critical
Publication of JP4626041B2 publication Critical patent/JP4626041B2/ja
Anticipated expiration legal-status Critical
Expired - Lifetime legal-status Critical Current

Links

Images

Landscapes

  • Parts Printed On Printed Circuit Boards (AREA)
  • Coils Or Transformers For Communication (AREA)

Description

【0001】
【発明の属する技術分野】
本発明は、基板上にスパイラルコイルが形成されたチップ型コイル部品に関し、特に、携帯電話等の高周波数デバイス間のインピーダンスマッチングをとるために用いて好適なチップ型コイル部品に関する。
【0002】
【従来の技術】
一般に、チップ型コイル部品として基板上に渦巻き状のスパイラルコイルを設けたものが知られている。また、近年、高周波信号の処理を行う高周波デバイスでは、図19に示すように外部ノイズの影響低減、伝送損失の低減を目的として2つの高周波デバイス1,2を2本の信号線3,4によって接続し、この信号線3,4を用いて互いに逆位相の信号を伝送させるバランス方式と呼ばれる伝送方式が用いられている。
【0003】
そして、従来技術では、各信号線3,4に単体のチップ型コイル部品5,6、コンデンサ部品7,8等をそれぞれ接続し、2つの高周波デバイス1,2間のインピーダンスマッチングをとっていた。
【0004】
【発明が解決しようとする課題】
しかし、従来技術による2つのチップ型コイル部品5,6を信号線3,4に接続する場合、高周波デバイス1,2等を実装する実装基板上に各チップ型コイル部品5,6を接続するための実装ランドを設ける必要があり、これらのチップ型コイル部品5,6が占める占有面積が大きくなるという問題があった。
【0005】
また、信号線3,4には単体のチップ型コイル部品5,6をそれぞれ接続するため、製造誤差等によってチップ型コイル部品5,6との間でインダクタンス値がばらつく傾向があった。このため、このようなインダクタンス値のばらつきによって信号線3と信号線4とではマッチングが崩れ、各信号線3,4に異なる信号が伝送されることによる伝送特性の劣化や不要なノイズの混入を招くという問題もあった。
【0006】
さらに、2つの高周波デバイス1,2を接続する場合に2つのチップ型コイル部品5,6を設ける必要があるから、多数の高周波デバイスを接続する場合には実装部品が増加し、製造コストが増大するという問題もあった。
【0007】
本発明は上述した課題に鑑みなされたもので、本発明の目的は、インダクタンス値のばらつきを低減できると共に、占有面積を少なくし、製造コストを低減することができるチップ型コイル部品を提供することにある。
【0008】
【課題を解決するための手段】
上述した課題を解決するために請求項1の発明は、基板と、該基板の表面側に設けたスパイラルコイルとからなるチップ型コイル部品において、前記基板には、当該基板を横切って直線状に延びると共に互いに平行に配置された複数本の接続配線と、該各接続配線の両端側にそれぞれ接続された入出力端子と、接地するための複数個の接地端子とを設け、前記スパイラルコイルは前記基板の表面側に位置して同一平面上に複数個設け、該複数個のスパイラルコイルは、その一端側を互いに異なる前記接続配線に接続し、他端側を互いに異なる前記接地端子に接続する構成としたことを特徴としている。
【0009】
このように構成したことにより、複数のスパイラルコイルを基板表面側の同一平面上に一緒に形成することができる。このため、製造工程の相違によるスパイラルコイルのインダクタンス値のばらつきを抑制することができ、基板上に設けた複数のスパイラルコイルのインダクタンス値を略等しい値に設定することができる。
【0010】
また、基板を横切って直線状に延びる接続線路を設け、該接続線路にスパイラルコイルを接続する構成としたから、例えばチップ型コイル部品をインピーダンスマッチング用として高周波デバイス間の信号線に接続するときでも、信号線の途中に入出力端子をそれぞれ接続し、2個の入出力端子間に設けた接続配線を通じて信号を伝送することができる。
【0011】
請求項2の発明は、複数のスパイラルコイルは同一工法によって一緒に形成する構成としたことにある。
【0012】
これにより、基板上には同一工法によって複数のスパイラルコイルを一緒に形成することができ、これら複数のスパイラルコイルのインダクタンス値を略等しい値に設定することができる。
【0013】
請求項3の発明では、複数のスパイラルコイルのうち相互に隣合う2のスパイラルコイルの巻線部分は、互いに接近して配置された角部を有し、該角部を挟んでL字状に屈曲して互いに離れる方向に向けて延びる構成としている。
【0014】
これにより、隣合う2のスパイラルコイル間での磁気結合、静電結合を抑制でき、これらのスパイラルコイル間のクロストークを低減できると共に、磁気結合等に伴うインダクタンスのばらつきを低減することができる。
【0015】
請求項4の発明は、基板の表面側には前記複数のスパイラルコイルを覆って絶縁膜を設け、該絶縁膜を挟んで該絶縁膜の表面側には前記各スパイラルコイルと直列接続した他のスパイラルコイルを設け、該他のスパイラルコイルを介して前記各スパイラルコイルの他端側を前記各接地端子に接続する構成としたことにある。
【0016】
これにより、各スパイラルコイルには他のスパイラルコイルを直列接続し、これらのインダクタンス値を増加させることができる。
【0017】
請求項5の発明は、複数のスパイラルコイルはスパッタリングまたは蒸着によって金属薄膜を形成し、フォトリソグラフィを用いて該金属薄膜の平面形状を成形することによって一緒に形成したことにある。
【0018】
これにより、複数のスパイラルコイルは、スパッタリング、蒸着によってその膜厚を略等しい値に設定でき、フォトリソグラフィによってその平面形状を略等しい形状に設定できる。このため、複数のスパイラルコイルのインダクタンス値を略等しい値に設定することができる。
【0019】
請求項6の発明は、基板と、バランス方式により互いに逆位相の信号を伝送するために該基板に設けられ該基板を横切って直線状に延びると共に互いに平行に配置された2本の接続配線と、前記基板に設けられ該各接続配線の両端側にそれぞれ接続された入出力端子と、接地するために前記基板に設けられた2個の接地端子と、前記基板の表面側に位置して同一平面上に設けられた2個のスパイラルコイルとを備え、前記2個のスパイラルコイルは、前記2本の接続配線を挟んだ両側位置にそれぞれ配置され、その一端側を互いに異なる前記接続配線に接続し、他端側を互いに異なる前記接地端子に接続する構成としている。
【0020】
請求項7の発明は、2個のスパイラルコイルは、2本の接続配線にそれぞれ接続された状態を含めて互いに対称な形状に形成したことにある。
【0021】
【発明の実施の形態】
以下に、本発明によるチップ型コイル部品として基板に2のスパイラルコイルを設けた場合を例に挙げ、添付図面に従って詳細に説明する。なお、以下に示す各参考例および実施の形態では従来技術と同一の構成要素に同一の符号を付し、その説明を省略するものとする。
【0022】
まず、図1ないし図9は第1の参考例によるチップ型コイル部品を示し、図において、10は信号線3,4の途中に接続されたチップ型コイル部品で、該チップ型コイル部品10は、後述の基板11、外部電極12A〜13B、スパイラルコイル14,15、絶縁膜16、引出し用配線17,18、保護膜19によって構成されている。
【0023】
11はチップ型コイル部品10の外形をなす基板で、該基板11は、例えばアルミナ系セラミックス、ガラス等の低誘電率な絶縁材料によって形成され、略長方形の板状に形成されている。
【0024】
12A,13Aは長方形状をなす基板11の一側の長辺に2個設けられた外部電極、12B,13Bは同じく基板11の他側の長辺に2個設けられた他の外部電極をそれぞれ示し、該各外部電極12A〜13Bは基板11の端面(側面)から表面11Aに亘って形成されている。そして、外部電極12A,12Bにはスパイラルコイル14の両端側が接続され、外部電極13A,13Bにはスパイラルコイル15の両端側が接続されている。
【0025】
14,15は基板11の表面11Aに設けられたスパイラルコイルで、該各スパイラルコイル14,15は、微細加工技術としてスパッタリング、蒸着等によって形成された導電性金属材料による金属薄膜をフォトリソグラフィ等によって形成されたマスクを用いてエッチング処理を施すことによってアレイ状に形成されている。
【0026】
そして、スパイラルコイル14,15は、相互に同形、同大の形状をなし、外周側に位置する一端部14A,15Aから内周側に位置する他端部14B,15Bに向かって例えば略四角形の渦巻き形状をなしている。また、スパイラルコイル14,15は、その一端部14A,15Aが外部電極12A,13Aに接続され、その他端部14B,15Bが後述の引出し用配線17,18に接続されている。
【0027】
16,16はスパイラルコイル14,15を部分的に覆う絶縁膜で、該各絶縁膜16は、スパイラルコイル14,15の他端部14B,15Bと外部電極12B,13Bとの間に位置し、これらの間を横切るスパイラルコイル14,15を覆っている。そして、絶縁膜16は、ポリイミド等の低誘電率を有する絶縁性樹脂材料によって略四角形の薄膜状に形成され、その表面側に設けられる引出し用配線17,18とスパイラルコイル14,15との間を電気的に絶縁している。
【0028】
17,18はスパイラルコイル14,15の他端部14B,15Bと外部電極12B,13Bとの間に直線状に延伸して設けられた引出し用配線で、該引出し用配線17,18は、導電性金属材料による金属薄膜からなり、絶縁膜16の表面にスパイラルコイル14等と同様の微細加工を施すことによって形成されている。そして、引出し用配線17,18は、スパイラルコイル14,15の他端部14B,15Bと外部電極12B,13Bとの間を電気的に接続している。
【0029】
19はスパイラルコイル14,15、引出し用配線17,18等を覆って基板11の表面11A全面に形成された保護膜で、該保護膜19は、ポリイミド等の絶縁性樹脂材料によって薄膜状に形成されている。そして、保護膜19は、外部応力からスパイラルコイル14,15等を保護すると共に、スパイラルコイル14,15等の損傷を防ぎ、信頼性を向上させている。また、保護膜19の誘電率は低い値に設定され、各スパイラルコイル14,15内で発生する浮遊容量を抑制している。
【0030】
第1の参考例によるチップ型コイル部品10は上述の如き構成を有するもので、次にその製造方法について図4ないし図9を参照しつつ説明する。
【0031】
まず、図4に示すように基板11の外周側に外部電極12A〜13Bを設ける。次に、図5に示すように基板11の表面11Aには、スパッタリング、真空蒸着等によって導電性金属材料からなる金属薄膜Mを全面に亘って形成する。
【0032】
次に、金属薄膜Mの表面にフォトレジストを塗布すると共に、フォトリソグラフィを用いて外部電極12A〜13B、スパイラルコイル14,15と同形状のマスクを形成する。この状態で、エッチング処理を施すことによって、基板11の表面11Aには、図6に示すように2のスパイラルコイル14,15を同一工法によって一緒に形成する。このとき、スパイラルコイル14,15の一端部14A,15Aは、外部電極12A,13Aに接続される。
【0033】
その後、図7に示すようにスパイラルコイル14,15の他端部14B,15Bと外部電極12B,13Bとの間には、絶縁性樹脂材料からなる絶縁膜16を形成する。このとき、絶縁膜16は、スパイラルコイル14,15の内周側から外周側に向かって帯状に延び、スパイラルコイル14,15を部分的に覆う。
【0034】
この状態で、再びスパッタリング等の微細加工を施すことによって、絶縁膜16の表面側には、図8に示すように引出し用配線17,18を形成する。このとき、引出し用配線17,18の両端は、スパイラルコイル14,15の他端部14B,15Bと外部電極12B,13Bとにそれぞれ接続される。
【0035】
最後に、図9に示すように基板11の表面11Aには、全面に亘ってスパイラルコイル14,15等を覆う保護膜19を形成する。
【0036】
かくして、第1の参考例によるチップ型コイル部品10は上述の製造方法によって形成されるものであり、図1に示すように高周波デバイス1,2間の信号線3,4に外部電極12A,13Aを接続すると共に、外部電極12B,13Bをアースに接続することによって高周波デバイス1,2間のインピーダンスマッチングをとることができる。
【0037】
然るに、第1の参考例では、2のスパイラルコイル14,15を基板11の表面11A側に位置して同一平面上に設けたから、2のスパイラルコイル14,15を基板11上に一緒に形成することができる。このため、製造工程の相違によって2のスパイラルコイル14,15のインダクタンス値がばらつくことがなく、スパイラルコイル14,15のインダクタンス値を略等しい値に設定することができる。これにより、2の信号線3,4を略等しい状態にマッチングさせることができるから、ノイズの混入を防ぎ、信号の伝送特性を向上させることができる。
【0038】
また、第1の参考例では、単一平面をなす基板11の表面11Aに2のスパイラルコイル14,15を形成したから、例えば基板上に多数の層を積層してコイルを形成する積層型のコイル部品に比べて、厚さ方向に対するスパイラルコイル14,15のばらつきを少なくし、スパイラルコイル14,15のインダクタンス値を略等しい値に設定することができる。
【0039】
一方、従来技術のように2つのチップ型コイル部品を配置する場合には、各チップ型コイル部品毎に実装方向、実装位置にずれが生じることがあり、これによるインダクタンス値にばらつきが生じる傾向もあった。これに対し、第1の参考例では、単一のチップ型コイル部品10に2のスパイラルコイル14,15を備える構成としたから、チップ型コイル部品10を取付けることによって2のスパイラルコイル14,15を位置決めすることができ、実装方向、実装位置にずれによるインダクタンス値のばらつきをも防ぐことができる。
【0040】
また、2のスパイラルコイル14,15を単一の基板11に形成したから、高周波デバイス1,2間に単一のチップ型コイル部品10を配置すればよく、従来技術のように2つのチップ型コイル部品を配置する場合に比べてチップ型コイル部品10による占有面積を小さくすることができる。このため、小形化が要求される携帯電話器等であっても容易に適用することができる。
【0041】
さらに、高周波デバイス1,2間に単一のチップ型コイル部品10を取付けるから、実装部品の点数を削減でき、製造コストを低減することができる。
【0042】
また、2のスパイラルコイル14,15を同一工法によって一緒に形成したから、製造工程の相違によるスパイラルコイル14,15の形状の相違をなくすことができる。
【0043】
特に、第1の参考例では、スパイラルコイル14,15をスパッタリング、蒸着、フォトリソグラフィによる微細加工技術を用いて形成したから、スパイラルコイル14,15の膜厚をスパッタリング、蒸着によって略等しい値に設定できると共に、その平面形状(渦巻き形状)もフォトリソグラフィによって略等しい形状に設定できる。このため、スパイラルコイル14,15のインダクタンス値を略等しい値に設定することができる。
【0044】
次に、図10ないし図15は第2の参考例によるチップ型コイル部品を示し、第2の参考例の特徴は、基板の表面側には第1のスパイラルコイルを覆って絶縁膜を設け、該絶縁膜を挟んで絶縁膜の表面側には第1のスパイラルコイルと直列接続した第2のスパイラルコイルを設けたことにある。
【0045】
20は第2の参考例によるチップ型コイル部品で、該チップ型コイル部品20は、後述の基板21、外部電極22A〜23B、第1のスパイラルコイル24,25、絶縁膜26、第2のスパイラルコイル27,28、保護膜29等によって構成されている。
【0046】
21はチップ型コイル部品20の外形をなす基板で、該基板21は、第1の参考例と同様に低誘電率な絶縁材料によって形成され、略長方形の板状に形成されている。
【0047】
22A,23Aは基板21の一側の長辺に2個設けられた外部電極、22B,23Bは基板21の他側の長辺に2個設けられた他の外部電極をそれぞれ示し、外部電極22A,23Aには第1のスパイラルコイル24,25の一端部24A,25Aがそれぞれ接続され、外部電極22B,23Bには第2のスパイラルコイル27,28の他端部27B,28Bがそれぞれ接続されている。
【0048】
24,25は基板21の表面21Aに設けられた第1のスパイラルコイルで、該各スパイラルコイル24,25は、第1の参考例によるスパイラルコイル14,15と同様に微細加工技術を用いて一緒に形成されている。そして、スパイラルコイル24,25は、相互に同形、同大の形状をなし、外周側に位置する一端部24A,25Aから内周側に位置する他端部24B,25Bに向かって例えば略四角形の渦巻き形状をなしている。また、スパイラルコイル24,25は、その一端部24A,25Aが外部電極22A,23Aに接続され、その他端部24B,25Bが後述する第2のスパイラルコイル27,28に接続されている。
【0049】
26はスパイラルコイル24,25を覆って基板21の表面21A全面に設けられた絶縁膜で、該絶縁膜26は、低誘電率を有する絶縁性樹脂材料によって薄膜状に形成されている。また、絶縁膜26には、スパイラルコイル24,25の他端部24B,25Bに対応する位置に貫通孔26B,26Bが設けられると共に、外部電極22B,23Bと対応する位置に貫通孔26C,26Cが設けられている。
【0050】
27,28は基板21との間に絶縁膜26を挟み、絶縁膜26の表面26Aに設けられた第2のスパイラルコイルで、該スパイラルコイル27,28は、微細加工技術を用いて一緒に形成され、相互に同形、同大の形状をなしている。また、第2のスパイラルコイル27,28は、第1のスパイラルコイル24,25と同一の巻線方向をなし、内周側に位置する一端部27A,28Aから外周側に位置する他端部27B,28Bに向かって例えば略四角形の渦巻き形状となっている。さらに、第2のスパイラルコイル27,28は、第1のスパイラルコイル24,25に重ね合わせた位置に設けられている。
【0051】
また、スパイラルコイル27,28は、その一端部27A,28Aが貫通孔26Bを通じて第1のスパイラルコイル24,25の他端部24B,25Bに接続され、その他端部27B,28Bが貫通孔26Cを通じて外部電極22B,23Bに接続されている。これにより、第2のスパイラルコイル27,28は、第1のスパイラルコイル24,25に直列接続され、これらに発生する磁束を増加させ、インダクタンス値を増加させている。
【0052】
29は第2のスパイラルコイル27,28を覆って絶縁膜26の表面26A全面に形成された保護膜で、該保護膜29は、第1の参考例による保護膜19と同様にポリイミド等の絶縁性樹脂材料によって薄膜状に形成されている。
【0053】
第2の参考例によるチップ型コイル部品20は上述の如き構成を有するもので、次にその製造方法について図12ないし図15を参照しつつ説明する。
【0054】
まず、第1の参考例と同様に基板21の外周側に外部電極22A〜23Bを設ける。そして、図12に示すように基板21の表面21Aには、微細加工技術として第1の参考例に係る図5の場合と同様にスパッタリング、真空蒸着等によって金属薄膜(図示せず)を形成した後、該金属薄膜をフォトリソグラフィによって形成したマスクを用いてエッチング処理を施すことによって、第1のスパイラルコイル24,25を形成する。このとき、スパイラルコイル24,25の一端部24A,25Aは外部電極22A,23Aに接続する。
【0055】
次に、図13に示すように基板21にはスパイラルコイル24,25を覆って絶縁膜26を形成する。このとき、絶縁膜26には、スパイラルコイル24,25の他端部24B,25Bに対応した位置にそれぞれ貫通孔26Bを設けると共に、外部電極22B,23Bと対応した位置にそれぞれ貫通孔26Cを設ける。
【0056】
この状態で、図14に示すように絶縁膜26の表面26Aには、微細加工技術として第1の参考例に係る図5の場合と同様にスパッタリング、真空蒸着等によって金属薄膜(図示せず)を形成した後、該金属薄膜をフォトリソグラフィによって形成したマスクを用いてエッチング処理を施すことによって、第2のスパイラルコイル27,28を形成する。このとき、スパイラルコイル27,28は、その一端部27A,28Aが貫通孔26Bを通じて第1のスパイラルコイル24,25の他端部24B,25Bに接続し、その他端部27B,28Bが貫通孔26Cを通じて外部電極22B,23Bに接続する。
【0057】
最後に、絶縁膜26の表面26Aには、図15に示すようにその全面に亘って第2のスパイラルコイル27,28を覆う保護膜29を形成する。
【0058】
かくして、第2の参考例でも第1の参考例と同様の作用効果を得ることができる。しかし、第2の参考例では、基板21の表面21A側には絶縁膜26を挟んで第1のスパイラルコイル24,25と直列接続した第2のスパイラルコイル27,28を設けたから、第1のスパイラルコイル24,25と第2のスパイラルコイル27,28とによって発生する磁束を増加でき、これらによるインダクタンス値を増加させることができる。このため、第1のスパイラルコイル24,25ではインダクタンス値が不足する場合でも、第2のスパイラルコイル27,28を接続し、容易に必要なインダクタンス値を設定することができる。
【0059】
また、第1のスパイラルコイル24,25は微細加工技術を用いて一緒に形成すると共に、第2のスパイラルコイル27,28も微細加工技術を用いて一緒に形成する。このため、第1のスパイラルコイル24,25のインダクタンス値を略等しい値に設定できると共に、第2のスパイラルコイル27,28のインダクタンス値も略等しい値に設定することができる。このため、第1,第2のスパイラルコイル24,27による合成インダクタンス値と第1,第2のスパイラルコイル25,28による合成インダクタンス値とを略等しい値に設定できる。
【0060】
なお、第2の参考例では第1のスパイラルコイル24,25と第2のスパイラルコイル27,28とを2層重ね合わせる構成としたが、3層以上のスパイラルコイルを重ね合わせる構成としてもよい。
【0061】
次に、図16は第3の参考例によるチップ型コイル部品を示し、第3の参考例の特徴は、相互に隣合う2のスパイラルコイルの巻線部分を非平行に配置する構成したことにある。
【0062】
30は第3の参考例によるチップ型コイル部品で、該チップ型コイル部品30は、第1の参考例によるチップ型コイル部品10と同様に基板31に4個の外部電極32A〜33Bを設けた状態で、後述のスパイラルコイル34,35、絶縁膜36、引出し用配線37,38等を形成することによって構成されている。
【0063】
34,35は基板31の表面31Aに設けられたスパイラルコイルで、該各スパイラルコイル34,35は、第1の参考例によるスパイラルコイル14,15と同様に微細加工技術を用いて形成され、相互に同形、同大の形状をなすと共に、外周側に位置する一端部34A,35Aから内周側に位置する他端部34B,35Bに向かって例えば略四角形(菱形)の渦巻き形状をなしている。また、スパイラルコイル34,35の表面側には絶縁膜36を挟んで引出し用配線37,38が設けられている。そして、スパイラルコイル34,35は、その一端部34A,35Aが外部電極32A,33Aに接続され、その他端部34B,35Bが引出し用配線37,38を介して外部電極32B,33Bに接続されている。また、スパイラルコイル34,35等は絶縁性樹脂材料からなる保護膜(図示せず)によって覆われている。
【0064】
一方、四角形状をなすスパイラルコイル34,35は互いにその角部34D,35Dが接近した状態で配置されている。このため、スパイラルコイル34,35のうち最外周側に位置して相互に隣合う巻線部分34C,35Cは、互いに非平行な状態で配置され、角部34D,35Dを挟んでL字状に屈曲して互いに離れる方向に向けて延びている。これにより、巻線部分34C,35Cは、接近した状態で平行に延伸する部分がなく、相互間の距離が広がっている。
【0065】
かくして、第3の参考例でも第1の参考例と同様の作用効果を得ることができる。しかし、第3の参考例では、相互に隣合うスパイラルコイル34,35の巻線部分34C,35Cは、互いに接近して配置された角部34D,35Dを有し、該角部34D,35Dを挟んでL字状に屈曲して互いに離れる方向に向けて延びる構成としたから、相互の辺部分が平行に延伸した場合に比べて、スパイラルコイル34,35間の磁気結合、静電結合を抑制することができ、スパイラルコイル34,35間のクロストークを低減できる。また、スパイラルコイル34,35間の磁気結合等によるインダクタンス値のばらつきを低減できるから、スパイラルコイル34,35のインダクタンス値を略等しい値にすることができる。
【0066】
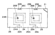
次に、図17および図18は実施の形態によるチップ型コイル部品を示し、本実施の形態の特徴は、基板には各スパイラルコイルに対応して2個の入出力電極と1個の接地電極とを設け、前記各スパイラルコイルは、その一端部を接続配線を用いて前記2個の入出力電極間に接続し、他端部を前記接地電極に接続する構成としたことにある。
【0067】
40は信号線3,4の途中に接続されたチップ型コイル部品で、該チップ型コイル部品40は、後述の基板41、入出力電極42A〜43B、接地電極44,45、接続配線46,47、スパイラルコイル48,49、絶縁膜50、引出し用配線51,52、保護膜(図示せず)等によって構成されている。
【0068】
41はチップ型コイル部品40の外形をなす基板で、該基板41は、第1の参考例と同様に低誘電率な絶縁材料によって形成され、略長方形の板状に形成されている。
【0069】
42A,42B,43A,43Bは2のスパイラルコイル48,49に対応して、2個ずつ合計4個設けられた入出力電極で、該入出力電極42A,43Aは基板41の一側の長辺に2個配置され、他の入出力電極42B,43Bは基板41の他側の長辺に2個配置されている。また、入出力電極42A,42Bには接続配線46の両端側が接続され、入出力電極43A,43Bには接続配線47の両端側が接続されている。これら2本の接続配線46,47は、基板41を図17中の縦方向に横切って直線状に延びると共に、隣合う位置で互いに平行に配置されている。そして、入出力電極42A〜43Bは、信号線3,4に接続され、スパイラルコイル48,49に対して高周波デバイス1,2間の信号を入出力するものである。
【0070】
44,45は2のスパイラルコイル48,49に対応して、1個ずつ合計2個設けられた接地電極で、該接地電極44,45は、基板41の短辺に1個ずつ配置されている。そして、接地電極44,45にはスパイラルコイル48,49の他端側が接続されると共に、実装基板(図示せず)を通じて接地されるものである。
【0071】
46,47は入出力電極42A,43Aと入出力電極42B,43Bとの間を接続する接続配線で、該接続配線46,47は、微細加工技術を用いることによってスパイラルコイル48,49と一緒に基板41の表面41Aに形成される。また、接続配線46,47は、基板41を横切って直線状に延びると共に、互いに平行に配置されている。
【0072】
48,49は基板41の表面41Aに設けられたスパイラルコイルで、該各スパイラルコイル48,49は、基板41のうち2本の接続配線46,47を挟んで図17中の横方向の両側位置にそれぞれ配置され、接続配線46,47と接地電極44,45との間にそれぞれ配置されている。また、スパイラルコイル48,49は、第1の参考例によるスパイラルコイル14,15と同様に微細加工技術を用いて形成され、相互に同形、同大の形状をなすと共に、外周側に位置する一端から内周側に位置する他端に向かって例えば略四角形の渦巻き形状をなしている。そして、スパイラルコイル48,49は、その一端部48A,49Aが接続配線46,47を用いて入出力電極42A,42Bと入出力電極43A,43Bとに接続され、その他端部48B,49Bが後述の引出し用配線51,52に接続されている。このとき、2個のスパイラルコイル48,49は、2本の接続配線46,47にそれぞれ接続された状態を含めて互いに対称な形状に形成されている。
【0073】
50,50はスパイラルコイル48,49を部分的に覆う絶縁膜で、該絶縁膜50は、絶縁性樹脂材料によって略四角形の薄膜状に形成されている。そして、絶縁膜50は、スパイラルコイル48,49の他端部48B,49Bと接地電極44,45との間に位置し、これらの間を横切るスパイラルコイル48,49を覆っている。
【0074】
51,52はスパイラルコイル48,49の他端部48B,49Bと接地電極44,45との間に直線状に延伸して設けられた引出し用配線で、該引出し用配線51,52は、導電性金属材料による金属薄膜からなり、絶縁膜50の表面にスパイラルコイル48,49と同様の微細加工を施すことによって形成されている。また、基板41の表面41Aには全面に亘って保護膜(図示せず)が設けられ、該保護膜によって引出し用配線51,52等は覆われている。
【0075】
かくして、本実施の形態でも第1の参考例と同様の作用効果を得ることができる。しかし、本実施の形態では、スパイラルコイル48,49の一端部48A,49Aを接続配線46,47を用いて入出力電極42A〜43Bに接続し、他端部48B,49Bを接地電極44,45に接続したから、信号線3,4に入出力電極42A〜43Bを接続し、接地電極44,45をアースに接続することによって、容易に高周波デバイス1,2間のマッチングをとることができる。
【0076】
また、入出力電極42A,43Aと入出力電極42B,43Bとは接続配線46,47によって接続する構成としたから、信号線3,4に入出力電極42A〜43Bを接続したときには、接続配線46,47を通じて高周波デバイス1,2間の信号を伝送することができる。このため、高周波デバイス1,2間を接続するワイヤボンディング等を別途設ける必要がなく、高周波デバイス1,2間に容易にチップ型コイル部品40を取付けることができる。
【0077】
なお、前記実施の形態では基板41に2のスパイラルコイル48,49を設けた場合を例に挙げて説明したが、本発明はこれに限らず、基板の表面に3個以上のスパイラルコイルを形成する構成としてもよい。また、前記実施の形態のチップ型コイル部品は、第1の参考例と同様の製造方法を用いて形成してもよい。
【0078】
また、前記実施の形態では、2のスパイラルコイル48,49に対応して2つの絶縁膜50を設けるものとしたが、第2の参考例と同様に単一の絶縁膜を用いる構成としてもよい。この場合、第2の参考例と同様に、基板の表面側には第1のスパイラルコイルを覆って絶縁膜を設け、該絶縁膜を挟んで絶縁膜の表面側には第1のスパイラルコイルと直列接続した第2のスパイラルコイルを設ける構成としてもよく、第2の参考例と同様の製造方法を用いて形成してもよい。さらに、第3の参考例と同様に、相互に隣合う2個のスパイラルコイルの巻線部分を非平行に配置する構成としてもよい。
【0079】
【発明の効果】
以上詳述した如く、請求項1の発明によれば、スパイラルコイルを基板の表面側に位置して同一平面上に複数個設けたから、製造工程の相違によるスパイラルコイルのインダクタンス値のばらつきを抑制することができ、基板上に設けた複数のスパイラルコイルのインダクタンス値を略等しい値に設定することができる。このため、例えばチップ型コイル部品をインピーダンスマッチング用としてバランス方式の2本の信号線に接続するときには、2本の信号線で略等しい状態にマッチングさせることができ、ノイズの混入を防ぎ、信号の伝送特性を向上させることができる。
【0080】
また、単一のチップ型コイル部品に複数のスパイラルコイルを備える構成としたから、チップ型コイル部品を取付けることによって複数のスパイラルコイルを位置決めすることができ、実装方向、実装位置にずれによるインダクタンス値のばらつきをも防ぐことができる。
【0081】
さらに、複数のスパイラルコイルを単一の基板に形成したから、高周波デバイス間に単一のチップ型コイル部品を配置することによって複数の信号線のマッチングをとることができる。このため、従来技術のように別々のチップ型コイル部品を複数個配置する場合に比べてチップ型コイル部品による占有面積を小さくすることができ、小形化が要求される携帯電話器等であっても容易に適用することができる。また、高周波デバイス間に単一のチップ型コイル部品を取付けるから、実装部品の点数を削減でき、製造コストを低減することができる。
【0082】
また、基板には両端側に入出力端子が接続された複数本の接続配線を設けると共に、複数個のスパイラルコイルは、その一端側を互いに異なる接続配線に接続し、他端側を互いに異なる接地端子に接続する構成とした。このため、例えばチップ型コイル部品をインピーダンスマッチング用として高周波デバイス間の信号線に接続するときでも、信号線の途中に入出力端子をそれぞれ接続し、接地端子をアースに接続することによって容易にインピーダンスマッチングをとることができる。また、接続配線を通じて信号を伝送することができるから、信号伝送用のワイヤボンディング等を別途設ける必要がなく、生産性を向上させ、製造コストを低減することができる。
【0083】
請求項2の発明によれば、複数のスパイラルコイルは同一工法によって一緒に形成する構成としたから、製造工法、製造条件によるインダクタンス値のばらつきを防ぎ、これら複数のスパイラルコイルのインダクタンス値を略等しい値に設定することができる。
【0084】
請求項3の発明によれば、複数のスパイラルコイルのうち相互に隣合う2のスパイラルコイル巻線部分は、互いに接近して配置された角部を有し、該角部を挟んでL字状に屈曲して互いに離れる方向に向けて延びる構成としたから、隣合う2のスパイラルコイル間での磁気結合、静電結合を抑制でき、これらのスパイラルコイル間のクロストークを低減できると共に、磁気結合等に伴うインダクタンスのばらつきを低減できる。
【0085】
請求項4の発明によれば、基板の表面側には複数のスパイラルコイルを覆って絶縁膜を設け、該絶縁膜を挟んで該絶縁膜の表面側には前記各スパイラルコイルと直列接続した他のスパイラルコイルを設けたから、各スパイラルコイル等によって発生する磁束を増加させ、これらのインダクタンス値を増加させることができる。
【0086】
請求項5の発明によれば、複数のスパイラルコイルはスパッタリングまたは蒸着によって金属薄膜を形成し、フォトリソグラフィを用いて該金属薄膜の平面形状を成形することによって一緒に形成した。これにより、スパッタリングまたは蒸着によって複数のスパイラルコイルの膜厚を略等しい値に設定でき、フォトリソグラフィによって複数のスパイラルコイルの平面形状を略等しい形状に設定できる。このため、複数のスパイラルコイルのインダクタンス値を略等しい値に設定することができる。
【0087】
請求項6の発明によれば、基板には、バランス方式により互いに逆位相の信号を伝送するために当該基板を横切って直線状に延びると共に互いに平行に配置された2本の接続配線と、互いに異なる接続配線に接続された2個のスパイラルコイルとを設けた。このため、請求項6の発明でも、請求項1の発明と同様の効果を得ることができる。
【0088】
また、請求項7の発明のように、2個のスパイラルコイルは、2本の接続配線にそれぞれ接続された状態を含めて互いに対称な形状に形成してもよい。
【図面の簡単な説明】
【図1】 第1の参考例によるチップ型コイル部品を高周波デバイスに接続した状態を示す電気回路図である。
【図2】 第1の参考例によるチップ型コイル部品を示す斜視図である。
【図3】 チップ型コイル部品を図2中の矢示III−III方向からみた断面図である。
【図4】 基板に外部電極を取付けた状態を示す平面図である。
【図5】 基板に金属薄膜を形成した状態を示す平面図である。
【図6】 基板にスパイラルコイルを形成した状態を示す平面図である。
【図7】 基板にスパイラルコイルの一部を覆って絶縁膜を形成した状態を示す平面図である。
【図8】 絶縁膜を挟んで基板に引出し用配線を形成した状態を示す平面図である。
【図9】 スパイラルコイル等を覆って基板に保護膜を形成した状態を示す平面図である。
【図10】 第2の参考例によるチップ型コイル部品を絶縁膜の位置で分解した状態で示す分解斜視図である。
【図11】 チップ型コイル部品を図3と同様の位置からみた断面図である。
【図12】 基板に第1のスパイラルコイルを形成した状態を示す平面図である。
【図13】 基板全面に第1のスパイラルコイルを覆って絶縁膜を形成した状態を示す平面図である。
【図14】 絶縁膜の表面に第2のスパイラルコイルを形成した状態を示す平面図である。
【図15】 第2のスパイラルコイル等を覆って基板に保護膜を形成した状態を示す平面図である。
【図16】 第3の参考例によるチップ型コイル部品を保護膜を省いた状態で示す平面図である。
【図17】 本発明の実施の形態によるチップ型コイル部品を保護膜を省いた状態で示す平面図である。
【図18】施の形態によるチップ型コイル部品を高周波デバイスに接続した状態を示す電気回路図である。
【図19】 従来技術によるチップ型コイル部品を高周波デバイスに接続した状態を示す電気回路図である。
【符号の説明】
10,20,30,40 チップ型コイル部品
11,21,31,41 基板
14,15,34,35,48,49 スパイラルコイル
24,25 第1のスパイラルコイル
26 絶縁膜
27,28 第2のスパイラルコイル(他のスパイラルコイル)
42A,42B,43A,43B 入出力電極(入出力端子)
44,45 接地電極(接地端子)
46,47 接続配線

Claims (7)

  1. 基板と、該基板の表面側に設けたスパイラルコイルとからなるチップ型コイル部品において
    前記基板には、当該基板を横切って直線状に延びると共に互いに平行に配置された複数本の接続配線と、該各接続配線の両端側にそれぞれ接続された入出力端子と、接地するための複数個の接地端子とを設け、
    前記スパイラルコイルは前記基板の表面側に位置して同一平面上に複数個設け
    該複数個のスパイラルコイルは、その一端側を互いに異なる前記接続配線に接続し、他端側を互いに異なる前記接地端子に接続する構成としたことを特徴とするチップ型コイル部品。
  2. 前記複数のスパイラルコイルは同一工法によって一緒に形成する構成としてなる請求項1に記載のチップ型コイル部品。
  3. 前記複数のスパイラルコイルのうち相互に隣合う2のスパイラルコイルの巻線部分は、互いに接近して配置された角部を有し、該角部を挟んでL字状に屈曲して互いに離れる方向に向けて延びる構成としてなる請求項1または2に記載のチップ型コイル部品。
  4. 前記基板の表面側には前記複数のスパイラルコイルを覆って絶縁膜を設け、該絶縁膜を挟んで該絶縁膜の表面側に前記各スパイラルコイルと直列接続した他のスパイラルコイルを設け、該他のスパイラルコイルを介して前記各スパイラルコイルの他端側を前記各接地端子に接続する構成としてなる請求項1,2または3に記載のチップ型コイル部品。
  5. 前記複数のスパイラルコイルはスパッタリングまたは蒸着によって金属薄膜を形成し、フォトリソグラフィを用いて該金属薄膜の平面形状を成形することによって一緒に形成してなる請求項1,2,3または4に記載のチップ型コイル部品。
  6. 基板と、バランス方式により互いに逆位相の信号を伝送するために該基板に設けられ該基板を横切って直線状に延びると共に互いに平行に配置された2本の接続配線と、前記基板に設けられ該各接続配線の両端側にそれぞれ接続された入出力端子と、接地するために前記基板に設けられた2個の接地端子と、前記基板の表面側に位置して同一平面上に設けられた2個のスパイラルコイルとを備え、
    前記2個のスパイラルコイルは、前記2本の接続配線を挟んだ両側位置にそれぞれ配置され、その一端側を互いに異なる前記接続配線に接続し、他端側を互いに異なる前記接地端子に接続する構成としたチップ型コイル部品。
  7. 前記2個のスパイラルコイルは、前記2本の接続配線にそれぞれ接続された状態を含めて互いに対称な形状に形成してなる請求項6に記載のチップ型コイル部品。
JP2000296558A 2000-09-28 2000-09-28 チップ型コイル部品 Expired - Lifetime JP4626041B2 (ja)

Priority Applications (1)

Application Number Priority Date Filing Date Title
JP2000296558A JP4626041B2 (ja) 2000-09-28 2000-09-28 チップ型コイル部品

Applications Claiming Priority (1)

Application Number Priority Date Filing Date Title
JP2000296558A JP4626041B2 (ja) 2000-09-28 2000-09-28 チップ型コイル部品

Publications (3)

Publication Number Publication Date
JP2002110422A JP2002110422A (ja) 2002-04-12
JP2002110422A5 JP2002110422A5 (ja) 2007-09-27
JP4626041B2 true JP4626041B2 (ja) 2011-02-02

Family

ID=18778817

Family Applications (1)

Application Number Title Priority Date Filing Date
JP2000296558A Expired - Lifetime JP4626041B2 (ja) 2000-09-28 2000-09-28 チップ型コイル部品

Country Status (1)

Country Link
JP (1) JP4626041B2 (ja)

Families Citing this family (7)

* Cited by examiner, † Cited by third party
Publication number Priority date Publication date Assignee Title
JP5083360B2 (ja) * 2010-04-02 2012-11-28 セイコーエプソン株式会社 電子基板、半導体装置および電子機器
WO2015156101A1 (ja) * 2014-04-08 2015-10-15 株式会社村田製作所 高周波モジュール
JP2017168472A (ja) * 2016-03-14 2017-09-21 株式会社村田製作所 多層基板
KR102863114B1 (ko) * 2019-06-12 2025-09-24 엘지이노텍 주식회사 카메라 모듈 및 이를 포함하는 카메라 장치
CN114080563B (zh) 2019-06-04 2024-04-30 Lg伊诺特有限公司 相机模块和包括相机模块的相机装置
JP7327646B2 (ja) * 2020-03-12 2023-08-16 ヤマハ株式会社 変位センサーおよび演奏操作装置
DE112021001824T5 (de) 2020-05-22 2023-01-05 Murata Manufacturing Co., Ltd. Montagestruktur für Induktoren

Family Cites Families (5)

* Cited by examiner, † Cited by third party
Publication number Priority date Publication date Assignee Title
JPH0787330B2 (ja) * 1985-06-20 1995-09-20 松下電器産業株式会社 バランコイル
JPH07135116A (ja) * 1993-11-11 1995-05-23 Matsushita Electric Ind Co Ltd 複合部品及びその製造方法
JPH0817656A (ja) * 1994-06-29 1996-01-19 T I F:Kk 半導体装置の磁気シールド方式および磁気シールド膜形成方法
JPH0917679A (ja) * 1995-06-29 1997-01-17 Mitsubishi Heavy Ind Ltd 積層型コイルの製作方法
JP3351738B2 (ja) * 1998-05-01 2002-12-03 太陽誘電株式会社 積層インダクタ及びその製造方法

Also Published As

Publication number Publication date
JP2002110422A (ja) 2002-04-12

Similar Documents

Publication Publication Date Title
JP4500840B2 (ja) 積層型バラン及び混成集積回路モジュール並びに積層基板
CN111355495B (zh) 高频模块
US6919777B2 (en) Surface acoustic wave filter device
CN107785148B (zh) 电子部件
CN1691220B (zh) 线圈部件
US7579923B2 (en) Laminated balun transformer
JPWO2006134916A1 (ja) 積層フィルタ
JP4291164B2 (ja) 弾性表面波装置
US7439842B2 (en) Laminated balun transformer
US7236064B2 (en) Laminated balun transformer
CN107305807A (zh) 电子部件
JP2018207045A (ja) 電子部品
JP4626041B2 (ja) チップ型コイル部品
JP2019050460A (ja) 積層型電子部品
CN111756350B (zh) 复合型电子部件以及电子电路
JPH0738368A (ja) 180°移相器
JP2010040882A (ja) 電子部品
CN114334351A (zh) 线圈部件
JP2003087074A (ja) 積層型フィルタ
US20060022766A1 (en) High frequency circuit module having non-reciprocal circuit element
CN114334352A (zh) 线圈部件
JP2018170315A (ja) コイル部品
US20240291458A1 (en) Multilayer electronic component
JP4085364B2 (ja) 非可逆回路素子
JPH1051257A (ja) Lcローパスフィルタ

Legal Events

Date Code Title Description
A621 Written request for application examination

Free format text: JAPANESE INTERMEDIATE CODE: A621

Effective date: 20070719

A521 Request for written amendment filed

Free format text: JAPANESE INTERMEDIATE CODE: A523

Effective date: 20070810

A977 Report on retrieval

Free format text: JAPANESE INTERMEDIATE CODE: A971007

Effective date: 20091225

A131 Notification of reasons for refusal

Free format text: JAPANESE INTERMEDIATE CODE: A131

Effective date: 20100112

A521 Request for written amendment filed

Free format text: JAPANESE INTERMEDIATE CODE: A523

Effective date: 20100310

TRDD Decision of grant or rejection written
A01 Written decision to grant a patent or to grant a registration (utility model)

Free format text: JAPANESE INTERMEDIATE CODE: A01

Effective date: 20101012

A01 Written decision to grant a patent or to grant a registration (utility model)

Free format text: JAPANESE INTERMEDIATE CODE: A01

A61 First payment of annual fees (during grant procedure)

Free format text: JAPANESE INTERMEDIATE CODE: A61

Effective date: 20101025

FPAY Renewal fee payment (event date is renewal date of database)

Free format text: PAYMENT UNTIL: 20131119

Year of fee payment: 3

R150 Certificate of patent or registration of utility model

Ref document number: 4626041

Country of ref document: JP

Free format text: JAPANESE INTERMEDIATE CODE: R150

Free format text: JAPANESE INTERMEDIATE CODE: R150