JP4621594B2 - 地下構造物用蓋の施錠構造 - Google Patents

地下構造物用蓋の施錠構造 Download PDF

Info

Publication number
JP4621594B2
JP4621594B2 JP2006001293A JP2006001293A JP4621594B2 JP 4621594 B2 JP4621594 B2 JP 4621594B2 JP 2006001293 A JP2006001293 A JP 2006001293A JP 2006001293 A JP2006001293 A JP 2006001293A JP 4621594 B2 JP4621594 B2 JP 4621594B2
Authority
JP
Japan
Prior art keywords
casing
closing mechanism
lid
opening
hole
Prior art date
Legal status (The legal status is an assumption and is not a legal conclusion. Google has not performed a legal analysis and makes no representation as to the accuracy of the status listed.)
Expired - Fee Related
Application number
JP2006001293A
Other languages
English (en)
Other versions
JP2007182694A (ja
Inventor
晴英 北山
Original Assignee
北勢工業株式会社
Priority date (The priority date is an assumption and is not a legal conclusion. Google has not performed a legal analysis and makes no representation as to the accuracy of the date listed.)
Filing date
Publication date
Application filed by 北勢工業株式会社 filed Critical 北勢工業株式会社
Priority to JP2006001293A priority Critical patent/JP4621594B2/ja
Publication of JP2007182694A publication Critical patent/JP2007182694A/ja
Application granted granted Critical
Publication of JP4621594B2 publication Critical patent/JP4621594B2/ja
Expired - Fee Related legal-status Critical Current
Anticipated expiration legal-status Critical

Links

Images

Landscapes

  • Underground Structures, Protecting, Testing And Restoring Foundations (AREA)

Description

本発明は、地下構造物の蓋体を錠止する施錠構造に関する。
従来から、この種の地下構造物用蓋として、地下構造物の上端の開口に設置される受枠と、この受枠に開閉可能に連結される蓋本体と、蓋本体と受枠とを施錠するための施錠構造を備えたものが知られている(例えば特許文献1参照)。この施錠構造は、蓋本体の下面に揺動自在に枢支されて受枠に係合可能な突起を持つ錠本体と、この錠本体を解錠するためにバール等の開蓋工具を挿入するための蓋本体に開けられた開口部を閉塞する閉塞機構とを備える。そして、この閉塞機構としては、開口部を閉塞する閉塞板のロッドが、錠本体に内装されたスリーブに摺動自在に嵌合され、解錠時に開蓋工具により閉塞板が押下げられると、該ロッドがスリーブ内を摺動するものとされている。
実公平7−56357号公報
しかしながら、上述したような従来の地下構造物用蓋の施錠構造においては、閉塞板のロッド(軸に相当)とスリーブとの摺動のし易さが考慮されておらず、それらの嵌め合い寸法公差によっては、解錠の際に、閉塞板が押下げられたとき閉塞板が軸振れを起こすことがある。軸振れを起こすと、閉塞板のロッドとスリーブとの間の摺動抵抗が大きくなって、閉塞板が元の状態に戻らないといった虞がある。
本発明は、上記従来の問題を解決するためになされたものであり、蓋本体の開口部に押下可能に設けられた閉塞板の軸振れを抑えて、閉塞板が押下げられた状態から元に戻らないといったことを防止した地下構造物用蓋の施錠構造を提供することを目的とする。
上記目的を達成するために請求項1の発明は、周縁部に開口部を有する蓋本体と、この蓋本体を受け、内周面に中心方向に開口が形成された凹型の錠座を有する受枠と、前部に錠座に係合する係合突起が形成され、上面に解錠用の突片が形成され、蓋本体の開口部下方に揺動自在に枢支される錠本体と、錠本体に弾性部材を介して押下可能に取付けられ、蓋本体の開口部を閉塞する閉塞機構と、弾性部材と共に伸縮し、この弾性部材の外周を覆うカバー部と、を備えた地下構造物用蓋の施錠構造において、閉塞機構は、蓋本体の開口部を閉塞する閉塞板と、この閉塞板の下面から下方に一体的に垂設された角棒と、この角棒の下端部に取付けられた座金とを有し、錠本体は、閉塞機構が回転することなく摺動するためのケーシングを備え、このケーシングは、閉塞機構が摺動するための貫通孔を有し、この貫通孔の上部は、閉塞機構の角棒が回転することなく摺動可能な寸法の角型形状に形成され、貫通孔の下部は、座金が摺動可能な形状に形成されており、閉塞機構とケーシングとが接触している部分は、閉塞機構の角棒がケーシング上部の貫通孔に内接している部分と、座金がケーシング下部の貫通孔に内接している部分のみであり、閉塞機構が押下げられるに伴い、角棒及び座金がケーシングの貫通孔に内接している2箇所の接触部分において互いの距離が長くなるものである。
請求項2の発明は、請求項1に記載の地下構造物用蓋の施錠構造において、ケーシングは、貫通孔上部の周辺部に溝部が形成され、閉塞機構の閉塞板下面とケーシングの溝部との間に弾性部材とカバー部とが配設されているものである。
請求項3の発明は、請求項1又は請求項2に記載の地下構造物用蓋の施錠構造において、閉塞機構と、座金と、ケーシングの材質は、同一材質のステンレスであるものである。
請求項1の発明によれば、閉塞機構が押下げられたとき、一体的にある座金も下がるため、閉塞機構の角棒及びその下端の座金がケーシングの貫通孔に内接している2箇所の接触部分において互いの距離が長くなることとなり、従って、閉塞機構は離れた2箇所で保持されることとなる。これにより、閉塞機構が押下げられるにつれて閉塞機構の軸振れを抑えることができる。このため、閉塞機構が押下げられた状態のまま元に戻らないといったことが防止される。また、閉塞機構とケーシングとの接触部分を少なくすることにより、摩擦抵抗を減らし、閉塞機構のスムーズな摺動が可能となる。
請求項2の発明によれば、閉塞機構が摺動するケーシングの貫通孔へのゴミや泥等の侵入を防止することが可能となる。
請求項3の発明によれば、閉塞機構とケーシングとが接触している部分が同一材質となるので、異種金属が接触することによる摩耗や腐食を防止することが可能となる。
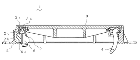
本発明の一実施形態に係る地下構造物用蓋の施錠構造について、図面を参照して説明する。図1及び図2は、本発明に係る地下構造物用蓋1の施錠構造5を適用した地下構造物用蓋1を示す。地下構造物用蓋1は、略円形状の開口を有する受枠2と、この受枠2の開口にテーパ嵌合により装着され、受枠2の開口と同形状の蓋本体3とから構成され、蓋本体3が地表面と同一面となるよう設置されている。受枠2は、内周面2aの下部に錠本体6と対応する位置に錠座2bが凹型に設けられており、この錠座2bの上部開口縁に錠止突起2cが下方に臨んで設けられている。錠止突起2cは、蓋本体3が引き上げられ、又は揚圧により押し上げられた際に錠本体6の係合突起6aが係合可能とされている。蓋本体3は、一方側の下面に設けられた蝶番構造4により受枠2に連結されており、他方側の下面に設けられた施錠構造5により受枠2に係合されて開蓋及び地下構造物内の乱流陽圧水の発生による蓋本体3の浮き上がりを防止されている。蓋本体3は、周縁部に解錠用開口部3aと、受枠2と蓋本体3とを縁切りするためのバール用開口部3fと、を有する。
図3は、開蓋専用工具としてのバール15を示す。バール15は、一端部に施錠構造5の解錠用としてT字状に形成された圧下部15aを有し、他端部に受枠2と蓋本体3とを縁切りするために棒状に形成された軸端部15bを有する。
図4及至図9は、地下構造物用蓋1の開蓋操作手順を示す。図4に示すように、蓋本体3のバール用開口部3fにバール15の軸端部15bが挿入される。次いで、図5に示すように、バール用開口部3fに軸端部15bが挿入されたバール15をA方向に押し下げることにより、受枠2と蓋本体3とが縁切りされる。その後、バール15はバール用開口部3fから抜かれ、図6に示すように、蓋本体3の解錠用開口部3aにバール15の圧下部15aが挿入される。次に、図7に示すように、解錠用開口部3aに圧下部15aが挿入された状態でバール15をB方向に略90度回転させ、圧下部15aのバール15の軸に対して垂直方向に突出した部分により蓋本体3が引っ掛けられる。次いで、図8に示すように、バール15を蓋本体3に対してC方向に略45度傾けることにより施錠構造5が解錠される。それとともに、図9に示すように、バール15により蓋本体3が受枠2の上方(D方向)に引き上げられる。次いで、蓋本体3は蝶番構造4を介して水平旋回、又は垂直反転によって開蓋される。
図10は、分解された施錠構造5を示し、図11及び図12は、地下構造物用蓋1に組み込まれた施錠構造5を示す。施錠構造5は、蓋本体3の下面に一体に形成された支持側壁3b、3cと、受枠2の内周面2aに設けられた錠座2b、及び支持側壁3b、3cに取り付けられて錠座2bの錠止突起2cと係合する錠本体6から構成されている。図11に示すように、支持側壁3b、3cは、蓋本体3の下面に一体に形成されており、支持側壁3b、3cの各一端が解錠用開口部3aの両側に配設されている。支持側壁3b、3cの内面には、軸受孔3d、3eが対向して設けられており、一側の軸受孔3eは、錠本体6の取付を可能とするために蓋本体3の中心側に位置する部分に開口を有しており、開口近傍には軸受孔3eに枢支された錠本体6の脱落を防止するためのボルト13を挿通するボルト孔3gが設けられている。
錠本体6は、材質として鋳鉄が使用されており、形状として前部(蓋本体3外周側)に係合突起6aが下端から斜め上方に略V字状に延出して形成され、後部には錘部6dが設けられている。係合突起6aは、受枠2の錠座2bに設けられた錠止突起2cとの掛かりを深くされて外れ難い形状とされている。錠本体6の上面の前部左右両側に一対の解錠用の突片6cが離隔対向して形成されている。これらの突片6cの互いの間隔は、蓋本体3の解錠用開口部3aの幅よりも広く設定されており、解錠用開口部3aの開口縁下方の両側に位置するように配設されている。そして、これらの突片6cよりも僅かに後方(蓋本体3中心側)の両側上端に支持軸6bが側方に突出して形成されている。錠本体6の上面の中央には、角型状の貫通孔6eが設けられている。
閉塞機構7は、蓋本体3の解錠用開口部3aを開閉可能に閉塞するためのものであり、材質としてステンレスが使用されており、形状として前部(蓋本体3外周側)が錠本体6の左右の突片6c間を僅かな間隙を存して上下動可能とされている。閉塞機構7の上部には、解錠用開口部3aに下方から嵌合し、解錠用開口部3aよりも幅広い閉塞板7aが設けられ、この閉塞板7aの下面略中央に角棒状の支持軸7bが垂設され、この支持軸7bの下端部に水抜き用の切欠き部を有する座金9が嵌合されてカシメ固定される突起7cが設けられ、支持軸7bと突起7cとの間に座金9の切欠き部から水抜きが可能なように円柱状に形成された中間軸7dが設けられている。支持軸7bは、ケーシング8の上面に形成されている角形の貫通孔8aに僅かな間隙を存して摺動自在に、かつ回転不能に挿通される。これにより、閉塞機構7が錠本体6及びケーシング8に対して回転不能に上下方向に摺動自在に装着される。閉塞板7aの下面には支持軸7bの周りに同心的に弾性部材としてのコイル状のスプリング11及び防塵・防水用のカバー部12を配設するための溝部7eが設けられている。
ケーシング8は、材質としてステンレスが使用されており、形状として上面に閉塞機構7の支持軸7bが摺動するための貫通孔8aを有し、この貫通孔8aの上部は、閉塞機構7の支持軸7bが回転することなく摺動可能な寸法の角型状に形成され、貫通孔8aの下部は、座金9が摺動可能な形状に形成されており、錠本体6の上面の中央に形成された貫通孔6eに挿通され、ケーシング8の下端のねじ部にナット10が螺合されることにより固定され、また、ケーシング8は貫通孔8dと貫通孔6eとで回り止めされている。
スプリング11は、材質としてステンレスが使用されており、カバー部12により覆われ、閉塞板7aの下面の溝部7eとケーシング8の上面の溝部8bとの間に配設されている。
施錠構造5の組立手順として、錠本体6は、閉塞機構7の閉塞板7aが蓋本体3の解錠用開口部3aに下方から嵌合され、閉塞板7aの上面が解錠用開口部3aの下面に当接係止されてスプリング11が圧縮された状態で支持軸6bが蓋本体3の支持側壁3b、3cの軸受孔3d、3eに枢支される。軸受孔3eが切り欠かれていることで、支持軸6bの取付が可能となる。次いで、支持側壁3eのボルト孔3gにボルト13を挿通し、ナット14を螺合して軸受孔3eに枢支された支持軸6bの逸脱を防止する。このようにして、蓋本体3に錠本体6、閉塞機構7及びケーシング8を取り付ける。
上記のように構成された本実施形態の地下構造物用蓋1の施錠構造5の解錠動作を説明する。図12に示すように蓋本体3が受枠2に嵌合されているとき、施錠構造5の錠本体6は錘部6dにより垂下して自重により施錠位置に付勢されている。錠本体6は、施錠位置において係合突起6aが受枠2の錠座2bに入り込んで錠止突起2cの下方に位置している。この状態において閉塞機構7は、スプリング11のばね力により押し上げられて閉塞板7aの上面が解錠用開口部3aの下面に圧接し、嵌合され、且つ、その先端面が受枠2の内周面2aに当接している。これにより、解錠用開口部3aが閉塞機構7により閉塞される。また、錠本体6は、上述した自重による付勢に加えてスプリング11のばね力により施錠位置に付勢されて遊びが抑えられ、施錠位置に保持されている。
蓋本体3を開蓋するときには図13に示すように専用のバール15を使用する。作業者は、バール15の圧下部15aを図14に示すように蓋本体3の解錠用開口部3aに挿入し、その下面で閉塞機構7の閉塞板7aをスプリング11のばね力に抗して押し下げる。閉塞機構7は、押し下げられるとこれに伴い、閉塞機構7の支持軸7bと座金9とが、ケーシング8の貫通孔8aに誘導され、内接して下方に円滑に移動する。ケーシング8の貫通孔8aは、閉塞機構7を押し下げるときに閉塞板7aの先端が受枠2の内周面2aから蓋本体3中心側に向けて離隔するように誘導される向きに形成されている。従って、閉塞板7aの先端が受枠2の内周面2aに当接することなく僅かな間隙を存して下方に移動する。次いで、図15に示すように圧下部15aが解錠用開口部3aを跨ぐようにバール15を90度回転させて、圧下部15aの上面を解錠用開口部3aの下面に当接させる。この状態において圧下部15aの蓋本体3外周側に位置する側面が錠本体6の突片6cの中心側傾斜面に当接する。
次いで、作業者がバール15をE方向に略45度傾けると、圧下部15aの上面が解錠用開口部3aの下面に当接した状態で、圧下部15aの側面が突片6cの傾斜面上を摺動し、これに伴い錠本体6には下方に向かう力が作用して支持軸6bを支点としてF方向に回動し、図16に示すように係合突起6aが錠座2bから離隔して施錠構造5が解錠される。次いで、作業者がバール15をG方向に引き上げると、蓋本体3が持ち上げられて開蓋される。
蓋本体3を閉蓋するときには、錠本体6を自由な状態としておき、そのまま受枠2に蓋本体3を載置すると、錠本体6が支持軸6bを中心とした錘部6dの重心位置の作用により回動して錠止位置に係止される。また、閉塞機構7は、スプリング11のばね力により押し上げられて閉塞板7aが蓋本体3の解錠用開口部3aに嵌合し、先端が受枠2の内周面2aに当接して解錠用開口部3aを閉塞する。
上記のように構成された本実施形態の地下構造物用蓋1の施錠構造5の作用について次に説明する。蓋本体3の解錠用開口部3aは、閉塞板7aにより常時弾性的に閉塞されるため、地下構造物内への雨水や土砂の流入を防止することができるとともに、地下構造物内で乱流揚圧水が発生した場合や、地下構造物用蓋1を坂道に設置した場合における不意の解錠を防止することができる。また、閉塞機構7が押下げられると共に座金9が下がるため、閉塞機構7の角棒7b及び座金9と、ケーシング8の貫通孔8aに内接する2箇所の接触部分において互いの距離が長くなることとなり、従って、離れた2箇所で保持されることとなる。これにより、閉塞機構7が押下げられるに伴い閉塞機構7の軸振れを抑えることができる。このため、閉塞機構7にひずみが生じ押下げられた状態のまま元に戻らず、錠の役目を果たさないといったことが防止される。また、閉塞機構7とケーシング8との接触部分を少なくすることにより、摩擦抵抗を減らし、閉塞機構7のスムーズな摺動が可能となる。
また、ケーシング8上面に溝部8bが形成されることにより、ゴミや泥等がケーシング8の貫通孔8aに侵入する前に溝部8bに入ることとなるため、ゴミや泥等がケーシング8の貫通孔8aに直接侵入しにくくなり、閉塞機構が摺動するケーシングの貫通孔へのゴミや泥等の侵入を防止することが可能となる。
また、摺動する際に接触する部材の材質を同一材質にすることにより、異種金属が接触することによる摩耗や腐食を防止することが可能となる。
なお、本発明は、上記実施形態の構成に限られず、発明の趣旨を変更しない範囲で種々の変形が可能である。例えば、上記実施形態では、錠本体6とケーシング8とを別部品として構成されていたが、一体成形部品としてもよい。
本発明の一実施形態に係る地下構造物用蓋の施錠構造を適用した地下構造 物用蓋の平面図。 同地下構造物用蓋の断面図。 本実施形態の開蓋用工具バールの平面図。 本実施形態の地下構造物用蓋の蓋本体のバール用開口部にバールを挿入す る直前の状態の斜視図。 前記状態からバールを押し下げて受枠と蓋本体とを縁切りした状態の斜視 図。 前記状態からバールをバール用開口部より引き抜き、次いでバールの圧下 部を蓋本体の解錠用開口部に挿入する直前の斜視図。 前記状態からバールを90度回転させ、バールの圧下部の上面を解錠用開 口部の下面に当接させて蓋本体をバールに引っ掛けた状態の斜視図。 前記状態からバールを蓋本体の外周方向へ略45度傾け、解錠した状態の 斜視図。 前記状態から蓋本体を受枠より引き出し、開蓋した状態の斜視図。 本実施形態の施錠体の分解斜視図。 本実施形態の施錠構造の平面図。 同施錠構造の断面図。 同施錠構造の解錠を開始する直前の断面図。 前記状態から施錠構造の閉塞機構を押下げた状態の断面図。 前記状態から施錠構造の閉塞機構を押下げた後、解錠操作を開始する直前の断面図。 前記状態から施錠構造の解錠操作終了状態の断面図。
符号の説明
1 地下構造物用蓋
2 受枠
2a 内周面
2b 錠座
2c 錠止突起
3 蓋本体
3a 解錠用開口部
5 施錠構造
6 錠本体
6a 係合突起
6c 突片
7 閉塞機構
7a 閉塞板
7b 角棒
7c 下端部
7e 閉塞板下面
8 ケーシング
8a 貫通孔
8b 溝部
9 座金
11 スプリング
12 カバー部

Claims (3)

  1. 周縁部に開口部を有する蓋本体と、この蓋本体を受け、内周面に中心方向に開口が形成された凹型の錠座を有する受枠と、前部に前記錠座に係合する係合突起が形成され、上面に解錠用の突片が形成され、前記蓋本体の開口部下方に揺動自在に枢支される錠本体と、前記錠本体に弾性部材を介して押下可能に取付けられ、前記蓋本体の開口部を閉塞する閉塞機構と、前記弾性部材と共に伸縮し、この弾性部材の外周を覆うカバー部と、を備えた地下構造物用蓋の施錠構造において、
    前記閉塞機構は、前記蓋本体の開口部を閉塞する閉塞板と、この閉塞板の下面から下方に一体的に垂設された角棒と、この角棒の下端部に取付けられた座金とを有し、
    前記錠本体は、前記閉塞機構が回転することなく摺動するためのケーシングを備え、このケーシングは、前記閉塞機構が摺動するための貫通孔を有し、この貫通孔の上部は、前記閉塞機構の角棒が回転することなく摺動可能な寸法の角型形状に形成され、前記貫通孔の下部は、前記座金が摺動可能な形状に形成されており、
    前記閉塞機構と前記ケーシングとが接触している部分は、前記閉塞機構の角棒が前記ケーシング上部の貫通孔に内接している部分と、前記座金が前記ケーシング下部の貫通孔に内接している部分のみであり、前記閉塞機構が押下げられるに伴い、前記角棒及び座金が前記ケーシングの貫通孔に内接している2箇所の接触部分において互いの距離が長くなることを特徴する地下構造物用蓋の施錠構造。
  2. 前記ケーシングは、貫通孔上部の周辺部に溝部が形成され、前記閉塞機構の閉塞板下面と前記ケーシングの溝部との間に前記弾性部材と前記カバー部とが配設されていることを特徴とする請求項1に記載の地下構造物用蓋の施錠構造。
  3. 前記閉塞機構と、前記座金と、前記ケーシングの材質は、同一材質のステンレスであることを特徴とする請求項1又は請求項2に記載の地下構造物用蓋の施錠構造。
JP2006001293A 2006-01-06 2006-01-06 地下構造物用蓋の施錠構造 Expired - Fee Related JP4621594B2 (ja)

Priority Applications (1)

Application Number Priority Date Filing Date Title
JP2006001293A JP4621594B2 (ja) 2006-01-06 2006-01-06 地下構造物用蓋の施錠構造

Applications Claiming Priority (1)

Application Number Priority Date Filing Date Title
JP2006001293A JP4621594B2 (ja) 2006-01-06 2006-01-06 地下構造物用蓋の施錠構造

Publications (2)

Publication Number Publication Date
JP2007182694A JP2007182694A (ja) 2007-07-19
JP4621594B2 true JP4621594B2 (ja) 2011-01-26

Family

ID=38339006

Family Applications (1)

Application Number Title Priority Date Filing Date
JP2006001293A Expired - Fee Related JP4621594B2 (ja) 2006-01-06 2006-01-06 地下構造物用蓋の施錠構造

Country Status (1)

Country Link
JP (1) JP4621594B2 (ja)

Families Citing this family (1)

* Cited by examiner, † Cited by third party
Publication number Priority date Publication date Assignee Title
CN112282014B (zh) * 2020-11-11 2025-01-28 重庆市排水有限公司 一种安全密封型排水体系

Family Cites Families (7)

* Cited by examiner, † Cited by third party
Publication number Priority date Publication date Assignee Title
JPH0756357Y2 (ja) * 1990-08-07 1995-12-25 日之出水道機器株式会社 地下構造物用蓋の施錠構造
JP3239034B2 (ja) * 1994-06-13 2001-12-17 北勢工業株式会社 地下構造物の蓋の施錠装置
JP3653420B2 (ja) * 1999-06-25 2005-05-25 株式会社水島鉄工所 マンホール蓋の施錠装置
JP3419730B2 (ja) * 2000-03-15 2003-06-23 日本鋳鉄管株式会社 鉄蓋用施錠装置
JP3616920B2 (ja) * 2001-07-06 2005-02-02 日之出水道機器株式会社 地下構造物用蓋の施錠構造
JP4618947B2 (ja) * 2001-08-24 2011-01-26 東北電力株式会社 マンホール用蓋の固定装置、固定装置を備えたマンホール用蓋およびその施錠解錠装置
JP3862268B2 (ja) * 2003-07-17 2006-12-27 株式会社ライセンス&プロパティコントロール 地下構造物用蓋の施錠構造

Also Published As

Publication number Publication date
JP2007182694A (ja) 2007-07-19

Similar Documents

Publication Publication Date Title
JP4621594B2 (ja) 地下構造物用蓋の施錠構造
KR100936814B1 (ko) 무볼트 이중고정식 맨홀덮개
JP3121167U (ja) 地下構造物用蓋の施錠装置
JP4871195B2 (ja) 地下構造物用蓋の施錠構造
JP4126264B2 (ja) マンホール錠
JP3862268B2 (ja) 地下構造物用蓋の施錠構造
JP3904209B2 (ja) 引き出し回転操作型扉用ロックハンドル装置
JP4852317B2 (ja) 地下構造物用蓋の施錠構造
JP4951424B2 (ja) 鉄蓋開閉装置
JP5694709B2 (ja) サブロック機構付クレセント錠
JP4194049B2 (ja) 地下構造物用蓋の食込み解除構造
JP4712335B2 (ja) 鉄蓋連結構造
JPH0354187Y2 (ja)
JP4751293B2 (ja) マンホール用鉄蓋の施錠装置
JP5962415B2 (ja) メディアスロットの開閉扉
JP3902632B2 (ja) 地中構造物の蓋用ロック装置
JP3449608B2 (ja) 地下構造物用錠装置
JP3459044B2 (ja) 鉄蓋用蝶番
JP4961270B2 (ja) 落とし錠
KR20130067977A (ko) 수압 방출 기능을 가지는 맨홀뚜껑 잠금장치
JP4191530B2 (ja) 鉄蓋開閉構造
JPH0756357Y2 (ja) 地下構造物用蓋の施錠構造
CN210395448U (zh) 沙井盖
JP2003221836A (ja) 鉄蓋用閉塞ロック構造
JP5114442B2 (ja) ごみ集積ボックス

Legal Events

Date Code Title Description
A621 Written request for application examination

Free format text: JAPANESE INTERMEDIATE CODE: A621

Effective date: 20070904

A977 Report on retrieval

Free format text: JAPANESE INTERMEDIATE CODE: A971007

Effective date: 20091110

A131 Notification of reasons for refusal

Free format text: JAPANESE INTERMEDIATE CODE: A131

Effective date: 20100727

A521 Request for written amendment filed

Free format text: JAPANESE INTERMEDIATE CODE: A523

Effective date: 20100906

TRDD Decision of grant or rejection written
A01 Written decision to grant a patent or to grant a registration (utility model)

Free format text: JAPANESE INTERMEDIATE CODE: A01

Effective date: 20101005

A01 Written decision to grant a patent or to grant a registration (utility model)

Free format text: JAPANESE INTERMEDIATE CODE: A01

A61 First payment of annual fees (during grant procedure)

Free format text: JAPANESE INTERMEDIATE CODE: A61

Effective date: 20101101

FPAY Renewal fee payment (event date is renewal date of database)

Free format text: PAYMENT UNTIL: 20131105

Year of fee payment: 3

R150 Certificate of patent or registration of utility model

Free format text: JAPANESE INTERMEDIATE CODE: R150

R250 Receipt of annual fees

Free format text: JAPANESE INTERMEDIATE CODE: R250

LAPS Cancellation because of no payment of annual fees