JP4602575B2 - 脆性リングのインサート成形用金型 - Google Patents

脆性リングのインサート成形用金型 Download PDF

Info

Publication number
JP4602575B2
JP4602575B2 JP2001052837A JP2001052837A JP4602575B2 JP 4602575 B2 JP4602575 B2 JP 4602575B2 JP 2001052837 A JP2001052837 A JP 2001052837A JP 2001052837 A JP2001052837 A JP 2001052837A JP 4602575 B2 JP4602575 B2 JP 4602575B2
Authority
JP
Japan
Prior art keywords
mold
ring
brittle
chuck
insert
Prior art date
Legal status (The legal status is an assumption and is not a legal conclusion. Google has not performed a legal analysis and makes no representation as to the accuracy of the status listed.)
Expired - Lifetime
Application number
JP2001052837A
Other languages
English (en)
Other versions
JP2002254474A (ja
Inventor
一夫 田中
茂樹 戸塚
Current Assignee (The listed assignees may be inaccurate. Google has not performed a legal analysis and makes no representation or warranty as to the accuracy of the list.)
Yazaki Corp
Original Assignee
Yazaki Corp
Priority date (The priority date is an assumption and is not a legal conclusion. Google has not performed a legal analysis and makes no representation as to the accuracy of the date listed.)
Filing date
Publication date
Application filed by Yazaki Corp filed Critical Yazaki Corp
Priority to JP2001052837A priority Critical patent/JP4602575B2/ja
Publication of JP2002254474A publication Critical patent/JP2002254474A/ja
Application granted granted Critical
Publication of JP4602575B2 publication Critical patent/JP4602575B2/ja
Anticipated expiration legal-status Critical
Expired - Lifetime legal-status Critical Current

Links

Images

Landscapes

  • Moulds For Moulding Plastics Or The Like (AREA)
  • Injection Moulding Of Plastics Or The Like (AREA)

Description

【0001】
【発明の属する技術分野】
本発明は、主として円筒形のフェライト焼結マグネットリングからなる脆性リングが外周に位置し、その内側にプラスチック樹脂が成形されたインサート成形品を作るための方法および金型に関する。
【0002】
【従来の技術】
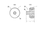
フェライト焼結マグネットリングを射出成形用金型にインサートし、その内部にプラスチック材を成形することがしばしば行われている。図8はその一例を示し、直径が1cm程の脆性リング1の内側にプラスチック材がインサート成形され、その軸部外周に歯車部36が設けられたものである。そのインサート成形後にはフェライト焼結マグネットリングに着磁が行われ、モータや計器等のローターを形成するものである。
このようなフェライト焼結マグネットリングは、その性質上、次の特徴を有する。フェライト焼結マグネットリングは外周方向から半径方向の中心に向かう外力には比較的強い。しかしながら、そのリングの中心から半径方向外側の外力に対しては簡単に破損する。
また、焼結マグネットであるため、一般に製品の寸法精度が低く、その公差は0.1mm程度である。
【0003】
このように比較的公差が大きく、中心から外方に向かう外力に対して簡単に破損するフェライト焼結マグネットをインサート成形するには、従来次のようにして行っていた。金型のキャビティ内にフェライト焼結マグネットリングを装着し、次いでその内側に溶融プラスチック材を充填する。その際、完全に樹脂材が充填する僅か手前で樹脂の充填をやめ、焼結マグネットに大きな射出圧が加わらないようにする。そして製品を取り出し、ひび割れ等を全数検査していた。
このように射出圧が完全に加わらないようにする理由は、焼結マグネットリングはその内側からの射出圧に耐えられず、破壊してしまうからである。とくに、把持焼結マグネットの公差が比較的大きいため、その外周を金型の嵌着凹部に完全に整合させることが難しいので、焼結マグネットリングの外周と金型の嵌着凹部との間には僅かな隙間が生じる。すると、外周が把持されない状態で内側から射出圧が加わり、極めて容易に破壊されてしまう。さらには、仮に焼結マグネットリングと金型との隙間が存在しなくても射出成形の内圧で破損する場合があるからである。
【0004】
【発明が解決しようとする課題】
フェライト焼結マグネットリングのような脆性リングを従来の方法によりインサート成形するとき、樹脂材を完全に充填しない状態で成形すると、成形精度が悪いものとなる。それと共に、その成形が不安定となるため、インサート成形品を全数検査する必要がある。
そこで、本発明は脆性リング内に溶融樹脂を完全に充填して成形精度の良い製品を提供すると共に、脆性リングに割れの生じないインサート成形方法およびその金型を提供することを課題とする。
【0006】
【課題を解決するための手段】
請求項1に記載の本発明は、互いに接離して開閉自在に配置される成形用の第1金型(3)と第2金型(4) を有し、
その第1金型(3) に配置されて半径方向に均等に拡縮される脆性リング保持用のチャック(2) と、
第2金型(4) または第1金型(3) に設けられ、前記チャック(2) の外周を圧接してその外周を半径方向内側に締結保持する締結部材(5) と、
を具備し、前記チャック(2) に円形環状の脆性リング(1) が締結保持された状態で、その脆性リング(1) の内面側に溶融プラスチック材料が射出成形されるように構成された脆性リングのインサート成形用金型であって、
前記チャック(2) は軸方向の先端部に先細りの円錐台形部(7) を有するコレットチャックからなり、その内周面に半径方向外方へ弾発するチャック開放用リング(8) が配置され、
その円錐台形部(7) に整合する筒形凹部(9) を有する締結部材(5) が、前記第2金型(4) に取付られ、その締結部材(5) が流体圧により前記軸線方向に押圧されるように構成され、
前記脆性リング(1) の軸線方向の一方側が前記第1金型(3) の第1位置決め手段(11)により位置決めされ、他方側が第2金型(4) の第2位置決め手段(12)により位置決めされ、
その第2位置決め手段(12)は、第2金型(4) 内に前記軸線方向へスライド自在に設けたインサート押さえ(13)の押さえ面(14)が、前記脆性リング(1) に突き当たることにより構成され、
そのインサート押さえ(13)は、溶融プラスチックの射出圧によりその押さえ面(14)をその脆性リング(1) に押圧するように構成された脆性リングのインサート成形用金型である。
【0009】
請求項2に記載の本発明は、請求項1において、
インサート押さえ(13)またはそれと一体にスライドするスライド中子(17)に、スライドブッシュ(19)が前記軸線方向に移動自在に配置されると共に、そのスライドブッシュ(19)の端面が溶融プラスチック充填用のキャビティ内に露出され、
そのスライドブッシュ(19)は、溶融プラスチックの射出圧により後退して、ブッシュ位置決め面(41)に当接して位置決め固定されるように構成された脆性リングのインサート成形用金型である。
【0010】
【発明の実施の形態】
次に、図面に基づいて本発明の実施の形態につき説明する。
図1は本発明の金型の要部縦断面図であって、可動側の第1金型3と固定側の第2金型4とを僅か分離した状態を示す。そして図2は脆性リング1の締結作用の説明図であり、図3は同金型の型閉じ状態を示す。また、図4は同金型の要部拡大図であり、図5は射出成形機の要部縦断面図である。さらに図6はその固定取付受け板22の側面図、図7は射出成形機の型開き状態を示す説明図である。この金型は、図8に示すプラスチック成形品35を成形するためのものである。 脆性リング1は短い筒状のフェライト焼結マグネットリングからなり、その公差は直径方向及び軸方向に夫々0.1mm程である。これに対してプラスチック成形品35の軸方向長さLは、脆性リング1の公差よりも小さな0.05mm程である。即ち、脆性リング1の端面から軸部先端までの公差は0.05mmに維持される必要がある。なお、図8の(A)はそのプラスチック成形品35の縦断面図であり、(B)は左側面図である。
【0011】
本発明の金型は、図1の如く、可動側の第1金型3に設けた貫通孔内に可動コア入れ子42が挿通され、その外周に脆性リング1保持用のチャック2が被嵌されている。チャック2は周知の市販のコレットチャックからなり、図2に示す如くテーパを有する筒状に形成されると共に、その外周に多数のスリット2aがその軸方向両端から他端側に周方向に交互に且つ、夫々のスリットの端部で僅かにスリットのない部分を残して形成され、それにより半径方向に拡縮自在な構造となっている。チャック2の先端部外周は円錐台形部7に形成され、中間部および後端部は緩い円錐台形状のテーパに形成されている。
【0012】
このようにしてなるチャック2は、前述のように可動コア入れ子42の外周に被嵌されると共に、その可動コア入れ子42の外周の環状溝に配置されたチャック開放用リング8によって半径方向外方に付勢されて僅かに拡開される。このチャック開放用リング8は断面円形の弾性ゴムリングを用いることができる。また、可動コア入れ子42の中心には、エジェクタ18がエジェクタスリーブ18aを介して挿通されている。なお、エジェクタ18の先端は、プラスチック成形品35の軸穴に整合する軸型凸部18bを有している。そして、このエジェクタ18の先端部と可動入れ子42の先端部とチャック2の先端部との間に第1キャビティ15が形成される。
【0013】
次に、固定側の第2金型4の貫通孔には、チャック締結用の筒状の締結部材5が挿通されている。この締結部材5は図2の如く形成され、その内部にインサート押さえ13及びスライド中子17さらにはスライドブッシュ19(図1)が順にその中心側に嵌入されている。締結部材5の先端部内周面には、チャック2の円錐台形部7に整合するテーパ状の筒形凹部9が形成されている。締結部材5にはその直径線上に一対の孔が穿設され、そこにスライドピン32が挿通されている。このスライドピン32の中間部は僅かに大径に拡大され、その拡大部が締結部材5の孔縁部に当接する。また、スライドピン32の左端面は固定取付板21に挿通された油圧入力スライドピン押さえ40の端面に整合する。
【0014】
締結部材5の内側に設けられたインサート押さえ13は、一端閉塞の筒状に形成され、その閉塞部の中心に中心孔を有し、その中心孔の内周および端部に第2キャビティ16が設けられている。このインサート押さえ13は締結部材5内に対して、軸方向に僅かに移動可能である。インサート押さえ13の内側には、円柱状のスライド中子17が嵌着されている。このスライド中子17の先端面は、インサート押さえ13の閉塞面に当接される。スライド中子17の後端面には環状溝26が形成され、その環状溝26から第2キャビティ16まで軸線方向にスプール路27が穿設されている。また、環状溝26の半径方向外側にはスプールランナー路37が金型外面まで形成されている。スライド中子17の中心には段付孔が貫通され、そこにスライドブッシュ19が挿通されている。このスライドブッシュ19は、軸方向に僅かに移動自在である。さらにスライド中子17の中心孔の後端にはピン抜け止めカラー6が圧入され、スライドブッシュ19の抜け止めを形成する。
【0015】
次に、第2金型4に接離自在な固定取付板21には、図1において、その中心孔にピン押さえ20が挿通され、その先端にブッシュ位置決め面41が設けられ、そのブッシュ位置決め面41にスライドブッシュ19の後端面がキャビティの内圧を介して当接される。固定取付板21には、一対の中子押さえ29とランナーロックピン39とが挿通され、それが軸方向に僅かに移動自在に設けられている。また、中子押さえ29及びランナーロックピン39の後端面には押さえコイルバネ30が着座し、それにより中子押さえ29及びランナーロックピン39を右方に付勢している。さらに中子押さえ29及びランナーロックピン39の外側には、一対の油圧入力スライドピン押さえ40が挿通され、その端面がスライドピン32の端面に当接する。なお、スライドブッシュ19の先端面は第2キャビティ16に露出される。
【0016】
次に、図5示す如く固定取付板21は固定取付受け板38および固定ダイプレート22に固定されている。そして固定取付受け板38にはチャック締結用油圧シリンダ33aが設けられ、そこにピストン33が内装されている。そしてピストン33の先端面に、一対の油圧入力スライドピン押さえ40の後端面が当接する。固定取付受け板38の後端には一対の油圧ホースコネクタ31が突設され、それとチャック締結用油圧シリンダ33aとが連通する。
また、第1金型3は可動受け板10及び可動取付板23に固定されている。
なお、インサート押さえ13の先端面は脆性リング1の第2位置決め手段12を構成する押さえ面14であり、可動コア入れ子42の端面は脆性リング1の第1位置決め手段11を形成する。そして、脆性リング1は両端面に挟持される。
【0017】
【使用方法】
このようにしてなる金型を有する射出成形機の使用方法につき述べる。
図7の如く型開きした状態で第1金型3と第2金型4とは離反すると共に、第2金型4と固定取付板21とも離反する。即ち、第2金型4が固定取付板21からガイドシャフト43に案内されて右方に移動し、ストッパ44の端部に停止される。このとき、スプールランナー45が第2金型4から剥離される。そしてランナー分離板46が右方に移動することにより、スプールランナー45はランナーロックピン39から外れて下方に落下する。また、第1金型3のチャック2はチャック開放用リング8によって半径方向外側に僅かに拡開される。そしてエジェクタ18を左方に突き出すことにより、プラスチック成形品35を取り出して落下させることができる。
このエジェクタ18を引き戻した状態で、新たな脆性リング1がチャック2内に図示しないロボットにより挿入される。
【0018】
次いで、低圧で図3の如く型閉じが行われる。このとき押さえコイルバネ30の弾発力が中子押さえ29,スライド中子17を介しインサート押さえ13に伝えられ、その先端面に設けられた押さえ面14が脆性リング1の一端面に当接し、その他端面が可動コア入れ子42の端面に当接される。
次いで、高圧での型締めが行われると共に、図5に示すチャック締結用油圧シリンダ33aに油圧が供給され、ピストン33を右方に押圧する。すると、図3において油圧入力スライドピン押さえ40,スライドピン32を介して締結部材5が右方に移動する。それにより、チャック2の外周が縮小し脆性リング1を締結把持する。このとき、脆性リング1の軸線とチャック2の軸線とが整合される。
【0019】
次いで、図5の射出筒24が下方に移動し、ノズル25が金型にタッチしてその内部とスプールランナー路37が連通する。そして溶融プラスチックがスプールランナー路37,環状溝26,スプール路27を介しキャビティ内に充填される。このとき、その射出圧が環状溝26を介しスライド中子17に伝えられ、それがインサート押さえ13を介して脆性リング1を右方に押さえつけ、脆性リング1が軸方向に移動することを防止する。また、キャビティ内の溶融樹脂はスライドブッシュ19の端面に達し、そのスライドブッシュ19を左方に僅かに移動させその左端をピン押さえ20の端面に当接して位置決めさせる。これにより、スライドブッシュ19の右端と可動コア入れ子42のセット面11aとの軸方向距離が正確に特定される。それにより、プラスチック製品の軸方向長さL(図8)を正確に保持できる。
【0020】
そして保圧工程・冷却計量工程を経て、型開きが行われる。即ち、図7の如く金型が開き、スプールランナー45をランナーロックピン39から引き抜き落下させる。このとき、ピン抜け止めカラー6によってスライドブッシュ19が抜け落ちるのを防いでいる。そしてエジェクタ18を前進させプラスチック成形品35を押し出し、前記各工程を繰り返す。
【0021】
【変形例】
本発明は前述の実施の形態に限定されるものでは勿論なく、例えばチャック2の締結部材5を第2金型4に設ける代わりに、その締結部材を第1金型3に設けてもよい。その場合には、図1において、チャック2の右側の傾斜の緩いテーパ面の外周に整合する内面を有するスライド部材を、軸方向へ右方から左方に移動させる構造となる。
【0023】
【発明の作用・効果】
請求項1に記載の本発明によれば、締結部材5によりチャック2の外周を圧接して脆性リング1を締結保持するものであるから、構造が簡単で精度の良いプラスチック成形用金型を提供できる。
さらに、締結部材5が流体圧により軸線方向に押圧されるように構成したので、構造が簡単でその流体圧の調整により締結力を所定の値に保持することが容易となる。それにより、締結の際に脆性リング1が破損することを防止できる。
【0024】
しかも本発明は、脆性リング1の軸線方向の一方側が第1金型3の第1位置決め手段11により位置決めされ、他方側が第2金型4の第2位置決め手段12により位置決めされる。そして第2位置決め手段12は、第2金型4に軸線方向へスライド自在に設けたインサート押さえ13の押さえ面14が脆性リング1に突き当たることにより構成され、そのインサート押さえ13は溶融プラスチックの射出圧によりその押さえ面14をその脆性リング1に押圧するように構成されたから、脆性リング1を押圧するための圧力によって脆性リング1が破損することを防止できる。即ち、脆性リング1は第1金型3の第1位置決め手段11に突き当てられた状態で、射出圧でその脆性リング1が軸方向へ押圧されるものであるから、その射出圧によって脆性リング1が破損することはない。
何故ならば、射出前に脆性リングが軸方向へ圧縮されるおそれがなく、脆性リングが外周からチャック2で締結されて完全に射出準備が整った後に、射出圧が加わって圧縮されるため、射出前に脆性リングに不用意な加重が加わることがない。また、脆性リングは引張方向の外力(半径方向外方への外力)には弱いが、その圧縮方向の外力(半径方向の中心に向かう外力)には比較的強度があると共に、キャビティ内の適宜な射出圧力で脆性リング1を軸方向に圧縮するため、他の外力に比べて不用意に過大になることがないからである。そして、溶融プラスチックの射出圧によりその押さえ面14で脆性リング1を押さえるように構成したため、格別な圧縮部品を不要とし、簡素化され製造し易い金型となり得る。
【0025】
請求項2に記載の本発明は、インサート押さえ13またはスライド中子17にスライドブッシュ19が前記軸線方向に移動自在に配置され、そのスライドブッシュ19の端面がキャビティ内に露出され、そこに充填される溶融プラスチックの射出圧により後退してブッシュ位置決め面41に当接して位置止め固定されるものである。そのため、脆性リング1の軸方向寸法にバラツキが生じても、ブッシュ位置決め面41の端面の位置を常に一定に保持し、成形品の軸方向寸法を精度良く成形することができる。
【図面の簡単な説明】
【図1】本発明の金型の要部横断面図であって、可動側の第1金型3と固定側の第2金型4とを僅か離間した状態を示す。
【図2】同金型に用いられるチャック2と締結部材5との説明図。
【図3】同金型であって、型閉じ状態を示す縦断面図。
【図4】同金型の要部拡大図。
【図5】同金型を有する射出成形機の要部縦断面図。
【図6】図5における左側面図。
【図7】同金型を有する射出成形機の型開き状態を示す要部縦断面図。
【図8】本発明の金型により制作されたプラスチック成形品35の一例を示す縦断面図及び左側面図。
【符号の説明】
1 脆性リング
2 チャック
2a スリット
3 第1金型
4 第2金型
5 締結部材
6 ピン抜け止めカラー
7 円錐台形部
8 チャック開放用リング
9 筒形凹部
10 可動受け板
11 第1位置決め手段
11a セット面
12 第2位置決め手段
13 インサート押さえ
14 押さえ面
15 第1キャビティ
16 第2キャビティ
17 スライド中子
18 エジェクタ
18a エジェクタスリーブ
18b 軸型凸部
19 スライドブッシュ
20 ピン押さえ
21 固定取付板
22 固定ダイプレート
23 可動取付板
24 射出筒
25 ノズル
26 環状溝
27 スプール路
29 中子押さえ
30 押さえコイルバネ
31 油圧ホースコネクタ
32 スライドピン
33a チャック締結用油圧シリンダ
33 ピストン
34 タイバー
35 プラスチック成形品
36 歯車部
37 スプールランナー路
38 固定取付受け板
39 ランナーロックピン
40 油圧入力スライドピン押さえ
41 ブッシュ位置決め面
42 可動コア入れ子
43 ガイドシャフト
44 ストッパ
45 スプールランナー
46 ランナー分離板

Claims (2)

  1. 互いに接離して開閉自在に配置される成形用の第1金型(3)と第2金型(4) を有し、
    その第1金型(3) に配置されて半径方向に均等に拡縮される脆性リング保持用のチャック(2) と、
    第2金型(4) または第1金型(3) に設けられ、前記チャック(2) の外周を圧接してその外周を半径方向内側に締結保持する締結部材(5) と、
    を具備し、前記チャック(2) に円形環状の脆性リング(1) が締結保持された状態で、その脆性リング(1) の内面側に溶融プラスチック材料が射出成形されるように構成された脆性リングのインサート成形用金型であって、
    前記チャック(2) は軸方向の先端部に先細りの円錐台形部(7) を有するコレットチャックからなり、その内周面に半径方向外方へ弾発するチャック開放用リング(8) が配置され、
    その円錐台形部(7) に整合する筒形凹部(9) を有する締結部材(5) が、前記第2金型(4) に取付られ、その締結部材(5) が流体圧により前記軸線方向に押圧されるように構成され、
    前記脆性リング(1) の軸線方向の一方側が前記第1金型(3) の第1位置決め手段(11)により位置決めされ、他方側が第2金型(4) の第2位置決め手段(12)により位置決めされ、
    その第2位置決め手段(12)は、第2金型(4) 内に前記軸線方向へスライド自在に設けたインサート押さえ(13)の押さえ面(14)が、前記脆性リング(1) に突き当たることにより構成され、
    そのインサート押さえ(13)は、溶融プラスチックの射出圧によりその押さえ面(14)をその脆性リング(1) に押圧するように構成された脆性リングのインサート成形用金型。
  2. 請求項1において、
    インサート押さえ(13)またはそれと一体にスライドするスライド中子(17)に、スライドブッシュ(19)が前記軸線方向に移動自在に配置されると共に、そのスライドブッシュ(19)の端面が溶融プラスチック充填用のキャビティ内に露出され、
    そのスライドブッシュ(19)は、溶融プラスチックの射出圧により後退して、ブッシュ位置決め面(41)に当接して位置決め固定されるように構成された脆性リングのインサート成形用金型。
JP2001052837A 2001-02-27 2001-02-27 脆性リングのインサート成形用金型 Expired - Lifetime JP4602575B2 (ja)

Priority Applications (1)

Application Number Priority Date Filing Date Title
JP2001052837A JP4602575B2 (ja) 2001-02-27 2001-02-27 脆性リングのインサート成形用金型

Applications Claiming Priority (1)

Application Number Priority Date Filing Date Title
JP2001052837A JP4602575B2 (ja) 2001-02-27 2001-02-27 脆性リングのインサート成形用金型

Publications (2)

Publication Number Publication Date
JP2002254474A JP2002254474A (ja) 2002-09-11
JP4602575B2 true JP4602575B2 (ja) 2010-12-22

Family

ID=18913406

Family Applications (1)

Application Number Title Priority Date Filing Date
JP2001052837A Expired - Lifetime JP4602575B2 (ja) 2001-02-27 2001-02-27 脆性リングのインサート成形用金型

Country Status (1)

Country Link
JP (1) JP4602575B2 (ja)

Cited By (1)

* Cited by examiner, † Cited by third party
Publication number Priority date Publication date Assignee Title
US20230075712A1 (en) * 2020-03-06 2023-03-09 Otto Manner GmbH Injection mold for tubular plastic parts

Families Citing this family (5)

* Cited by examiner, † Cited by third party
Publication number Priority date Publication date Assignee Title
JP4787542B2 (ja) * 2005-05-26 2011-10-05 富士フイルム株式会社 成形用金型および成形品の製造方法
JP5018529B2 (ja) * 2008-02-08 2012-09-05 株式会社デンソー 脆性リングのインサート成形方法および金型
CN116118104B (zh) * 2023-01-21 2025-10-21 浙江赛豪实业有限公司 一种模具的嵌件类产品智能检测辅助机构
CN117681392B (zh) * 2023-12-27 2024-08-16 太仓市天丝利塑化有限公司 一种汽车外饰件注塑加工设备及注塑加工线
CN121105302B (zh) * 2025-11-13 2026-03-24 苏州炳荣精密五金制品有限公司 一种自动化埋钉成型装置

Family Cites Families (8)

* Cited by examiner, † Cited by third party
Publication number Priority date Publication date Assignee Title
JPS6232815Y2 (ja) * 1980-12-18 1987-08-22
JPH0716837B2 (ja) * 1984-12-05 1995-03-01 株式会社日平トヤマ 環状シート挿入ヘッド
JP2537647B2 (ja) * 1987-11-30 1996-09-25 富士電気化学株式会社 モ―ルドロ―タ用の金型
JPH0565506U (ja) * 1992-02-20 1993-08-31 エヌ・オー・ケー・メグラスティック株式会社 トーショナルダンパの加硫成形型
JPH0586518U (ja) * 1992-04-30 1993-11-22 エヌティエヌ株式会社 リング部材の樹脂モールド装置
JPH0716886A (ja) * 1993-06-30 1995-01-20 Mitsui Toatsu Chem Inc インサート成形用金型
JP2679942B2 (ja) * 1993-08-25 1997-11-19 株式会社ソディック インサート成形用金型
JPH11226992A (ja) * 1998-02-13 1999-08-24 Kanazawa Kasei:Kk 射出成形法および射出成形用金型

Cited By (2)

* Cited by examiner, † Cited by third party
Publication number Priority date Publication date Assignee Title
US20230075712A1 (en) * 2020-03-06 2023-03-09 Otto Manner GmbH Injection mold for tubular plastic parts
US12409591B2 (en) * 2020-03-06 2025-09-09 Otto Männer GmbH Injection mold for tubular plastic parts

Also Published As

Publication number Publication date
JP2002254474A (ja) 2002-09-11

Similar Documents

Publication Publication Date Title
US4834487A (en) Optical connector with plastic alignment ferrule
JP4602575B2 (ja) 脆性リングのインサート成形用金型
US20200039132A1 (en) Injection molding die, injection molding system, and injection molding method
JP4659286B2 (ja) 円筒成形品の射出成形型および射出成形方法
CN114269541B (zh) 双圆环型树脂保持器的制造方法
JP7365091B1 (ja) インサート成形用金型部品、インサート成形用金型、及びインサート樹脂成形品の製造方法
US7047787B2 (en) Method of forming spline and keyway for sheet metal rotating member with boss part
US20080271870A1 (en) Metal Mold, and Formed Body Molding Method by the Metal Mold
US12409591B2 (en) Injection mold for tubular plastic parts
JP2679942B2 (ja) インサート成形用金型
JP2004009306A (ja) オイルシールリングの成形方法および成形用金型
JP2006264208A (ja) 樹脂プーリ用射出成形金型および射出成形方法
US2968200A (en) Small-sized drill and method for producing same
JPH0533309Y2 (ja)
JPH07178779A (ja) 筒状樹脂成形体、及びその射出成形用型並びに射出成形方法
JP2002172652A (ja) 筒状成形品及びその成形方法
JPH09207137A (ja) インサート金具自動調芯金型
JP2855783B2 (ja) 光コネクタ用セラミックフェルールの射出成形方法
JPH0569473A (ja) 両端が開口した中空成形品の射出吹込成形方法
JPH0586518U (ja) リング部材の樹脂モールド装置
JPH07110505B2 (ja) 射出成形部品とその金型
JP3046781U (ja) エジェクタ機構
JPH0952258A (ja) 射出成形用金型装置及びこれを用いて細い貫通孔を有する円筒成形体を製造する方法
JP2744959B2 (ja) 射出成形体の製造方法及び金型
JPS63281819A (ja) 射出成形用金型

Legal Events

Date Code Title Description
A621 Written request for application examination

Free format text: JAPANESE INTERMEDIATE CODE: A621

Effective date: 20071121

A977 Report on retrieval

Free format text: JAPANESE INTERMEDIATE CODE: A971007

Effective date: 20100409

A131 Notification of reasons for refusal

Free format text: JAPANESE INTERMEDIATE CODE: A131

Effective date: 20100511

A521 Request for written amendment filed

Free format text: JAPANESE INTERMEDIATE CODE: A523

Effective date: 20100712

TRDD Decision of grant or rejection written
A01 Written decision to grant a patent or to grant a registration (utility model)

Free format text: JAPANESE INTERMEDIATE CODE: A01

Effective date: 20100928

A01 Written decision to grant a patent or to grant a registration (utility model)

Free format text: JAPANESE INTERMEDIATE CODE: A01

A61 First payment of annual fees (during grant procedure)

Free format text: JAPANESE INTERMEDIATE CODE: A61

Effective date: 20100930

FPAY Renewal fee payment (event date is renewal date of database)

Free format text: PAYMENT UNTIL: 20131008

Year of fee payment: 3

R150 Certificate of patent or registration of utility model

Ref document number: 4602575

Country of ref document: JP

Free format text: JAPANESE INTERMEDIATE CODE: R150

Free format text: JAPANESE INTERMEDIATE CODE: R150

R250 Receipt of annual fees

Free format text: JAPANESE INTERMEDIATE CODE: R250

R250 Receipt of annual fees

Free format text: JAPANESE INTERMEDIATE CODE: R250

S531 Written request for registration of change of domicile

Free format text: JAPANESE INTERMEDIATE CODE: R313531

R250 Receipt of annual fees

Free format text: JAPANESE INTERMEDIATE CODE: R250

R350 Written notification of registration of transfer

Free format text: JAPANESE INTERMEDIATE CODE: R350

EXPY Cancellation because of completion of term