JP4570819B2 - セグメントの継手構造 - Google Patents

セグメントの継手構造 Download PDF

Info

Publication number
JP4570819B2
JP4570819B2 JP2001201253A JP2001201253A JP4570819B2 JP 4570819 B2 JP4570819 B2 JP 4570819B2 JP 2001201253 A JP2001201253 A JP 2001201253A JP 2001201253 A JP2001201253 A JP 2001201253A JP 4570819 B2 JP4570819 B2 JP 4570819B2
Authority
JP
Japan
Prior art keywords
screw
segment
joint structure
bolt
insert
Prior art date
Legal status (The legal status is an assumption and is not a legal conclusion. Google has not performed a legal analysis and makes no representation as to the accuracy of the status listed.)
Expired - Fee Related
Application number
JP2001201253A
Other languages
English (en)
Other versions
JP2003013697A (ja
Inventor
博英 橋本
一博 小林
Original Assignee
石川島建材工業株式会社
Priority date (The priority date is an assumption and is not a legal conclusion. Google has not performed a legal analysis and makes no representation as to the accuracy of the date listed.)
Filing date
Publication date
Application filed by 石川島建材工業株式会社 filed Critical 石川島建材工業株式会社
Priority to JP2001201253A priority Critical patent/JP4570819B2/ja
Publication of JP2003013697A publication Critical patent/JP2003013697A/ja
Application granted granted Critical
Publication of JP4570819B2 publication Critical patent/JP4570819B2/ja
Anticipated expiration legal-status Critical
Expired - Fee Related legal-status Critical Current

Links

Images

Landscapes

  • Lining And Supports For Tunnels (AREA)

Description

【0001】
【発明の属する技術分野】
本発明は、セグメントの継手構造に関するものであり、特に、インサートとボルトを使用してセグメント同士を緊締する際に用いて好適な継手構造に関するものである。
【0002】
【従来の技術】
従来、この種の継手構造として用いられているものは、セグメント同士を接合する端面に継手金具を埋設し、この継手金具を介してボルト及びナットを締結することで隣接するコンクリート製のセグメント同士を緊締している。図6に、この継手構造の一例を示す。
【0003】
図6は、隣接するセグメント1a、1bが端面2a、2bにおいて連結された断面図である。各セグメント1a、1bの端面2a、2bには、継手金具3、3が固設されている。継手金具3は、平面視コ字状に形成されており、その両端片3aにはインサートとしてのアンカー筋4が溶接等により固定されている。また、継手金具3の中、中央部分3bは、端面2a、2bにそれぞれ露出して設けられており、この中央部分3bには互いに連通するボルト孔5が形成されている。
そして、両端片間の箱抜部(ボルトボックス)6からボルト孔5、5にボルト7を挿入し、ナット8で締結することにより、継手金具3、3を介してセグメント1a、1bを緊締することができる。
【0004】
【発明が解決しようとする課題】
しかしながら、上述したような従来のセグメントの継手構造には、以下のような問題が存在する。
セグメント1a、1bの双方に埋設される継手金具3とアンカー筋4とを溶接等により別途固定する必要があるため、作業に手間がかかるとともに、コストが増加するという問題があった。
【0005】
本発明は、以上のような点を考慮してなされたもので、コスト増になることなく簡素な構成でセグメント同士を緊締できる継手構造を提供することを目的とする。
【0006】
【課題を解決するための手段】
上記の目的を達成するために本発明は、以下の構成を採用している。
請求項1記載のセグメントの継手構造は、端面で接合される隣接するセグメントの少なくとも一方にインサートが埋設され、前記セグメントの他方を介して前記インサートにボルトを連結して双方のセグメントを緊締する継手構造において、前記インサートの外周には螺旋状にネジ節が形成され、前記ボルトと螺合する第1ネジ部と、前記ネジ節と螺合する第2ネジ部と、を有する螺着部材を介して前記ボルトと前記インサートとが連結されていて、前記セグメントの一方の前記端面には、前記インサートの軸線回りに形成されたテーパ面を有する凹部が設けられ、前記螺着部材には、前記第2ネジ部と前記ネジ節とが螺着したときに前記テーパ面に嵌合する突部が設けられていることを特徴とするものである。
【0007】
従って、本発明のセグメントの継手構造では、インサートのネジ節に第2ネジ部が螺合した螺着部材に対して、セグメントの他方を介してボルトを第1ネジ部に螺合して締結することにより、ボルトとインサートとを介してセグメントの双方を緊締することができる。このとき、螺着部材は、インサートと螺着させるという簡単な構成なので、溶接等の作業を要せずコスト増を防止することができる。
【0011】
また、本発明のセグメントの継手構造では、セグメントの一方に埋設されたインサートのネジ節に螺着部材を軸線回りに回転させて第1ネジ部を螺入することにより、螺着部材がインサートに螺着してその突部がテーパ面に嵌合することで、螺着部材をセグメントの一方に固着することができる。
【0012】
請求項2記載のセグメントの継手構造は、請求項1から3のいずれかに記載のセグメントの継手構造において、前記セグメントの他方の前記端面には、第2テーパ面を有する第2凹部が設けられ、前記螺着部材には、前記第1ネジ部と前記ボルトとが螺着したときに前記第2テーパ面に嵌合する第2突部が設けられることを特徴とするものである。
【0013】
従って、本発明のセグメントの継手構造では、インサートのネジ節に第2ネジ部が螺合した螺着部材に対して、セグメントの他方を介してボルトを第1ネジ部に螺合して締結することにより、螺着部材の第2突部がセグメントの他方の第2テーパ面に嵌合して、螺着部材とセグメントの他方とが、すなわち双方のセグメント同士がテーパ合わせにより位置決めされる。
【0014】
請求項3記載のセグメントの継手構造は、請求項1から4のいずれかに記載のセグメントの継手構造において、前記ボルトと前記ネジ節、および前記第1ネジ部と前記第2ネジ部は、それぞれ同一のネジ諸元を有することを特徴とするものである。
【0015】
従って、本発明のセグメントの継手構造では、螺着部材に形成される第1ネジ部および第2ネジ部を同一形状にすることができる。そのため、例えば、第1ネジ部を螺着部材に貫通して形成し、一端側でネジ節に螺合させ、他端側でボルトに螺合させることができ、螺着部材の構成を簡素にすることができる。
【0016】
【発明の実施の形態】
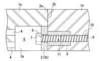
以下、本発明のセグメントの継手構造の第1の実施形態を、図1および図2を参照して説明する。これらの図において、従来例として示した図6と同一の構成要素には同一符号を付し、その説明を簡略化する。
【0017】
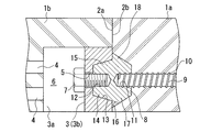
図1は、隣接するセグメント(一方)1a、およびセグメント(他方)1bが端面2a、2bにおいて接合された断面図である。セグメント1bの端面2bには、継手金具3が固設されている。そして、継手金具3には、ボルト孔5が水平方向に開設されており、継手金具3の背面にはボルト孔5にボルト7を挿入してボルト締め操作を行うための箱抜部6が設けられている。
【0018】
セグメント1aには、継手金具3のボルト孔5と対向する位置に、当該ボルト孔5と軸線を一致させてカプラー(螺着部材)8とインサート9とが埋設されている。インサート9は、所定のネジ諸元(ピッチ、ネジ方向、ネジの断面形状等)を有するネジ節10が外周に長さ方向に沿って螺旋状に形成された異型鉄筋で構成されている。カプラー8には、インサート9のネジ節10が螺合する雌ねじ部(第1ネジ部、第2ネジ部)11がボルト孔5と対向し、且つ端面2aに開口するように、水平方向に貫通して形成されており、インサート9はこの雌ねじ部11の一端側にネジ節10を螺着させた状態でカプラー8とともにセグメント1aに埋設されている。なお、ボルト7には、ネジ節10と同一のネジ諸元を有する雄ねじ(図示せず)が形成されている。
【0019】
上記の構成のセグメントの継手構造によりセグメント1a、1bを接合(結合)するには、継手金具3に形成されたボルト孔5に箱抜部6を介してボルト7の先端部を挿入してカプラー8に形成された雌ねじ部11の他端側に螺入させ、当該ボルト7を緊締する。これにより、ボルト7がインサート9に連結され、継手金具3、カプラー8、インサート9を介して双方のセグメント1a、1b同士が端面2a、2bを接合させた状態で結合される。
【0020】
このとき、セグメント1aのコンクリートに埋設されたインサート9は、その長さ方向に亘ってネジ節10が形成されているので、コンクリートの喰い込みが強固であることから引張抵抗が増大する。
【0021】
このように本実施の形態の継手構造では、セグメント1a側においてインサート9にカプラー8を螺着させるという簡単な作業でこれらを固定できるので、従来のように継手金具とインサートとを溶接等で別途固定する等の、手間がかかる煩雑な作業が不要になりコスト増加も防止することが可能になる。また、本実施の形態では、ボルト7とネジ節10とが同一のネジ諸元を有しているので、カプラー8に形成する雌ねじ部11を一種類にすることができ、カプラー8の製造に係るコストを抑制することができる。特に、雌ねじ部11をカプラー8に貫通させることで、雌ねじ部11を一方向の加工で形成することができ、より製造コストを下げることができる。
【0022】
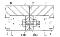
なお、上記実施の形態では、雌ねじ部11がカプラー8に貫通して形成される構成としたが、これに限定されるものではなく、カプラー8の厚さが大きい等の場合には、雌ねじの加工限界を考慮して両側に袋ネジを形成する構成としてもよい。また、ボルト7がネジ節10と同一のネジ諸元を有する構成通したが、ボルト7を通常用いられるメートルネジとしてもよい。この場合、図2に示すように、カプラー8の端面2a側にメートルネジの雌ねじ部(第1ネジ部)12を形成すればよく、また必ずしも袋ネジである必要はなく、雌ねじ部11、12が連通する構成としてもよい。
【0023】
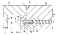
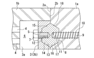
図3は、本発明のセグメントの継手構造の第2の実施の形態を示す図である。
この図において、図1および図2に示す第1の実施の形態の構成要素と同一の要素については同一符号を付し、その説明を省略する。第2の実施の形態と上記の第1の実施の形態とが異なる点は、カプラー8に端面2aから突出する突部を設けたことである。
【0024】
図3に示すように、セグメント1bの継手金具3には、端面2bから漸次縮径するテーパ面(第2テーパ面)13を有する凹部(第2凹部)14が形成されている。そして、カプラー8には、凹部14内に挿入されテーパ面13と嵌合する突部(第2突部)15が端面2aから突出して形成されている。また、本実施の形態では、カプラー8にインサート9のネジ節10に螺合する第2ネジ部としての雌ねじ部11と、メートルネジを有しボルト7と螺合する第1ネジ部としての雌ねじ部12とがそれぞれ袋ネジで形成されている。他の構成は、上記第1の実施形態と同様である。
【0025】
本実施の形態のセグメントの継手構造では、上記第1の実施形態と同様の作用・効果が得られることに加えて、ボルト7と雌ねじ部12とが螺着したときに、カプラー8の突部15がテーパ面13と嵌合するため、継手金具3とカプラー8とがテーパ合わせで位置決めされることで、セグメント1a、1b同士を互いに位置決めした状態で結合することができる。
【0026】
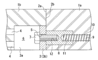
図4は、本発明のセグメントの継手構造の第3の実施形態を示す図である。この図において、図3に示す第2の実施形態の構成要素と同一の要素については同一符号を付し、その説明を省略する。第3の実施形態と上記の第2の実施形態とが異なる点は、カプラー8をインサート9のネジ節10に螺入することでセグメント1aに固定可能にしたことである。
【0027】
図4に示すように、セグメント1aの端面2aには、インサート9の軸線回りに漸次縮径するテーパ面16が形成された凹部17が設けられている。そして、カプラー8には、テーパ面16に嵌合する突部18が設けられている。他の構成は、上記第2の実施形態と同様である。
【0028】
本実施形態の継手構造では、セグメント1aの凹部17に突出するインサート9に対して、カプラー8の雌ねじ部11を螺合して上記軸線回りに回転させ、ねじ込むことでカプラー8の突部18がテーパ面16と嵌合する。これにより、カプラー8が位置決めされた状態でセグメント1aに固定される。この後、継手金具3を介してボルト7をカプラー8の雌ねじ部12に螺着して緊締することにより、セグメント1a、1b同士を互いに位置決めした状態で結合することができる。このように、セグメント1aを形成した後の工程でカプラー8を固定することも可能である。
【0029】
なお、図4に示した本実施の形態では、セグメント1aを形成する後の工程でカプラー8を固定するものとして説明したが、上記第1の実施形態と同様に、カプラー8をセグメント1aに一体的に埋設する構成としてもよい。また、カプラー8における突部15、18が同一起点のテーパ面を有するものとして図示したが、これに限定されるものではなく、例えば図5に示すように、突部15のテーパ面が突部18のテーパ面よりも小さい径を起点として漸次縮径する構成としてもよい。この場合、継手金具3における凹部14が小さくなるため、結果として継手金具3の強度が増し、継手金具3に掛かる負荷が大きいときには特に好適である。
【0030】
【発明の効果】
以上説明したように、請求項1に係るセグメントの継手構造は、ボルトと螺合する第1ネジ部と、ネジ節と螺合する第2ネジ部とを有する螺着部材を介してボルトとインサートとが連結される構成となっている。
これにより、このセグメントの継手構造では、簡単な構成でセグメント同士を緊締でき、従来のように手間がかかる煩雑な作業が不要になりコスト増加を防止できるという効果を奏する。
【0032】
また、請求項1に係るセグメントの継手構造は、第2ネジ部とネジ節とが螺着したときにセグメントの一方の端面に形成されたテーパ面に嵌合する突部が螺着部材に設けられる構成となっている。
これにより、このセグメントの継手構造では、セグメントを形成した後の工程で螺着部材を固定することも選択可能になり、状況に応じてセグメント形成に係る作業内容を適宜変更できるという効果が得られる。
【0033】
請求項2に係るセグメントの継手構造は、第1ネジ部とボルトとが螺着したときにセグメントの他方の端面に設けられた第2テーパ面に嵌合する第2突部が螺着部材に設けられる構成となっている。
これにより、このセグメントの継手構造では、セグメント同士を互いに位置決めした状態で結合できるという効果を奏する。
【0034】
請求項3に係るセグメントの継手構造は、ボルトとネジ節、および第1ネジ部と第2ネジ部がそれぞれ同一のネジ諸元を有する構成となっている。
これにより、このセグメントの継手構造では、螺着部材の製造に係るコストを抑制できるという効果を奏する。
【図面の簡単な説明】
【図1】本発明の第1の実施形態を示す図であって、隣接するセグメント同士がカプラーを介して結合された断面図である。
【図2】別の構成を有するカプラーにボルト、インサートが螺着する断面図である。
【図3】本発明の第2の実施形態を示す図であって、隣接するセグメント同士がカプラーを介して結合された断面図である。
【図4】本発明の第3の実施形態を示す図であって、隣接するセグメント同士がカプラーを介して結合された断面図である。
【図5】図4におけるカプラーが別の構成を有する図である。
【図6】従来技術によるセグメントの継手構造の一例を示す断面図である。
【符号の説明】
1a セグメントの一方
1b セグメントの他方
2a、2b 端面
7 ボルト
8 カプラー(螺着部材)
9 インサート
10 ネジ節
11 雌ねじ部(第1ネジ部、第2ネジ部)
12 雌ねじ部(第1ネジ部)
13 テーパ面(第2テーパ面)
14 凹部(第2凹部)
15 突部(第2突部)
16 テーパ面
17 凹部
18 突部

Claims (3)

  1. 端面で接合される隣接するセグメントの少なくとも一方にインサートが埋設され、前記セグメントの他方を介して前記インサートにボルトを連結して双方のセグメントを緊締する継手構造において、
    前記インサートの外周には螺旋状にネジ節が形成され、
    前記ボルトと螺合する第1ネジ部と、前記ネジ節と螺合する第2ネジ部と、を有する螺着部材を介して前記ボルトと前記インサートとが連結されていて、
    前記セグメントの一方の前記端面には、前記インサートの軸線回りに形成されたテーパ面を有する凹部が設けられ、
    前記螺着部材には、前記第2ネジ部と前記ネジ節とが螺着したときに前記テーパ面に嵌合する突部が設けられていることを特徴とするセグメントの継手構造。
  2. 請求項1に記載のセグメントの継手構造において、
    前記セグメントの他方の前記端面には、第2テーパ面を有する第2凹部が設けられ、
    前記螺着部材には、前記第1ネジ部と前記ボルトとが螺着したときに前記第2テーパ面に嵌合する第2突部が設けられることを特徴とするセグメントの継手構造。
  3. 請求項1または2に記載のセグメントの継手構造において、
    前記ボルトと前記ネジ節、および前記第1ネジ部と前記第2ネジ部は、それぞれ同一のネジ諸元を有することを特徴とするセグメントの継手構造。
JP2001201253A 2001-07-02 2001-07-02 セグメントの継手構造 Expired - Fee Related JP4570819B2 (ja)

Priority Applications (1)

Application Number Priority Date Filing Date Title
JP2001201253A JP4570819B2 (ja) 2001-07-02 2001-07-02 セグメントの継手構造

Applications Claiming Priority (1)

Application Number Priority Date Filing Date Title
JP2001201253A JP4570819B2 (ja) 2001-07-02 2001-07-02 セグメントの継手構造

Publications (2)

Publication Number Publication Date
JP2003013697A JP2003013697A (ja) 2003-01-15
JP4570819B2 true JP4570819B2 (ja) 2010-10-27

Family

ID=19038252

Family Applications (1)

Application Number Title Priority Date Filing Date
JP2001201253A Expired - Fee Related JP4570819B2 (ja) 2001-07-02 2001-07-02 セグメントの継手構造

Country Status (1)

Country Link
JP (1) JP4570819B2 (ja)

Families Citing this family (1)

* Cited by examiner, † Cited by third party
Publication number Priority date Publication date Assignee Title
JP7084334B2 (ja) * 2019-02-13 2022-06-14 株式会社熊谷組 リング継手

Family Cites Families (6)

* Cited by examiner, † Cited by third party
Publication number Priority date Publication date Assignee Title
JPS6171697U (ja) * 1984-10-13 1986-05-15
JPH0324568U (ja) * 1989-07-13 1991-03-13
JPH0336097U (ja) * 1989-08-22 1991-04-09
JPH07103787B2 (ja) * 1990-02-13 1995-11-08 純一 都築 コンクリートセグメントの継手金具
JP2868129B2 (ja) * 1990-03-02 1999-03-10 株式会社熊谷組 プレキヤスト部材の連結装置
JP2713119B2 (ja) * 1993-10-21 1998-02-16 鹿島建設株式会社 プレキャスト被覆鋼管コンクリート柱とプレキャスト梁の仕口構造

Also Published As

Publication number Publication date
JP2003013697A (ja) 2003-01-15

Similar Documents

Publication Publication Date Title
JPH01158158A (ja) コンクリート補強棒用連結具
JP4276775B2 (ja) ねじ部材
WO2006028327A1 (en) Bolt structure, and bolt and nut assembly structure
RU2444670C1 (ru) Хомут для шланга
JP4570819B2 (ja) セグメントの継手構造
JPH09280239A (ja) 締結具
JPH09279766A (ja) 異形鉄筋の継手構造
KR100882567B1 (ko) 자기결착형 볼트 체결구조
JP2011132773A (ja) 鉄筋の継手構造
JPH05295858A (ja) 異形棒鋼用継手
JP2008075415A (ja) ねじ鉄筋の接続方法
JPH028498A (ja) コンクリート部材の締結装置
US20020172551A1 (en) Tube connector
JPH06158783A (ja) 棒鋼のねじ継手
JP2001003518A (ja) 打継ぎ用継手及び打継ぎ用の継手部材
WO2023098965A1 (en) Reinforcing bar coupler based on double action of screw elements
JP4864619B2 (ja) ねじ鉄筋の接続方法
JP2001140591A (ja) セグメントの継手部構造
JPH0526158Y2 (ja)
JPH0978766A (ja) 棒鋼のねじ継手
JP4178047B2 (ja) 鉄筋の端部定着装置
JP7680339B2 (ja) 連結継手
KR102892529B1 (ko) 나사산 생성과 나사산 체결 성능을 향상하는 오각-로브형 탭 볼트
JP2000226905A (ja) ねじ鉄筋の連結方法
KR100406140B1 (ko) 철근 이음장치

Legal Events

Date Code Title Description
A621 Written request for application examination

Free format text: JAPANESE INTERMEDIATE CODE: A621

Effective date: 20080509

A977 Report on retrieval

Free format text: JAPANESE INTERMEDIATE CODE: A971007

Effective date: 20100419

A131 Notification of reasons for refusal

Free format text: JAPANESE INTERMEDIATE CODE: A131

Effective date: 20100506

A521 Request for written amendment filed

Free format text: JAPANESE INTERMEDIATE CODE: A523

Effective date: 20100701

TRDD Decision of grant or rejection written
A01 Written decision to grant a patent or to grant a registration (utility model)

Free format text: JAPANESE INTERMEDIATE CODE: A01

Effective date: 20100803

A01 Written decision to grant a patent or to grant a registration (utility model)

Free format text: JAPANESE INTERMEDIATE CODE: A01

A61 First payment of annual fees (during grant procedure)

Free format text: JAPANESE INTERMEDIATE CODE: A61

Effective date: 20100811

FPAY Renewal fee payment (event date is renewal date of database)

Free format text: PAYMENT UNTIL: 20130820

Year of fee payment: 3

R150 Certificate of patent or registration of utility model

Free format text: JAPANESE INTERMEDIATE CODE: R150

R250 Receipt of annual fees

Free format text: JAPANESE INTERMEDIATE CODE: R250

S531 Written request for registration of change of domicile

Free format text: JAPANESE INTERMEDIATE CODE: R313531

S533 Written request for registration of change of name

Free format text: JAPANESE INTERMEDIATE CODE: R313533

R350 Written notification of registration of transfer

Free format text: JAPANESE INTERMEDIATE CODE: R350

LAPS Cancellation because of no payment of annual fees