JP7680339B2 - 連結継手 - Google Patents

連結継手 Download PDF

Info

Publication number
JP7680339B2
JP7680339B2 JP2021197820A JP2021197820A JP7680339B2 JP 7680339 B2 JP7680339 B2 JP 7680339B2 JP 2021197820 A JP2021197820 A JP 2021197820A JP 2021197820 A JP2021197820 A JP 2021197820A JP 7680339 B2 JP7680339 B2 JP 7680339B2
Authority
JP
Japan
Prior art keywords
plate
hook
shaped member
protruding
fitting
Prior art date
Legal status (The legal status is an assumption and is not a legal conclusion. Google has not performed a legal analysis and makes no representation as to the accuracy of the status listed.)
Active
Application number
JP2021197820A
Other languages
English (en)
Other versions
JP2023083866A (ja
Inventor
孝 田中
宏典 田中
修 小林
Current Assignee (The listed assignees may be inaccurate. Google has not performed a legal analysis and makes no representation or warranty as to the accuracy of the list.)
Toda Corp
Original Assignee
Toda Corp
Priority date (The priority date is an assumption and is not a legal conclusion. Google has not performed a legal analysis and makes no representation as to the accuracy of the date listed.)
Filing date
Publication date
Application filed by Toda Corp filed Critical Toda Corp
Priority to JP2021197820A priority Critical patent/JP7680339B2/ja
Publication of JP2023083866A publication Critical patent/JP2023083866A/ja
Application granted granted Critical
Publication of JP7680339B2 publication Critical patent/JP7680339B2/ja
Active legal-status Critical Current
Anticipated expiration legal-status Critical

Links

Images

Landscapes

  • Lining And Supports For Tunnels (AREA)

Description

本発明は、シールドトンネルの施工において、セグメント同士を連結するのに好適な連結継手に関する。
RCセグメントどうしを連結するには、連結すべき両セグメントの連結面を突き合わせると共に、その両連結面に設けられている各連結板を貫通した連結ボルトとこの連結ボルトに螺合するナットとで両連結板を締付けることにより、連結するのが一般的である。
しかしながら、このようなボルト締結による連結構造には、下記のような問題点がある。
・ボルト締結に時間を要する。
・掘進に伴いボルトの緩みが生じやすく増し締めが必要である。
・ボルト孔のクリアランスにより真円度が低下する。
・継手金物が表面露出するため二次覆工もしくは防錆処理が必要である。
・内面平滑性を確保するためにはボルトボックスの穴埋めが必要である。
・自動組立には対応できない。
また、特許文献1には、連結すべき両セグメントの連結面に半円形状の凹部が切り欠いて形成され、一方のセグメントの凹部内に、嵌合孔を有する略円筒形状のメス型連結具が半没した状態で取付けられ、他方のセグメントの凹部内に、メス型連結具の嵌合孔内へ嵌合できる略円柱形状のオス型連結具が半没した状態で取付けられ、セグメントをトンネル軸方向へ移動させ、オス型連結具をメス型連結具の嵌合孔内へ挿入して嵌合させることにより、容易かつ短時間でセグメントどうしを連結できるセグメントの連結構造が開示されている。さらに、特許文献1には、オス型連結具およびメス型連結具は、どちらも截頭円錐形に形成されており、オス型連結具のメス型連結具への嵌合を楔作用で行うことが記載されている。
特許第3010011号公報
上記特許文献1に記載のようなセグメントの連結構造は、オス型連結具およびメス型連結具が納まっている円形状の孔部内へグラウトを充填する必要があり、さらにオス型連結具およびメス型連結具の外周部にはクッション材が設けられているため、継手部が変形しやすく、また、オス型連結具およびメス型連結具のアンカー部は、連結具と一体の断面T型形状であり、セグメントの製作時のアンカー部の設置精度の確保が難しく、アンカー部としての断面形状が大きくなりやすい。
このため、以下のような課題があった。
・継手部の変形抑制
・継手本体の形状の縮小と加工工程の減少によるコスト低減
・継手本体とアンカー部材との連結の簡略化
・アンカー部材の定着長さの低減
本発明が解決しようとする課題は、変形しにくく、コンパクトで加工しやすいため、コストが低廉で済み、強固に連結させることができ、連結が簡単な連結継手及びセグメント連結方法を提供することにある。
本願請求項1に係る発明は、一の継手金具と他の継手金具とを相対的に一方向に移動させてセグメントを連結する連結継手であって、前記一の継手金具と前記他の継手金具とは、それぞれ、セグメントに固定される板状部材と、該板状部材の先端側に設けられる第一鉤部と、前記板状部材の前記第一鉤部より基端側に設けられる第一鉤受け部と、を備え、前記第一鉤部は、前記板状部材の一方向側に突出した一対の第一突出部を有し、前記第一鉤受け部は、前記板状部材の表面側及び裏面側に一対の第一溝部を有し、前記第一突出部が前記第一溝部に嵌合し挟み込むことで連結することを特徴とする連結継手である。
本願請求項2に係る発明は、前記第一突出部は、先端に向かって次第に幅が狭くなるテーパー状であり、前記第一溝部は、前記第一突出部が嵌合してくる方向に向かって次第に幅が狭くなるテーパー状であることを特徴とする請求項1に記載の連結継手である。
本願請求項3に係る発明は、前記第一突出部の対向面間の距離は、先端に向かって次第に広くなっていることを特徴とする請求項1又は請求項2に記載の連結継手である。
本願請求項4に係る発明は、前記第一鉤受け部は、前記板状部材における前記第一溝部より基端側に前記板状部材の一方側に突出した規制部を有し、前記規制部は、前記第一突出部が前記第一溝部に嵌合する際に前記第一突出部をガイドすることを特徴とする請求項1乃至請求項3のうちいずれか1項に記載の連結継手である。
本願請求項5に係る発明は、前記第一鉤部と前記第一鉤受け部との間において、前記板状部材に補強リブが形成されていることを特徴とする請求項1乃至請求項4のうちいずれか1項に記載の連結継手である。
本願請求項6に係る発明は、前記一の継手金具と前記他の継手金具とは、さらに、それぞれ、前記板状部材の前記第一鉤部より基端側に設けられる第二鉤部と、前記板状部材の前記第一鉤受け部より先端側に設けられる第二鉤受け部と、を備え、前記第二鉤部は、前記板状部材の一方向側に突出した一対の第二突出部を有し、前記第二鉤受け部は、前記板状部材の表面側及び裏面側に一対の第二溝部を有し、前記第二突出部が前記第二溝部に嵌合し挟み込むことで連結することを特徴とする請求項1乃至請求項5のうちいずれか1項に記載の連結継手である。
本願請求項7に係る発明は、前記第二突出部は、先端に向かって次第に幅が狭くなるテーパー状であり、前記第二溝部は、前記第二突出部が嵌合される方向に向かって次第に幅が狭くなるテーパー状であることを特徴とする請求項6に記載の連結継手である。
本願請求項8に係る発明は、前記第二突出部の対向面間の距離は、先端に向かって次第に広くなっていることを特徴とする請求項6又は請求項7に記載の連結継手である。
本願請求項9に係る発明は、前記板状部材は、該板状部材のトンネル軸方向の両側に張り出したアンカー部が取付けられる取付け部を備えており、前記取付け部の間の前記板状部材のセグメント厚さ方向における厚さは、前記取付け部の厚さより薄いことを特徴とする請求項1乃至請求項8のうちいずれか1項に記載の連結継手である。
本願請求項10に係る発明は、前記一の継手金具と前記他の継手金具とは、同じ形状をしていることを特徴とする請求項1乃至請求項9のうちいずれか1項に記載の連結継手である。
本願請求項11に係る発明は、前記板状部材は、該板状部材のトンネル軸方向の両側に張り出したアンカー部が取付けられる取付け部と、前記取付け部に取り付けられるアンカー部を備え、前記アンカー部は、雄ネジ部を有し、該雄ネジ部が前記取付け部に貫通されナットで締結されていることを特徴とする請求項1乃至請求項10のうちいずれか1項に記載の連結継手である。
本願請求項12に係る発明は、前記アンカー部は、前記雄ネジ部を両端に有するU字形状であることを特徴とする請求項11に記載の連結継手である。
本発明によれば、第一鉤部の第一突出部で表裏の第一溝部を挟み込んで継手金具どうしを連結し、一の継手金具と他の継手金具との連結が板状部材の先端側と基端側の2か所でされることになるので、強固に連結させることができ、変形も強固に抑制することができる。
加えて、第一突出部は、先端に向かって次第に幅が狭くなるテーパー状であり、第一溝部は、第一突出部が嵌合してくる方向に向かって次第に幅が狭くなるテーパー状であるので、第一突出部を第一溝部に嵌合しやすい。
加えて、第一突出部の対向面間の距離は、先端に向かって次第に広くなっているので、連結に際して、板状部材を挟み込みやすくなり、第一突出部を第一溝部に嵌合しやすい。
加えて、第一鉤受け部は、板状部材における第一溝部より基端側に板状部材の一方側に突出した規制部を有し、規制部は、第一突出部が第一溝部に嵌合する際に第一突出部をガイドするので、第一鉤部の第一突出部が第一溝部へ嵌合がスムーズになる。
加えて、第一鉤部と第一鉤受け部との間において、板状部材に補強リブを形成されているので、板状部材の強度が増し、連結継手の変形抑制機能及びせん断耐力が向上する。
加えて、第二鉤部の第二突出部で表裏の第二溝部を挟み込んで継手金具どうしを連結し、一の継手金具と他の継手金具との連結が板状部材の先端側と基端側の4か所でされることになるので、強固に連結させることができ、変形も強固に抑制することができる。
加えて、第二突出部は、先端に向かって次第に幅が狭くなるテーパー状であり、第二溝部は、第二突出部が嵌合してくる方向に向かって次第に幅が狭くなるテーパー状であるので、第二突出部を第二溝部に嵌合しやすい。
加えて、第二突出部の対向面間の距離は、先端に向かって次第に広くなっているので、連結に際して、板状部材を挟み込みやすくなり、第二突出部を第二溝部に嵌合しやすい。
加えて、板状部材は、板状部材のトンネル軸方向の両側に張り出したアンカー部が取付けられる取付け部を備えており、取付け部の間の板状部材のセグメント厚さ方向における厚さは、取付け部の厚さより薄いことで、張り出した部分の間の板状部材を薄肉化することができ、コストの低減を図ることができる。
加えて、一の継手金具と他の継手金具とは、同じ形状であり、これらを逆転させて配置して連結するものであるため、継手製作時の加工工程が低減して、コストを低減することができる。
加えて、板状部材は、板状部材のトンネル軸方向の両側に張り出したアンカー部が取付けられる取付け部と、取付け部に取り付けられるアンカー部を備え、アンカー部は、雄ネジ部を有し、雄ネジ部が取付け部に貫通されナットで締結されているので、継手金具側に雌ネジ加工をする必要がなくコストを低減することができる。
加えて、アンカー部は、雄ネジ部を両端に有するU字形状であるので部品点数を少なくでき、定着長を低減することができる。
本発明の実施形態に係るシールドトンネルの概略図である。 本発明の実施形態に係るセグメントのトンネル中心側から視た内面図である。 本発明の実施形態に係るセグメントのトンネル軸方向から視た側面図である。 本発明の実施形態に係るセグメントのトンネル円周方向から視た端面図である。 本発明の実施形態に係るセグメントの拡大内面図である。 本発明の実施形態に係るセグメントの要部横断面図である。 本発明の実施形態に係るセグメントの要部縦断面図である。 本発明の実施形態に係る継手金具のアンカー部及び基端部を示し、図8(a)は平面図、図8(b)は端面図である。 本発明の実施形態に係る継手金具の板状部材を示し、図9(a)は平面図、図9(b)は側面図、図9(c)は端面図である。 図9(a)のA-A断面図である。 図9(a)のB-B断面図である。 図9(a)のC-C断面図である。 連結継手の連結手順を示す図である。
以下、本発明の実施形態につき図面を参照する等して説明する。なお、本発明は、実施形態に限定されないことはいうまでもない。
以下の説明は、シールドトンネルにおいて、トンネル周方向に隣り合うセグメント同士を連結する連結継手、いわゆるピース間継手に本発明が採用された実施形態に関する。
図1は、実施形態に係るシールドトンネルの概略図であり、図2は、実施形態に係るセグメントの内面図、図3は、セグメントの側面図、図4は、セグメントの端面図、図5は、セグメントの拡大内面図、図6は、セグメントの要部横断面図、図7は、セグメントの要部縦断面図、図8は、継手金具のアンカー部及び基端部を示す図、図9は、継手金具の板状部材を示す図、図10~図12は、板状部材の各部の断面図、図13は、連結継手の連結手順を示す図である。
図1に示すように、シールドトンネル1は、坑口から発進したシールド機で地中を掘進しながら、シールド機の内部でセグメント2が組み立てられ、セグメントリング21が形成されていく。
セグメントリング21は、既設のセグメントリング21の切羽側において各セグメント2のピースがトンネル円周方向に順次連結されて形成されて構成される。
図2、図3及び図5に示すように、セグメント2のトンネル軸方向の両側面には、セグメントリング21どうしを連結するリング間継手22が設けられる。
本実施形態では、リング間継手22は、セグメント2の両側面にそれぞれ埋め込まれた雄金具と雌金具とからなるいわゆるワンパス継手が採用されている。
図2、図4及び図5に示すように、トンネル円周方向に隣り合うセグメント2どうしを連結する連結継手3は、セグメント2のトンネル円周方向の両端面である連結面20にそれぞれ設置された一の継手金具3aと他の継手金具3bとから成る。
一の継手金具3a及び他の継手金具3bの連結片312は、セグメント2の連結面20に形成された凹部23a,23bに設けられている。
図6及び図7に示すように、一の継手金具3a及び他の継手金具3bは、それぞれ、セグメント2に埋設されるアンカー部30と、アンカー部30が取付けられて一部が埋設され、凹部23a、23bを介してセグメント2の連結面20から張り出して固定される板状部材31と、板状部材31の先端側に設けられる第一鉤部32と、板状部材31の第一鉤部32より基端側に設けられた第一鉤受け部33と、を備える。
図8に示すように、アンカー部30は、両端に雄ネジ部300を有するU字形状のUボルトより成り、両端を連結面20側に向けて、且つ、両端がトンネル軸方向に並ぶようにセグメント2に埋設される。
アンカー部30は、板状部材31のトンネル軸方向の両側に張り出した取付け部である取付片311に取り付けられる。アンカー部30の雄ネジ部300が取付片311が備える貫通孔に挿通されナット301で締結されることにより、アンカー部30は、板状部材31に取り付けられる。
アンカー部30の雄ネジ部300が取付片311に貫通されナット301で締結されているので、継手金具側である板状部材31に雌ネジ加工をする必要がなくコストを低減することができる。
アンカー部30が、U字形状であるので部品点数を少なくでき、定着長を低減することができる。
板状部材31は、アンカー部30の軸棒の中心軸を含む面と平行な板材を含み(図6)、図9に示すように、セグメント2に埋設される部分を含む基端部310は、幅広状となっており、基端部310のトンネル軸方向の両側に張り出した取付片311を備える。取付片311は、略円筒形で内部に貫通孔を備えて、当該貫通孔にアンカー部30の雄ネジ部300が挿通される。
両側の取付片311の間の板状部材31の基端部310のセグメント厚さ方向における厚さは、取付片311の厚さより薄くなっている(図9(c))。アンカー部30が取付けられる取付片311は一定の厚さが必要となるが、このように、取付片311を基端部310の両側に配置することで、薄肉化することが可能となり、コストの低減を図ることができる。
また、取付片311を張り出させることで、アンカー部30の雄ネジ部300が貫通して先端側に突出してナット301で締結させるスペースを確保できる。
基端部310の先端側は、表面側及び裏面側から次第に厚さが薄くなる傾斜部310aが設けられている(図6、図7、図9)。傾斜部310aは、セグメント2に埋設されるので、継手金具の連結による板状部材31に作用する引張力に対するアンカー効果を高める。
板状部材31は、基端部310の傾斜部310aの先端から、基端部310の一側部から略半分の幅でセグメント2の周方向に延びる連結片312が一体に形成されている。
図9及び図10に示すように、第一鉤部32は、連結片312の先端部の表面側及び裏面側にそれぞれ設けられ、板状部材の連結片312から一方向(セグメントを連結させるために一の継手金具と他の継手金具とを相対的に移動させる方向)側に向けて突出する一対の第一突出部320を有する。
第一鉤部32の第一突出部320が突出される基端側の連結片312との表面側及び裏面側は、第一突出部320が連続して形成されて第一鉤部土手部321を形成している。第一鉤部土手部321は、第二溝部350を形成するためのものであり、連結片312の補強部(リブ)としても機能するものである。第一鉤部土手部321は、第二溝部350を形成するためのものであるので、第二鉤受け部土手部でもある。
図9(a)に示すように、第一突出部320の長さは、基端部310の幅と同じ寸法となっている。また、第一突出部320の表裏方向から視た形状は、先端に向かって次第に幅が狭くなるテーパー状(両テーパー)となっている。
図10に示すように、一対の第一突出部320の間には、連結片312の厚みとほぼ同厚の間隙が形成される。一対の第一突出部320の対向面間の距離は、第一突出部320の突出側の先端に向かって次第に広がっている。このため連結に際して、板状部材31の連結片312を挟み込みやすくなり、第一突出部320を第一溝部330に嵌合しやすい。
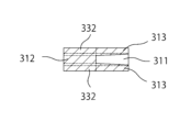
図9に示すように、第一鉤受け部33は、板状部材31の第一鉤部32より基端側に設けられ、板状部材31の連結片312の表面側及び裏面側に一対の第一溝部330を有する。
第一溝部330は、一対の土手部(第二鉤部土手部331、規制部土手部332)を含んで構成される。第二鉤部土手部331,規制部土手部332は、第一溝部330を形成するためのものであり、連結片312の補強部(リブ)としても機能するものである。第二鉤部土手部321及び規制部土手部332は、第一溝部330を形成するためのものであるので、第一鉤受け部土手部でもある。
第二鉤部土手部331、規制部土手部332が形成する第一溝部330に、第一突出部320が嵌合し挟み込むことで第一鉤部32と第一鉤受け部33が連結する。第一溝部330は、第一突出部320が嵌合してくる方向に向かって次第に幅が狭くなるテーパー状(両テーパー)となっている。第一突出部320及び第一溝部330がテーパー状となっているので、第一突出部320を第一溝部330に嵌合しやすい。
図9及び図11に示すように、規制部土手部332は、連結片312との表面側及び裏面側に形成され、規制部土手部332から連続して突出する第一鉤受け部33が備える規制部313が形成される。規制部313は、第一突出部320と同じ長さを有し、第一突出部320が嵌合してくる方向に向かって次第に幅が狭くなるテーパー状(片テーパー)となっている。
規制部313は、板状部材31の連結片312における第一溝部330より基端側に板状部材31の連結片312から一方向(セグメントを連結させるために一の継手金具と他の継手金具とを相対的に移動させる方向)側に突出し、第一突出部320が第一溝部330に嵌合する際に第一突出部320をガイドし、第一突出部320が第一溝部330へ嵌合がスムーズになる。
図9及び図12に示すように、第二鉤部土手部331は、連結片312との表面側及び裏面側に形成され、第二鉤部土手部331から連続して突出する第二鉤部34の第二突出部340が形成される。
第二鉤部34は、板状部材31の連結片312の第一鉤部32より基端側であって、第二突出部340が規制部313から第一溝部330を挟んで位置するように設けられる。
図12に示すように、第二鉤部34は、連結片312の表面側及び裏面側にそれぞれ設けられ、板状部材31の他側に向けて突出する一対の第二突出部340を有する。一対の第二突出部340の間には、連結片312の厚みとほぼ同厚の間隙が形成される。一対の第二突出部340の対向面間の距離は、第二突出部340の先端に向かって次第に広がっている。このため連結に際して、板状部材31の連結片312を挟み込みやすくなり、第二突出部340を第二溝部350に嵌合しやすい。
第二突出部340は、第一突出部320と同じ長さを有し、第二突出部340の表裏方向から視た形状は、先端に向かって次第に幅が狭くなるテーパー状(片テーパー)となっている。
第二突出部340と規制部313、第一溝部330が連続するテーパー状となって、嵌合してくる第一突出部320をスムーズにガイドされることになる。
図9に示すように、第一鉤部32と第一鉤受け部33との間において、板状部材31には補強リブ36が形成されている。具体的には、板状部材31の連結片312の表面側及び裏面側において、第二鉤部土手部331よりも先端側に隣接して連結片312の幅方向に沿って補強リブ36が形成される。
補強リブ36の表裏方向から視た形状は、図9(a)に示すように、トンネル軸方向に平行な尾根状の形状となっており、トンネル軸方向から視た形状は、図9(b)に示すように台形状となっている。
図6及び図7に示すように、補強リブ36は、第一鉤部32と第一鉤受け部33との間にあり連結面20a、20b上に位置するように配置され、セグメント2の連結面20a、20b上におけるせん断力に抵抗する。
補強リブ36は、対抗する土手部321と相俟って、第二鉤受け部35の第二溝部350を表面側及び裏面側に一対に形成する。補強リブ36は、第二溝部350を形成するためのものであるので、第二鉤受け部土手部でもある。
第二鉤受け部35は、板状部材31の連結片312における第一鉤受け部33より先端側に設けられ、連結に際して、第二突出部340が第二溝部350に嵌合して挟み込む。
連結に際して、第一鉤部土手部321、第一突出部320と、第二鉤部土手部331、第二突出部340との係合面が連続した片テーパー形状となっているので、スムーズに嵌合される。
図6及び図7に示すように、一の継手金具3aは、セグメント2の一方の連結面20aにおいて、トンネル軸方向の両端寄りにそれぞれ設置され、他の継手金具3bは、セグメント2の他方の連結面20bにおいて、トンネル軸方向の両端寄りにそれぞれ設置される。
連結面20a,20bの継手金具の設置個所には、トンネル軸方向に長い凹部23a,23bが形成されている。
一の継手金具3aは、アンカー部30がセグメント2内に、基端部310とともに埋設され、板状部材31の規制部313から先端側が凹部23aの底面から露出するように設けられている。
補強リブ36から基端側は凹部23a内に収納され、補強リブ36から先端側は凹部23a内から外部へ飛び出している。
板状部材31は、第一突出部320、第二突出部340、規制部313が坑口側に向かって突出するように配置されている。また、板状部材31は、凹部23a内において、切羽側に配置され、他の継手金具3bの板状部材31の凹部23bから飛び出した部分が挿入可能となる空間が坑口側に形成される。
他の継手金具3bは、アンカー部30がセグメント2内に、基端部310とともに埋設され、板状部材31の規制部313から先端側が凹部23bの底面から露出するように設けられている。
補強リブ36から基端側は凹部23b内に収納され、補強リブ36から先端側は凹部23b内から外部へ飛び出している。
板状部材31は、第一突出部320、第二突出部340、規制部313が切羽側に向かって突出するように配置されている。また、板状部材31は、凹部23b内において、坑口側に配置され、一の継手金具3aの板状部材31の凹部23aから飛び出した部分が挿入可能となる空間が切羽側に形成される。
一の継手金具3a及び他の継手金具3bの板状部材31は、凹部23a,23bの開口面から外部へ突出しているが、隣接させるセグメント2の連結面20aと連結面20bとを当接した際に、先端が対向する凹部23a,23bの底面にぶつからない突出長さとなっている。
また、連結面20aと連結面20bとを当接させたとき、一の継手金具3aの第一鉤部32、第一鉤受け部33、第二鉤部34、第二鉤受け部35が、他の継手金具3bの第一鉤受け部33、第一鉤部32、第二鉤受け部35、第二鉤部34とそれぞれ対向するよう配置されている。
以下、セグメント2の連結方法について説明する。
構築が完了したセグメントリング21に隣接して、新たなセグメントリング21を構築するために、セグメント2をトンネル円周方向に順に連結していく。
セグメント2を連結するには、図13(a)に示すように、既設のセグメントリング21に先行して取り付けられたセグメント2Aのトンネル円周方向にやや間隔をあけて臨むように、後行のセグメント2Bを配置する。
この際、セグメント2Aの連結面20bに形成された凹部23bと、セグメント2Bの連結面20aに形成された凹部23aとが略対向している。
次に、図13(b)に示すように、後行のセグメント2Bをトンネル円周方向に移動させて先行するセグメント2Aに接近させ、セグメント2Aの他方の連結面20bにセグメント2Bの一方の連結面20aを当接させる。
すると、セグメント2Bの一方の連結面20aに設置された一の継手金具3aの板状部材31が、セグメント2Aの他方の連結面20bに形成された凹部23bの空間に挿入されるとともに、セグメント2Aの他方の連結面20bに設置された他の継手金具3bの板状部材31が、セグメント2Bの一方の連結面20aに形成された凹部23aの空間に挿入される。
次いで、図13(c)に示すように、後行のセグメント2Bをトンネル軸方向の坑口側へ移動させて、セグメント2Bに設けた一の継手金具3aの第一鉤部32、第一鉤受け部33、第二鉤部34、第二鉤受け部35を、先行のセグメント2Aに設けた他の継手金具3bの第一鉤受け部33、第一鉤部32、第二鉤受け部35、第二鉤部34にそれぞれ係合させ、互いに、第一鉤部32の第一突出部320を第一鉤受け部33の表面側及び裏面側の第一溝部330に嵌合して挟み込み、第二鉤部34の第二突出部340を第二鉤受け部35の表面側及び裏面側の第二溝部350に嵌合して挟み込むことで、セグメント2Bの一の継手金具3aとセグメント2Aの他の継手金具3bを連結する。
〔その他の変形例〕
本発明は上記の実施形態に限定されるものではない。例えば以下のようなものも含まれる。
本実施形態では、アンカー部をUボルトとしてあるが、これに限定されず、例えば、両側部に定着ボルトを設けた金具等であってもよい。また、アンカー部の形状によって、板状部材とアンカー部との取付構造も適宜変更することができる。
本実施形態では、一の継手金具において第一鉤部と第一鉤受け部、及び第二鉤部と第二鉤受け部の双方を設けて係合させるものであったが、これに限られない。第二鉤部と第二鉤受け部を設けずに、第一鉤部と第一鉤受け部のみを設けるものであっても良い。また、一の継手金具において第一鉤部と第一鉤受け部、及び第二鉤部と第二鉤受け部に加えて、第三以上の鉤部と鉤受け部を設けて係合させるものであっても良い。
いずれの実施形態における各技術的事項を他の実施形態に適用して実施例としても良い。
1 シールドトンネル
2 セグメント
20 連結面
20a 一方の連結面
20b 他方の連結面
21 セグメントリング
22 リング間継手
23a,23b 凹部
3 連結継手
3a 一の継手金具
3b 他の継手金具
30 アンカー部
300 雄ネジ部
301 ナット
31 板状部材
310 基端部
311 取付片
312 連結片
313 規制部
32 第一鉤部
320 第一突出部
321 第一鉤部土手部
33 第一鉤受け部
330 第一溝部
331 第二鉤部土手部
332 規制部土手部
34 第二鉤部
340 第二突出部
35 第二鉤受け部
350 第二溝部
36 補強リブ

Claims (12)

  1. 一の継手金具と他の継手金具とを相対的に一方向に移動させてセグメントを連結する連結継手であって、
    前記一の継手金具と前記他の継手金具とは、それぞれ、セグメントに固定される板状部材と、該板状部材の先端側に設けられる第一鉤部と、前記板状部材の前記第一鉤部より基端側に設けられる第一鉤受け部と、を備え、
    前記第一鉤部は、前記板状部材の一方向側に突出した一対の第一突出部を有し、
    前記第一鉤受け部は、前記板状部材の表面側及び裏面側に一対の第一溝部を有し、
    前記第一突出部が前記第一溝部に嵌合し挟み込むことで連結する
    ことを特徴とする連結継手。
  2. 前記第一突出部は、先端に向かって次第に幅が狭くなるテーパー状であり、前記第一溝部は、前記第一突出部が嵌合してくる方向に向かって次第に幅が狭くなるテーパー状であることを特徴とする請求項1に記載の連結継手。
  3. 前記第一突出部の対向面間の距離は、先端に向かって次第に広くなっていることを特徴とする請求項1又は請求項2に記載の連結継手。
  4. 前記第一鉤受け部は、前記板状部材における前記第一溝部より基端側に前記板状部材の一方側に突出した規制部を有し、
    前記規制部は、前記第一突出部が前記第一溝部に嵌合する際に前記第一突出部をガイドすることを特徴とする請求項1乃至請求項3のうちいずれか1項に記載の連結継手。
  5. 前記第一鉤部と前記第一鉤受け部との間において、前記板状部材に補強リブが形成されていることを特徴とする請求項1乃至請求項4のうちいずれか1項に記載の連結継手。
  6. 前記一の継手金具と前記他の継手金具とは、さらに、それぞれ、前記板状部材の前記第一鉤部より基端側に設けられる第二鉤部と、前記板状部材の前記第一鉤受け部より先端側に設けられる第二鉤受け部と、を備え、
    前記第二鉤部は、前記板状部材の一方向側に突出した一対の第二突出部を有し、
    前記第二鉤受け部は、前記板状部材の表面側及び裏面側に一対の第二溝部を有し、
    前記第二突出部が前記第二溝部に嵌合し挟み込むことで連結する
    ことを特徴とする請求項1乃至請求項5のうちいずれか1項に記載の連結継手。
  7. 前記第二突出部は、先端に向かって次第に幅が狭くなるテーパー状であり、前記第二溝部は、前記第二突出部が嵌合される方向に向かって次第に幅が狭くなるテーパー状であることを特徴とする請求項6に記載の連結継手。
  8. 前記第二突出部の対向面間の距離は、先端に向かって次第に広くなっていることを特徴とする請求項6又は請求項7に記載の連結継手。
  9. 前記板状部材は、該板状部材のトンネル軸方向の両側に張り出したアンカー部が取付けられる取付け部を備えており、前記取付け部の間の前記板状部材のセグメント厚さ方向における厚さは、前記取付け部の厚さより薄いことを特徴とする請求項1乃至請求項8のうちいずれか1項に記載の連結継手。
  10. 前記一の継手金具と前記他の継手金具とは、同じ形状をしていることを特徴とする請求項1乃至請求項9のうちいずれか1項に記載の連結継手。
  11. 前記板状部材は、該板状部材のトンネル軸方向の両側に張り出したアンカー部が取付けられる取付け部と、
    前記取付け部に取り付けられるアンカー部を備え、
    前記アンカー部は、雄ネジ部を有し、該雄ネジ部が前記取付け部に貫通されナットで締結されていることを特徴とする請求項1乃至請求項10のうちいずれか1項に記載の連結継手。
  12. 前記アンカー部は、前記雄ネジ部を両端に有するU字形状であることを特徴とする請求項11に記載の連結継手。
JP2021197820A 2021-12-06 2021-12-06 連結継手 Active JP7680339B2 (ja)

Priority Applications (1)

Application Number Priority Date Filing Date Title
JP2021197820A JP7680339B2 (ja) 2021-12-06 2021-12-06 連結継手

Applications Claiming Priority (1)

Application Number Priority Date Filing Date Title
JP2021197820A JP7680339B2 (ja) 2021-12-06 2021-12-06 連結継手

Publications (2)

Publication Number Publication Date
JP2023083866A JP2023083866A (ja) 2023-06-16
JP7680339B2 true JP7680339B2 (ja) 2025-05-20

Family

ID=86731620

Family Applications (1)

Application Number Title Priority Date Filing Date
JP2021197820A Active JP7680339B2 (ja) 2021-12-06 2021-12-06 連結継手

Country Status (1)

Country Link
JP (1) JP7680339B2 (ja)

Family Cites Families (4)

* Cited by examiner, † Cited by third party
Publication number Priority date Publication date Assignee Title
JPS5246637A (en) * 1975-10-13 1977-04-13 Japan National Railway Connection device of segment in method of shield construction
JPH0348318Y2 (ja) * 1985-11-15 1991-10-15
JPH05187196A (ja) * 1992-01-09 1993-07-27 Railway Technical Res Inst セグメントの連結構造
JP3539697B2 (ja) * 1995-02-28 2004-07-07 稔 山本 フック継手をもつセグメント

Also Published As

Publication number Publication date
JP2023083866A (ja) 2023-06-16

Similar Documents

Publication Publication Date Title
KR102047934B1 (ko) 배관 연결구조
JP6460970B2 (ja) セグメント継手及びその製造方法
JP7680339B2 (ja) 連結継手
US5906453A (en) Joint forming devices
JP4580355B2 (ja) 合成セグメント
JP4056027B2 (ja) セグメントの継手構造
JP4854607B2 (ja) セグメントの継手構造
JP4701859B2 (ja) 覆工体形成用のrcセグメント
JP7064892B2 (ja) シールドトンネル
JPH0523680Y2 (ja)
JP3929590B2 (ja) セグメントの接合構造
JP2022094128A (ja) Rcセグメントを含むプレキャスト部材のスライドロック型継手及びこれを備えるrcセグメントを含むプレキャスト部材
JP3949399B2 (ja) セグメントの連結構造
JPH11229785A (ja) セグメントの継手構造
KR102116012B1 (ko) 강관파일 연결구
JP4136254B2 (ja) セグメント用継手及び該継手を備えるセグメント
JP7560032B2 (ja) セグメントの連結構造
JP4419820B2 (ja) セグメント用リング継手
JP3973118B2 (ja) セグメントの連結方法及び継手構造
JP4570819B2 (ja) セグメントの継手構造
JP4035236B2 (ja) セグメントの継手構造
JP2928753B2 (ja) コンクリート構造物の連結構造
JP2019002189A (ja) セグメント
JP2981100B2 (ja) コンクリートセグメント
JP3094894B2 (ja) 鋼製セグメントの継手構造

Legal Events

Date Code Title Description
A621 Written request for application examination

Free format text: JAPANESE INTERMEDIATE CODE: A621

Effective date: 20240903

TRDD Decision of grant or rejection written
A977 Report on retrieval

Free format text: JAPANESE INTERMEDIATE CODE: A971007

Effective date: 20250423

A01 Written decision to grant a patent or to grant a registration (utility model)

Free format text: JAPANESE INTERMEDIATE CODE: A01

Effective date: 20250507

A61 First payment of annual fees (during grant procedure)

Free format text: JAPANESE INTERMEDIATE CODE: A61

Effective date: 20250508

R150 Certificate of patent or registration of utility model

Ref document number: 7680339

Country of ref document: JP

Free format text: JAPANESE INTERMEDIATE CODE: R150