JP4530554B2 - 滑り軸受の製造方法 - Google Patents

滑り軸受の製造方法 Download PDF

Info

Publication number
JP4530554B2
JP4530554B2 JP2001040424A JP2001040424A JP4530554B2 JP 4530554 B2 JP4530554 B2 JP 4530554B2 JP 2001040424 A JP2001040424 A JP 2001040424A JP 2001040424 A JP2001040424 A JP 2001040424A JP 4530554 B2 JP4530554 B2 JP 4530554B2
Authority
JP
Japan
Prior art keywords
resin liner
ball
sliding
guide surface
resin
Prior art date
Legal status (The legal status is an assumption and is not a legal conclusion. Google has not performed a legal analysis and makes no representation as to the accuracy of the status listed.)
Expired - Lifetime
Application number
JP2001040424A
Other languages
English (en)
Other versions
JP2002242934A (ja
Inventor
英一 道岡
智純 村田
Current Assignee (The listed assignees may be inaccurate. Google has not performed a legal analysis and makes no representation or warranty as to the accuracy of the list.)
THK Co Ltd
Original Assignee
THK Co Ltd
Priority date (The priority date is an assumption and is not a legal conclusion. Google has not performed a legal analysis and makes no representation as to the accuracy of the date listed.)
Filing date
Publication date
Application filed by THK Co Ltd filed Critical THK Co Ltd
Priority to JP2001040424A priority Critical patent/JP4530554B2/ja
Priority to US10/075,305 priority patent/US6715207B2/en
Priority to DE10206724.4A priority patent/DE10206724B4/de
Publication of JP2002242934A publication Critical patent/JP2002242934A/ja
Application granted granted Critical
Publication of JP4530554B2 publication Critical patent/JP4530554B2/ja
Anticipated expiration legal-status Critical
Expired - Lifetime legal-status Critical Current

Links

Images

Classifications

    • FMECHANICAL ENGINEERING; LIGHTING; HEATING; WEAPONS; BLASTING
    • F16ENGINEERING ELEMENTS AND UNITS; GENERAL MEASURES FOR PRODUCING AND MAINTAINING EFFECTIVE FUNCTIONING OF MACHINES OR INSTALLATIONS; THERMAL INSULATION IN GENERAL
    • F16CSHAFTS; FLEXIBLE SHAFTS; ELEMENTS OR CRANKSHAFT MECHANISMS; ROTARY BODIES OTHER THAN GEARING ELEMENTS; BEARINGS
    • F16C33/00Parts of bearings; Special methods for making bearings or parts thereof
    • F16C33/02Parts of sliding-contact bearings
    • F16C33/04Brasses; Bushes; Linings
    • F16C33/20Sliding surface consisting mainly of plastics
    • FMECHANICAL ENGINEERING; LIGHTING; HEATING; WEAPONS; BLASTING
    • F16ENGINEERING ELEMENTS AND UNITS; GENERAL MEASURES FOR PRODUCING AND MAINTAINING EFFECTIVE FUNCTIONING OF MACHINES OR INSTALLATIONS; THERMAL INSULATION IN GENERAL
    • F16CSHAFTS; FLEXIBLE SHAFTS; ELEMENTS OR CRANKSHAFT MECHANISMS; ROTARY BODIES OTHER THAN GEARING ELEMENTS; BEARINGS
    • F16C11/00Pivots; Pivotal connections
    • F16C11/04Pivotal connections
    • F16C11/06Ball-joints; Other joints having more than one degree of angular freedom, i.e. universal joints
    • F16C11/0604Construction of the male part
    • FMECHANICAL ENGINEERING; LIGHTING; HEATING; WEAPONS; BLASTING
    • F16ENGINEERING ELEMENTS AND UNITS; GENERAL MEASURES FOR PRODUCING AND MAINTAINING EFFECTIVE FUNCTIONING OF MACHINES OR INSTALLATIONS; THERMAL INSULATION IN GENERAL
    • F16CSHAFTS; FLEXIBLE SHAFTS; ELEMENTS OR CRANKSHAFT MECHANISMS; ROTARY BODIES OTHER THAN GEARING ELEMENTS; BEARINGS
    • F16C11/00Pivots; Pivotal connections
    • F16C11/04Pivotal connections
    • F16C11/06Ball-joints; Other joints having more than one degree of angular freedom, i.e. universal joints
    • F16C11/0619Ball-joints; Other joints having more than one degree of angular freedom, i.e. universal joints the female part comprising a blind socket receiving the male part
    • FMECHANICAL ENGINEERING; LIGHTING; HEATING; WEAPONS; BLASTING
    • F16ENGINEERING ELEMENTS AND UNITS; GENERAL MEASURES FOR PRODUCING AND MAINTAINING EFFECTIVE FUNCTIONING OF MACHINES OR INSTALLATIONS; THERMAL INSULATION IN GENERAL
    • F16CSHAFTS; FLEXIBLE SHAFTS; ELEMENTS OR CRANKSHAFT MECHANISMS; ROTARY BODIES OTHER THAN GEARING ELEMENTS; BEARINGS
    • F16C11/00Pivots; Pivotal connections
    • F16C11/04Pivotal connections
    • F16C11/06Ball-joints; Other joints having more than one degree of angular freedom, i.e. universal joints
    • F16C11/0619Ball-joints; Other joints having more than one degree of angular freedom, i.e. universal joints the female part comprising a blind socket receiving the male part
    • F16C11/0623Construction or details of the socket member
    • F16C11/0628Construction or details of the socket member with linings
    • F16C11/0633Construction or details of the socket member with linings the linings being made of plastics
    • FMECHANICAL ENGINEERING; LIGHTING; HEATING; WEAPONS; BLASTING
    • F16ENGINEERING ELEMENTS AND UNITS; GENERAL MEASURES FOR PRODUCING AND MAINTAINING EFFECTIVE FUNCTIONING OF MACHINES OR INSTALLATIONS; THERMAL INSULATION IN GENERAL
    • F16CSHAFTS; FLEXIBLE SHAFTS; ELEMENTS OR CRANKSHAFT MECHANISMS; ROTARY BODIES OTHER THAN GEARING ELEMENTS; BEARINGS
    • F16C11/00Pivots; Pivotal connections
    • F16C11/04Pivotal connections
    • F16C11/06Ball-joints; Other joints having more than one degree of angular freedom, i.e. universal joints
    • F16C11/0685Manufacture of ball-joints and parts thereof, e.g. assembly of ball-joints
    • FMECHANICAL ENGINEERING; LIGHTING; HEATING; WEAPONS; BLASTING
    • F16ENGINEERING ELEMENTS AND UNITS; GENERAL MEASURES FOR PRODUCING AND MAINTAINING EFFECTIVE FUNCTIONING OF MACHINES OR INSTALLATIONS; THERMAL INSULATION IN GENERAL
    • F16CSHAFTS; FLEXIBLE SHAFTS; ELEMENTS OR CRANKSHAFT MECHANISMS; ROTARY BODIES OTHER THAN GEARING ELEMENTS; BEARINGS
    • F16C31/00Bearings for parts which both rotate and move linearly
    • F16C31/02Sliding-contact bearings
    • FMECHANICAL ENGINEERING; LIGHTING; HEATING; WEAPONS; BLASTING
    • F16ENGINEERING ELEMENTS AND UNITS; GENERAL MEASURES FOR PRODUCING AND MAINTAINING EFFECTIVE FUNCTIONING OF MACHINES OR INSTALLATIONS; THERMAL INSULATION IN GENERAL
    • F16CSHAFTS; FLEXIBLE SHAFTS; ELEMENTS OR CRANKSHAFT MECHANISMS; ROTARY BODIES OTHER THAN GEARING ELEMENTS; BEARINGS
    • F16C33/00Parts of bearings; Special methods for making bearings or parts thereof
    • F16C33/02Parts of sliding-contact bearings
    • F16C33/04Brasses; Bushes; Linings
    • F16C33/20Sliding surface consisting mainly of plastics
    • F16C33/208Methods of manufacture, e.g. shaping, applying coatings
    • BPERFORMING OPERATIONS; TRANSPORTING
    • B29WORKING OF PLASTICS; WORKING OF SUBSTANCES IN A PLASTIC STATE IN GENERAL
    • B29CSHAPING OR JOINING OF PLASTICS; SHAPING OF MATERIAL IN A PLASTIC STATE, NOT OTHERWISE PROVIDED FOR; AFTER-TREATMENT OF THE SHAPED PRODUCTS, e.g. REPAIRING
    • B29C45/00Injection moulding, i.e. forcing the required volume of moulding material through a nozzle into a closed mould; Apparatus therefor
    • B29C45/14Injection moulding, i.e. forcing the required volume of moulding material through a nozzle into a closed mould; Apparatus therefor incorporating preformed parts or layers, e.g. injection moulding around inserts or for coating articles
    • B29C45/14336Coating a portion of the article, e.g. the edge of the article
    • BPERFORMING OPERATIONS; TRANSPORTING
    • B29WORKING OF PLASTICS; WORKING OF SUBSTANCES IN A PLASTIC STATE IN GENERAL
    • B29LINDEXING SCHEME ASSOCIATED WITH SUBCLASS B29C, RELATING TO PARTICULAR ARTICLES
    • B29L2031/00Other particular articles
    • B29L2031/04Bearings
    • FMECHANICAL ENGINEERING; LIGHTING; HEATING; WEAPONS; BLASTING
    • F16ENGINEERING ELEMENTS AND UNITS; GENERAL MEASURES FOR PRODUCING AND MAINTAINING EFFECTIVE FUNCTIONING OF MACHINES OR INSTALLATIONS; THERMAL INSULATION IN GENERAL
    • F16CSHAFTS; FLEXIBLE SHAFTS; ELEMENTS OR CRANKSHAFT MECHANISMS; ROTARY BODIES OTHER THAN GEARING ELEMENTS; BEARINGS
    • F16C2220/00Shaping
    • F16C2220/02Shaping by casting
    • F16C2220/04Shaping by casting by injection-moulding
    • FMECHANICAL ENGINEERING; LIGHTING; HEATING; WEAPONS; BLASTING
    • F16ENGINEERING ELEMENTS AND UNITS; GENERAL MEASURES FOR PRODUCING AND MAINTAINING EFFECTIVE FUNCTIONING OF MACHINES OR INSTALLATIONS; THERMAL INSULATION IN GENERAL
    • F16CSHAFTS; FLEXIBLE SHAFTS; ELEMENTS OR CRANKSHAFT MECHANISMS; ROTARY BODIES OTHER THAN GEARING ELEMENTS; BEARINGS
    • F16C2226/00Joining parts; Fastening; Assembling or mounting parts
    • F16C2226/30Material joints
    • F16C2226/36Material joints by welding
    • YGENERAL TAGGING OF NEW TECHNOLOGICAL DEVELOPMENTS; GENERAL TAGGING OF CROSS-SECTIONAL TECHNOLOGIES SPANNING OVER SEVERAL SECTIONS OF THE IPC; TECHNICAL SUBJECTS COVERED BY FORMER USPC CROSS-REFERENCE ART COLLECTIONS [XRACs] AND DIGESTS
    • Y10TECHNICAL SUBJECTS COVERED BY FORMER USPC
    • Y10TTECHNICAL SUBJECTS COVERED BY FORMER US CLASSIFICATION
    • Y10T29/00Metal working
    • Y10T29/49Method of mechanical manufacture
    • Y10T29/49636Process for making bearing or component thereof
    • YGENERAL TAGGING OF NEW TECHNOLOGICAL DEVELOPMENTS; GENERAL TAGGING OF CROSS-SECTIONAL TECHNOLOGIES SPANNING OVER SEVERAL SECTIONS OF THE IPC; TECHNICAL SUBJECTS COVERED BY FORMER USPC CROSS-REFERENCE ART COLLECTIONS [XRACs] AND DIGESTS
    • Y10TECHNICAL SUBJECTS COVERED BY FORMER USPC
    • Y10TTECHNICAL SUBJECTS COVERED BY FORMER US CLASSIFICATION
    • Y10T29/00Metal working
    • Y10T29/49Method of mechanical manufacture
    • Y10T29/49636Process for making bearing or component thereof
    • Y10T29/49643Rotary bearing
    • Y10T29/49647Plain bearing
    • YGENERAL TAGGING OF NEW TECHNOLOGICAL DEVELOPMENTS; GENERAL TAGGING OF CROSS-SECTIONAL TECHNOLOGIES SPANNING OVER SEVERAL SECTIONS OF THE IPC; TECHNICAL SUBJECTS COVERED BY FORMER USPC CROSS-REFERENCE ART COLLECTIONS [XRACs] AND DIGESTS
    • Y10TECHNICAL SUBJECTS COVERED BY FORMER USPC
    • Y10TTECHNICAL SUBJECTS COVERED BY FORMER US CLASSIFICATION
    • Y10T29/00Metal working
    • Y10T29/49Method of mechanical manufacture
    • Y10T29/49636Process for making bearing or component thereof
    • Y10T29/49643Rotary bearing
    • Y10T29/49647Plain bearing
    • Y10T29/49648Self-adjusting or self-aligning, including ball and socket type, bearing and component making
    • YGENERAL TAGGING OF NEW TECHNOLOGICAL DEVELOPMENTS; GENERAL TAGGING OF CROSS-SECTIONAL TECHNOLOGIES SPANNING OVER SEVERAL SECTIONS OF THE IPC; TECHNICAL SUBJECTS COVERED BY FORMER USPC CROSS-REFERENCE ART COLLECTIONS [XRACs] AND DIGESTS
    • Y10TECHNICAL SUBJECTS COVERED BY FORMER USPC
    • Y10TTECHNICAL SUBJECTS COVERED BY FORMER US CLASSIFICATION
    • Y10T29/00Metal working
    • Y10T29/49Method of mechanical manufacture
    • Y10T29/49636Process for making bearing or component thereof
    • Y10T29/49643Rotary bearing
    • Y10T29/49647Plain bearing
    • Y10T29/49648Self-adjusting or self-aligning, including ball and socket type, bearing and component making
    • Y10T29/49655Self-adjusting or self-aligning, including ball and socket type, bearing and component making having liner
    • YGENERAL TAGGING OF NEW TECHNOLOGICAL DEVELOPMENTS; GENERAL TAGGING OF CROSS-SECTIONAL TECHNOLOGIES SPANNING OVER SEVERAL SECTIONS OF THE IPC; TECHNICAL SUBJECTS COVERED BY FORMER USPC CROSS-REFERENCE ART COLLECTIONS [XRACs] AND DIGESTS
    • Y10TECHNICAL SUBJECTS COVERED BY FORMER USPC
    • Y10TTECHNICAL SUBJECTS COVERED BY FORMER US CLASSIFICATION
    • Y10T29/00Metal working
    • Y10T29/49Method of mechanical manufacture
    • Y10T29/49636Process for making bearing or component thereof
    • Y10T29/49643Rotary bearing
    • Y10T29/49647Plain bearing
    • Y10T29/49648Self-adjusting or self-aligning, including ball and socket type, bearing and component making
    • Y10T29/49657Socket making
    • Y10T29/49659Socket making by molding or casting
    • YGENERAL TAGGING OF NEW TECHNOLOGICAL DEVELOPMENTS; GENERAL TAGGING OF CROSS-SECTIONAL TECHNOLOGIES SPANNING OVER SEVERAL SECTIONS OF THE IPC; TECHNICAL SUBJECTS COVERED BY FORMER USPC CROSS-REFERENCE ART COLLECTIONS [XRACs] AND DIGESTS
    • Y10TECHNICAL SUBJECTS COVERED BY FORMER USPC
    • Y10TTECHNICAL SUBJECTS COVERED BY FORMER US CLASSIFICATION
    • Y10T29/00Metal working
    • Y10T29/49Method of mechanical manufacture
    • Y10T29/49636Process for making bearing or component thereof
    • Y10T29/49643Rotary bearing
    • Y10T29/49647Plain bearing
    • Y10T29/49668Sleeve or bushing making
    • Y10T29/49677Sleeve or bushing making having liner
    • YGENERAL TAGGING OF NEW TECHNOLOGICAL DEVELOPMENTS; GENERAL TAGGING OF CROSS-SECTIONAL TECHNOLOGIES SPANNING OVER SEVERAL SECTIONS OF THE IPC; TECHNICAL SUBJECTS COVERED BY FORMER USPC CROSS-REFERENCE ART COLLECTIONS [XRACs] AND DIGESTS
    • Y10TECHNICAL SUBJECTS COVERED BY FORMER USPC
    • Y10TTECHNICAL SUBJECTS COVERED BY FORMER US CLASSIFICATION
    • Y10T29/00Metal working
    • Y10T29/49Method of mechanical manufacture
    • Y10T29/49636Process for making bearing or component thereof
    • Y10T29/49705Coating or casting
    • YGENERAL TAGGING OF NEW TECHNOLOGICAL DEVELOPMENTS; GENERAL TAGGING OF CROSS-SECTIONAL TECHNOLOGIES SPANNING OVER SEVERAL SECTIONS OF THE IPC; TECHNICAL SUBJECTS COVERED BY FORMER USPC CROSS-REFERENCE ART COLLECTIONS [XRACs] AND DIGESTS
    • Y10TECHNICAL SUBJECTS COVERED BY FORMER USPC
    • Y10TTECHNICAL SUBJECTS COVERED BY FORMER US CLASSIFICATION
    • Y10T29/00Metal working
    • Y10T29/49Method of mechanical manufacture
    • Y10T29/4998Combined manufacture including applying or shaping of fluent material
    • Y10T29/49988Metal casting

Landscapes

  • Engineering & Computer Science (AREA)
  • General Engineering & Computer Science (AREA)
  • Mechanical Engineering (AREA)
  • Manufacturing & Machinery (AREA)
  • Injection Moulding Of Plastics Or The Like (AREA)
  • Pivots And Pivotal Connections (AREA)
  • Sliding-Contact Bearings (AREA)

Description

【0001】
【発明の属する技術分野】
本発明は、例えばボール部とホルダとが回転又は揺動運動自在に連結した球面軸受や、軌道軸とスライダとが摺動自在に組み合わされた直線案内装置の如く、第1部材と第2部材とが相対的に運動自在に結合した滑り軸受の製造方法に係り、特に、これら第1部材と第2部材との間に樹脂ライナを介在させたタイプの滑り軸受の製造方法に関する。
【0002】
【従来の技術】
特公昭51−42569号公報には、内輪と外輪とが樹脂ライナを介して回転又は揺動運動自在に結合した球面軸受が開示されている。具体的には、滑り案内面としての凸状球面を備えた内輪と、この内輪の凸状球面に被せられた低摩擦係数の樹脂ライナと、この樹脂ライナを介して内輪の凸状球面を覆う外輪とから構成されており、外輪に対して固定された樹脂ライナと内輪とが摺接することにより、これら内輪と外輪とが回転又は揺動運動自在に結合している。
【0003】
この球面軸受は内輪を中子としたダイカスト鋳造によって外輪を成形しており、それによって内輪を外輪の内部に封じ込めている。すなわち、予め円筒状に形成されている樹脂ライナを内輪部材の凸状球面に被せた後、これらを中子として金型内にセットし、その状態で加圧された亜鉛合金やアルミ合金等の溶湯を金型のキャビティに対して流し込んで外輪を鋳造するのである。これにより、内輪を抱え込んだ外輪が鋳造され、かかる内輪は外輪の内部に離脱不能に封じ込められた状態となる。また、内輪に被せられていた樹脂ライナは鋳造時の圧力によって内輪の凸状球面に密着し、内輪と樹脂ライナの隙間が排除される一方、外輪に対しては溶着した状態となり、内輪のみが樹脂ライナに対して隙間なく摺接可能となる。これにより、同公報に開示される球面軸受においては、外輪に対する内輪の回転又は揺動運動をガタなく実現することができるようになっていた。
【0004】
【発明が解決しようとする課題】
ところで、このような球面軸受を大量生産し且つ製造コストを削減するためには、円筒状に成形した樹脂ライナを後から内輪の凸状球面に被せるのではなく、内輪を中子とした射出成形によって直接的に内輪の凸状球面に成形してしまうのが好ましいと言える。すなわち、製造の手順としては、先ず内輪を中子とした射出成形によって樹脂ライナを直接的に内輪の凸状球面に被せた後、この樹脂ライナ付きの内輪を金型内に中子としてセットし、前述の如く外輪を鋳造するのである。このような方法によれば、樹脂ライナはこれを成形した段階で内輪の凸状球面に密着することになり、樹脂ライナと内輪との隙間の排除が更に容易なものとなる。
【0005】
一方、上記内輪が外輪に対して高速で揺動運動を繰り返すような場合には、樹脂ライナと内輪との間の摩擦によって該樹脂ライナ自体が高温になることが予想されるので、かかる樹脂ライナとしては高温時の軟化を避けるため、熱硬化性樹脂を使用するのが好ましいと言える。
【0006】
しかし、熱硬化性樹脂を用いて樹脂ライナを射出成形した場合には、射出成形後の樹脂ライナを所定時間だけ所定温度以上に保持して、熱硬化性樹脂の三次元高分子化を促進する必要がある。例えば、フェノール樹脂で厚さ0.8mm程度の樹脂ライナを射出成形する場合、射出成形完了後も170〜200℃に保持された金型内に内輪及び樹脂ライナを10〜20秒程度保持しなければ、樹脂ライナとなるフェノール樹脂を完全に重合させて硬化させることはできない。つまり、熱硬化性樹脂を樹脂ライナとして使用した場合には、重合反応のための保持時間分だけ余分な製造時間が費やされる結果となり、生産能率の向上、生産コストの削減の大きな障害になる。
【0007】
このような問題は球面軸受に固有のものではなく、樹脂ライナを用いて滑り案内面の全部又は一部を構成するタイプの滑り軸受全般に当てはまる問題である。
【0008】
本発明はこのような問題点に鑑みなされたものであり、その目的とするところは、樹脂ライナを用いて滑り案内面を形成するタイプの滑り軸受において、かかる樹脂ライナを熱硬化性樹脂の射出成形で製造した場合であっても、時間を無駄にすることなく効率良く生産することができ、ひいては生産コストの低減化を図ることが可能な滑り軸受の製造方法を提供することにある。
【0009】
【課題を解決するための手段】
すなわち、本発明は、滑り案内面を備えた第1部材と、この第1部材の滑り案内面と摺接する滑り案内面を備えて該第1部材と相対的に運動自在な第2部材と、この第2部材の滑り案内面の少なくとも一部に設けられて上記第1部材の滑り案内面と摺接する樹脂ライナとから構成される滑り軸受の製造方法であって、上記第1部材に対して滑り案内面を形成する第1行程と、上記第1部材を中子としてインサートした射出成形によって上記樹脂ライナとなる熱硬化性樹脂を第1部材の滑り案内面の全域又は一部に固着させる第2行程と、樹脂ライナが固着した第1部材を中子として金型内に固定し、金属モールド成形によって上記第1部材の滑り案内面を覆う第2部材を成形すると共に、この第2部材の成形時に第1部材の滑り案内面に作用する熱によって上記樹脂ライナを加熱硬化させる第3行程と、上記第1部材又は第2部材に外力を加えてこれら両部材の滑り案内面の間に微少な隙間を形成し、第1部材に対する第2部材の相対的な運動を可能とする第4行程と、を備えたことを特徴とするものである。
【0010】
このように構成される本発明方法によれば、樹脂ライナを構成する熱硬化性樹脂に対しては射出成形の直後に独立した加熱硬化処理がなされるのではなく、第2部材の金属モールド成形の際に該成形の熱を利用して加熱硬化処理がなされることになる。このため、金属モールド成形と樹脂ライナの加熱硬化処理が重複した時間帯で同時に進行することになり、樹脂ライナの射出成形と第2部材のモールド成形との間に上記樹脂ライナの加熱硬化時間を設ける場合と比較して、生産時間の短縮化を図ることができるものである。
【0011】
【発明の実施の形態】
以下、添付図面に基づいて本発明の滑り軸受の製造方法を詳細に説明する。
◎第1実施例
図1及び図2は本発明方法を適用して製造された球面軸受を示すものである。この球面軸受は、先端にボール部を備えた第1部材としてのボールシャンク1と、このボールシャンク1のボール部10を包持するボール受部20を有する第2部材としてのホルダ2とから構成され、上記ボール部の凸状球面とボール受部の凹状球面とが摺接することにより、上記ボールシャンク1及びホルダ2が揺動又は回転運動自在に連結している。
【0012】
上記ボールシャンク1はボール部10となる真球度の高い鋼球に対して棒状のシャンク11を溶接して形成されており、このシャンク11の根元にはリンク等の被取付体を固定するための六角座面12が形成されている。また、このシャンク11の先端には雄ねじ13が形成されており、この雄ねじ13にナットを螺合させることで、被取付体を上記六角座面12との間で挟持固定し得るようになっている。
【0013】
一方、上記ホルダ2は、ボールシャンク1のボール部10を包持するボール受部20と、かかるボール受部20をリンクに結合するための固定部21とを備え、これらボール受部20と固定部21とがアルミニウム合金又は亜鉛合金のダイカスト鋳造により一体に成形されている。上記ボール受部20はボールシャンク1のボール部10が離脱することがないよう、かかるボール部10の略2/3を覆っており、このボール受部20の内側にはボール部10の球面に略合致した凹球面状の摺接面22が形成されている。これにより、ボールシャンク1はボール部10を揺動中心とし、ホルダ2に対して自在に揺動又は回転運動をなし得るようになっている。また、このホルダ2には上記シャンク11と反対側の位置に油溜まり23が形成されており、かかる油溜まり23は蓋部材24によって閉塞されている。尚、上記固定部21には雌ねじ25が形成されており、例えばリンクを構成するロッド等の先端に形成された雄ねじを結合できるようになっている。
【0014】
また、上記ホルダ2の外周縁とボールシャンク1のシャンク11との間にはブーツシール3が取り付けられており、ボールシャンク1のボール部10とホルダ2のボール受部20との隙間に対して埃やごみ等が侵入するのを防止している他、グリース等の潤滑剤を収容するシールポケット30を形成している。ここで、上記ブーツシール3のボールシャンク1側の端部31はその弾性によってシャンク11に密着する一方、ホルダ2側の端部32は係止リングによってホルダ2の外周縁との間に挟み込まれており、ボールシャンク1の揺動あるいは回転運動によっても外れることがないようになっいる。
【0015】
前述のように、上記ホルダ2のボール受部20はアルミニウム合金又は亜鉛合金の鋳造によって成形されており、ボールシャンク1のボール部10と接する摺接面22もこれら合金から形成されている。ボール受部20の摺接面22とボール部10の球面との間には微小な隙間(例えば、0.1mm以下)が形成されており、この隙間に対してボール受部20の両側に配置したシールポケット30及び油溜まり23から潤滑剤が流れ込み、ボール部10の球面とボール受部20の摺接面22との間に油膜を形成するようになっている。これにより、この球面軸受では鋼球からなるボール部10とやはり金属からなるボール受部20とが油膜潤滑された状態で摺接し、ホルダ2に対するボールシャンク1の軽く滑らかな運動を可能としている。
【0016】
ボール受部20の摺接面22とボール部10の球面とは略均一に接しているが、球面軸受の使用態様によっては上記摺接面22の局所に対して大きな荷重が作用することも考えられ、これら摺接面22とボール部10との接触面圧が高くなって油膜が破断してしまう場合を想定し、かかる摺接面22の一部にはリング状の樹脂ライナ5が配置されている。ボール部とボール受部との間で発生する摩擦熱によって樹脂ライナが軟化するのを防止することが必要とされるので、この樹脂ライナ5は例えばフェノール樹脂等の熱硬化性樹脂から形成され、油膜破断が生じ易いと考えられる摺接面22内の局所に配置される。従って、局所的に大きな荷重が作用した箇所においてボール部10と摺接面22との間の油膜が破断するような事態が発生した場合であっても、ボール部10の球面がボール受部20の摺接面22と直接接触して損傷するのを防止することができ、ボール部10とボール受部20とが焼きつくといった最悪の事態をも回避することが可能となる。
【0017】
従って、このような油膜破断時における樹脂ライナ5の機能からすれば、かかる樹脂ライナ5を成形する材料は耐摩耗性に優れ、ボール部10と固体接触を生じた場合であってもボールシャンク1の運動を阻害しないよう、自己潤滑性を備えた材料であることが好ましい。尚、ボール受部20に対する樹脂ライナ5の埋め込み位置はこの例に限らず、ボール部10と摺接面22との接触面圧の分布に応じて最適な位置に配置すれば良い。
【0018】
次に、この球面軸受の具体的製造方法について説明する。
この実施例の球面軸受のホルダ2はボールシャンク1のボール部10を中子として鋳造金型内にインサートしたダイカスト鋳造により製造される。このため、樹脂ライナ5をボール受部20に埋め込むに当たっては、先ず、かかる樹脂ライナ5をボール部10となる鋼球に対して装着する必要がある。図3及び図4は鋼球に対して樹脂ライナを装着した状態を示す正面図及び平面図である。この樹脂ライナ5はボール部10の外径に適合する内径を具備したリング状に成形され、ボール部10の最大直径を覆うように該ボール部10に対して装着されている。また、樹脂ライナ5の外周面には回り止めとなる突部50が形成されており、後にダイカスト鋳造でこの樹脂ライナ5をホルダ2のボール受部20に埋め込んだ際に、かかる樹脂ライナ5がボール受部20に対して回転を生じるのを防止している。この樹脂ライナ5は厚さ約0.8mmに形成されており、ボール受部20とボール部10との隙間(0.1mm以下)よりも厚く形成されている。
【0019】
このような樹脂ライナ5はボール部10を中子として金型内にインサートした射出成形によって製作される。すなわち、ボール部10となる鋼球を金型内にインサートした状態で合成樹脂の射出成形を行い、樹脂ライナ5の成形とボール部10への装着を一つの工程で行うのである。このように樹脂ライナ5の成形を行えば、ボール部10への装着手間が省略される他、樹脂ライナ5の内周面がボール部10の球面に略合致したものとなり、樹脂ライナ5がボール部10を締め付けるのを防止しつつ、かかる樹脂ライナ5をボール部10に対して確実に密着させることができる。
【0020】
この射出成形時の金型温度は170〜200℃、成形に用いたフェノール樹脂の温度は100℃程度であり、金型内のキャビティに対して溶融樹脂を射出した後、かかる溶融樹脂が形状を保つ程度に硬化したところで、直ちに型開きして、樹脂ライナが装着された鋼球を金型から取り出す。厚さ0.8mm程度に成形されたフェノール樹脂を加熱によっても軟化しない高分子化合物とするためには、射出成形後も上記温度の金型内に10〜20秒程度は保持することが必要であり、このように射出成形完了後、直ちに金型から樹脂ライナを取り出した場合には、かかる樹脂ライナに熱硬化性樹脂としての性質は与えられていない。
【0021】
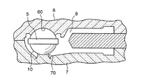
次に、上記ホルダをダイカスト鋳造する。このダイカスト鋳造に際しては、図5に示すように、上下に分割された一対の鋳造金型6,7内に対して前工程で樹脂ライナを装着したボール部10を中子としてインサートし、この状態でアルミニウム合金又は亜鉛合金の溶湯を金型内のキャビティ8に圧入する。このとき、インサートされたボール部10は金型6,7に形成された支持座60,70によって挟持され、金型内における位置ずれが防止される。また、樹脂ライナ5はボール部10に装着された状態でキャビティ8内に位置し、ボール部10と接触する内周面を残し、かかるキャビティ8内に注入された合金に覆われる。
【0022】
これにより、図6に示すように、ボール部10を上記合金でくるんだホルダ2が鋳造され、上記ボール部は金型6,7の支持座60,70に対応する部位でのみホルダ2のボール受部20から露呈する。また、ボール部10に装着されていた樹脂ライナ5は鋳造されたボール受部20に埋め込まれた状態となり、かかるボール受部20に強固に固定される。ホルダ2の材質として亜鉛合金を用いた場合の鋳造温度は400℃以上であり、また、アルミニウム合金を用いた場合の鋳造温度は600℃以上であることから、上記樹脂ライナは僅かな時間ではあるがこれらの温度に近い温度にまで加熱され、それよりも低い200℃前後の温度には十数秒程度は保持されることになる。
【0023】
これにより、樹脂ライナの化学的構造は以下のように変化する。すなわち、射出成形後には三次元的な架橋反応が促進されず、熱硬化性樹脂としての性質を具備していなかったが、ホルダをダイカスト鋳造したことにより、その鋳造時の熱によって三次元的な架橋反応が促進され、かかるダイカスト鋳造後には熱硬化性樹脂としての性質を具備するに至るのである。
【0024】
次に、ホルダ2のボール受部20に包持されたボール部10に対してシャンク11を溶接する。かかる溶接にはプロジェクション溶接が用いられ、図7に示すように、ホルダ2のボール受部20から露呈するボール部10の球面に対してシャンク11の端面を所定の力Fで圧接させると共に、ホルダ2及びシャンク11の夫々に電極を当接させ、これら電極の間に所定の溶接電流を通電して行われる。ホルダ2のボール受部20は前工程においてこれを鋳造した際にボール部10に密着していることから、このようにホルダ2を介して間接的にボール部10に溶接電流を通電しても、ボール受部20とボール部10との境界部における通電抵抗は極めて小さく、ボール受部20とボール部10とを溶着させることなく、シャンク11をボール部10に接合することができる。また、樹脂ライナ5はボール部10の球面の一部のみを覆っていることから、ボール受部20からボール部10に対して溶接電流を通電する際の妨げとはならない。そして、このようにしてプロジェクション溶接が終了すると、ボール部10がホルダ2のボール受部20に包持されたボールシャンク1が完成する。
【0025】
この後、ホルダ2あるいはボールシャンク1に外力を作用させ、未だ互いに密着したままのボール受部20とボール部10との間に微小な隙間を形成する。かかる外力の作用のさせ方としては、例えばボール受部20の外周を軽く叩いたり又はボールシャンク1をその軸方向に軽く叩いたりし、ボール部10に軽い衝撃を与えればよい。これにより、ボールシャンク1のボール部10がホルダ2のボール受部20に対して自在に摺接するようになり、ボールシャンク1とホルダ2とが揺動又は回転運動自在に連結した状態となる。
【0026】
そして、最後にシャンク10とホルダ2の外周縁との間に前述したブーツシール3を取付け、このブーツシール3が形成するシールポケット30にグリース等の潤滑剤を充填することにより、本実施例の球面軸受は完成する。
【0027】
このような製造方法によれば、樹脂ライナに対して熱硬化性樹脂としての性質を与えるべく、かかる樹脂ライナの射出成形後に加熱硬化のための金型保持時間を設ける必要がなく、樹脂ライナが固着した鋼球を射出成形終了後の金型から直ちに取り出すことが可能となる。また、樹脂ライナを加熱硬化させるための時間はホルダの鋳造時間と重なっているので、別途に樹脂ライナの加熱硬化時間を確保する必要もない。従って、射出成形後の金型保持時間を省略し得る分だけ製造時間が短縮され、生産効率を高めることができるものである。また、単位時間当たりの生産個数の増加が図れることから、製造コストの低下にも繋がる。
【0028】
◎第2実施例
図8及び図9は本発明方法を適用して製造された滑りねじ装置を示すものである。この滑りねじ装置は、外周面に滑り案内面としての螺旋状の雄ねじ溝81が形成されたねじ軸(第1部材)80と、内周面にねじ軸80の雄ねじ溝81と螺合する雌ねじ溝が形成されたスライドナット(第2部材)82とから構成され、雄ねじ溝81と雌ねじ溝とが摺接することにより、上記スライドナット82がねじ軸80の周囲を螺旋状に運動し、ねじ軸80の回転運動をスライドナット82の直線運動に変換するようになっている。
【0029】
上記ねじ軸80の雄ねじ溝81は例えば30度台形ねじとして形成され、転造、切削、研削によってねじ軸80の外周面に所定のリードで加工されている。また、ねじ軸80の一端には図示外のブラケットを介してサーボモータが接続され、ねじ軸80に対して所定の回転量を与えることにより、上記スライドナット82をねじ軸80の回転量に応じて軸方向へ移動させることができるようになっている。
【0030】
一方、上記スライドナット82はねじ軸80が貫通する貫通孔を有して略円筒状に形成されると共に、その外周面には直線案内すべき可動体(図示せず)を固定するためのフランジ部83が突設されている。また、フランジ部には固定ボルトを挿通させるためのボルト取付孔84が形成されている。また、このスライドナット82の内周面には円筒状の樹脂ライナ85が埋め込まれており、この樹脂ライナ85の内周面にねじ軸80の雄ねじ溝81と摺接する雌ねじ溝が形成されている。ねじ軸80に対するスライドナット82の運動を滑らかに行うと共に、摩擦熱による軟化を防止するため、かかる樹脂ライナ85としては低摩擦係数の熱硬化性樹脂が用いられている。また、ねじ軸80とスライドナット82との間の潤滑を軽減するという観点からすれば、自己潤滑性を有する樹脂を用いるのが好ましい。
【0031】
このよに構成された滑りねじ装置は以下のようにして製造される。
先ず、ねじ軸80の外周面に対して雄ねじ溝81を転造によって成形する。転造加工によれば、雄ねじ溝81の表面が加工硬化するので、耐摩耗性の良好なねじ軸80を得ることができる。
【0032】
次に、雄ねじ溝81が形成されたねじ軸80を中子として、かかるねじ軸80の外周面に円筒状の樹脂ライナ85を射出成形する。図10は、このようにして射出成形された樹脂ライナ85がねじ軸80の外周面に嵌合している状態を示すものである。このようにして樹脂ライナ85の成形を行えば、樹脂ライナ85の内周面にはねじ軸80の雄ねじ溝81に密着する雌ねじ溝が形成されることになり、樹脂ライナ85とねじ軸80との隙間を完全に排除することができる。
【0033】
樹脂ライナとしてフェノール樹脂を用いるのであれば、射出成形時の金型温度は170〜200℃、樹脂温度は100℃程度である。そして、金型内のキャビティに対して溶融樹脂を射出した後、かかる溶融樹脂が形状を保つ程度に硬化したところで、直ちに型開きして、樹脂ライナ85が装着されたねじ軸80を金型から取り出す。この場合、樹脂ライナ85には加熱硬化のための十分な保持時間が与えられていないことから、かかる樹脂ライナ85に対しては未だ熱硬化性樹脂としての性質は与えられていない。
【0034】
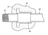
次に、上記スライドナット82をダイカスト鋳造する。このダイカスト鋳造に際しては、図11に示すように、鋳造金型90内に対して前工程で樹脂ライナ85を装着したねじ軸80を中子としてインサートし、この状態でアルミニウム合金又は亜鉛合金の溶湯を金型内のキャビティ91に圧入する。このとき、樹脂ライナ85はねじ軸80にに装着された状態でキャビティ91内に位置し、ねじ軸80と接触する内周面を残し、かかるキャビティ91内に注入された合金に覆われることになる。
【0035】
これにより、ねじ軸80が貫通する略円筒状のスライドナット82が鋳造される。また、かかるスライドナット82の内周面には樹脂ライナ85が埋め込まれた状態となり、かかる樹脂ライナ85はスライドナット82の内周面に対して強固に固定される。ダイカスト鋳造に際しては、金型90のキャビティ91内に圧入される溶融合金の温度が前述の如く高温であることから、樹脂ライナも鋳造時及び鋳造後しばらくは200℃前後の温度に保持されることになり、その結果として樹脂ライナの加熱硬化が進行する。
【0036】
最後に、スライドナット82又はねじ軸80に対して軽く外力を作用させ、未だ互いに密着したままのねじ軸80の雄ねじ81と樹脂ライナ85の雌ねじとの間に微小な隙間を形成する。これにより、かかる雄ねじ81と雌ねじが自在に摺接するようになり、スライドナット82がねじ軸80の周囲を自在に回転することが可能となる。
【0037】
そして、このような滑りねじ装置の製造方法によれば、前述した球面軸受の例と同様、樹脂ライナ85に対して熱硬化性樹脂としての性質を与えるべく、かかる樹脂ライナ85の射成形後に加熱硬化のための金型保持時間を設ける必要がなく、樹脂ライナ85が固着したねじ軸80を射出成形終了後の金型から直ちに取り出すことが可能となる。また、樹脂ライナ85を加熱硬化させるための時間はスライドナット82の鋳造時間と重なっているので、別途に樹脂ライナ85の加熱硬化時間を確保する必要もない。従って、射出成形後の金型保持時間を省略し得る分だけ製造時間が短縮され、生産効率を高めることができると共に製造コストの低下を図ることができるものである。
【0038】
尚、前記した球面軸受及び滑りねじ装置の製造方法では、本発明の第2部材としてのホルダ及びスライドナットをダイカスト鋳造によって成形したが、これ以外にも金属射出成形(MIM)等、第2部材の成形過程において樹脂ライナに対してある程度の高温を及ぼすものであれば、その成形方法を適宜選択することが可能である。
【0039】
【発明の効果】
以上説明してきたように、本発明の滑り軸受の製造方法によれば、滑り案内面を構成する樹脂ライナの加熱硬化処理を第2部材の金属モールド成形と併せて行い、金属モールド成形と樹脂ライナの加熱硬化処理とを重複した時間帯で同時に進行させているので、かかる樹脂ライナを熱硬化性樹脂の射出成形で製造した場合であっても、生産時間の短縮化を図ることができ、ひいては生産コストの低減化を図ることが可能となる。
【図面の簡単な説明】
【図1】 本発明方法を球面軸受に適用した第1実施例を示す断面図である。
【図2】 第1実施例に係る球面軸受を示す側面図である。
【図3】 第1実施例に係る球面軸受の製造方法において、ボール部に樹脂ライナを装着した状態を示す正面図である。
【図4】 第1実施例に係る球面軸受の製造方法において、ボール部に樹脂ライナを装着した状態を示す平面図である。
【図5】 第1実施例に係る球面軸受の製造方法において、ボール部を中子としてホルダを鋳造する様子を示す断面図である。
【図6】 第1実施例に係る球面軸受の製造方法において、鋳造されたホルダを示す断面図である。
【図7】 第1実施例に係る球面軸受の製造方法において、ホルダに包持されたボール部に対してシャンクを溶接する様子を示す断面図である。
【図8】 本発明方法を滑りねじ装置に適用した第2実施例を示す断面図である。
【図9】 第2実施例に係る滑りねじ装置を示す正面図である。
【図10】 第2実施例に係る滑りねじ装置の製造方法において、ねじ軸に樹脂ライナを装着した状態を示す正面図である。
【図11】 第2実施例に係る滑りねじ装置の製造方法において、ねじ軸を中子としてスライドナットを鋳造する様子を示す断面図である。
【符号の説明】
1…ボールシャンク(第1部材)、2…ホルダ(第2部材)、5…樹脂ライナ、10…ボール部、20…ボール受部、22…摺接面

Claims (2)

  1. 滑り案内面を備えた第1部材と、この第1部材の滑り案内面と摺接する滑り案内面を備えて該第1部材と相対的に運動自在な第2部材と、この第2部材の滑り案内面の少なくとも一部に設けられて上記第1部材の滑り案内面と摺接する樹脂ライナとから構成される滑り軸受の製造方法であって、
    上記第1部材に対して滑り案内面を形成する第1行程と、
    上記第1部材を中子としてインサートした射出成形によって上記樹脂ライナとなる熱硬化性樹脂を第1部材の滑り案内面の全域又は一部に固着させ、前記樹脂ライナの加熱硬化時間を設けることなく金型から該樹脂ライナが固着した第1部材を取り出す第2行程と、
    樹脂ライナが固着した第1部材を中子として金型内に固定し、金属モールド成形によって上記第1部材の滑り案内面を覆う第2部材を成形すると共に、この第2部材の成形時に第1部材の滑り案内面に作用する熱によって上記樹脂ライナを加熱硬化させる第3行程と、
    上記第1部材又は第2部材に外力を加えてこれら両部材の滑り案内面の間に微少な隙間を形成し、第1部材に対する第2部材の相対的な運動を可能とする第4行程と、を備えたことを特徴とする滑り軸受の製造方法。
  2. 上記第1部材が凸球面状の滑り案内面を備えたボール付きシャンク、上記第2部材が凹球面状の滑り案内面を備えたホルダーであり、これら第1部材と第2部材とが回転又は揺動自在に連結していることを特徴とする請求項1記載の滑り軸受の製造方法。
JP2001040424A 2001-02-16 2001-02-16 滑り軸受の製造方法 Expired - Lifetime JP4530554B2 (ja)

Priority Applications (3)

Application Number Priority Date Filing Date Title
JP2001040424A JP4530554B2 (ja) 2001-02-16 2001-02-16 滑り軸受の製造方法
US10/075,305 US6715207B2 (en) 2001-02-16 2002-02-15 Method of manufacturing sliding bearings
DE10206724.4A DE10206724B4 (de) 2001-02-16 2002-02-18 Verfahren zum Herstellen von Gleitlagern

Applications Claiming Priority (1)

Application Number Priority Date Filing Date Title
JP2001040424A JP4530554B2 (ja) 2001-02-16 2001-02-16 滑り軸受の製造方法

Publications (2)

Publication Number Publication Date
JP2002242934A JP2002242934A (ja) 2002-08-28
JP4530554B2 true JP4530554B2 (ja) 2010-08-25

Family

ID=18903036

Family Applications (1)

Application Number Title Priority Date Filing Date
JP2001040424A Expired - Lifetime JP4530554B2 (ja) 2001-02-16 2001-02-16 滑り軸受の製造方法

Country Status (3)

Country Link
US (1) US6715207B2 (ja)
JP (1) JP4530554B2 (ja)
DE (1) DE10206724B4 (ja)

Families Citing this family (13)

* Cited by examiner, † Cited by third party
Publication number Priority date Publication date Assignee Title
JP3862669B2 (ja) * 2003-04-16 2006-12-27 Thk株式会社 球面軸受の製造方法
US7150563B2 (en) * 2003-05-15 2006-12-19 Phd, Inc. Formable bearings and bearing devices
EP1642660B1 (de) * 2004-09-30 2008-04-02 Aluwag Ag Vorrichtung und Verfahren zum Herstellen von Formteilen
JP5095275B2 (ja) * 2007-06-26 2012-12-12 東洋樹脂株式会社 球面滑り軸受及びその製造用金型並びにその製造方法
DE102008040693A1 (de) 2008-07-24 2010-02-04 Zf Friedrichshafen Ag Kugelgelenk und Verfahren zur Herstellung eines Kugelgelenkes
US8459872B2 (en) * 2008-10-10 2013-06-11 General Electric Company Bearing with alternative load path for extreme loads
US9719554B2 (en) * 2011-12-28 2017-08-01 Thk Co., Ltd. Ball joint and manufacturing method therefor
JP5917374B2 (ja) * 2012-11-13 2016-05-11 三菱電機株式会社 かご形回転子の製造方法
US10247228B2 (en) 2015-06-16 2019-04-02 Honda Motor Co., Ltd. Ball joint assembly having friction coated components and methods of assembling a ball joint assembly having defined gaps
US20170368552A1 (en) * 2016-06-27 2017-12-28 Jacobs Corporation Spherical Joint for Hammer Mills
DE102023200670A1 (de) * 2023-01-27 2024-08-01 Zf Friedrichshafen Ag Verfahren zur Herstellung eines Kugelgelenks
DE102023205675A1 (de) * 2023-06-16 2024-12-19 Zf Friedrichshafen Ag Verfahren zum Herstellen eines Kugelgelenks und/oder eines Fahrwerkbauteils mit einem Kugelgelenk
USD1093128S1 (en) * 2023-09-05 2025-09-16 F&V Corporation Adaptor with ball

Family Cites Families (21)

* Cited by examiner, † Cited by third party
Publication number Priority date Publication date Assignee Title
US1494099A (en) * 1919-09-25 1924-05-13 Massachusetts Oilless Bearings Antifriction bearing and method of producing the same
US2048247A (en) * 1934-02-19 1936-07-21 Gen Motors Corp Bearing and method of making same
US2252351A (en) * 1938-11-09 1941-08-12 Trico Products Corp Method of producing power transmitting units
US3101961A (en) * 1955-06-16 1963-08-27 Charles S White Molded bearings having low friction mating surfaces
US2901300A (en) * 1956-04-25 1959-08-25 Pure Carbon Company Inc Controlled clearance carbon bearings
US3193910A (en) * 1962-10-01 1965-07-13 Southwest Products Co Method of making bearings
US3363300A (en) * 1964-10-27 1968-01-16 Charles Leon Stec Sr. Method of making gas lubricated bearings
DE1525076B2 (de) * 1965-08-06 1970-12-23 A. Ehrenreich & Cie., 4000 Düsseldorf-Oberkassel Kugelgelenk, vornehmlich in Form eines Winkelgelenks
JPS4711002B1 (ja) * 1968-07-09 1972-04-04
JPS5142569B1 (ja) * 1971-07-21 1976-11-16
JPS5311718Y2 (ja) * 1971-12-28 1978-03-30
FR2141660A1 (en) * 1972-03-03 1973-01-26 Morgant Bernard Bearing sleeves - of plastic (ptfe, polyamide) calibrated moulding lining metal housings
DE2439080A1 (de) 1974-08-12 1976-02-26 Siemens Ag Spannungs-messeinrichtung fuer eine vollisolierte, metallgekapselte hochspannungsschaltanlage
JPH0612127B2 (ja) * 1987-07-07 1994-02-16 博 寺町 球面軸受およびその製造方法
US4979844A (en) 1987-08-11 1990-12-25 Hiroshi Teramachi Ball joint and manufacturing method of the same
JPH0638437U (ja) * 1992-11-09 1994-05-24 株式会社共立 刈払機における伝動軸の軸受装置
JP3059356B2 (ja) 1994-09-30 2000-07-04 テイエチケー株式会社 ボールジョイント
DE19513714C1 (de) * 1995-04-11 1996-02-08 Trw Fahrwerksyst Gmbh & Co Verfahren zur Herstellung eines Kugelgelenkes und zugehörige Lagerschale
US5980112A (en) * 1996-05-23 1999-11-09 Countrose Engineering Ltd. Water lubricated bearing
DE19638252A1 (de) * 1996-09-19 1998-03-26 Sachsenring Automobiltechnik G Kugelgelenk und Verfahren zu seiner Herstellung
JP4737862B2 (ja) 2000-05-18 2011-08-03 Thk株式会社 球面軸受及びその製造方法

Also Published As

Publication number Publication date
US20020112351A1 (en) 2002-08-22
DE10206724A1 (de) 2002-09-19
DE10206724B4 (de) 2016-12-15
US6715207B2 (en) 2004-04-06
JP2002242934A (ja) 2002-08-28

Similar Documents

Publication Publication Date Title
JP4530554B2 (ja) 滑り軸受の製造方法
CA2511634C (en) Method of manufacturing spherical bearing
CN101542141B (zh) 球面轴承及其制造方法
EP2428344B1 (en) Apparatus and method for manufacturing a ball joint
EP0705990B1 (en) Spherical joint and process for manufacturing the same
KR20140109452A (ko) 볼 조인트 및 그 제조 방법
JPH0518412A (ja) 球面滑り軸受及びその製造方法
WO1998055774A1 (en) Method for manufacturing a ball joint
KR100514915B1 (ko) 구면 베어링 및 그 제조방법
JP4737862B2 (ja) 球面軸受及びその製造方法
JP5885547B2 (ja) ボールジョイントの製造方法
JP5349577B2 (ja) ボールジョイント及びその製造方法
JP4073797B2 (ja) 球面軸受の製造方法
JP2005514242A (ja) プラスチックの一次成形の間の収縮特性を制御するための方法および装置
JP2925501B2 (ja) ウォームホイール射出成形用金型の製造方法
JP2005265135A (ja) 球面軸受の製造方法
JP3618072B2 (ja) 樹脂成形品の製造方法
JP3064229B2 (ja) ボールジョイントの製造方法
JPH11286032A (ja) ウォ―ムホイ―ルの射出成形装置、ウォ―ムホイ―ルの射出成形方法、及びウォ―ムホイ―ル

Legal Events

Date Code Title Description
A621 Written request for application examination

Free format text: JAPANESE INTERMEDIATE CODE: A621

Effective date: 20080215

A977 Report on retrieval

Free format text: JAPANESE INTERMEDIATE CODE: A971007

Effective date: 20091210

A131 Notification of reasons for refusal

Free format text: JAPANESE INTERMEDIATE CODE: A131

Effective date: 20100330

A521 Request for written amendment filed

Free format text: JAPANESE INTERMEDIATE CODE: A523

Effective date: 20100514

TRDD Decision of grant or rejection written
A01 Written decision to grant a patent or to grant a registration (utility model)

Free format text: JAPANESE INTERMEDIATE CODE: A01

Effective date: 20100608

A01 Written decision to grant a patent or to grant a registration (utility model)

Free format text: JAPANESE INTERMEDIATE CODE: A01

A61 First payment of annual fees (during grant procedure)

Free format text: JAPANESE INTERMEDIATE CODE: A61

Effective date: 20100608

R150 Certificate of patent or registration of utility model

Ref document number: 4530554

Country of ref document: JP

Free format text: JAPANESE INTERMEDIATE CODE: R150

Free format text: JAPANESE INTERMEDIATE CODE: R150

FPAY Renewal fee payment (event date is renewal date of database)

Free format text: PAYMENT UNTIL: 20130618

Year of fee payment: 3

R250 Receipt of annual fees

Free format text: JAPANESE INTERMEDIATE CODE: R250

R250 Receipt of annual fees

Free format text: JAPANESE INTERMEDIATE CODE: R250

R250 Receipt of annual fees

Free format text: JAPANESE INTERMEDIATE CODE: R250

R250 Receipt of annual fees

Free format text: JAPANESE INTERMEDIATE CODE: R250

R250 Receipt of annual fees

Free format text: JAPANESE INTERMEDIATE CODE: R250

R250 Receipt of annual fees

Free format text: JAPANESE INTERMEDIATE CODE: R250

R250 Receipt of annual fees

Free format text: JAPANESE INTERMEDIATE CODE: R250

R250 Receipt of annual fees

Free format text: JAPANESE INTERMEDIATE CODE: R250

EXPY Cancellation because of completion of term