JP4504641B2 - スプレーノズル及びそれを用いた噴霧方法 - Google Patents

スプレーノズル及びそれを用いた噴霧方法 Download PDF

Info

Publication number
JP4504641B2
JP4504641B2 JP2003283049A JP2003283049A JP4504641B2 JP 4504641 B2 JP4504641 B2 JP 4504641B2 JP 2003283049 A JP2003283049 A JP 2003283049A JP 2003283049 A JP2003283049 A JP 2003283049A JP 4504641 B2 JP4504641 B2 JP 4504641B2
Authority
JP
Japan
Prior art keywords
spray
groove
discharge hole
spray nozzle
grooves
Prior art date
Legal status (The legal status is an assumption and is not a legal conclusion. Google has not performed a legal analysis and makes no representation as to the accuracy of the status listed.)
Expired - Fee Related
Application number
JP2003283049A
Other languages
English (en)
Other versions
JP2005046769A (ja
Inventor
明彦 谷垣
良信 谷川
Current Assignee (The listed assignees may be inaccurate. Google has not performed a legal analysis and makes no representation or warranty as to the accuracy of the list.)
Kyoritsu Gokin Co Ltd
Original Assignee
Kyoritsu Gokin Co Ltd
Priority date (The priority date is an assumption and is not a legal conclusion. Google has not performed a legal analysis and makes no representation as to the accuracy of the date listed.)
Filing date
Publication date
Application filed by Kyoritsu Gokin Co Ltd filed Critical Kyoritsu Gokin Co Ltd
Priority to JP2003283049A priority Critical patent/JP4504641B2/ja
Publication of JP2005046769A publication Critical patent/JP2005046769A/ja
Application granted granted Critical
Publication of JP4504641B2 publication Critical patent/JP4504641B2/ja
Anticipated expiration legal-status Critical
Expired - Fee Related legal-status Critical Current

Links

Images

Landscapes

  • Nozzles (AREA)

Description

本発明は、矩形状噴霧パターンで、対象物を冷却(鋼材の冷却、連続鋳造での二次冷却など)又は洗浄(液晶基板の洗浄など)するのに有用なスプレーノズル、及びこのスプレーノズルを用いた噴霧方法に関する。
スプレーノズルの構造により、種々の噴霧パターン(例えば、フラットパターン、フルコーン形(円錐形)パターン、楕円形パターン、正四角形パターンの噴霧パターンなど)で流体を噴霧することが知られている。しかし、矩形状の対象物を冷却又は洗浄する場合、フラット噴霧パターンよりも矩形噴霧パターンの方が冷却又は洗浄面積が大きい。そのため、ノズル数を低減しつつ冷却又は洗浄効率を高めるためには、矩形パターンノズルを用いるのが有利である。また、フルコーン形(円錐形)パターン、楕円形パターンの噴霧パターンのノズルに比べて、矩形パターンノズルを用いると、ノズル数を低減できるとともに、矩形状対象物全体を噴霧するためのノズルの配列も容易である。
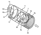
正四角形の噴霧パターンを形成するため、先端の吐出孔に2つのV溝を直交して形成したスプレーノズルが市販されている。図7は従来のスプレーノズルを示し、図7(a)はノズル本体の先端部を示す端面図であり、図7(b)はスプレーノズルを示す概略側面図である。このスプレーノズルは、先端面44の軸芯部に吐出孔42が形成されたノズル本体41と、前記吐出孔42に通じる上流側の流路に装着された中子(旋回部材)47と、前記ノズル本体41の上流側の外面に形成されたネジ部50とを備えている。中子(旋回部材)47は、前記流路に装着可能な円筒状筒体48と、この筒体の周面に長手方向に延びる螺旋状の複数の凹溝49とで構成されている。そして、先端面44で開口した前記吐出孔42では、角度60°の側壁を有する2つのV溝46a,46bが直交して横断している。このようなスプレーノズルを用いると、正四角形状の噴霧パターンを得ることができる。しかし、長方形状の対象物を全体に亘り冷却又は洗浄するためには、複数のノズルを対象物の長手方向に配列する必要がある。そのため、前記と同様に、ノズル数が増加するとともに、複数のノズルを用いると、正四角形状の複数の噴霧パターンが隣接する噴霧域では重複して噴霧されるため、対象物を全体に亘り均一な濃度又は密度で噴霧しつつ処理できず、対象物が局部的に高濃度又は高密度の流体で処理されることになる。また、流体を対象物の処理に有効に利用できず、流体の利用効率が低下する。例えば、対象物の長手方向の寸法に適合させて正四角形の噴霧パターンで処理すると、対象物の幅方向又は短手方向の端部は噴霧流体で処理できず、流体の利用効率が大きく低下する。
特開平2−172547号公報(特許文献1)には、ノズル本体の先端面に直径方向の略全長に亘って凹状の溝を刻設し、該溝底面の中心に位置するノズル本体の軸芯部に噴出口を開口し、上記溝の両側壁を噴出口を挟んで対向する切り立ち面とし、噴出口から噴射される流体が切り立ち面に衝突することにより噴射角度を狭め、長さ方向の略全長に亘って一定幅で噴霧がなされ、矩形状の噴霧パターンが得られるスプレーノズルが開示されている。この文献には、噴出口の開口縁部に傾斜開口部を設けると、この傾斜開口部の傾斜角度により矩形状噴霧パターンの長辺方向の噴霧角度をコントロールできることも記載されている。さらに、切り立ち面を湾曲させて、切り立ち面と溝底面との間を連続した曲面としたり、溝底面を湾曲させると、水漏れを防止できることも記載されている。
しかし、上記スプレーノズルでは、前記切り立ち面への流体の衝突を利用しているため、矩形状噴霧パターン(噴霧密度分布)の短辺方向の両端部で噴霧密度が高くなり、噴霧密度の均一性が低下する。また、前記切り立ち面へ流体を衝突させるので、切り立ち面から水滴が落下し水漏れが生じ易い。さらに、噴霧パターンを制御するためには、噴出口の開口縁部の周方向に傾斜開口部を形成する必要があり、スプレーノズル本体の加工及び構造が複雑化する。
特開平2−172547号公報(特許請求の範囲、第1図(I)、第1図(II))
従って、本発明の目的は、均一な噴霧密度で矩形状噴霧パターンを形成できるスプレーノズルおよび噴霧方法を提供することにある。
本発明の他の目的は、簡単な加工又は構造で矩形状噴霧パターンを制御できるスプレーノズルおよび噴霧方法を提供することにある。
本発明者らは、前記課題を達成するため鋭意検討した結果、旋回流を吐出孔から噴霧するノズルにおいて、ノズル本体の吐出孔で交差する2つの溝を、直交させることなく形成すると、矩形状噴霧パターンが得られること、2つの溝の交差角度や溝の深さ(又は幅)により、噴霧パターンをコントロールできることを見いだし、本発明を完成した。
すなわち、本発明のスプレーノズルは、旋回流体を、ノズル本体の端面(平坦面又は傾斜面)に形成された吐出孔から噴霧して矩形状噴霧パターンを形成するためのスプレーノズルであって、前記吐出孔で2つの溝(凹状溝など)が直交することなく交差している。このようなスプレーノズルにおいて、2つの溝(凹状溝など)の交差角度は、矩形状噴霧パターンに応じて選択でき、例えば、10〜80°(例えば、20〜70°)程度の範囲から選択できる。また、2つの溝の深さは、例えば、一方の溝(凹状溝など)の深さに対して他方の溝(凹状溝など)の深さが、1:1〜1:4(例えば、1:1.2〜1:3)程度であってもよい。溝の断面形状は特に制限されず、開口部に対して深部が狭まってもよい種々の溝(凹状溝など)、例えば、V溝などであってもよい。なお、スプレーノズルは、流体を旋回させるための旋回手段と、この旋回手段の下流側の先端面(平坦面又は傾斜面)に形成された吐出孔と、この吐出孔を所定の交差角度で横断する2つの溝とを備えていてもよい。
このようなノズルでは、吐出孔を2つの溝が交差して横断しているとともに、2つの溝が非直交状態で交差しているため、流体(水などの液体)の旋回流を供給して吐出孔から噴出させると、旋回流を溝の側壁で案内しつつ噴霧するためか、明瞭な矩形状噴霧パターンを形成できる。そのため、本発明は、前記ノズル本体に液体の旋回流を供給し、吐出孔から流体を噴出させて、矩形状噴霧パターンを形成する噴霧方法も含む。
なお、本明細書において「矩形」とは「長方形」と同義に用いる。
本発明では、吐出孔を2つの溝が特定の角度で横切るため、旋回流を供給することにより、均一な噴霧密度で矩形状噴霧パターンを形成できる。また、溝加工だけで、矩形状噴霧パターンを制御でき、構造が簡単で加工が容易である。
以下に、添付図面を参照しつつ本発明をより詳細に説明する。
図1は本発明のスプレーノズルの一例を示す概略部分切欠斜視図であり、図2は図1のスプレーノズルを示す断面図である。この例では、流体としての水を吐出孔から噴射している。
この例のスプレーノズルは、先端面4に吐出孔2が開口したノズル本体1と、このノズル本体1の吐出孔2から上流方向に延びた流路に装着され、かつ流体の旋回流を生成させるための中子(旋回部材)7と、前記ノズル本体1の上流側の他端部の外周に形成され、かつ前記ノズル本体1を給水ユニットに装着するための取り付けネジ部10とを備えている。前記ノズル本体1の先端面4は、ノズル本体1の軸線に対して直交する平坦面として形成されており、直方噴霧ノズルを形成している。
前記ノズル本体1の先端面4の軸芯部には、吐出孔2が開口しており、この吐出孔の壁面は、上流方向に向かって内径が大きくなる傾斜拡大壁3aを介して第1の円筒状流路3bの壁面と連なっており、この第1の流路3bの上流側には、第1の流路よりも内径が大きく、前記中子(旋回部材)7が装着された第2の円筒状流路3c、および第3の円筒状流路3dが形成されている。吐出孔2、傾斜拡大部3a、第1の円筒状流路3b、第2の円筒状流路3c及び第3の円筒状流路3dはノズル本体1の軸芯に形成されている。
なお、この例では、前記中子(旋回部材)7は、ノズル本体1の軸芯部で互いに結合し、かつ流路又はノズル本体1の軸線に対して互いに反対方向に傾斜した2つの羽根状案内部材(交差二枚羽根)8a,8bと、これらの羽根状案内部材8a,8bの交差部の下流側に形成され、かつ螺旋流又は旋回流を生成させるための連通部9a,9bとを備えている。すなわち、互いに交差した上記羽根状案内部材8a,8bのうち一方の部材8aは、上流側からの流体を分岐させて傾斜面(上昇案内面)により上方に案内して上昇流を生成させ、他方の部材8bは、上流側からの流体を分岐させて傾斜面(下降案内面)により下方に案内して下降流を生成する。さらに、前記一方の部材8aのうち交差部よりも下流側の内側壁には、傾斜上昇流の一部を通過させ、前記下降流(及び/又は下降案内面から他方の部材8bの裏面側の側方へ流れる流体)と合流させるための連通部(又は切欠部)9aが形成され、他方の部材8bのうち交差部よりも下流側の内側壁には、傾斜下降流の一部を通過させ、前記上昇流(及び/又は上昇案内面から一方の部材8aの表面側の側方へ流れる流体)と合流させるための連通部(又は切欠部)9bが形成されている。そのため、上流からの流体は、前記羽根状案内部材8a,8bの傾斜案内面及び連通部(又は切欠部)9a,9bを経て旋回し、螺旋流を生成する。
そして、矩形状の噴霧パターンを形成するため、先端面4で開口した前記吐出孔2を、2つのV溝6a,6bが直交することなく、角度50〜70°で交差して横断している。なお、各V溝6a,6bは同じカッティング角度(この例では、角度60°)でカッティングすることにより形成されている(すなわち、各V溝6a,6bの側壁の傾斜角度は実質的に同じである)。さらに、2つのV溝6a,6bのうち一方の溝6aは他方の溝6bよりも深く形成されている。そのため、傾斜面5での一方のV溝6aの幅は広く、他方のV溝6bの幅は狭く成形されている。この例では、2つのV溝6a,6bの深さ(又は傾斜面5での溝6a,6bの幅)の割合は、1:1.2〜1:2.3程度に形成されている。
このようなスプレーノズルのネジ部10を利用して、前記ノズル本体1を給水ユニットに装着し、流体を供給すると、旋回部材8により螺旋流又は旋回流を生成させ、ノズル本体1に供給できる。そして、詳細なメカニズムは明確ではないが、ノズル本体1の先端面4で開口した吐出孔2を、深さの異なる2つのV溝6a,6bが非直交の形態(又は角度)で横断するため、2つのV溝6a,6bで流体の旋回を規制しつつ、しかも他方のV溝6bに比べて一方のV溝6aにより旋回に対する規制の程度を大きくできるためか、明瞭な矩形状(長方形状)の噴霧パターンを精度よく形成できる。
本発明のスプレーノズルは、旋回流又は螺旋流が供給可能である限り、ノズル本体で構成してもよい。ノズル本体の端面は、軸線に対して直交した非傾斜面(先端面又は平坦面)に形成してもよく、軸線に対して傾斜した傾斜面(切欠傾斜面など)を有していてもよい。
なお、吐出孔は、前記のように、ノズル本体の先端面の軸芯で開口していてもよく、先端面の軸芯からずれた部位(例えば、傾斜面)で開口していてもよい。
図3は本発明のスプレーノズルの一例を示す概略部分切欠斜視図であり、図4は図3のスプレーノズルを示す断面図である。なお、図1及び図2に示すスプレーノズルと同一又は共通する部材や要素には同一符号を付して説明する。
この例のスプレーノズルは、先端面14の傾斜面15に吐出孔12が開口したノズル本体11と、このノズル本体11の吐出孔12から上流方向に延びた流路に装着され、かつ流体の旋回流を生成させるための中子(旋回部材)7と、前記ノズル本体11の上流側の他端部の外周に形成され、かつ前記ノズル本体1を給水ユニットに装着するための取り付けネジ部20とを備えている。
ノズル本体11の軸線(又は先端面14)に対して斜め方向に水を噴霧するため、前記ノズル本体11の先端面14には20°程度の角度で傾斜した傾斜面15が形成されており、この傾斜面に対して前記吐出孔12が直交する方向に延びている。すなわち、ノズル本体11の軸線に対して吐出孔12は約20°程度傾斜して形成され、先端面14の軸芯から外れた部位で吐出孔12が開口している。この吐出孔12の壁面は、前記と同様に、上流方向に向かって内径が大きくなる傾斜拡大壁3a、第1の円筒状流路3bの壁面と連なっており、この第1の流路3bの上流側には、第1の流路よりも内径が大きく、前記中子(旋回部材)7が装着された第2の円筒状流路3cが形成されている。吐出孔、傾斜拡大部、第1の円筒状流路、および第2の円筒状流路はノズル本体の軸芯に形成されている。
前記中子(旋回部材)7は、図1及び図2と同様に、ノズル本体11の軸芯部で互いに結合し、かつ流路又はノズル本体11の軸線に対して互いに反対方向に傾斜した2つの羽根状案内部材(交差二枚羽根)8a,8bと、これらの羽根状案内部材8a,8bの交差部の下流側に形成され、かつ螺旋流又は旋回流を生成させるための連通部9a,9bとを備えている。
そして、矩形状の噴霧パターンを形成するため、傾斜面15で開口した前記吐出孔12を、2つのV溝16a,16bが直交することなく、角度50〜60°で交差して横断している。なお、各V溝16a,6bは同じカッティング角度(この例では、角度60°)でカッティングすることにより形成されている(すなわち、各V溝16a,16bの側壁の傾斜角度は実質的に同じである)。さらに、2つのV溝16a,16bのうち一方の溝16aは他方の溝16bよりも深く形成されている。そのため、傾斜面15での一方のV溝16aの幅は広く、他方のV溝16bの幅は狭く成形されている。この例では、2つのV溝16a,16bの深さ(又は傾斜面15での溝16a,16bの幅)の割合は、1:1.2〜1:2.3程度に形成されている。
このようなスプレーノズルでも、前記と同様に、旋回部材7により生じた螺旋流又は旋回流をノズル本体11に供給することにより、吐出孔12から角錐状に噴霧して、明瞭な矩形状(長方形状)の噴霧パターンを精度よく形成できる。さらに、ノズル本体11の軸線に対して傾斜した吐出孔12が傾斜面15で開口しているため、斜方噴霧、すなわち、ノズル本体11の軸線に対して斜め方向に角錐状に噴霧できる。
なお、先端面の軸芯から半径方向にずれた部位で吐出孔が開口している場合、噴霧ノズル本体の軸線に対する吐出孔の傾斜角度は、所望の噴霧角度などに応じて選択でき、例えば、角度0〜45°(例えば、5〜30°)程度であってもよい。
吐出孔の内径(オリフィス径)は、噴霧流量、スプレー角度などに応じて、0.5〜50mm程度の範囲から選択でき、1〜50mm(例えば、1〜25mm)程度であってもよく、1〜10mm程度であってもよい。
吐出孔を交差して横断する溝(凹状溝など)の断面形状は特に制限されず、開口部と深部とが実質的に同じ幅の断面コ字状溝(又は矩形凹部)であってもよく、開口部に対して深部が狭まる溝、例えば、深部に向かって内径が連続的又は段階的に狭まる溝(例えば、直線的に狭まる溝(V溝など)、湾曲しつつ狭まる溝(U溝又は湾曲溝など)など)であってもよい。
図5は本発明のスプレーノズルのさらに他の例を示し、図5(a)はノズル本体の先端部を示す端面図であり、図5(b)はスプレーノズルを示す概略側面図である。なお、図1〜図4に示すスプレーノズルと同一又は共通する部材には、同一の符号を付して説明する。
このスプレーノズルは、図1及び図2に示すスプレーノズルの先端面4の軸芯部と同様に、ノズル本体21の先端面24(先端面4)の軸芯部には、吐出孔22が開口しており、この吐出孔は、中子(旋回部材)17が装着された第2の円筒状流路と通じている。なお、この例でも、前記と同様に、吐出孔22、傾斜拡大部、第1の円筒状流路、および第2の円筒状流路はノズル本体21の軸芯に形成されており、中子(旋回部材)17は、前記第2の円筒状流路に装着可能な円筒状筒体18と、この筒体の周面に長手方向に延びる螺旋状の複数の凹溝(溝)19とで構成されている。また、スプレーノズル(又はノズル本体)の上流側には、給水ユニットとの接続のためのネジ部20が形成されている。
そして、先端面24で開口した前記吐出孔22では、2つの断面U字状(又は湾曲状)の溝26a,26bが直交することなく、角度50〜70°で交差して横断している。なお、断面U字状溝において、溝の湾曲底部の中心部と溝の開口端とを結ぶ直線の内角(傾斜角度)は、前記と同様に、60°程度であり、2つの断面U字状の溝26a,26bの交差角度及び深さの割合は、前記と同様である。
図6は本発明のスプレーノズルの別の例を示し、図6(a)はノズル本体の先端部を示す端面図であり、図6(b)はスプレーノズルを示す概略側面図である。なお、図5に示すスプレーノズルと同一又は共通する部材には、同一の符号を付して説明する。
この例では、前記V溝や断面U字状溝に代えて、断面コ字又は矩形状の溝が形成されている。すなわち、先端面34の軸芯部で吐出孔32が開口し、上流側の流路に中子(旋回部材)17が装着されているとともに、上流側の外周にネジ部20が形成されたスプレーノズルにおいて、前記吐出孔32で、2つの断面コ字状の溝36a,36bが直交することなく、角度50〜70°で交差して横断している。2つの溝36a,36bの交差角度及び深さの割合は、前記と同様である。
このようなスプレーノズルでも旋回流を吐出孔から噴出させることにより、溝の形状、溝の深さの割合などにより、噴霧密度が均一でしかも矩形状のパターンで噴霧できる。
なお、前記のように、溝の断面形状は特に制限されないが、カッティングによる溝加工精度を高めるためには、V溝が有利である。また、上記の例では、同じ種類の溝を交差させているが、異なる種類の溝を組み合わせて交差させてもよい。例えば、V溝と断面U字状溝との組合せ、V溝と断面コ字状溝との組合せ、断面U字状溝と断面コ字状溝との組合せなどにより、交差する溝を形成してもよい。
また、溝(凹状溝など)の側壁の角度(溝の中心部と溝の開口端とを結ぶ直線の内角)は、流体の流量、圧力、所望する噴霧パターンなどに応じて選択でき、例えば、30〜120°、好ましくは45〜100°、さらに好ましくは60〜90°程度である場合が多い。
前記吐出孔で交差する2つの溝(凹状溝など)の交差角度は、流体の流量、圧力、所望する噴霧パターンなどに応じて選択でき、例えば、10〜80°(例えば、25〜80°)、好ましくは20〜70°(例えば、20〜60°)、さらに好ましくは25〜65°(例えば、30〜65°)程度であってもよい。なお、2つの溝の交差部は、吐出部の中心部からずれていてもよいが、通常、吐出孔の中心部やノズル本体の軸芯部に位置している場合が多い。
なお、2つの溝(凹状溝など)が吐出孔を非直交の形態で横断する限り、噴霧パターンを矩形状にコントロールできるため、2つの溝(凹状溝など)の深さは、同一であってもよく異なっていてもよい。より精度よく矩形状噴霧パターンを形成するためには、2つの溝(凹状溝など)の深さを調整するのが有利である。例えば、一方の溝(凹状溝など)の深さに対して他方の溝(凹状溝など)の深さは、1:1〜1:4、好ましくは1:1.2〜1:3、さらに好ましくは1:1.3〜1:2.5(例えば、1:1.5〜1:2)程度であってもよい。
なお、2つの溝のうち吐出孔を横断する少なくとも一方(すなわち、一方または双方)の溝の幅(先端面又は傾斜面での溝の開口幅)は、吐出孔の開口径よりも広くてもよいが、通常、少なくとも一方の溝の開口幅は吐出孔の開口径と同等又はそれ以下である。例えば、吐出孔の開口径を1とするとき、2つの溝のうち深さ又は幅が大きな一方または双方の溝の開口幅(先端面又は傾斜面での溝の開口幅)は、0.6〜1.5(例えば、0.7〜1.3、好ましくは0.8〜1.2)程度であってもよく、深さ又は幅が小さな溝の開口幅は、0.1〜0.9(例えば、0.2〜0.8、好ましくは0.3〜0.7)程度であってもよい。
前記の例では、いずれも、前記吐出孔の壁面は、ノズル本体の先端面又は傾斜面に対して直線的に形成されているが、吐出孔の開口端には、下流方向に向かって開口径が半径方向に拡がる傾斜部を形成してもよい。この傾斜部は、直線的に傾斜していてもよく、湾曲していてもよい。また、前記傾斜部の傾斜角度や湾曲部の湾曲度は、噴霧角度などに応じて適当に選択できる。
前記のように、ノズル本体に旋回流を供給可能である限り、本発明のスプレーノズルは、流体を旋回させるための旋回手段を必ずしも必要としない。例えば、スプレーノズルの上流部に旋回流を生成するための旋回手段を設けて、スプレーノズルに旋回流体を供給してもよい。また、前記旋回手段は、前記二枚羽根構造や螺旋状案内溝を有する螺旋体に限らず、旋回又は螺旋流を生成する種々の旋回構造が採用できる。
なお、スプレーノズルは、前記の例のように、ノズル本体及び中子(旋回手段)とで構成された2コンポネントタイプであってもよく、ノズル本体と、中子(旋回手段)と、この中子をノズル本体に装着するためのアダプターとで構成された3コンポーネントタイプであってもよい。2コンポネントタイプのスプレーノズルでは、ノズル本体の上流側の外面又は内面に、流体供給ユニットに対する取り付け手段(ネジ部など)を形成又は装着してもよい。また、2コンポネントタイプのスプレーノズルでは、前記アダプターの上流側の外面又は内面に、流体供給ユニットに対する取り付け手段(ネジ部など)を形成又は装着してもよい。
本発明では、前記溝の断面形状、特に2つの溝の交差角度、2つの溝の深さ又は開口幅の関係などにより噴霧パターンを制御できる。例えば、溝の深さなどにもよるが、吐出孔を横断する2つの溝の交差角度を小さくすると、旋回流の供給により、幅の狭い矩形状(長方形状)の噴霧パターンが得られる。このようなノズル本体で構成されたスプレーノズルに液体の旋回流を供給することにより、吐出孔から角錐状に噴霧して、矩形状噴霧パターンを形成できる。噴霧パターンは、長方形状であれば長辺と短辺との割合は特に制限されないが、通常、短辺1に対して長辺1.2〜5(例えば、1.3〜4、好ましくは1.5〜3)程度であってもよく、実用的には1.5〜2.5程度であってもよい。
スプレー角度(噴霧角度)は、矩形状噴霧パターンにおいて、短辺側の角度は、例えば、20〜80°(例えば、20〜75°)、好ましくは25〜70°(例えば、30〜60°)程度であってもよい。
流体としては、気体(空気など)も利用できるが、通常、液体、例えば、水(高純度水などを含む)、洗浄液、薬剤を含む水溶液又は有機溶剤(例えば、酸性、中性、アルカリ性薬剤などを水溶液)などが利用できる。
本発明において、流体は、通常、加圧流体として供給される。液体(水など)の圧力は、0.01MPa以上(例えば、0.02〜2MPa、好ましくは0.03〜1.5MPa、)程度であってもよく、通常、0.04〜1MPa(例えば、0.05〜0.8MPa)程度である。
流量は、オリフィス径などに応じて、0.1〜10000L/分程度の範囲から選択でき、通常、0.5〜5000L/分(例えば、1〜1000L/分(2〜500)L/分)程度であってもよく、1〜100L/分程度であってもよい。
本発明では、前記構造のノズルを利用するため、均一な噴霧密度で矩形状のパターンに噴霧できる。さらに、噴霧粒子の粒子径(液滴径)の分布幅が狭く、平均液滴径が小さいとともに液滴径が比較的揃っている。そのため、本発明は、種々の用途、例えば、冷却(急冷を含む)、洗浄(スクラバー、酸又はアルカリ洗浄装置などでの洗浄を含む)、ダスト捕集や飛散防止、防火などに利用できる。
以下に、実施例に基づいて本発明をより詳細に説明するが、本発明はこれらの実施例によって限定されるものではない。
実施例1
図1及び図2に示すスプレーノズルを用いた。なお、ノズル本体の吐出孔の内径は5mmφ、角度60°のV溝の交差角度は60°、一方のV溝の深さ(5mm)に対する他方のV溝の深さ(2.5mm)の比率は2:1である。また、吐出孔から上流方向には傾斜拡大壁(角度120°)、第1の円筒状流路(内径12mmφ、長さ15mm)、第2の円筒状流路(内径13mmφ、長さ13mm)、及び第3の円筒状流路(内径13.1mmφ、長さ1.0mm)が形成されている。さらに、二枚羽根構造の旋回部材は、角度110°で交差した一対の羽根状案内部材(厚み3.0mm)を備えており、交差した羽根状案内部材の仮想外周径は13.0mm、軸方向の両端部間の長さは12.77mmであり、羽根状案内部材の交差部の下流側には連通部(2.7mm×2.7mm)が形成されている。
そして、圧力0.3MPa、流量19L/分、噴射距離200mmで水を噴霧し、噴霧パターンと噴霧流量の密度分布を調べたところ、図8及び図9に示す結果を得た。図8及び図9から明らかなように、流量密度が50%以上の噴霧域が長辺約260mm及び短辺約150mmの長方形状のパターンである噴霧パターンが得られるとともに、噴霧流量の密度分布が均一であった。特に、長辺約240mm及び短辺約120mmの長方形状の噴霧領域では、流量密度が約75%以上であり、噴霧密度が均一である。
実施例2
図3及び図4に示すスプレーノズルを用いた。なお、ノズル本体の吐出孔の内径は3mmφ、角度60°のV溝の交差角度は55°、一方のV溝の深さに対する他方のV溝の深さの比率は1.7:1である。また、ノズル本体の内部構造および中子の構造は前記実施例1と同様である。そして、圧力0.2MPa、流量20L/分、噴射距離400mmで水を噴霧し、噴霧パターンと噴霧流量の密度分布を調べたところ、図10及び図11に示す結果を得た。図10及び図11から明らかなように、流量密度が50%以上の噴霧域が長辺約4500mm及び短辺約300mmの長方形状のパターンである噴霧パターンが得られるとともに、噴霧流量の密度分布が均一であった。特に、長辺約400mm及び短辺約200mmの長方形状の噴霧領域では、流量密度が約75%以上であり、噴霧密度が均一である。
比較例1
図7に示すスプレーノズルを用いた。なお、ノズル本体の吐出孔の内径は3mmφ、角度60°のV溝の交差角度は90°、一方のV溝の深さに対する他方のV溝の深さの比率は1:1である。また、ノズル本体の内部構造は実施例1の構造と同様であり、中子(旋回部材)としては、図1に示す二枚羽根構造の旋回部材(実施例1の中子)を用いた。そして、圧力0.2MPa、流量20L/分、噴射距離400mmで水を噴霧し、噴霧パターンと噴霧流量の密度分布を調べたところ、正方形状の噴霧パターンが得られた。
図1は本発明のスプレーノズルの一例を示す概略部分切欠斜視図である。 図2は図1のスプレーノズルを示す断面図である。 図3は本発明のスプレーノズルの他の例を示す概略部分切欠斜視図である。 図4は図3のスプレーノズルを示す断面図である。 図5は本発明のスプレーノズルのさらに他の例を示し、図5(a)はノズル本体の先端部を示す端面図であり、図5(b)はスプレーノズルを示す概略側面図である。 図6は本発明のスプレーノズルの別の例を示し、図6(a)はノズル本体の先端部を示す端面図であり、図6(b)はスプレーノズルを示す概略側面図である。 図7は従来のスプレーノズルを示し、図7(a)はノズル本体の先端部を示す端面図であり、図7(b)はスプレーノズルを示す概略側面図である。 図8は実施例1での長辺方向の噴霧密度の分布を示すグラフである。 図9は実施例1での短辺方向の噴霧密度の分布を示すグラフである。 図10は実施例2での長辺方向の噴霧密度の分布を示すグラフである。 図11は実施例2での短辺方向の噴霧密度の分布を示すグラフである。
符号の説明
1,11,21,31…ノズル本体
2,12,22,32…吐出孔
4,14,24,34…先端面
15…傾斜面
6a,6b,16a,16b…V溝
7,17,…中子(旋回部材)
26a,26b…断面U字状溝
36a,36b…断面コ字状溝

Claims (6)

  1. 旋回流体を、ノズル本体の平坦面又は傾斜面に形成された吐出孔から噴霧して矩形状噴霧パターンを形成するためのスプレーノズルであって、前記吐出口が前記平坦面又は傾斜面で円形状に開口しており、かつ前記吐出孔で2つの溝が直交することなく交差しているスプレーノズル。
  2. 2つの溝の交差角度が10〜80°である請求項1記載のスプレーノズル。
  3. 一方の溝の深さに対して他方の溝の深さが、1:1〜1:4である請求項1記載のスプレーノズル。
  4. 溝がV溝である請求項1記載のスプレーノズル。
  5. 流体を旋回させるための旋回手段と、この旋回手段の下流側の先端面に形成された吐出孔と、この吐出孔を交差角度20〜70°で横断する2つの溝とを備えており、一方の溝の深さに対して他方の溝の深さが、1:1.2〜1:3である請求項1記載のスプレーノズル。
  6. 請求項1記載のスプレーノズルに流体の旋回流を供給し、ノズル本体の平坦面又は傾斜面に形成された吐出孔から流体を矩形状噴霧パターンに噴霧する方法。
JP2003283049A 2003-07-30 2003-07-30 スプレーノズル及びそれを用いた噴霧方法 Expired - Fee Related JP4504641B2 (ja)

Priority Applications (1)

Application Number Priority Date Filing Date Title
JP2003283049A JP4504641B2 (ja) 2003-07-30 2003-07-30 スプレーノズル及びそれを用いた噴霧方法

Applications Claiming Priority (1)

Application Number Priority Date Filing Date Title
JP2003283049A JP4504641B2 (ja) 2003-07-30 2003-07-30 スプレーノズル及びそれを用いた噴霧方法

Publications (2)

Publication Number Publication Date
JP2005046769A JP2005046769A (ja) 2005-02-24
JP4504641B2 true JP4504641B2 (ja) 2010-07-14

Family

ID=34268057

Family Applications (1)

Application Number Title Priority Date Filing Date
JP2003283049A Expired - Fee Related JP4504641B2 (ja) 2003-07-30 2003-07-30 スプレーノズル及びそれを用いた噴霧方法

Country Status (1)

Country Link
JP (1) JP4504641B2 (ja)

Cited By (1)

* Cited by examiner, † Cited by third party
Publication number Priority date Publication date Assignee Title
US20240001509A1 (en) * 2022-07-01 2024-01-04 The Boeing Company Damage tolerant cavitation nozzle

Families Citing this family (4)

* Cited by examiner, † Cited by third party
Publication number Priority date Publication date Assignee Title
US7603726B2 (en) 2005-12-20 2009-10-20 S.C. Johnson & Son, Inc. Toilet bowl cleaning and/or deodorizing device
KR101673700B1 (ko) * 2013-12-24 2016-11-07 가부시키가이샤 니프코 스프레이 노즐
CN112057788A (zh) * 2020-08-05 2020-12-11 国网湖南省电力有限公司 翼形喷头以及变压器喷雾灭火系统
CN115970210A (zh) * 2022-11-02 2023-04-18 江苏大学 一种喷漆房车下压气水喷雾灭火装置

Family Cites Families (2)

* Cited by examiner, † Cited by third party
Publication number Priority date Publication date Assignee Title
JPS5715860A (en) * 1980-06-30 1982-01-27 Matsushita Electric Works Ltd Spray tip for discharging synthetic resin
JP2663163B2 (ja) * 1988-12-23 1997-10-15 株式会社いけうち スプレーノズル

Cited By (2)

* Cited by examiner, † Cited by third party
Publication number Priority date Publication date Assignee Title
US20240001509A1 (en) * 2022-07-01 2024-01-04 The Boeing Company Damage tolerant cavitation nozzle
US12466028B2 (en) * 2022-07-01 2025-11-11 The Boeing Company Damage tolerant cavitation nozzle

Also Published As

Publication number Publication date
JP2005046769A (ja) 2005-02-24

Similar Documents

Publication Publication Date Title
JP2710398B2 (ja) 二流体ノズル
JP4847330B2 (ja) 液滴の噴霧を生成するための方法および装置
RU2501610C1 (ru) Форсунка со сплошным конусом распыла
JP2016172251A (ja) フラットジェットノズル及びフラットジェットノズルの使用法
JP4141006B2 (ja) 高圧清浄スプレーノズル
JPH08173861A (ja) スプレーガン用の改良されたエアキャップ付きノズル
JP2849063B2 (ja) 流体噴出ノズル
JP2016163034A (ja) 二流体ノズル
JP4397608B2 (ja) 噴霧ノズル
JP4504641B2 (ja) スプレーノズル及びそれを用いた噴霧方法
JP4971708B2 (ja) 二流体ノズル
JP5042770B2 (ja) 広角ベーンレスフルコーンスプレーノズル
JP2016087575A (ja) 噴霧ノズル
US20060283985A1 (en) Ultra-fine spray-jetting nozzle
JP2005131486A (ja) 噴霧ノズルおよび噴霧方法
JP2005103367A (ja) 噴霧ノズル
JP2004237282A (ja) 二流体ノズル
JP4936904B2 (ja) 噴射ノズルとそれを用いた噴霧方法
US20090078795A1 (en) Liquid Atomizer for Agricultural Applications
JP2883046B2 (ja) 霧化ノズル
JP2001269603A (ja) 流体噴射ノズル
WO2005097345A1 (en) Liquid atomizer
KR20060128289A (ko) 초미세 분무 분사 노즐
KR102497047B1 (ko) 노즐 구조체
EP3501664B1 (en) Insert for hydraulic nozzles and hydraulic nozzle including said insert

Legal Events

Date Code Title Description
A621 Written request for application examination

Free format text: JAPANESE INTERMEDIATE CODE: A621

Effective date: 20060602

A977 Report on retrieval

Free format text: JAPANESE INTERMEDIATE CODE: A971007

Effective date: 20090401

A131 Notification of reasons for refusal

Free format text: JAPANESE INTERMEDIATE CODE: A131

Effective date: 20090721

A521 Request for written amendment filed

Free format text: JAPANESE INTERMEDIATE CODE: A523

Effective date: 20090901

A131 Notification of reasons for refusal

Free format text: JAPANESE INTERMEDIATE CODE: A131

Effective date: 20100302

A521 Request for written amendment filed

Free format text: JAPANESE INTERMEDIATE CODE: A523

Effective date: 20100326

TRDD Decision of grant or rejection written
A01 Written decision to grant a patent or to grant a registration (utility model)

Free format text: JAPANESE INTERMEDIATE CODE: A01

Effective date: 20100413

A01 Written decision to grant a patent or to grant a registration (utility model)

Free format text: JAPANESE INTERMEDIATE CODE: A01

A61 First payment of annual fees (during grant procedure)

Free format text: JAPANESE INTERMEDIATE CODE: A61

Effective date: 20100423

R150 Certificate of patent or registration of utility model

Free format text: JAPANESE INTERMEDIATE CODE: R150

Ref document number: 4504641

Country of ref document: JP

Free format text: JAPANESE INTERMEDIATE CODE: R150

FPAY Renewal fee payment (event date is renewal date of database)

Free format text: PAYMENT UNTIL: 20130430

Year of fee payment: 3

FPAY Renewal fee payment (event date is renewal date of database)

Free format text: PAYMENT UNTIL: 20160430

Year of fee payment: 6

R250 Receipt of annual fees

Free format text: JAPANESE INTERMEDIATE CODE: R250

R250 Receipt of annual fees

Free format text: JAPANESE INTERMEDIATE CODE: R250

R250 Receipt of annual fees

Free format text: JAPANESE INTERMEDIATE CODE: R250

R250 Receipt of annual fees

Free format text: JAPANESE INTERMEDIATE CODE: R250

R250 Receipt of annual fees

Free format text: JAPANESE INTERMEDIATE CODE: R250

R250 Receipt of annual fees

Free format text: JAPANESE INTERMEDIATE CODE: R250

LAPS Cancellation because of no payment of annual fees