JP4500436B2 - 吸着式除湿装置 - Google Patents

吸着式除湿装置 Download PDF

Info

Publication number
JP4500436B2
JP4500436B2 JP2000365126A JP2000365126A JP4500436B2 JP 4500436 B2 JP4500436 B2 JP 4500436B2 JP 2000365126 A JP2000365126 A JP 2000365126A JP 2000365126 A JP2000365126 A JP 2000365126A JP 4500436 B2 JP4500436 B2 JP 4500436B2
Authority
JP
Japan
Prior art keywords
adsorption
air
zone
rotor
adsorption rotor
Prior art date
Legal status (The legal status is an assumption and is not a legal conclusion. Google has not performed a legal analysis and makes no representation as to the accuracy of the status listed.)
Expired - Fee Related
Application number
JP2000365126A
Other languages
English (en)
Other versions
JP2002166124A (ja
Inventor
秀司 坂口
Current Assignee (The listed assignees may be inaccurate. Google has not performed a legal analysis and makes no representation or warranty as to the accuracy of the list.)
Seibu Giken Co Ltd
Original Assignee
Seibu Giken Co Ltd
Priority date (The priority date is an assumption and is not a legal conclusion. Google has not performed a legal analysis and makes no representation as to the accuracy of the date listed.)
Filing date
Publication date
Application filed by Seibu Giken Co Ltd filed Critical Seibu Giken Co Ltd
Priority to JP2000365126A priority Critical patent/JP4500436B2/ja
Publication of JP2002166124A publication Critical patent/JP2002166124A/ja
Application granted granted Critical
Publication of JP4500436B2 publication Critical patent/JP4500436B2/ja
Anticipated expiration legal-status Critical
Expired - Fee Related legal-status Critical Current

Links

Images

Classifications

    • FMECHANICAL ENGINEERING; LIGHTING; HEATING; WEAPONS; BLASTING
    • F24HEATING; RANGES; VENTILATING
    • F24FAIR-CONDITIONING; AIR-HUMIDIFICATION; VENTILATION; USE OF AIR CURRENTS FOR SCREENING
    • F24F3/00Air-conditioning systems in which conditioned primary air is supplied from one or more central stations to distributing units in the rooms or spaces where it may receive secondary treatment; Apparatus specially designed for such systems
    • F24F3/12Air-conditioning systems in which conditioned primary air is supplied from one or more central stations to distributing units in the rooms or spaces where it may receive secondary treatment; Apparatus specially designed for such systems characterised by the treatment of the air otherwise than by heating and cooling
    • F24F3/14Air-conditioning systems in which conditioned primary air is supplied from one or more central stations to distributing units in the rooms or spaces where it may receive secondary treatment; Apparatus specially designed for such systems characterised by the treatment of the air otherwise than by heating and cooling by humidification; by dehumidification
    • F24F3/1411Air-conditioning systems in which conditioned primary air is supplied from one or more central stations to distributing units in the rooms or spaces where it may receive secondary treatment; Apparatus specially designed for such systems characterised by the treatment of the air otherwise than by heating and cooling by humidification; by dehumidification by absorbing or adsorbing water, e.g. using an hygroscopic desiccant
    • F24F3/1423Air-conditioning systems in which conditioned primary air is supplied from one or more central stations to distributing units in the rooms or spaces where it may receive secondary treatment; Apparatus specially designed for such systems characterised by the treatment of the air otherwise than by heating and cooling by humidification; by dehumidification by absorbing or adsorbing water, e.g. using an hygroscopic desiccant with a moving bed of solid desiccants, e.g. a rotary wheel supporting solid desiccants
    • FMECHANICAL ENGINEERING; LIGHTING; HEATING; WEAPONS; BLASTING
    • F24HEATING; RANGES; VENTILATING
    • F24FAIR-CONDITIONING; AIR-HUMIDIFICATION; VENTILATION; USE OF AIR CURRENTS FOR SCREENING
    • F24F2203/00Devices or apparatus used for air treatment
    • F24F2203/10Rotary wheel
    • F24F2203/1032Desiccant wheel
    • FMECHANICAL ENGINEERING; LIGHTING; HEATING; WEAPONS; BLASTING
    • F24HEATING; RANGES; VENTILATING
    • F24FAIR-CONDITIONING; AIR-HUMIDIFICATION; VENTILATION; USE OF AIR CURRENTS FOR SCREENING
    • F24F2203/00Devices or apparatus used for air treatment
    • F24F2203/10Rotary wheel
    • F24F2203/1056Rotary wheel comprising a reheater
    • FMECHANICAL ENGINEERING; LIGHTING; HEATING; WEAPONS; BLASTING
    • F24HEATING; RANGES; VENTILATING
    • F24FAIR-CONDITIONING; AIR-HUMIDIFICATION; VENTILATION; USE OF AIR CURRENTS FOR SCREENING
    • F24F2203/00Devices or apparatus used for air treatment
    • F24F2203/10Rotary wheel
    • F24F2203/1068Rotary wheel comprising one rotor
    • FMECHANICAL ENGINEERING; LIGHTING; HEATING; WEAPONS; BLASTING
    • F24HEATING; RANGES; VENTILATING
    • F24FAIR-CONDITIONING; AIR-HUMIDIFICATION; VENTILATION; USE OF AIR CURRENTS FOR SCREENING
    • F24F2203/00Devices or apparatus used for air treatment
    • F24F2203/10Rotary wheel
    • F24F2203/1072Rotary wheel comprising two rotors
    • FMECHANICAL ENGINEERING; LIGHTING; HEATING; WEAPONS; BLASTING
    • F24HEATING; RANGES; VENTILATING
    • F24FAIR-CONDITIONING; AIR-HUMIDIFICATION; VENTILATION; USE OF AIR CURRENTS FOR SCREENING
    • F24F2203/00Devices or apparatus used for air treatment
    • F24F2203/10Rotary wheel
    • F24F2203/1084Rotary wheel comprising two flow rotor segments
    • FMECHANICAL ENGINEERING; LIGHTING; HEATING; WEAPONS; BLASTING
    • F24HEATING; RANGES; VENTILATING
    • F24FAIR-CONDITIONING; AIR-HUMIDIFICATION; VENTILATION; USE OF AIR CURRENTS FOR SCREENING
    • F24F2203/00Devices or apparatus used for air treatment
    • F24F2203/10Rotary wheel
    • F24F2203/1088Rotary wheel comprising three flow rotor segments

Landscapes

  • Engineering & Computer Science (AREA)
  • Chemical & Material Sciences (AREA)
  • Combustion & Propulsion (AREA)
  • Mechanical Engineering (AREA)
  • General Engineering & Computer Science (AREA)
  • Central Air Conditioning (AREA)
  • Drying Of Gases (AREA)

Description

【0001】
【発明の属する技術分野】
本発明は、たとえばシリカゲルやゼオライトなどの吸着剤を用いた吸着式除湿装置に関するものである。
【0002】
【従来の技術】
吸着式除湿装置は冷凍式除湿装置と比較して低露点の空気を供給可能で、特殊な環境が必要な産業用に主に用いられている。
【0003】
このような吸着式除湿装置の内で、シート材をハニカム状(蜂の巣)に形成し、シリカゲルやゼオライトなどの吸着剤を担持した吸着ローターを用いるものが構造が簡単で急速に普及している。
【0004】
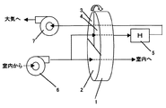
またこのような吸着ローターを用いるものにあって、種々の目的に応じて種々のフローが開発されている。以下、従来の低露点空気つまり露点が−20〜−50℃の空気の供給を目的とした吸着式除湿装置について図2に沿って説明をする。
【0005】
1はセラミックなどの無機繊維を主成分とする紙をハニカム(蜂の巣)状に形成し、ゼオライトやシリカゲルを担持した吸着ローターである。この吸着ローター1はギヤドモーター(図示せず)などで矢印方向に回転駆動される。また吸着ローター1はその回転方向に対して、吸着ゾーン2、再生ゾーン3、パージゾーン4に分割されている。
【0006】
5はヒーターであり、パージゾーン4から出た空気を加熱するものであり、ヒーター5を出た空気は再生ゾーン3へ導かれる。6はブロアであり室内空気を吸着ローター1の吸着ゾーン2へ送るものである。またブロア6の出口は分岐され、パージゾーン4へ連結されている。
【0007】
室内空気はブロア6によって吸着ゾーン2へ送られ、ここで湿気が吸着されて乾燥空気となって、再び室内へ戻される。またブロア6によって圧送された空気の一部はパージゾーン4へ送られ、吸着ローター1の熱を回収してヒーターへ入る。
【0008】
パージゾーン4をでた空気はヒーター5でさらに温度が上昇し、再生ゾーン3に入る。再生ゾーン3で吸着ローター1に吸着された湿気を脱着し、再生ゾーン3を出た空気はブロア7で引かれて、大気へ放出される。
【0009】
【発明が解決しようとする課題】
このようにして吸着式除湿装置によって室内空気を乾燥させるのであるが、リチウム電池の製造工場などのように露点が−20〜−50℃の極めて低露点の空気を必要とする場合、ヒーター5の温度を200〜250℃の高い温度に設定している。
【0010】
つまり吸着式除湿装置の吸着原理から、吸着ゾーン2を出る空気より再生ゾーン3に入る空気の相対湿度が低くならなければならず、吸着ゾーン2より出る空気の露点を下げるには、再生ゾーン3に入る空気の温度を上げることによって相対湿度を下げるようにしている。
【0011】
このため、再生ゾーン3を出た空気の温度が120〜160℃程度にもなり、ブロア7として耐熱性の高い特殊な仕様のものが必要であった。また再生ゾーン3を出た空気を導くダクトも耐熱性が要求され、安全のために断熱する必要があるという問題がある。
【0012】
また再生空気として大気を用いると、雨天の時など湿度が高く200℃程度に温度を上げても室内空気の相対湿度以下にならないため、再生空気として室内空気を用いる必要がある。このため再生空気の量だけ室内空気が外部に放出されることになり、室内の気密が高いと外気を室内に供給する必要がある。従って、室内の湿度は外気の影響を受けることになる。
【0013】
本発明は極めて低い露点の空気を供給する能力を備えながら、再生ゾーンを出た空気の温度が低い吸着式除湿装置を提供しようとするものである。
【0014】
【課題を解決するための手段】
本件発明は以上のような課題を解決するため、2つの吸着ローターを備え、第1吸着ローターの再生ゾーンに、第2吸着ローターの吸着ゾーンを通過した後ヒーターによって加熱された空気を通し、第1吸着ローターの再生ゾーンを出た空気を第2吸着ローターの再生ゾーンに通すようにし、第2吸着ローターの再生ゾーンを出た空気を外に送り出すブロアを設けた。
【0015】
【発明の実施の形態】
本発明の請求項1に記載の発明は、第1吸着ローターの再生ゾーンに、第2吸着ローターの吸着ゾーンを通過した後ヒーターによって加熱された空気を通し、第1吸着ローターの再生ゾーンを出た空気を第2吸着ローターの再生ゾーンに通すようにしたものであり、第1吸着ローターの再生ゾーンを出た高温の空気が第2吸着ローターの再生ゾーンで温度が下がるとともに、第2吸着ローターの吸着ゾーンを通過した乾燥空気を第1吸着ローターの再生ゾーンに流すため第1吸着ローターの再生が効果的に行われるという作用を有する。
【0016】
【実施例】
以下本発明の吸着式除湿装置の実施例について図1に沿って詳細に説明する。8はセラミックなどの無機繊維を主成分とする紙をハニカム(蜂の巣)状に形成し、ゼオライトやシリカゲルを担持した第1吸着ローターである。この第1吸着ローター8はギヤドモーター(図示せず)などで矢印方向に回転駆動される。また第1吸着ローター8はその回転方向に対して、吸着ゾーン9、再生ゾーン10、パージゾーン11に分割されている。そして吸着ゾーン9から出た乾燥空気は室内へ導かれる。
【0017】
12は第2吸着ローターであり、これも第1吸着ローター8と同様セラミックなどの無機繊維を主成分とする紙をハニカム状に形成し、ゼオライトやシリカゲルを担持することによって構成されている。また第2吸着ローター12は吸着ゾーン13、再生ゾーン14に分割されている。
【0018】
15はヒーターであり、第2吸着ローター12の吸着ゾーン13から出た空気を加熱するものであり、ヒーター15を出た空気は第1吸着ローター8の再生ゾーン10へ導かれる。16はブロアであり室内空気を第1吸着ローター8の吸着ゾーン9へ送るものである。またブロア16の出口は分岐され、第1吸着ローター8のパージゾーン11へも連結されている。
【0019】
パージゾーン11を出た空気は冷却器17の入口に戻される。冷却器17の入口には室内空気も導かれる。また冷却器17はチラー(図示せず)などから作られる低温の水が供給され、空気を冷却するものである。そして冷却器17の出口はブロア16の吸込口に連結されている。
【0020】
第2吸着ローター12の吸着ゾーン13には大気が導かれ、再生ゾーン14を出た多湿空気はブロア18によって大気へ放出される。また第2吸着ローター12の通気面積は第1吸着ローター8の通気面積の半分である。第1吸着ローター8の吸着ゾーン9、再生ゾーン10、パージゾーン11の通気面積比は2:1:1であり、第2吸着ローター12の吸着ゾーン13、再生ゾーン14の通気面積比は1:1である。よって第1吸着ローター8の再生ゾーン10の通気面積と第2吸着ローター12の再生ゾーン14の通気面積は等しい。
【0021】
本発明の吸着式除湿装置は上記の如く構成され、以下その動作についてマイナス露点の乾燥室に用いた場合を例にとって説明する。先ず室内空気がブロア16によって吸込まれ、ブロア16に入る前に冷却器17で冷却される。室内空気は露点が0℃以下であるので、冷却では結露を生じない。
【0022】
冷却された室内空気はブロア16によって第1吸着ローター8の吸着ゾーン9及びパージゾーン11へ送られる。室内空気は冷却されて相対湿度が上がるため、吸着ゾーン9で効果的に除湿され、乾燥空気となって室内に戻される。出願人の実験では露点が−40℃以下であった。
【0023】
パージゾーン11へ送られた空気は、ここで第1吸着ローター8と熱交換をし、第1吸着ローター8を冷却するとともに温度が上昇して、冷却器17の入口側へ戻される。つまり第1吸着ローター8を冷却して吸着ゾーン9での吸着を効果的にする。
【0024】
一方、大気はブロア18の吸引によって第2吸着ローター12の吸着ゾーン13を通り、乾燥空気となる。大気が夏の多湿条件で露点が27℃の時に、吸着ゾーン13を出た空気の露点は18℃程度になる。また吸着熱と脱着ゾーン14からの熱の持ち込みによって、吸着ゾーン13を出た空気の温度は約120℃となる。
【0025】
吸着ゾーン13を出た空気はヒーター15に入り、ここで230℃まで加熱される。この高温乾燥空気は第1吸着ローター8の再生ゾーン10に入り、第1吸着ローター8に吸着された湿気を脱着する。
【0026】
再生ゾーン10で高温乾燥空気は脱着熱によって温度が下がるとともに吸着剤から脱着された湿気で湿度が上がる。つまり再生ゾーン10を出た空気の温度は160℃まで下がり、露点は32℃まで上昇する。この再生ゾーン10を出た空気は相対湿度が外気より低く、第2吸着ローター12の脱着に使用かのうである。
【0027】
従って、第1吸着ローター8の再生ゾーン10を出た空気を第2吸着ローター12の脱着ゾーン14を通過させることで、第2吸着ローター12に吸着された空気の脱着を行うことができる。第2吸着ローター12の脱着ゾーン14を出た空気の温度は83℃まで下がり、大気へ放出される。
【0028】
【発明の効果】
本発明の吸着式除湿装置は上記の如く構成したので、第2吸着ローターの脱着ゾーンを出た空気の温度が低く、極めて低い露点の空気を供給する能力を備えながら、再生ゾーンを出た空気の温度を低く安全性を高くすることができるものである。そして第1吸着ローターの再生ゾーンに流す空気として室内空気を使わなくてもよいため、室内空気を完全に外気から遮断可能で、クリーン・ルームや無菌室にも本発明の吸着式除湿装置は応用が容易である。
【0029】
また再生ゾーンを出た空気の温度が低いため、その空気を送るダクトなどの材料の選定が容易であり価格も安価になる。しかも再生ゾーンを出た空気を吸い出すブロアも耐熱性の高いものを用いる必要がない。この点において、再生ゾーンに大気を押し込むようにブロアを配置することも考えられるが、再生ゾーンを負圧にする方が脱着効果が高く、ブロアは再生ゾーンの空気を吸い出す配置が望ましい。
【0030】
さらに本発明の吸着式除湿装置は第2吸着ローターで発生した乾燥空気で第1吸着ローターを脱着する構成を有するため、第1吸着ローターの吸着ゾーンに入る空気の相対湿度より第1吸着ローターの再生ゾーンに入る空気の相対湿度を容易に低くすることができ、第1吸着ローターの吸着ゾーンを出た空気の露点を低くすることができる。
【0031】
そして第1吸着ローターにパージゾーンを設け、パージゾーンを出た空気を吸着ゾーンに戻すようにしているため、吸着ゾーンに入る前に第1吸着ローターが冷却され、吸着効果が高い。また第1吸着ローターの吸着ゾーンに入る前の空気を冷却するようにしたことも吸着効果を高める。
【0032】
第1吸着ローターの再生ゾーンと第2吸着ローターの再生ゾーンの通気面積を等しくしたため、両ゾーンを通過する空気流の流速が等しくなり、2つのゾーンを通過しても空気抵抗の増大はそれ程大きくない。
【図面の簡単な説明】
【図1】本発明の吸着式除湿装置の実施例を示すフロー図である。
【図2】従来の吸着式除湿装置の一例を示すフロー図である。
【符号の説明】
8 第1吸着ローター
9 吸着ゾーン
10 再生ゾーン
11 パージゾーン
12 第2吸着ローター
13 吸着ゾーン
14 再生ゾーン
15 ヒーター
16 ブロア
17 冷却器
18 ブロア

Claims (1)

  1. 第1吸着ローターの再生ゾーンに、第2吸着ローターの吸着ゾーンを通過し乾燥空気となった空気をヒーターによって加熱して通し、前記第1吸着ローターの再生ゾーンを出た空気を直接前記第2吸着ローターの再生ゾーンに通すようにし、第2吸着ローターの再生ゾーンを出た空気を外に送り出すブロアを設け、室内還気を冷却した上で前記第1吸着ロータの吸着ゾーンを通過させ、室内に戻すようにしたことを特徴とする吸着式除湿装置。
JP2000365126A 2000-11-30 2000-11-30 吸着式除湿装置 Expired - Fee Related JP4500436B2 (ja)

Priority Applications (1)

Application Number Priority Date Filing Date Title
JP2000365126A JP4500436B2 (ja) 2000-11-30 2000-11-30 吸着式除湿装置

Applications Claiming Priority (1)

Application Number Priority Date Filing Date Title
JP2000365126A JP4500436B2 (ja) 2000-11-30 2000-11-30 吸着式除湿装置

Publications (2)

Publication Number Publication Date
JP2002166124A JP2002166124A (ja) 2002-06-11
JP4500436B2 true JP4500436B2 (ja) 2010-07-14

Family

ID=18835953

Family Applications (1)

Application Number Title Priority Date Filing Date
JP2000365126A Expired - Fee Related JP4500436B2 (ja) 2000-11-30 2000-11-30 吸着式除湿装置

Country Status (1)

Country Link
JP (1) JP4500436B2 (ja)

Families Citing this family (8)

* Cited by examiner, † Cited by third party
Publication number Priority date Publication date Assignee Title
JP4775623B2 (ja) * 2004-10-26 2011-09-21 株式会社日立プラントテクノロジー 除湿システム
JP4641860B2 (ja) * 2005-04-28 2011-03-02 株式会社朝日工業社 ソーラーウォールユニットとデシカントユニットを用いた空調機
JP2009019788A (ja) * 2007-07-10 2009-01-29 Seibu Giken Co Ltd デシカント空調機
KR101649781B1 (ko) * 2013-09-06 2016-08-19 임앵자 제습 건조 장치 및 제습 건조 시스템
JP6321398B2 (ja) * 2014-02-20 2018-05-09 株式会社西部技研 冷凍倉庫用低露点除湿装置
CN108800723A (zh) * 2018-07-09 2018-11-13 上海云懋空气处理设备有限公司 一种用于低温低湿库的节能型转轮除湿系统
CN112225286B (zh) * 2020-10-13 2023-08-11 安徽工程大学 一种新型凝胶吸附设备
KR102859917B1 (ko) * 2023-03-07 2025-09-12 하이엠솔루텍주식회사 제습 시스템

Family Cites Families (9)

* Cited by examiner, † Cited by third party
Publication number Priority date Publication date Assignee Title
JPS5219362A (en) * 1975-08-05 1977-02-14 Takasago Thermal Eng Co Lts Dry type dehumidifier
JPS5219349A (en) * 1975-08-07 1977-02-14 Toshiba Corp Open type absorption cooler
JPS5697522A (en) * 1980-01-07 1981-08-06 Toho Gas Kk Room cooler with dehumidifyer
JPS6171821A (ja) * 1984-07-30 1986-04-12 Daikin Ind Ltd 乾式除湿装置
JPS6297626A (ja) * 1985-10-23 1987-05-07 San Plant:Kk 回転式乾式除湿機
JPH0733110Y2 (ja) * 1988-07-07 1995-07-31 株式会社松井製作所 乾燥媒体に不活性ガスを用いた除湿乾燥装置
US5170633A (en) * 1991-06-24 1992-12-15 Amsted Industries Incorporated Desiccant based air conditioning system
JP2968241B2 (ja) * 1997-10-24 1999-10-25 株式会社荏原製作所 除湿空調システム及びその運転方法
JPH11197439A (ja) * 1998-01-14 1999-07-27 Ebara Corp 除湿空調装置

Also Published As

Publication number Publication date
JP2002166124A (ja) 2002-06-11

Similar Documents

Publication Publication Date Title
JP2989513B2 (ja) 除加湿機能付き空気調和機
JP4639485B2 (ja) 空気調和機
JP4500436B2 (ja) 吸着式除湿装置
JP4607356B2 (ja) 除湿空調装置
JP4258930B2 (ja) 除加湿装置、除加湿機及び空気調和機
JP3992051B2 (ja) 空調システム
JPH08178350A (ja) 調湿装置および調湿機能付空気調和機
JP4529318B2 (ja) 除湿デバイスと前記除湿デバイスを使用した冷風発生装置
JP5007098B2 (ja) 吸着体、調湿装置及び空気調和機の室内機
JP2002054838A (ja) 除湿空調装置
JP4414110B2 (ja) 除湿空調装置
JP2002253924A (ja) 除湿デバイスとこの除湿デバイスを使用する除湿装置
JPH1194317A (ja) 除・加湿装置
JPH07275642A (ja) 除湿装置
JP3716089B2 (ja) 空気調和機
JP3588691B2 (ja) 除・加湿装置
JP2002147803A (ja) 調湿換気装置
JPH04283332A (ja) 乾式除加湿装置
JP3003351B2 (ja) 除加湿装置
KR20120077621A (ko) 정화 제습 장치 및 이를 이용한 정화 제습 방법
CN218096402U (zh) 干式空气处理模块和空调器
KR20050088805A (ko) 삼투압방식을 이용한 제습장치
JP2003240270A (ja) 空気調和装置
JP2011196562A (ja) 加湿装置
JP2002098353A (ja) 調湿換気装置

Legal Events

Date Code Title Description
A621 Written request for application examination

Free format text: JAPANESE INTERMEDIATE CODE: A621

Effective date: 20071030

A977 Report on retrieval

Free format text: JAPANESE INTERMEDIATE CODE: A971007

Effective date: 20091228

A131 Notification of reasons for refusal

Free format text: JAPANESE INTERMEDIATE CODE: A131

Effective date: 20100119

A521 Request for written amendment filed

Free format text: JAPANESE INTERMEDIATE CODE: A523

Effective date: 20100311

TRDD Decision of grant or rejection written
A01 Written decision to grant a patent or to grant a registration (utility model)

Free format text: JAPANESE INTERMEDIATE CODE: A01

Effective date: 20100413

A01 Written decision to grant a patent or to grant a registration (utility model)

Free format text: JAPANESE INTERMEDIATE CODE: A01

A61 First payment of annual fees (during grant procedure)

Free format text: JAPANESE INTERMEDIATE CODE: A61

Effective date: 20100419

FPAY Renewal fee payment (event date is renewal date of database)

Free format text: PAYMENT UNTIL: 20130423

Year of fee payment: 3

R150 Certificate of patent or registration of utility model

Free format text: JAPANESE INTERMEDIATE CODE: R150

Ref document number: 4500436

Country of ref document: JP

Free format text: JAPANESE INTERMEDIATE CODE: R150

FPAY Renewal fee payment (event date is renewal date of database)

Free format text: PAYMENT UNTIL: 20130423

Year of fee payment: 3

FPAY Renewal fee payment (event date is renewal date of database)

Free format text: PAYMENT UNTIL: 20130423

Year of fee payment: 3

FPAY Renewal fee payment (event date is renewal date of database)

Free format text: PAYMENT UNTIL: 20140423

Year of fee payment: 4

R250 Receipt of annual fees

Free format text: JAPANESE INTERMEDIATE CODE: R250

R250 Receipt of annual fees

Free format text: JAPANESE INTERMEDIATE CODE: R250

R250 Receipt of annual fees

Free format text: JAPANESE INTERMEDIATE CODE: R250

R250 Receipt of annual fees

Free format text: JAPANESE INTERMEDIATE CODE: R250

R250 Receipt of annual fees

Free format text: JAPANESE INTERMEDIATE CODE: R250

R250 Receipt of annual fees

Free format text: JAPANESE INTERMEDIATE CODE: R250

R250 Receipt of annual fees

Free format text: JAPANESE INTERMEDIATE CODE: R250

LAPS Cancellation because of no payment of annual fees