JP4500074B2 - 偏波無依存型光学機器 - Google Patents

偏波無依存型光学機器 Download PDF

Info

Publication number
JP4500074B2
JP4500074B2 JP2004079223A JP2004079223A JP4500074B2 JP 4500074 B2 JP4500074 B2 JP 4500074B2 JP 2004079223 A JP2004079223 A JP 2004079223A JP 2004079223 A JP2004079223 A JP 2004079223A JP 4500074 B2 JP4500074 B2 JP 4500074B2
Authority
JP
Japan
Prior art keywords
polarization
waveguide
modulation element
optical
light
Prior art date
Legal status (The legal status is an assumption and is not a legal conclusion. Google has not performed a legal analysis and makes no representation as to the accuracy of the status listed.)
Expired - Fee Related
Application number
JP2004079223A
Other languages
English (en)
Other versions
JP2005266362A (ja
Inventor
慎吾 森
雅之 市岡
洋一 佐藤
潤一郎 市川
Current Assignee (The listed assignees may be inaccurate. Google has not performed a legal analysis and makes no representation or warranty as to the accuracy of the list.)
Sumitomo Osaka Cement Co Ltd
Original Assignee
Sumitomo Osaka Cement Co Ltd
Priority date (The priority date is an assumption and is not a legal conclusion. Google has not performed a legal analysis and makes no representation as to the accuracy of the date listed.)
Filing date
Publication date
Application filed by Sumitomo Osaka Cement Co Ltd filed Critical Sumitomo Osaka Cement Co Ltd
Priority to JP2004079223A priority Critical patent/JP4500074B2/ja
Publication of JP2005266362A publication Critical patent/JP2005266362A/ja
Application granted granted Critical
Publication of JP4500074B2 publication Critical patent/JP4500074B2/ja
Anticipated expiration legal-status Critical
Expired - Fee Related legal-status Critical Current

Links

Images

Landscapes

  • Optical Integrated Circuits (AREA)
  • Optical Modulation, Optical Deflection, Nonlinear Optics, Optical Demodulation, Optical Logic Elements (AREA)

Description

本発明は、偏波依存性を有する光学素子を用いた光学機器に関し、特に、光学素子が導波路型光変調素子であり、光学機器に入射する光波が複数の偏波成分を有する場合でも、偏波依存性を有する光学素子が安定して動作するように構成した偏波無依存型光学機器に関する。
近年、高速・大容量光ファイバ通信システムの進歩に伴い、外部変調器に代表されるように、導波路型光学素子を用いた高速光変調器が実用化され、広く用いられるようになってきている。
例えば、導波路型光学素子は、LiNbO3(ニオブ酸リチウム)などの電気光学効果を有する基板上に、Tiなどを熱拡散して導波路を形成するものである。特に、導波路の形状として2つの分岐光導波路を有するマッハツェンダー型の光導波路が多く利用されており、このような構成の光学素子にあっては、S偏波成分とP偏波成分とで、分岐光導波路における電気光学定数が異なるため、位相をπシフトさせるのに必要な半波長電圧の大きさが異なるという偏波依存性を有することが知られており、したがって光源光を光導波路の入射端へ伝送する光ファイバとしては偏波保持ファイバを用いる必要があった。
しかしながら、最近では、導波路型光学素子を、シングルモード光ファイバからなる光伝送路の中途に介在させて使用することが求められている。そのため、偏波依存性を有する光学素子の入射側に設けられる光ファイバが偏波保持光ファイバでなく、入射光の偏波状態がランダムに変化する場合であっても、光学素子が良好に動作する構成が求められている。
本出願人は、以下の特許文献1において、波長依存性を有する導波路型光学素子を用いた偏波無依存性の光学機器を提案している。
特開2003−270591号公報
特許文献1に記載の発明は、図1に示すように、入射手段1からの入射光2が偏波分離手段3でS偏波成分とP偏波成分とに分離され、S偏波成分が第1の偏波回転手段4でP偏波成分に変換された光束と、P偏波成分が第1の光路長補正手段5を透過した光束とが第1のプリズム6を経て第1のレンズ7でそれぞれ集光されて導波路型光学素子8の2つの光導波路9,10にそれぞれ入射される。
特に、偏波分離手段3は、複屈折材料からなり入射光の進行方向における長さが等しい2つの偏波分離素子3a,3bの間に、偏波回転素子3cを設けるものである。
上述の構成により、伝搬光の偏波状態がランダムに変化しても、常に一定の偏波状態(P偏波成分のみ)の2つの分光を光導波路に入射させることができるとともに、光導波路の入射側で生じる該2つの分光間の光路差を低減することができる。したがって、偏波依存性を有する導波路型光学素子への入射光の偏波状態がランダムに変化しても、導波路型光学素子が安定して動作し、かつ通信システムの高速化にも対応しうる偏波無依存型光学機器を得ることができる。
特許文献1に記載される偏波無依存型光学機器においては、空間光学系を用いているため、入射部で光ファイバの射出光を平行光にするためのコリメータレンズ、偏波分離素子、偏波回転素子、光学素子へ入射するためのコリメータレンズが必要であり、光学素子の出射部側でも同様の空間光学系が必要となる。
このため、部品点数が多く、部品コストが高い上に、製造時の工程が複雑かつ困難なものとなる。特に、特許文献1においては、光学素子に入射する際の偏波分離部で生じる二つの平行光の光路差を補正するために、偏波を回転させて2つの偏波分離素子を通過させる必要があり、より部品点数が多くなる上、製造が複雑化するという問題点がある。
本発明の目的は、上述した問題を解決し、部品点数が少なく、製造も容易な偏波無依存型光学機器を提供することである。
上記課題を解決するために、請求項1に係る発明では、偏波依存性を有する光学素子を2つ平行に配置した導波路型光変調素子と、複数の偏波成分を有する単一の入射光を異なる偏波成分を有する複数の光波に分離する偏波分離手段と、同一の偏波成分を有する複数の光波を複数の偏波成分を有する単一の出射光に合成する偏波合成手段とを有し、該偏波分離手段からの光波を該導波路型光変調素子に導入すると共に、該導波路型光変調素子からの光波を該偏波合成手段に導入するよう構成された偏波無依存型光学機器において、該偏波分離手段及び該偏波合波手段が、2つの偏波保持ファイバを用いた偏波分離ファイバーカプラで各々構成されており、該偏波分離手段である偏波分離ファイバーカプラの出力端は、該導波路型光変調素子の2つの光学素子の入力側導波路に直接接続され、該偏波合波手段である偏波分離ファイバーカプラの入力端は該導波路型光変調素子の2つの光学素子の出力側導波路に直接接続され、偏波分離ファイバーカプラの各偏波保持ファイバにおける該導波路型光変調素子に対応する端部は、該導波路型光変調素子の各光学素子で最も変調効果が高い偏波成分に合わせて、所定の角度に回転調整され、2つの偏波保持ファイバの端部を固定保持する支持部材を設け、該偏波保持ファイバの端部が固定された該支持部材を該導波路型光変調素子に固着するように構成されたことを特徴とする。
また、請求項2に係る発明では、偏波依存性を有する光学素子を2つ平行に配置した導波路型光変調素子と、複数の偏波成分を有する単一の入射光を異なる偏波成分を有する複数の光波に分離する偏波分離手段と、同一の偏波成分を有する複数の光波を複数の偏波成分を有する単一の出射光に合成する偏波合成手段とを有し、該偏波分離手段からの光波を該導波路型光変調素子に導入すると共に、該導波路型光変調素子からの光波を該偏波合成手段に導入するよう構成された偏波無依存型光学機器において、該偏波分離手段及び該偏波合波手段が、2つの偏波保持ファイバを用いた一つの偏波分離ファイバーカプラで構成されており、該偏波分離ファイバーカプラの一方の端部は、該導波路型光変調素子の2つの光学素子の導波路に直接接続され、該偏波分離手段から該導波路型光変調素子に導入された光波は、該導波路型光変調素子内を伝搬し、1/4波長板を通過後に反射され該1/4波長板を再度通過し、該導波路型光変調素子内を逆方向に伝搬し、該偏波合成手段に導出されるよう構成され、該偏波分離ファイバーカプラの各偏波保持ファイバにおける該導波路型光変調素子に対応する端部は、該導波路型光変調素子の各光学素子で最も変調効果が高い偏波成分に合わせて、所定の角度に回転調整され、2つの偏波保持ファイバの端部を固定保持する支持部材を設け、該偏波保持ファイバの端部が固定された該支持部材を該導波路型光変調素子に固着するように構成されたことを特徴とする。
請求項1に係る発明により、偏波分離手段又は偏波合成手段として、2つの偏波保持ファイバを用いた偏波分離ファイバーカプラを用いているため、偏波分離手段や偏波合成手段を、偏波分離ファイバーカプラという単一の光学部品で構成することが可能となり、部品点数の削減、製造の容易性に寄与する。
また、偏波成分を回転させる際には、従来のような偏波回転手段を用いず、単に偏波保持ファイバの端部を所定角度に回転調整するだけで良く、一層の部品点数の削減、製造の容易性に寄与するものとなる。
しかも、本発明を導波路型光変調素子に適用することにより、偏波依存性を有する導波路型光変調素子への入射光の偏波状態がランダムに変化しても、導波路型光変調素子が安定して動作し、かつ通信システムの高速化にも対応しうる偏波無依存型光学機器を得ることができる。
さらに、2つの偏波保持ファイバの端部を固定保持する支持部材を設けるため、偏波分離ファイバーカプラの偏波保持ファイバを導波路型光変調素子などに取り付ける際に、製造・組立を容易に行うことが可能となる。
請求項2に係る発明により、偏波分離手段と偏波合成手段とを共通化し、一つの偏波分離ファイバーカプラで構成するため、より部品点数の削減を達成できる。しかも、偏波依存性を有する導波路型光変調素子に対して一方の側のみに偏波分離ファイバーカプラを配置することとなるため、導波路型光変調素子の両側に偏波分離ファイバーカプラを設置するものよりコンパクトに偏波無依存型光学機器を構成することが可能となる。
以下、本発明を好適例を用いて詳細に説明する。
本発明の特徴は、偏波依存性を有する導波路型光変調素子と、複数の偏波成分を有する単一の入射光を異なる偏波成分を有する複数の光波に分離する偏波分離手段と、同一の偏波成分を有する複数の光波を複数の偏波成分を有する単一の出射光に合成する偏波合成手段とを有し、該偏波分離手段からの光波を該導波路型光変調素子に導入すると共に、該導波路型光変調素子からの光波を該偏波合成手段に導入するよう構成された偏波無依存型光学機器において、該偏波分離手段又は該偏波合波手段が、2つの偏波保持ファイバを用いた偏波分離ファイバーカプラ(以下では、「偏波分離カプラ」という。)で構成されており、該偏波保持ファイバの該導波路型光変調素子に対応する端部は、該導波路型光変調素子で最も変調効果が高い偏波成分に合わせて、所定の角度に回転調整されていることを特徴とする。
図2は、本発明に係る偏波無依存型光学機器の概略を示す図である。
20は、偏波依存性を有する光学素子を示し、例えば、電気光学効果を有する基板21上に、マッハツェンダー型の導波路22,23を形成した導波路型光変調素子などを利用することが可能である。
本発明に係る光学素子は、上記の導波路型光変調素子に限定されるものではなく、偏波分離した各光波に対応して、偏波依存性を有する導波路型光変調素子を2つ平行に配置したものにも、本発明を適用することが可能である。
以下では、導波路型光変調素子を単に「光学素子」と言う。
光学素子20の入力側には、2つの偏波保持ファイバで構成される偏波分離カプラ24を配置する。一方の偏波保持ファイバの入力端25には、P偏波成分とS偏波成分とを共に有するランダムな偏波状態の入射光が入力される。他方の偏波保持ファイバの入力端26は使用せず、端部は外部から光波が入力されないよう遮光されている。
偏波分離カプラ24を通過した光波は、P偏波成分とS偏波成分に分離され、例えば、P偏波成分は偏波保持ファイバの出力端27に、S偏波成分は偏波保持ファイバの出力端28に導出される。
光学素子20がP偏波成分に対して最も変調効果が高い光学素子(以下、「P偏波用光学素子」という)である場合には、光学素子20の導波路22には、P偏波成分を維持するように偏波保持ファイバの出力端27が接続され、他方、導波路23には、S偏波成分がP偏波成分となるように、偏波保持ファイバの出力端28が90°回転調整された状態で接続されている。なお、光学素子20がP偏波用光学素子と、S偏波成分に対して最も変調効果が高い光学素子(以下、「S偏波用光学素子」という)との組合せで構成される場合には、偏波保持ファイバの出力端28を回転させずに、S偏波用光学素子に直接接続することも可能である。
光学素子20に導入された各光波は、いずれもP偏波成分であり、各導波路22,23を伝搬する際に、基板21上に形成された不図示の変調電極により位相変調を受ける。各導波路22,23における各変調は、基本的には同じ変調が行われ、同じ変調を受けた各光波が光学素子20から導出される。
光学素子20の出力側には、入力側と同様に、2つの偏波保持ファイバで構成される偏波分離カプラ29(偏波合成手段として機能する)を配置する。一方の偏波保持ファイバの入力端30には、導波路22から出射するP偏波成分の変調光が入力される。他方の偏波保持ファイバの入力端31には、導波路23から出射するP偏波成分の変調光が入力される。
2つのP偏波成分をP偏波成分の状態で合成することも可能であるが、この場合には、互いの光波が干渉する現象を生じることが危惧されるため、いずれか一方の偏波保持ファイバの入力端を90°回転調整された状態とすることにより、偏波分離カプラ29において、P偏波成分とS偏波成分とを合成した出力光を得ることができる。図2では、入力端30を90°回転する例を示している。なお、光学素子20がP偏波用光学素子と、S偏波用光学素子との組合せで構成される場合には、偏波保持ファイバの入力端30を回転させずに、S偏波用光学素子に直接接続することも可能である。
偏波合成手段である偏波分離カプラ29を通過した光波は、図2に示すように、いずれか一方の偏波保持ファイバの出力端33からP偏波成分とS偏波成分とを共に有する変調光として出力される。
この構成により、偏波依存性を有する光学素子20に対して、ランダムな偏波状態の光波を入射させる場合でも、効果的に光学素子を機能させることができ、偏波無依存型光学機器を得ることが可能となる。
本発明では、P偏波成分とS偏波成分との間の変換を、偏波保持ファイバの光軸周りの回転により調整しているため、従来のような1/2波長板などが不要となり、部品点数の削減に繋がると共に、2つの偏波保持ファイバの長さを同じにする以外は、偏波分離した2つの光波の光路長を調整する特別な手段も必要ない。
また、光学素子20に光波を入射させる際には、光波の偏波成分をより適切に制御するため、例えば、偏波保持ファイバの出力端27と導波路22との間や、偏波保持ファイバの出力端28と導波路23との間に、不図示の偏光板を設置することも可能である。
さらに、2つの偏波保持ファイバの出力端又は入力端と、光学素子との光学的接続を容易に行うため、図3に示すように、2つの偏波保持ファイバの端部を固定保持する支持部材40を利用することも可能である。
支持部材40には、例えばV溝41,42を形成し、該V溝に偏波保持ファイバの端部を配置し、接着剤などにより固定する方法が利用できる。偏波保持ファイバと支持部材との接合方法は、接着剤だけに限らず、機械的手段で狭持することも可能である。ただし、偏波保持ファイバは応力が付与されると、偏波面が変化する可能性があることにも、留意する必要がある。
このような支持部材を利用し、予め偏波保持ファイバを適切な状態(例えば、一方の偏波保持ファイバを回転調整した状態)で支持部材に固定させておくことにより、光学素子への偏波保持ファイバの接続に際しては、支持部材を光学素子の基板等に固着するだけで、両者の接続を簡単に実現することが可能となる。
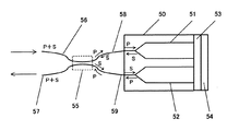
図4は、偏波分離手段と偏波合成手段とを一つの偏波分離カプラで構成する場合の例を示す。
光学素子は、基板50上に図4に示すような導波路51,52を形成し、基板の端部には1/4波長板53と反射板54が接続されている。
図4に示す光学素子の動作は、例えば、導波路51の入力部に導入されたP偏波成分を有する光波は、Y分岐導波路で2つに分岐され、各分岐導波路おいて不図示の変調電極により、位相変調を受ける。位相変調を受けた光波は、1/4波長板53を通過し、反射板(あるいは反射膜)54で反射し、再度1/4波長板53を通過して、同じ分岐導波路を逆方向に伝搬する。
このように、光波が2回、1/4波長板を通過することにより、P偏波成分はS偏波成分へと回転され、導波路51を逆方向に伝搬する光波はS偏波成分を有することとなる。
このような光学素子は以下の特許文献2にも開示されており、本発明においては、図4に記載の光学素子に限らず、特許文献2に記載の種々の光学素子を利用することが可能である。
特開平7−325276号公報
図4に示す光学素子を利用して、偏波無依存型光学機器を構成するには、光学素子の入力側(出力側でもある)に偏波分離カプラ55を配置する。
具体的には、偏波保持ファイバの入力端56に、P偏波成分とS偏波成分とを共に有するランダムな偏波状態の入射光が入力される。該入射光は、偏波分離カプラ55によりP偏波成分とS偏波成分とに分離され、例えば、P偏波成分は偏波保持ファイバの端部58に、S偏波成分は偏波保持ファイバの端部59に導出される。
光学素子がP偏波用光学素子である場合には、光学素子の導波路51には、P偏波成分を維持するように偏波保持ファイバの端部58が接続され、他方、導波路52には、S偏波成分がP偏波成分となるように、偏波保持ファイバの端部59が90°回転調整された状態で接続されている。
光学素子に導入されたP偏波成分を有する各光波は、上述のような光学素子の変調や回転を受け、S偏波成分となって、光学素子から導出される。
光学素子から出射するS偏波成分の光波は、再度、偏波保持ファイバの端部58,59に入射し、偏波保持ファイバの端部58から入射した光波は、S偏波成分として偏波分離カプラ55に戻され、偏波保持ファイバの端部59から入射した光波は、S偏波成分からP偏波成分へと回転され、偏波分離カプラ55に戻される。
偏波分離カプラ55においては、2つの戻り光を合成し、P偏波成分とS偏波成分とを有するランダムな偏波状態の光波として、偏波保持ファイバの出力端57から変調光を出射する。
図4のような光学素子を利用することにより、偏波分離手段と偏波合成手段とを一つの偏波分離カプラで兼用することができるだけでなく、光学機器全体をコンパクトなものとして構成することも可能となる。
図5は、偏波分離手段と偏波合成手段とを一つの偏波分離カプラで構成する場合の他の例を示す。
図5に示される光学素子の働きは、以下に述べる内容以外は、基本的に図4に示すものと同様である。
導波路52に関しては、導波路52の入力部に導入されたS偏波成分を有する光波は、Y分岐導波路で2つに分岐され、1/4波長板53を通過し、反射板(あるいは反射膜)54で反射し、再度1/4波長板53を通過して、P偏波成分の状態で同じ分岐導波路を逆方向に伝搬する。この逆方向に伝搬する際に、光波は、各分岐導波路おいて不図示の変調電極により、位相変調を受ける。
ただし、偏波依存性のある光学素子において導波路51と導波路52を同じ状態で変調するには、例えば図6(a)又は(b)に示すように、導波路51を伝搬する光波は、正方向(図5及び6の右方向)に伝搬する際に変調し、導波路52を伝搬する光波は逆方向に伝搬する際に所定期間Δtだけ遅延させて変調する必要がある。60,61及び62は変調電極を示す。
前記Δtは、導波路51と導波路52とが同形状で、導波路51に光波Aが導波路52に光波Bが同時に入射した場合、導波路51を正方向に伝搬する光波AがP点で変調変調電極の作用を受け始める時期から、導波路52を伝搬する光波Bが反射膜54で反射した後、Q点で変調電極の作用を受け始める時期までの期間である。
また、このような遅延する電気信号(RF信号)を印加するには、図6(a)のように光波Aの正方向に印加した電気信号を光波Bの逆方向に引き続き導入する構造を用いる方法や、図6(b)のように、光波Aと光波Bに別々の電極を用い、Δtずれた電気信号を個別に印加する構成にすることもできる。
本発明は、以上説明したものに限られるものではなく、必要に応じて当該技術分野における公知の技術を適用可能であることは、言うまでも無い。
以上、説明したように、本発明によれば、部品点数が少なく、製造も容易な偏波無依存型光学機器を提供することができる。
従来の偏波無依存型光学機器の一例を示す図である。 本発明に係る偏波無依存型光学機器の実施例を示す図である。 本発明に係る偏波保持ファイバと支持部材との関係を示す図である。 本発明に係る偏波無依存型光学機器であり、偏波分離手段と偏波合成手段とを共通化する実施例を示す図である。 本発明に係る偏波無依存型光学機器であり、偏波分離手段と偏波合成手段とを共通化する他の実施例を示す図である。 図4又は5の光学素子における変調電極の構造を説明する図であり、(a)は共通の変調電極を用いるもの、(b)は個別の変調電極を用いるものを示す。
符号の説明
20 光学素子
24 偏波分離手段
25,26,27,28,30,31,32,33 偏波保持ファイバの端部
29 偏波合成手段
40 支持部材
53 1/4波長板
54 反射板
60,61,62 変調電極

Claims (2)

  1. 偏波依存性を有する光学素子を2つ平行に配置した導波路型光変調素子と、複数の偏波成分を有する単一の入射光を異なる偏波成分を有する複数の光波に分離する偏波分離手段と、同一の偏波成分を有する複数の光波を複数の偏波成分を有する単一の出射光に合成する偏波合成手段とを有し、該偏波分離手段からの光波を該導波路型光変調素子に導入すると共に、該導波路型光変調素子からの光波を該偏波合成手段に導入するよう構成された偏波無依存型光学機器において、
    該偏波分離手段及び該偏波合波手段が、2つの偏波保持ファイバを用いた偏波分離ファイバーカプラで各々構成されており、
    該偏波分離手段である偏波分離ファイバーカプラの出力端は、該導波路型光変調素子の2つの光学素子の入力側導波路に直接接続され、
    該偏波合波手段である偏波分離ファイバーカプラの入力端は該導波路型光変調素子の2つの光学素子の出力側導波路に直接接続され、
    偏波分離ファイバーカプラの各偏波保持ファイバにおける該導波路型光変調素子に対応する端部は、該導波路型光変調素子の各光学素子で最も変調効果が高い偏波成分に合わせて、所定の角度に回転調整され、2つの偏波保持ファイバの端部を固定保持する支持部材を設け、該偏波保持ファイバの端部が固定された該支持部材を該導波路型光変調素子に固着するように構成されたことを特徴とする偏波無依存型光学機器。
  2. 偏波依存性を有する光学素子を2つ平行に配置した導波路型光変調素子と、複数の偏波成分を有する単一の入射光を異なる偏波成分を有する複数の光波に分離する偏波分離手段と、同一の偏波成分を有する複数の光波を複数の偏波成分を有する単一の出射光に合成する偏波合成手段とを有し、該偏波分離手段からの光波を該導波路型光変調素子に導入すると共に、該導波路型光変調素子からの光波を該偏波合成手段に導入するよう構成された偏波無依存型光学機器において、
    該偏波分離手段及び該偏波合波手段が、2つの偏波保持ファイバを用いた一つの偏波分離ファイバーカプラで構成されており、
    該偏波分離ファイバーカプラの一方の端部は、該導波路型光変調素子の2つの光学素子の導波路に直接接続され、該偏波分離手段から該導波路型光変調素子に導入された光波は、該導波路型光変調素子内を伝搬し、1/4波長板を通過後に反射され該1/4波長板を再度通過し、該導波路型光変調素子内を逆方向に伝搬し、該偏波合成手段に導出されるよう構成され
    該偏波分離ファイバーカプラの各偏波保持ファイバにおける該導波路型光変調素子に対応する端部は、該導波路型光変調素子の各光学素子で最も変調効果が高い偏波成分に合わせて、所定の角度に回転調整され、2つの偏波保持ファイバの端部を固定保持する支持部材を設け、該偏波保持ファイバの端部が固定された該支持部材を該導波路型光変調素子に固着するように構成されたことを特徴とする偏波無依存型光学機器。
JP2004079223A 2004-03-18 2004-03-18 偏波無依存型光学機器 Expired - Fee Related JP4500074B2 (ja)

Priority Applications (1)

Application Number Priority Date Filing Date Title
JP2004079223A JP4500074B2 (ja) 2004-03-18 2004-03-18 偏波無依存型光学機器

Applications Claiming Priority (1)

Application Number Priority Date Filing Date Title
JP2004079223A JP4500074B2 (ja) 2004-03-18 2004-03-18 偏波無依存型光学機器

Publications (2)

Publication Number Publication Date
JP2005266362A JP2005266362A (ja) 2005-09-29
JP4500074B2 true JP4500074B2 (ja) 2010-07-14

Family

ID=35090966

Family Applications (1)

Application Number Title Priority Date Filing Date
JP2004079223A Expired - Fee Related JP4500074B2 (ja) 2004-03-18 2004-03-18 偏波無依存型光学機器

Country Status (1)

Country Link
JP (1) JP4500074B2 (ja)

Families Citing this family (8)

* Cited by examiner, † Cited by third party
Publication number Priority date Publication date Assignee Title
US7492983B2 (en) * 2004-08-04 2009-02-17 The Furukawa Electric Co., Ltd. Optical circuit device
JP2006292562A (ja) * 2005-04-12 2006-10-26 Fujikura Ltd 表面プラズモンセンサ
US7433549B2 (en) * 2006-09-20 2008-10-07 Lucent Technologies Inc. Optical modulator
JP4842987B2 (ja) * 2008-03-19 2011-12-21 富士通株式会社 光デバイス
JP2010237592A (ja) * 2009-03-31 2010-10-21 Sumitomo Osaka Cement Co Ltd 光素子と光ファイバとの接合構造
JP2014038173A (ja) * 2012-08-14 2014-02-27 Nippon Telegr & Teleph Corp <Ntt> 光変調器
JP6413807B2 (ja) * 2015-01-30 2018-10-31 住友大阪セメント株式会社 光変調器
JP2018205338A (ja) * 2017-05-30 2018-12-27 日本電信電話株式会社 偏波無依存化した励起光再生成装置および光中継増幅器

Family Cites Families (6)

* Cited by examiner, † Cited by third party
Publication number Priority date Publication date Assignee Title
JPH0566362A (ja) * 1991-09-09 1993-03-19 Kyocera Corp 偏光無依存型光アイソレータ
JPH0777669A (ja) * 1993-09-07 1995-03-20 Kyocera Corp 偏波無依存型光アイソレータ
JPH07325276A (ja) * 1994-05-30 1995-12-12 Nippon Telegr & Teleph Corp <Ntt> 偏波無依存光制御素子
JP2000131554A (ja) * 1998-10-22 2000-05-12 Furukawa Electric Co Ltd:The 光合分波モジュール
JP4252678B2 (ja) * 1999-07-12 2009-04-08 古河電気工業株式会社 光合分波モジュール
JP2003270591A (ja) * 2002-03-18 2003-09-25 Sumitomo Osaka Cement Co Ltd 偏波無依存型光学機器

Also Published As

Publication number Publication date
JP2005266362A (ja) 2005-09-29

Similar Documents

Publication Publication Date Title
JP5182049B2 (ja) 偏波変換デバイス及び偏波多重変調器
CN104981727B (zh) 光调制器
CN101681030B (zh) 光波形整形装置
JP6233366B2 (ja) 光変調装置
JP5589926B2 (ja) 光変調器
JP2010060656A (ja) 偏光状態安定化方法及び装置、光信号処理システム
JP5659631B2 (ja) 偏波制御装置
JP5673283B2 (ja) 偏波合成装置
US10598862B2 (en) Optical modulator
EP1168035A2 (en) Polarization beam splitter or combiner
JP4500074B2 (ja) 偏波無依存型光学機器
JP2989894B2 (ja) 光スイッチ
US6832053B2 (en) Delayed interference wavelength converter and/or 2R regenerator
JP2001523017A (ja) 光波長変換器
JP2002365682A (ja) 全光学波長変換器、全光学再生器、全光学信号処理素子、及び、全光学変換方法
US20050174919A1 (en) Optical polarization controller
JP4092986B2 (ja) 光スイッチ
US10578885B2 (en) Polarization coupling device and optical modulation device
JP2003270591A (ja) 偏波無依存型光学機器
JPS6134128B2 (ja)
US20250123506A1 (en) High-efficiency thin-film electro-optical modulator on silicon photonics platform
JPH0230233A (ja) 光伝送路の波長分散補償方法
JP2001004851A (ja) 光回路
JPS62250402A (ja) 無偏光発光装置
JPS61112123A (ja) 偏波解消器

Legal Events

Date Code Title Description
A621 Written request for application examination

Free format text: JAPANESE INTERMEDIATE CODE: A621

Effective date: 20060620

A131 Notification of reasons for refusal

Free format text: JAPANESE INTERMEDIATE CODE: A131

Effective date: 20090616

A977 Report on retrieval

Free format text: JAPANESE INTERMEDIATE CODE: A971007

Effective date: 20090616

A521 Request for written amendment filed

Free format text: JAPANESE INTERMEDIATE CODE: A523

Effective date: 20090810

A02 Decision of refusal

Free format text: JAPANESE INTERMEDIATE CODE: A02

Effective date: 20090908

A521 Request for written amendment filed

Free format text: JAPANESE INTERMEDIATE CODE: A523

Effective date: 20091208

A911 Transfer to examiner for re-examination before appeal (zenchi)

Free format text: JAPANESE INTERMEDIATE CODE: A911

Effective date: 20100115

A131 Notification of reasons for refusal

Free format text: JAPANESE INTERMEDIATE CODE: A131

Effective date: 20100216

A521 Request for written amendment filed

Free format text: JAPANESE INTERMEDIATE CODE: A523

Effective date: 20100316

TRDD Decision of grant or rejection written
A01 Written decision to grant a patent or to grant a registration (utility model)

Free format text: JAPANESE INTERMEDIATE CODE: A01

Effective date: 20100413

A01 Written decision to grant a patent or to grant a registration (utility model)

Free format text: JAPANESE INTERMEDIATE CODE: A01

A61 First payment of annual fees (during grant procedure)

Free format text: JAPANESE INTERMEDIATE CODE: A61

Effective date: 20100416

FPAY Renewal fee payment (event date is renewal date of database)

Free format text: PAYMENT UNTIL: 20130423

Year of fee payment: 3

R150 Certificate of patent or registration of utility model

Free format text: JAPANESE INTERMEDIATE CODE: R150

FPAY Renewal fee payment (event date is renewal date of database)

Free format text: PAYMENT UNTIL: 20140423

Year of fee payment: 4

LAPS Cancellation because of no payment of annual fees