JP4496758B2 - 車線逸脱防止装置 - Google Patents

車線逸脱防止装置 Download PDF

Info

Publication number
JP4496758B2
JP4496758B2 JP2003369447A JP2003369447A JP4496758B2 JP 4496758 B2 JP4496758 B2 JP 4496758B2 JP 2003369447 A JP2003369447 A JP 2003369447A JP 2003369447 A JP2003369447 A JP 2003369447A JP 4496758 B2 JP4496758 B2 JP 4496758B2
Authority
JP
Japan
Prior art keywords
departure
yaw moment
lane
control
steering
Prior art date
Legal status (The legal status is an assumption and is not a legal conclusion. Google has not performed a legal analysis and makes no representation as to the accuracy of the status listed.)
Expired - Lifetime
Application number
JP2003369447A
Other languages
English (en)
Other versions
JP2005132182A (ja
Inventor
温 定野
吉孝 上村
Current Assignee (The listed assignees may be inaccurate. Google has not performed a legal analysis and makes no representation or warranty as to the accuracy of the list.)
Nissan Motor Co Ltd
Original Assignee
Nissan Motor Co Ltd
Priority date (The priority date is an assumption and is not a legal conclusion. Google has not performed a legal analysis and makes no representation as to the accuracy of the date listed.)
Filing date
Publication date
Application filed by Nissan Motor Co Ltd filed Critical Nissan Motor Co Ltd
Priority to JP2003369447A priority Critical patent/JP4496758B2/ja
Priority to US10/960,706 priority patent/US7212901B2/en
Priority to EP04256471A priority patent/EP1527972B1/en
Priority to DE602004006577T priority patent/DE602004006577T2/de
Priority to KR1020040086408A priority patent/KR100596607B1/ko
Priority to CNB2004100896896A priority patent/CN100540371C/zh
Publication of JP2005132182A publication Critical patent/JP2005132182A/ja
Application granted granted Critical
Publication of JP4496758B2 publication Critical patent/JP4496758B2/ja
Anticipated expiration legal-status Critical
Expired - Lifetime legal-status Critical Current

Links

Images

Classifications

    • BPERFORMING OPERATIONS; TRANSPORTING
    • B60VEHICLES IN GENERAL
    • B60TVEHICLE BRAKE CONTROL SYSTEMS OR PARTS THEREOF; BRAKE CONTROL SYSTEMS OR PARTS THEREOF, IN GENERAL; ARRANGEMENT OF BRAKING ELEMENTS ON VEHICLES IN GENERAL; PORTABLE DEVICES FOR PREVENTING UNWANTED MOVEMENT OF VEHICLES; VEHICLE MODIFICATIONS TO FACILITATE COOLING OF BRAKES
    • B60T2201/00Particular use of vehicle brake systems; Special systems using also the brakes; Special software modules within the brake system controller
    • B60T2201/08Lane monitoring; Lane Keeping Systems
    • BPERFORMING OPERATIONS; TRANSPORTING
    • B60VEHICLES IN GENERAL
    • B60TVEHICLE BRAKE CONTROL SYSTEMS OR PARTS THEREOF; BRAKE CONTROL SYSTEMS OR PARTS THEREOF, IN GENERAL; ARRANGEMENT OF BRAKING ELEMENTS ON VEHICLES IN GENERAL; PORTABLE DEVICES FOR PREVENTING UNWANTED MOVEMENT OF VEHICLES; VEHICLE MODIFICATIONS TO FACILITATE COOLING OF BRAKES
    • B60T2201/00Particular use of vehicle brake systems; Special systems using also the brakes; Special software modules within the brake system controller
    • B60T2201/08Lane monitoring; Lane Keeping Systems
    • B60T2201/083Lane monitoring; Lane Keeping Systems using active brake actuation

Landscapes

  • Auxiliary Drives, Propulsion Controls, And Safety Devices (AREA)
  • Control Of Driving Devices And Active Controlling Of Vehicle (AREA)
  • Regulating Braking Force (AREA)
  • Traffic Control Systems (AREA)

Description

本発明は、自車両が走行車線から逸脱しそうになったときに、その逸脱を防止する車線逸脱防止装置に関する。
従来の車線逸脱防止装置として、自車両が走行車線を逸脱する可能性がある場合に、車輪への制動力を制御することで自車両にヨーモーメントを与えて自車両が走行車線から逸脱することを防止するとともに、このヨーモーメントの付与により運転者に自車両が走行車線から逸脱する可能性があることを報知する装置がある(例えば特許文献1参照)。
特開2000−33860号公報
従来の車線逸脱防止装置では、カメラ等のセンサの情報に基づいて車線逸脱の可能性を推定し、その逸脱推定量に基づいて自車両にヨーモーメントを付与している。
このようなことから、運転者がステアリングホイールを操作し、ハンドル舵角が入力されている場合でも、前記逸脱推定量に基づくヨーモーメントが車両に付与されてしまう場合がある。この場合、車両がステアリングホイールの操作と異なる車両挙動を示すことになり、これが運転者に違和感を与えてしまう。
また、減速制御をすることで、車線逸脱を防止したり、前記ヨーモーメントによる車線逸脱の制御を効果的にすることも考えられる。この場合、カメラ等のセンサの情報に基づいてそのような減速制御を作動させることが考えられる。しかし、カメラ等のセンサの情報を基準に減速制御を作動させてしまうと、その作動が運転者の意思に反したものになり、運転者に違和感を与えてしまう場合がある。
そこで、本発明は、前述の問題に鑑みてなされたものであり、運転者に違和感を与えることなく、車線逸脱の制御を実現する車線逸脱防止装置の提供を目的とする。
前述の問題を解決するために、本発明に係る車線逸脱防止装置は、走行車線からの自車両の逸脱傾向に基づいて、ヨーモーメント分担量及び減速分担量を設定し、ヨーモーメント分担量に基づいて、自車両の走行車線からの逸脱を回避するための目標ヨーモーメントを算出し、減速分担量に基づいて減速制御量を算出し、逸脱傾向を検出したときに、目標ヨーモーメントと減速制御量とに基づいて各車輪の制動力を制動力制御手段により制御し、操舵状態に基づいて、制動力制御手段の制御内容を変更する。
そして、本発明に係る車線逸脱防止装置は、目標ヨーモーメントに基づいて、自車両に車線逸脱を回避する方向のヨーモーメントが付与されるように左右輪の制動力を調整して左右輪に制動力差を発生させるとともに、減速制御量に基づいて、自車両が減速するように左右輪の制動力を調整して左右輪に等分の制動力を発生させるように各車輪の制動力を制御する。
また、本発明に係る車線逸脱防止装置は、操舵状態としての操舵速度が所定のしきい値より大きい場合、制動力制御手段の制御内容を変更することとして、減速制御量を減少させる。
本発明によれば、操舵状態としての操舵速度が所定のしきい値より大きい場合、減速制御量を減少させることにより、運転者による車両操作を円滑に行わせることができ、運転者に違和感を与えることを防止することができる。
以下、本発明の実施の形態を図面を参照しながら詳細に説明する。この実施の形態は、本発明の車線逸脱防止装置を搭載した後輪駆動車両である。この後輪駆動車両は、自動変速機とコンベンショナルディファレンシャルギヤとを搭載し、前後輪とも左右輪の制動力を独立制御可能な制動装置を搭載している。
図1は、本発明の車線逸脱防止装置の第1実施形態を示す概略構成図である。
図中の符号1はブレーキペダル、2はブースタ、3はマスタシリンダ、4はリザーバであり、通常は運転者によるブレーキペダル1の踏込み量に応じて、マスタシリンダ3で昇圧された制動流体圧を各車輪5FL〜5RRの各ホイールシリンダ6FL〜6RRに供給する。また、マスタシリンダ3と各ホイールシリンダ6FL〜6RRとの間には制動流体圧制御部7が介装されており、この制動流体圧制御部7によって、各ホイールシリンダ6FL〜6RRの制動流体圧を個別に制御することも可能となっている。
制動流体圧制御部7は、例えばアンチスキッド制御やトラクション制御に用いられる制動流体圧制御部を利用したものである。制動流体圧制御部7は、単独で各ホイールシリンダ6FL〜6RRの制動流体圧を制御することも可能であるが、後述する制駆動力コントロールユニット8から制動流体圧指令値が入力されたときには、その制動流体圧指令値に応じて制動流体圧を制御するようにもなっている。
また、この車両には、駆動トルクコントロールユニット12が設けられている。駆動トルクコントロールユニット12は、エンジン9の運転状態、自動変速機10の選択変速比及びスロットルバルブ11のスロットル開度を制御することにより、駆動輪である後輪5RL,5RRへの駆動トルクを制御する。駆動トルクコントロールユニット12は、燃料噴射量や点火時期を制御したり、同時にスロットル開度を制御することで、エンジン9の運転状態を制御する。この駆動トルクコントロールユニット12は、制御に使用した駆動トルクTwの値を制駆動力コントロールユニット8に出力する。
なお、この駆動トルクコントロールユニット12は、単独で後輪5RL,5RRの駆動トルクを制御することも可能であるが、制駆動力コントロールユニット8から駆動トルク指令値が入力されたときには、その駆動トルク指令値に応じて駆動輪トルクを制御するようにもなっている。
また、この車両には、画像処理機能付きの撮像部13が設けられている。撮像部13は、自車両の車線逸脱傾向検出用に走行車線内の自車両の位置を検出するためのものである。例えば、撮像部13は、CCDカメラからなる単眼カメラで撮像するように構成されている。この撮像部13は車両前部に設置されている。
撮像部13は、自車両前方の撮像画像から例えば白線等のレーンマーカを検出し、その検出したレーンマーカに基づいて走行車線を検出している。さらに、撮像部13は、その検出した走行車線に基づいて、自車両の走行車線と自車両の前後方向軸とのなす角(ヨー角)φ、走行車線中央からの横変位X及び走行車線曲率β等を算出する。この撮像部13は、算出したこれらヨー角φ、横変位X及び走行車線曲率β等を制駆動力コントロールユニット8に出力する。
また、この車両には、ナビゲーション装置15が設けられている。ナビゲーション装置15は、自車両に発生する前後加速度Xg或いは横加速度Yg、又は自車両に発生するヨーレートφ´を検出する。このナビゲーション装置15は、検出した前後加速度Xg、横加速度Yg及びヨーレートφ´を、道路情報とともに、制駆動力コントロールユニット8に出力する。ここで、道路情報としては、車線数や一般道路か高速道路かを示す道路種別情報がある。
また、この車両には、マスタシリンダ3の出力圧、すなわちマスタシリンダ液圧Pmf,Pmrを検出するマスタシリンダ圧センサ17、アクセルペダルの踏込み量、即ちアクセル開度Accを検出するアクセル開度センサ18、ステアリングホイール21の操舵角δを検出する操舵角センサ19、各車輪5FL〜5RRの回転速度、所謂車輪速度Vwi(i=fl,fr,rl,rr)を検出する車輪速度センサ22FL〜22RR、方向指示器による方向指示操作を検出する方向指示スイッチ20が設けられている。そして、これらセンサ等が検出した検出信号は制駆動力コントロールユニット8に出力される。
なお、検出された車両の走行状態データに左右の方向性がある場合には、いずれも左方向を正方向とする。すなわち、ヨーレートφ´、横加速度Yg及びヨー角φは、左旋回時に正値となり、横変位Xは、走行車線中央から左方にずれているときに正値となる。
次に、制駆動力コントロールユニット8で行う演算処理手順について、図2を用いて説明する。この演算処理は、例えば10msec.毎の所定サンプリング時間ΔT毎にタイマ割込によって実行される。なお、この図2に示す処理内には通信処理を設けていないが、演算処理によって得られた情報は随時記憶装置に更新記憶されると共に、必要な情報は随時記憶装置から読出される。
先ずステップS1において、前記各センサやコントローラ、コントロールユニットから各種データを読み込む。具体的には、ナビゲーション装置15が得た前後加速度Xg、横加速度Yg、ヨーレートφ´及び道路情報、各センサが検出した、各車輪速度Vwi、操舵角δ、アクセル開度Acc、マスタシリンダ液圧Pmf,Pmr及び方向スイッチ信号、並びに駆動トルクコントロールユニット12からの駆動トルクTw、撮像部15からヨー角φ、横変位X及び走行車線曲率βを読み込む。
続いてステップS2において、車速Vを算出する。具体的には、前記ステップS1で読み込んだ車輪速度Vwiに基づいて、下記(1)式により車速Vを算出する。
前輪駆動の場合
V=(Vwrl+Vwrr)/2
後輪駆動の場合
V=(Vwfl+Vwfr)/2
・・・(1)
ここで、Vwfl,Vwfrは左右前輪それぞれの車輪速度であり、Vwrl,Vwrrは左右後輪それぞれの車輪速度である。すなわち、この(1)式では、従動輪の車輪速の平均値として車速Vを算出している。なお、本実施の形態では、後輪駆動の車両であるので、後者の式、すなわち前輪の車輪速度により車速Vを算出する。
また、このように算出した車速Vは好ましくは通常走行時に用いる。すなわち例えば、ABS(Anti-lock Brake System)制御等が作動している場合には、そのABS制御内で推定している推定車体速度を前記車速Vとして用いるようにする。また、ナビゲーション装置15でナビゲーション情報に利用している値を前記車速Vとして用いても良い。
続いてステップS3において、走行環境を判定する。具体的には、自車両が走行している道路の種類、自車両の走行車線を検出する。そして、その検出結果から、安全度に基づいた方向の判定をする。判定は、道路情報、すなわち車線数や一般道路か高速道路かを示す道路種別情報や撮像部13が得た画像情報に基づいて行う。図3はその走行環境判定の具体的な処理手順を示す。
先ずステップS21において、ナビゲーション装置15からの道路情報から現在走行中の道路種別(一般道路又は高速道路)を取得する。さらに、ステップS22において、ナビゲーション装置15からの道路情報から現在走行中の道路の車線数を取得する。
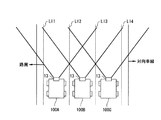
続いてステップS23において、撮像部13が得た撮像画像から白線部分(車線区分線部分)を抽出する。ここで、図4に示すように自車両が片側3車線の道路を走行している場合を例に挙げて説明する。この図4に示すように、道路は、左側から第1乃至第4白線LI1,LI2,LI3,LI4により区分されることで、片側3車線の道路として構成されている。このような道路を自車両が走行する場合、車線毎で得られる撮像画像は異なる。さらにその画像中から白線を抽出して構成される画像も、走行車線に応じて異なるものになる。
すなわち、走行方向に向かって左側車線を自車両100Aが走行している場合、当該自車両100Aの撮像部13が得る撮像画像Pは、図5中(A)に示すように、主に第1、第2及び第3白線LI1,LI2,LI3により構成される特有の画像になる。また、中央車線を自車両100Bが走行している場合、当該自車両100Bの撮像部13が得る撮像画像Pは、図5中(B)に示すように、主に第1、第2、第3及び第4白線LI1,LI2,LI3,LI4により構成される特有の画像になる。また、走行方向に向かって右側車線を自車両100Cが走行している場合、当該自車両100Cの撮像部13が得る撮像画像Pは、図5中(C)に示すように、主に第2、第3及び第4白線LI2,LI3,LI4により構成される特有の画像になる。このように、走行車線に応じて画像中の白線の構成が異なる。
続いてステップS24において、自車両走行車線(自車両走行レーン)を判定する。具体的には、前記ステップS22及びステップS23で得た情報に基づいて自車両走行車線を判定する。すなわち、自車両が現在走行している道路の車線数と撮像部13により得た撮像画像(白線を抽出した画像)とに基づいて自車両走行車線を判定する。例えば、車線数及び走行車線に応じて得られる画像を予め画像データとしてもっていて、その予め用意している画像データと自車両が現在走行している道路の車線数及び撮像部13で得た現在の撮像画像(白線を抽出した画像)とを比較して自車両走行車線を判定する。
続いてステップS25において、自車両が走行している車線からみた左右方向の安全度を判定する。具体的には、自車両が逸脱した場合に安全度が低い方向を情報として保持している。これにより、自車両が走行している車線からみて左方向が安全度が低い場合には、その方向を安全度が低い方向(以下、第1障害物等存在方向という。)Soutとして保持し(Sout=left)、自車両が走行している車線からみて右方向が安全度が低い場合には、その方向を第1障害物等存在方向Soutとして保持する(Sout=right)。例えば次のように判定する。
例えば前記図4において、左側車線を自車両100Aが走行している場合、当該左側車線の右方向に逸脱するときよりも、左側車線の左方向に逸脱したときの方が安全度は低い。これは、左側車線の左方向は路肩があり、その路肩には、壁、ガードレール、障害物或いは崖等がある可能性が高い。よって、左車線を自車両100Aが走行している場合、第1障害物等存在方向Soutが左方向であると判定する(Sout=left)。
また、中央車線を自車両100Bが走行している場合、どの方向に逸脱したとしても当該自車両100Bが未だ路内にあるので、現在の走行車線に対して左右どちらの方向でも安全度は同じになる。
また、右側車線を自車両100Cが走行している場合、左方向、すなわち隣車線に逸脱するときよりも、右方向、すなわち対向車線に逸脱したときの方が安全度が低くなる。よって、この場合、右側車線を自車両100Aが走行している場合、第1障害物等存在方向Soutが右方向であると判定する(Sout=right)。
また、一般道路と高速道路とで比較した場合、一般道路では、路肩の幅が高速道路より狭く、また路肩に障害物が多く、また歩行者もいる。このため、一般道路において路肩側に逸脱することは、高速道路において路肩側に逸脱する場合よりも安全度が低くなる。
また、車線数で比較した場合、左方向が路肩になり、右方向が対向車線になる片側1車線のときがより安全度が低くなる。この場合には、左右両方向が第1障害物等存在方向Soutであると判定する(Sout=both)。
なお、例えば片側1車線道路は中央分離帯やガードレール等がないことがほとんどであるので、当該片側1車線道路を走行している場合の撮像画像は、図5中(A)に示すようになる。すなわち、片側1車線道路を走行している場合の撮像画像は3車線道路の左側車線を走行して車両100Aの撮像部13が得る撮像画像と同じになる。よって、一般道路と高速道路とを走行することを前提としている場合、撮像画像だけでは前記第1障害物等存在方向を判定することはできない。このようなことから、ナビゲーション装置15から自車両が現在走行している道路の車線数を得て、現在走行している道路が片側1車線道路であるか片側3車線道路であるかを判別することで、片側1車線道路を走行している場合には、右方向についても安全度が低いことも判定できる。
以上の図3に示す処理手順により、図2に示すステップS3の走行環境の判定を行う。
続いてステップS4において、車線逸脱傾向の判定を行う。この判定の処理の処理手順は具体的には図6に示すようになる。
先ずステップS31において、逸脱予測時間Toutを算出する。具体的には、dxを前記横変位Xの変化量(単位時間当たりの変化量)とし、Lを車線幅とし、横変位Xを用いて、下記(2)式により逸脱予測時間Toutを算出する(X,dx,Lの値については図7を参照)。
Tout=(L/2−X)/dx ・・・(2)
この(2)式によれば、車線中央(X=0)からXだけ横変位している車両100が、その位置から距離L/2だけ離れた外側位置領域(例えば路肩)に至るまでの逸脱予測時間Toutを求めることができる。
なお、車線幅Lについては、撮像部13が撮像画像を処理することで得ている。また、ナビゲーション装置15から車両の位置を得たり、ナビゲーション装置15の地図データから車線幅Lを得てもよい。
続いてステップS32において、逸脱判断フラグを設定する。具体的には、前記逸脱予測時間Toutと所定の第1逸脱判断しきい値Tsとを比較する。ここで、逸脱予測時間Toutが第1逸脱判断しきい値Ts未満の場合(Tout<Ts)、逸脱する(逸脱傾向あり)と判定するとともに、逸脱判断フラグFoutをONにする(Fout=ON)。また、逸脱予測時間Toutが第1逸脱判断しきい値Ts以上の場合(Tout≧Ts)、逸脱しない(逸脱傾向なし)と判定するとともに、逸脱判断フラグFoutをOFFにする(Fout=OFF)。
このステップS32の処理により、例えば自車両が車線中央から離れていき、逸脱予測時間Toutが第1逸脱判断しきい値Ts未満になったとき(Tout<Ts)、逸脱判断フラグFoutがONになる(Fout=ON)。また、自車両(Fout=ONの状態の自車両)が車線中央側に復帰していき、逸脱予測時間Toutが第1逸脱判断しきい値Ts以上になったとき(Tout≧Ts)、逸脱判断フラグFoutがOFFになる(Fout=OFF)。例えば、逸脱傾向がある場合に、後述する逸脱回避のための制動制御が実施されたり、或いは運転者自身が回避操作をすれば、逸脱判断フラグFoutがONからOFFになる。
なお、第1逸脱判断しきい値Tsは変更可能である。すなわち例えば、前記ステップS3で得た安全度に基づいて第1逸脱判断しきい値Tsを設定することもできる。
続いてステップS33において、横変位Xに基づいて逸脱方向Doutを判定する。具体的には、車線中央から左方向に横変位している場合、その方向を逸脱方向Doutにし(Dout=left)、車線中央から右方向に横変位している場合、その方向を逸脱方向Doutにする(Dout=right)。
以上のようにステップS4において車線逸脱傾向を判定する。
続いてステップS5において、運転者の車線変更の意図を判定する。具体的には、前記ステップS1で得た方向スイッチ信号及び操舵角δに基づいて、次のように運転者の車線変更の意図を判定する。
方向スイッチ信号が示す方向(ウインカ点灯側)と、前記ステップS4で得た逸脱方向Doutが示す方向とが同じである場合、運転者が意識的に車線変更していると判定し、逸脱判断フラグFoutをOFFに変更する(Fout=OFF)。すなわち、逸脱しないとの判定結果に変更する。
また、方向スイッチ信号が示す方向(ウインカ点灯側)と、前記ステップS4で得た逸脱方向Doutが示す方向とが異なる場合、逸脱判断フラグFoutを維持し、逸脱判断フラグFoutをONのままにする(Fout=ON)。すなわち、逸脱するとの判定結果を維持する。
また、方向指示スイッチ20が操作されていない場合には、操舵角δに基づいて運転者の車線変更の意図を判定する。すなわち、運転者が逸脱方向に操舵している場合において、その操舵角δ及びその操舵角の変化量(単位時間当たりの変化量)Δδが設定値以上のときには、運転者が意識的に車線変更していると判定し、逸脱判断フラグFoutをOFFに変更する(Fout=OFF)。
続いてステップS6において、逸脱回避のための制御方法を決定する。具体的には、逸脱の警報や逸脱回避の制動制御を行うか否か、さらには逸脱回避の制動制御を行う場合にその制動制御方法を決定する。
例えば、前記ステップS5で得た逸脱判断フラグFoutのON及びOFFの状態に応じて逸脱の警報を作動させる。例えば、逸脱判断フラグFoutがON(Tout<Ts)になっているが、運転者による操舵操作等により車線逸脱しないと判断できるときには、逸脱の警報を実施する。例えば、音や表示等により警報を行う。
ここで、逸脱判断フラグFoutがON(Tout<Ts)になっているが、運転者による操舵操作等により車線逸脱しないと判断できる場合とは、例えば、運転者自身が自車両の逸脱傾向に気づいて回避操作をしているが、未だ逸脱判断フラグFout自体がON(Tout<Ts)になっているような場合である。
また、逸脱判断フラグFoutがONの場合(Tout<Ts)において、前記ステップS3で得た第1障害物等存在方向Sout及びステップS4で得た逸脱方向Doutに基づいて逸脱回避の制動制御方法も決定する。これについては、後で詳述する。
続いてステップS7において、自車両に発生させる目標ヨーモーメントを算出する。この目標ヨーモーメントは、逸脱回避のために自車両に付与するヨーモーメントである。
具体的には、前記ステップS1で得た横変位Xと前記変化量dxとに基づいて、下記(3)式により目標ヨーモーメントMsを算出する。
Ms=K1・X+K2・dx ・・・(3)
ここで、K1,K2は車速Vに応じて変動するゲインである。例えば、図8はその例を示す。この図8に示すように、例えばゲインK1,K2は、低速域で小さい値になり、車速Vがある値になると、車速Vの増加に対応して大きくなり、その後ある車速Vに達すると一定値になる。
続いてステップS8において、逸脱回避用の減速度を算出する。すなわち、自車両を減速させる目的として左右両輪に与える制動力を算出する。ここでは、そのような制動力を左右両輪に与える目標制動液圧Pgf,Pgrとして算出する。前輪用の目標制動液圧Pgfについては下記(4)式により算出する。
Pgf=Kgv・V+Kgx・dx ・・・(4)
ここで、Kgv,Kgxはそれぞれ、車速V及び横変化量dxに基づいて設定する、制動力を制動液圧に換算するための換算係数である。例えば、図9はその例を示す。この図9に示すように、例えば換算係数Kgv,Kgxは、低速域で大きい値になり、車速Vがある値になると、車速Vの増加に対応して小さくなり、その後ある車速Vに達すると一定値になる。
そして、前輪用の目標制動液圧Pgfに基づいて、前後配分を考慮した後輪用の目標制動液圧Pgrを算出する。
このようにステップS8において、逸脱回避用の減速度(具体的には目標制動液圧Pgf,Pgr)を得る。
続いてステップS9において、逸脱判断フラグFoutがONか否かを判定する。ここで、逸脱判断フラグFoutがONの場合、ステップS10に進み、逸脱判断フラグFoutがOFFの場合、ステップS12に進む。
ステップS10では、舵角方向を判定する。具体的には、舵角方向と逸脱回避方向とが一致しているか否かを判定する。ここで、逸脱回避方向とは、前記ステップS4で得た逸脱方向への逸脱を回避するための方向であり、すなわち反逸脱方向である。また、舵角方向は、前記ステップS1で得た操舵角δに基づいて得る。
ここで、舵角方向と逸脱回避方向とが一致している場合、前記ステップS12に進み、舵角方向と逸脱回避方向とが一致していない場合、ステップS11に進む。
ステップS11及びステップS12では、各車輪の目標制動液圧を算出する。
先ずステップS12では、逸脱判断フラグFoutがOFFの場合(Fout=OFF)、すなわち逸脱しないとの判定結果を得た場合として、次のように目標制動液圧を算出する。
下記(5)式及び(6)式に示すように、各車輪の目標制動液圧Psi(i=fl,fr,rl,rr)をマスタシリンダ液圧Pmf,Pmrにする。
Psfl=Psfr=Pmf ・・・(5)
Psrl=Psrr=Pmr ・・・(6)
ここで、Pmfは前輪用のマスタシリンダ液圧である。また、Pmrは後輪用のマスタシリンダ液圧であり、前後配分を考慮して前輪用のマスタシリンダ液圧Pmfに基づいて算出した値になる。
一方、ステップS11では、逸脱判断フラグFoutがONの場合(Fout=ON)、すなわち逸脱するとの判定結果を得た場合として、次のように目標制動液圧を算出する。
先ず前記目標ヨーモーメントMsに基づいて、前輪目標制動液圧差ΔPsf及び後輪目標制動液圧差ΔPsrを算出する。具体的には、下記(7)式〜(10)式により目標制動液圧差ΔPsf,ΔPsrを算出する。
Ms<Ms1の場合
ΔPsf=0 ・・・(7)
ΔPsr=2・Kbr・Ms/T ・・・(8)
Ms≧Ms1の場合
ΔPsf=2・Kbf・(Ms−Ms1)/T ・・・(9)
ΔPsr=2・Kbr・Ms1/T ・・・(10)
ここで、Ms1は設定用しきい値を示す。また、Tはトレッドを示す。なお、このトレッドTは、簡単のため前後で同じ値にする。また、Kbf,Kbrは、制動力を制動液圧に換算する場合の前輪及び後輪についての換算係数であり、ブレーキ諸元により定まる。
このように、目標ヨーモーメントMsの大きさに応じて車輪に与える制動力を配分している。すなわち、目標ヨーモーメントMsが設定用しきい値Ms1未満のときには、前輪目標制動液圧差ΔPsfを0として、後輪目標制動液圧差ΔPsrに所定値を与えて、左右後輪で制動力差を発生させ、また、目標ヨーモーメントMsが設定用しきい値Ms1以上のときには、各目標制動液圧差ΔPsr,ΔPsrに所定値を与え、前後左右輪で制動力差を発生させる。
そして、逸脱判断フラグFoutがONの場合(Fout=ON)には、以上のように算出した目標制動液圧差ΔPsf,ΔPsr及び減速用の目標制動液圧Pgf,Pgrを用いて最終的な各車輪の目標制動液圧Psi(i=fl,fr,rl,rr)を算出する。具体的には、前記ステップS6で決定した制動制御方法に基づいて最終的な各車輪の目標制動液圧Psi(i=fl,fr,rl,rr)を算出する。
ここで、前記ステップS6で決定する制動制御方法を説明する。
前記ステップS6では、逸脱判断フラグFoutがONの場合に作動させる制動制御を前記第1障害物等存在方向Soutと前記逸脱方向Doutに基づいて決定しており、ここでは第1障害物等存在方向Soutと逸脱方向Doutとの状態で場合分け(第1のケース〜第3のケース)してその制動制御方法を説明する。
(第1のケース) 第1障害物等存在方向Soutと逸脱方向Doutとが一致していない場合、逸脱判断フラグFoutがOFFになるまで、逸脱を回避するためのヨーモーメントが車両に付与されるように制動制御(以下、逸脱回避用ヨー制御という。)をする。
ここで、逸脱を回避するために車両に付与するヨーモーメントの大きさが前記目標ヨーモーメントMsになる。そして、車両へのヨーモーメントの付与は、左右の車輪に与える制動力に差をつけることで行う。具体的には、前述したように、目標ヨーモーメントMsが設定用しきい値Ms1未満のときには、左右後輪で制動力差を発生させて、車両に当該目標ヨーモーメントMsを付与し、また、目標ヨーモーメントMsが設定用しきい値Ms1以上のときには、前後左右輪で制動力差を発生させて、車両に当該目標ヨーモーメントMsを付与する。
また、逸脱判断フラグFoutがONからOFFになる場合とは、逸脱傾向がある場合に、逸脱回避のための制動制御が実施されたり、或いは運転者自身が回避操作をしたようなときである。
(第2のケース) 第1障害物等存在方向Soutと逸脱方向Doutとが一致し、かつ前記ステップS3で得た道路種別Rが一般道路の場合、逸脱判断フラグFoutがOFFになるまで、逸脱回避用ヨー制御を行う。
さらに、前記第1逸脱判断しきい値Ts未満の第2逸脱判断しきい値Tr(Ts>Tr>0)を定義して、この第2逸脱判断しきい値Trよりも逸脱予測時間Toutが小さくなったときに、逸脱回避用ヨー制御に加えて、車両を減速させるための制動制御(以下、逸脱回避用減速制御という。)を行う。この逸脱回避用減速制御は、左右両車輪に同程度の制動力を与えて行う。
(第3のケース) 第1障害物等存在方向Soutと逸脱方向Doutとが一致し、かつ前記ステップS3で得た道路種別Rが高速道路の場合、逸脱判断フラグFoutがOFFになるまで、逸脱回避用ヨー制御を行う。
さらに、この場合、逸脱予測時間Toutが0になったときに、逸脱回避用ヨー制御に加えて、逸脱回避用減速制御を行う。
なお、この第3のケースの場合において、前記第2のケースと同様に、第2逸脱判断しきい値Trよりも逸脱予測時間Toutが小さくなったときにも、車両を減速させるための制動制御(逸脱回避用減速制御)を行ってもよい。この場合、例えば、逸脱予測時間Toutが0になったときに、逸脱回避用減速制御による自車両の減速度をさらに大きくする。これにより、第2逸脱判断しきい値Trよりも逸脱予測時間Toutが小さくなったとき、さらには逸脱予測時間Toutが0になったときに、逸脱回避用減速制御が作動するようになる。そして、この場合、逸脱予測時間Toutが0になったときに、より自車両の減速度が大きくなる。
前記ステップS6では、このように第1障害物等存在方向Soutと逸脱方向Doutとの状態に応じて種々の制動制御方法を決定している。すなわち、第1障害物等存在方向Soutと逸脱方向Doutとの状態に応じて、逸脱回避用ヨー制御のみ、或いは逸脱回避用ヨー制御と逸脱回避用減速制御との組み合わせとして、逸脱回避のための制動制御方法を決定している。
そして、ステップS11では、各車輪の目標制動液圧Psi(i=fl,fr,rl,rr)をこのような各種制動制御方法に対応して算出する。
例えば、前記第1のケース〜第3のケースの場合における逸脱回避用ヨー制御では、下記(11)式により各車輪の目標制動液圧Psi(i=fl,fr,rl,rr)を算出する。
Psfl=Pmf
Psfr=Pmf+ΔPsf
Psrl=Pmr
Psrr=Pmr+ΔPsr
・・・(11)
また、前記第2及び第3のケースの場合では、逸脱回避用ヨー制御と逸脱回避用減速制御とを行うことになるが、この場合、下記(12)式により各車輪の目標制動液圧Psi(i=fl,fr,rl,rr)を算出する。
Psfl=Pmf+Pgf/2
Psfr=Pmf+ΔPsf+Pgf/2
Psrl=Pmr+Pgr/2
Psrr=Pmr+ΔPsr+Pgr/2
・・・(12)
また、この(11)式及び(12)式が示すように、運転者による減速操作、すなわちマスタシリンダ液圧Pmf,Pmrを考慮して各車輪の目標制動液圧Psi(i=fl,fr,rl,rr)を算出している。
以上がステップS11の処理になる。このステップS11又は前記ステップS12により、逸脱判断フラグFoutの状態に基づいて各車輪の目標制動液圧Psi(i=fl,fr,rl,rr)を算出している。そして、逸脱判断フラグFoutがONの場合(ステップS12)には、前記ステップS6で第1障害物等存在方向Soutと逸脱方向Doutとの状態に応じて決定した種々の制動制御方法に対応して各車輪の目標制動液圧Psi(i=fl,fr,rl,rr)を算出している。
以上が、制駆動力コントロールユニット8による演算処理である。そして、制駆動力コントロールユニット8は、前記ステップS11又はステップS12で算出した各車輪の目標制動液圧Psi(i=fl,fr,rl,rr)を制動流体圧指令値として、制動流体圧制御部7に出力する。
以上のような車線逸脱防止装置は概略として次のように動作する。
先ず、各センサやコントローラ、コントロールユニットから各種データを読み込む(前記ステップS1)。続いて車速Vを算出する(前記ステップS2)。
続いて、走行環境を判定して、安全度が低い方向(第1障害物等存在方向Sout)を決定する(前記ステップS3、図3)。例えば、前記図4において左側車線を自車両100Aが走行している場合、第1障害物等存在方向Soutを左方向にする、といったようにである。
また、逸脱予測時間Toutに基づいて逸脱判断フラグFoutを設定するとともに、横変位Xに基づいて逸脱方向Doutを判定する(前記ステップS4、図7)。
さらに、そのようにして得た逸脱方向Doutと方向スイッチ信号が示す方向(ウインカ点灯側)とに基づいて運転者の車線変更の意図を判定する(前記ステップS5)。
例えば、方向スイッチ信号が示す方向(ウインカ点灯側)と逸脱方向Doutが示す方向とが同じである場合、運転者が意識的に車線変更していると判定する。この場合、逸脱判断フラグFoutをOFFに変更する。
また、方向スイッチ信号が示す方向(ウインカ点灯側)と逸脱方向Doutが示す方向とが異なる場合に、逸脱判断フラグFoutがONにされている場合には、それを維持する。これは例えば、方向スイッチ信号が示す方向(ウインカ点灯側)と逸脱方向Doutが示す方向とが異なる場合には、車両の逸脱挙動が運転者による車線変更等の運転者の意思による車両挙動でないと考えることができるので、逸脱判断フラグFoutがONにされている場合には、それを維持する。
そして、前記逸脱判断フラグFout、第1障害物等存在方向Sout及び逸脱方向Doutに基づいて逸脱回避のための警報開始の有無、逸脱回避のための制動制御の有無、逸脱回避のための制動制御を実施する場合のその方法を決定する(前記ステップS6)。
さらに、横変位Xと前記変化量dxとに基づいて目標ヨーモーメントMsを算出し(前記ステップS7)、また、逸脱回避用の減速度を算出する(前記ステップS8)。
そして、前記逸脱判断フラグFout、舵角方向及び逸脱回避方向に基づいて各車輪の目標制動液圧Psi(i=fl,fr,rl,rr)を算出している(ステップS9〜ステップS12)。
具体的には、逸脱判断フラグFoutがOFFの場合、または逸脱判断フラグFoutがONでも舵角方向と逸脱回避方向とが一致している場合、各車輪の目標制動液圧Psi(i=fl,fr,rl,rr)をマスタシリンダ液圧Pmf,Pmrにしている(前記ステップS9、ステップS10、ステップS12)。また、逸脱判断フラグFoutがONで、かつ舵角方向と逸脱回避方向とが不一致の場合、前記ステップS6で第1障害物等存在方向Sout及び逸脱方向Doutに基づいて決定した制動制御方法を実現するための各車輪の目標制動液圧Psi(i=fl,fr,rl,rr)を算出している(前記ステップS9〜ステップS11)。
そして、このように各条件に応じて算出した目標制動液圧Psi(i=fl,fr,rl,rr)を制動流体圧指令値として制動流体圧制御部7に出力している。制動流体圧制御部7では、制動流体圧指令値に基づいて、各ホイールシリンダ6FL〜6RRの制動流体圧を個別に制御する。これにより、逸脱傾向にある場合には、その走行環境に応じて所定の車両挙動を示すようになる。
ここで、前記第1のケース〜第3ケースの場合において、制動制御を行った場合の車両挙動を図10及び図11を用いて説明する。
第2のケースとは、前述したように、第1障害物等存在方向Soutと逸脱方向Doutとが一致し、かつ道路種別Rが一般道路の場合である。すなわち、図10に示すように、左側が路肩Aになり、右側が対向車線(中央車線LI5側)になるような片側1車線を自車両100が走行している場合において、当該自車両100(図10中最上位置の自車両100)が左方向或いは当該自車両(図10中中間位置の自車両100)が右方向に逸脱する傾向にある場合である。
この場合には逸脱回避用ヨー制御を行う。さらに、第2逸脱判断しきい値Trよりも逸脱予測時間Toutが小さくなったとき、逸脱回避用ヨー制御に加えて、逸脱回避用減速制御を行う。これにより、自車両は逸脱を回避する。一方、運転者は、この車両の逸脱回避動作を横方向の加速度或いは走行方向の減速度として感じ、自車両が逸脱傾向にあることを知ることができる。
また、第3のケースとは、前述したように、第1障害物等存在方向Soutと逸脱方向Doutとが一致し、かつ道路種別Rが高速道路の場合である。すなわち、図11に示すように、3車線道路において、左側車線を走行している自車両100A(図11中最上位置の自車両100A)が左方向に逸脱する傾向がある場合である。或いは、図11に示すように、3車線道路において、右側車線を走行している自車両100C(図11中中間位置の自車両100C)が右方向に逸脱する傾向がある場合である。
この場合には逸脱回避用ヨー制御を行う。これにより自車両は逸脱を回避できる。さらに、逸脱予測時間Toutが0になったとき、すなわち自車両が走行車線を逸脱したと判断したときには、逸脱回避用ヨー制御に加えて、逸脱回避用減速制御を行う。
なお、図10及び図11中、黒塗りしている車輪は、液圧を発生させて制動力が与えられている車輪を示す。すなわち、左右車輪のうちのいずれか一方が黒塗りの車輪の場合、左右車輪で液圧或いは制動力に差がある。この場合、車両にヨーモーメントが付与されることを示す。また、左右車輪が黒塗りの車輪の場合でも、その液圧値に差があるときもあり、この場合には、車両にヨーモーメントが付与されつつ、同時に当該車両が減速制御されていることを示す。このような関係は以降の図面でも同様である。
また、第1のケースとは、前述したように、第1障害物等存在方向Soutと逸脱方向Doutとが一致していない場合である。すなわち、図11に示すように、3車線道路において、左側車線を走行している自車両100A(図11中中間位置の自車両100A)が右方向に逸脱する傾向がある場合である。或いは、図11に示すように、3車線道路において、右側車線を走行している自車両100C(図11中最上位置の自車両100C)が左方向に逸脱する傾向がある場合である。或いは、中央車線を走行している自車両Bが左方向或いは右方向に逸脱する傾向がある場合である。この場合には逸脱回避用ヨー制御を行う。これにより自車両は逸脱を回避できる。
また、このような逸脱回避のための制動制御とともに、音や表示による警報を行う。例えば、制動制御の開始と同時、或いは制動制御に先立って所定のタイミングで警報を開始する。
ここで、以上の第1〜第3のケースで行う逸脱回避のための制御は、逸脱判断フラグFoutがONで、かつ舵角方向と逸脱回避方向とが不一致であることが条件になる。一方、逸脱判断フラグFoutがOFFの場合には、または逸脱判断フラグFoutがONでも舵角方向と逸脱回避方向とが一致している場合には、そのような逸脱回避のための制御は行われない。
次に効果を説明する。
前述したように、運転者の操舵操作による舵角方向と逸脱回避方向(逸脱方向Doutの逆方向)とが一致している場合、逸脱回避のための制御を抑制、具体的には実施しないようにしている。そして、この場合、その運転者の操舵操作による舵角方向となるように、車両にヨーモーメントが付与される。これにより、運転者の操舵操作による車両へのヨーモーメントに、逸脱回避のためのヨーモーメントが加わってしまい、必要以上に車両にヨーモーメントが作用してしまうことを防止できる。これにより、逸脱回避のための制御が運転者に違和感を与えてしまうことを防止できる。
次に第2の実施の形態を説明する。この第2の実施の形態も、車両逸脱防止装置を備えた車両である。この第2の実施の形態の車両の構成は、前記第1の実施の形態の車両の構成(図1参照)と同じである。
前記第1の実施の形態では、舵角方向と逸脱回避方向とが一致している場合、逸脱回避のための制御を介入させないようにしている。これに対して、第2の実施の形態では、舵角方向と逸脱回避方向とが一致している場合でも、逸脱回避のための制御を介入させるようにしている。具体的には、操舵により発生するヨーモーメントの大きさを考慮して、逸脱回避のための制御を介入させている。これを実現すべく、第2の実施の形態では、前記第1の実施の形態と、制駆動力コントロールユニット8の処理内容を異ならせている。
なお、第2の実施の形態の車両の他の構成については、特に言及しない限りは、前記第1の実施の形態の構成と同じである。
制駆動力コントロールユニット8で行う演算処理手順は図12に示すようになる。演算処理手順は、前記第1の実施の形態の演算処理手順とほぼ同じであり、特に異なる部分について説明する。
すなわち、ステップS1〜ステップS9において、前記第1の実施の形態と同様に、各種データの読み込み、車速の算出、走行環境の判定、車線逸脱傾向の判定、運転者の意図の判定、制御方法の決定、目標ヨーモーメントの算出及び逸脱回避用の減速度の算出を行う。そして、ステップS9において逸脱判断フラグFoutがONか否かを判定し、逸脱判断フラグFoutがONの場合、ステップS41に進み、逸脱判断フラグFoutがOFFの場合、前記ステップS12に進む。
ステップS41では、前記ステップS10と同様、舵角方向を判定する。すなわち、舵角方向と逸脱回避方向とが一致しているか否かを判定し、舵角方向と逸脱回避方向とが一致していない場合、ステップS11に進み、舵角方向と逸脱回避方向とが一致している場合、ステップS42に進む。ここで第2の実施の形態では、ステップS41で舵角方向と逸脱回避方向とが一致している場合、前記ステップS12に進むのではなく、ステップS42に進むようになっている。
ステップS42では、操舵角δに応じて車両に発生するヨーモーメント(以下、操舵ヨーモーメントという。)Mhを推定値として算出する。
続いてステップS43において、前記ステップS42で算出した操舵ヨーモーメントMhと前記ステップS7で算出した目標ヨーモーメントMsとを比較する。ここで、操舵ヨーモーメントMhが目標ヨーモーメントMs以上の場合、前記ステップS12に進み、操舵ヨーモーメントMhが目標ヨーモーメントMs未満の場合、ステップS44に進む。
ステップS44では、最終目標ヨーモーメントMs´を算出する。具体的には、前記目標ヨーモーメントMsと操舵ヨーモーメントMhとの差分(Ms−Mh)を最終目標ヨーモーメントMs´として算出する。
続いてステップS11において、逸脱回避用ヨー制御により車両に付与するヨーモーメントが前記最終目標ヨーモーメントMs´になるように、各輪の目標制動液圧Psi(i=fl,fr,rl,rr)を算出する(前記(11)式及び(12)式参照)。
また、前記ステップS41にて舵角方向と逸脱回避方向とが一致していない場合には、ステップS11では、逸脱回避用ヨー制御により車両に付与するヨーモーメントが前記目標ヨーモーメントMsになるように、各輪の目標制動液圧Psi(i=fl,fr,rl,rr)を算出する(前記(11)式及び(12)式参照)。
なお、前記ステップS12では、各車輪の目標制動液圧Psi(i=fl,fr,rl,rr)をマスタシリンダ液圧Pmf,Pmrにする(前記(5)式及び(6)式参照)。
このように各条件に応じて目標制動液圧Psi(i=fl,fr,rl,rr)を算出し、この算出した目標制動液圧Psi(i=fl,fr,rl,rr)を制動流体圧指令値として制動流体圧制御部7に出力している。制動流体圧制御部7では、制動流体圧指令値に基づいて、各ホイールシリンダ6FL〜6RRの制動流体圧を個別に制御する。これにより、逸脱傾向にある場合には、その走行環境に応じて所定の車両挙動を示すようになる。
以上のような処理により、逸脱判断フラグFoutがONの場合において、舵角方向と逸脱回避方向(逸脱方向Doutの逆方向)とが一致し、かつ操舵ヨーモーメントMhが目標ヨーモーメントMs未満のときには、前記目標ヨーモーメントMsと操舵ヨーモーメントMhとの差分(Ms−Mh)により最終目標ヨーモーメントMs´を算出して(前記ステップS41〜ステップS44)、この最終目標ヨーモーメントMs´になるように逸脱回避用ヨー制御を行う(前記ステップS11)。これにより、運転者の操舵操作に基づくヨーモーメントと、逸脱回避のための最終目標ヨーモーメントMs´とが同時に車両に付与されるようになる。
また、逸脱判断フラグFoutがONの場合において、舵角方向と逸脱回避方向とが一致しないときには、前記第1の実施の形態と同様に、目標ヨーモーメントMsになるように逸脱回避用ヨー制御を行う(前記ステップS41、ステップS11)。
また、逸脱判断フラグFoutがONの場合でも、操舵ヨーモーメントMhが目標ヨーモーメントMs以上のときには、逸脱回避用ヨー制御を行わないようにしている。この場合、運転者の操舵操作に基づくヨーモーメントのみが車両に付与される(前記ステップS43、ステップS12)。
次に第2の実施の形態の効果を説明する。
前述したように、逸脱判断フラグFoutがONの場合において、舵角方向と逸脱回避方向(逸脱方向Doutの逆方向)とが一致し、かつ操舵ヨーモーメントMhが目標ヨーモーメントMs未満のときには、前記目標ヨーモーメントMsと操舵ヨーモーメントMhとの差分(Ms−Mh)により最終目標ヨーモーメントMs´を算出して(前記ステップS41〜ステップS44)、この最終目標ヨーモーメントMs´になるように逸脱回避用ヨー制御を行っている(前記ステップS11)。これにより、運転者の操舵操作に基づくヨーモーメントと、逸脱回避のための最終目標ヨーモーメントMs´とを同時に車両に付与している。
このようにすることで、前記第1の実施の形態と同様に、運転者が操舵操作している場合には、必要以上に自車両にヨーモーメントが作用してしまうことを防止できる。
また、運転者の操舵操作に基づくヨーモーメントと、逸脱回避のための最終目標ヨーモーメントMs´との和は目標ヨーモーメントMsになる。すなわち、最適条件で逸脱を回避できるヨーモーメントになる。これにより、車両が最適に動作して、逸脱を回避できるようになる。言い換えれば、運転者の操舵操作を補うように逸脱回避用ヨー制御を介入させて、最適に動作させて逸脱を回避させることができる。またこの結果、逸脱回避用ヨー制御が介入するが、その介入が運転者に違和感を与えることもない。
ここで、図13を用いてその効果を説明する。ここで、図13中(A)〜(C)において、左側の図は、自車両100の走行状態を示し、右側の図は、その自車両100の運転者によるステアリングホイール21の操舵状態を示す。
図10や図11を用いて説明もしたが、図13中(A)に示すように、原則として、逸脱傾向がある場合には、その逸脱を回避するように逸脱回避用ヨー制御が作動する。
その一方で、逸脱傾向にある場合に、運転者がステアリングホイールを操作して逸脱回避の行動をとることは一般的なことである。よって、逸脱傾向がある場合に逸脱回避用ヨー制御を何ら制限なく行うとすれば、図13中(B)に示すように、その逸脱回避制御によるヨーモーメントMsと運転者によるステアリングホイール21の操作によるヨーモーメントMhとが車両100に作用することになる。これでは、逸脱回避に十分なヨーモーメントよりも、過大なヨーモーメントが車両100に付与されてしまうことになる。
そこで、本発明では、舵角方向と逸脱回避方向とが一致し、かつその操舵操作によるヨーモーメントMhが目標ヨーモーメントMsに満たない場合に、目標ヨーモーメントMsを減じた最終目標ヨーモーメントMs´を目標値とし、その目標値になるように逸脱回避用ヨー制御を実施している(図13中(C)参照)。これにより、車両が最適に動作して、逸脱を回避できるようになる。
次に第3の実施の形態を説明する。この第3の実施の形態も、車両逸脱防止装置を備えた車両である。この第3の実施の形態の車両の構成は、前記第1の実施の形態の車両の構成(図1参照)と同じである。
この第3の実施の形態では、ステアリングホイールによる操舵操作があった場合のその舵角速度に基づいて逸脱回避のための制御を介入させるか否かを決定している。これを実現すべく、第3の実施の形態では、前記第1や第2の実施の形態と、制駆動力コントロールユニット8の処理内容を異ならせている。
なお、第3の実施の形態の車両の他の構成については、特に言及しない限りは、前記第1の実施の形態の構成と同じである。
制駆動力コントロールユニット8で行う演算処理手順は図14に示すようになる。演算処理手順は、前記第1の実施の形態の演算処理手順とほぼ同じであり、特に異なる部分について説明する。
すなわち、ステップS1〜ステップS9において、前記第1の実施の形態と同様に、各種データの読み込み、車速の算出、走行環境の判定、車線逸脱傾向の判定、運転者の意図の判定、制御方法の決定、目標ヨーモーメントの算出及び逸脱回避用の減速度の算出を行う。そして、ステップS9において逸脱判断フラグFoutがONか否かを判定し、逸脱判断フラグFoutがONの場合、ステップS51に進み、逸脱判断フラグFoutがOFFの場合、前記ステップS12に進む。
ステップS51では、舵角速度δ´と所定のしきい値δc´とを比較する。ここで舵角速度δ´は、操舵角δの時間微分値として得る。この舵角速度δ´が所定のしきい値δc´より大きい場合、前記ステップS12に進み、舵角速度δ´が所定のしきい値δc´以下の場合、ステップS11に進む。
ステップS11では、前記ステップS6で第1障害物等存在方向Sout及び逸脱方向Doutに基づいて決定した制動制御方法を実現するための各車輪の目標制動液圧Psi(i=fl,fr,rl,rr)を算出する。一方、ステップS12では、各車輪の目標制動液圧Psi(i=fl,fr,rl,rr)をマスタシリンダ液圧Pmf,Pmrする。そして、このように各条件に応じて算出した目標制動液圧Psi(i=fl,fr,rl,rr)を制動流体圧指令値として制動流体圧制御部7に出力している。制動流体圧制御部7では、制動流体圧指令値に基づいて、各ホイールシリンダ6FL〜6RRの制動流体圧を個別に制御する。
以上のような処理により、逸脱判断フラグFoutがONの場合において、舵角速度δ´が所定のしきい値δc´より大きいとき、逸脱回避のための制御を介入しないようになる(前記ステップS51、ステップS12)。一方、逸脱判断フラグFoutがONの場合において、舵角速度δ´が所定のしきい値δc´以下のとき、逸脱回避のための制御は作動する(前記ステップS51、ステップS11)。
次に第3の実施の形態の効果を説明する。
前述したように、舵角速度δ´が所定のしきい値δc´より大きい場合、逸脱回避のための制御を介入させないようにしている(前記ステップS51、ステップS12)。ここで逸脱回避のための制御は、逸脱回避用ヨー制御や逸脱回避用減速制御である。
このようにすることで、前記第1の実施の形態と同様に、運転者が所定の操舵操作をしている場合には、必要以上に逸脱回避用ヨー制御や逸脱回避用減速制御を作動させないようにしている。これにより、逸脱回避のための制御が運転者に違和感を与えてしまうことを防止できる。
例えば、路上に障害物がある場合には、運転者はすばやくハンドルを切ることで、車両が障害物に接触してしまうことを回避する。このような場面では、操作速度δ´が大きくなる。一方、このような場面では、通常、車両逸脱防止装置が逸脱傾向があると検出してしまうことがある。そして、このとき、逸脱回避用ヨー制御や逸脱回避用減速制御といった逸脱回避のための制御が作動してしまう。
このようなことから、舵角速度δ´が所定のしきい値δc´以上の場合にはそのような逸脱回避のための制御を介入させないようにすることで、路上に障害物を避けようとする運転者による車両操作を円滑に完了させることができる。この場合、特に逸脱回避用減速制御を介入させないことで、運転者による車両操作が円滑に行われることになる。言い換えれば、運転者による車両挙動と制御による車両挙動とが干渉しないので、運転者は通常の感覚で、車両を操作することができるようになる。また、逸脱回避用ヨー制御を介入させないことでも同様な効果を得ることができる。
以上、本発明の実施の形態について説明した。しかし、本発明は、前述の実施の形態として実現されることに限定されるものではない。
すなわち、前述の実施の形態では、逸脱を回避するためのヨーモーメントが車両に付与されるように制動制御(逸脱回避用ヨー制御)、逸脱を回避するために減速させるための制動制御(逸脱回避用減速制御)との組み合わせ方法、その作動順序、その制御量(ヨーモーメントの大きさ、減速度の大きさ)を具体的に説明した。しかし、これに限定されないことはいうまでもない。
例えば、前述の実施の形態では、操舵状態に基づいて行うヨーモーメントを小さい値にすることや減速度の度合いを小さい値にすることの具体例として、逸脱回避用ヨー制御や逸脱回避用減速制御を作動させないこととしている。しかし、これに限定されるものではない。すなわち例えば、操舵状態に基づいて、逸脱回避用ヨー制御や逸脱回避用減速制御の制御量(ヨーモーメントの大きさ、減速度の大きさ)を小さい値に変更してもよい。このようにすることで、逸脱回避用ヨー制御や逸脱回避用減速制御を抑制することができる。
また、前述の実施の形態では、横変位X及びその変化量dxに基づいて逸脱予測時間Toutを算出している(前記(2)式参照)。しかし、逸脱予測時間Toutを他の手法により得るようにしてもよい。例えば、ヨー角φ、走行車線曲率β、ヨーレートφ´或いは操舵角δに基づいて逸脱予測時間Toutを得てもよい。
また、前述の実施の形態では、運転者の車線変更の意図を操舵角δやその操舵角の変化量Δδに基づいて得ている(前記ステップS5参照)。しかし、運転者の車線変更の意図を他の手法により得るようにしてもよい。例えば、操舵トルクに基づいて運転者の車線変更の意図を得てもよい。
また、前述の実施の形態では、横変位X及び変化量dxに基づいて目標ヨーモーメントMsを算出している(前記(3)式参照)。しかし、目標ヨーモーメントMsを他の手法により得るようにしてもよい。例えば、下記(13)式に示すように、ヨー角φ、横変位X及び走行車線曲率βに基づいて目標ヨーモーメントMsを算出してもよい。
Ms=K3・φ+K4・X+K5・β ・・・(13)
ここで、K3,K4,K5は車速Vに応じて変動するゲインである。
また、前述の実施の形態では、前輪用の目標制動液圧Pgfを具体的な式を用いて説明している(前記(4)式参照)。しかし、これに限定されるものではない。例えば、下記(14)式により前輪用の目標制動液圧Pgfを算出してもよい。
Pgf=Kgv・V+Kgφ・φ+Kgβ・β ・・・(14)
ここで、Kgφ,Kgβはそれぞれ、ヨー角φ及び走行車線曲率βに基づいて設定する、制動力を制動液圧に換算するための換算係数である。
また、前述の実施の形態では、逸脱回避用ヨー制御を実現するために、前輪及び後輪の目標制動液圧差ΔPsf,ΔPsrを算出している(前記(7)式及び(8)式参照)。しかし、これに限定されるものではない。例えば、前輪の目標制動液圧差ΔPsfだけで逸脱回避用ヨー制御を実現してもよい。この場合、下記(15)式により前輪の目標制動液圧差ΔPsfを算出する。
△Psf=2・Kbf・Ms/T ・・・(15)
なお、前述の実施の形態の説明において、操舵角センサ19及び制動力コントロールユニット8における処理(前記ステップS1)は、前記操舵状態を検出する操舵状態検出手段を実現しており、制動力コントロールユニット8の前記ステップS4の処理は、走行車線からの自車両の逸脱傾向を検出する逸脱傾向検出手段を実現しており、制動力コントロールユニット8の前記ステップS6の処理は、前記逸脱傾向検出手段が検出した前記逸脱傾向に基づいて、ヨーモーメント分担量及び減速分担量を設定する設定手段を実現しており、制動力コントロールユニット8の前記ステップS7の処理は、前記設定手段が設定した前記ヨーモーメント分担量に基づいて、自車両の走行車線からの逸脱を回避するための目標ヨーモーメントを算出する目標ヨーモーメント算出手段を実現しており、制動力コントロールユニット8の前記ステップS8の処理は、前記設定手段が設定した前記減速分担量に基づいて減速制御量を算出する減速制御量算出手段を実現しており、制動力コントロールユニット8の前記ステップS11の処理は、前記逸脱傾向検出手段が前記逸脱傾向を検出したときに、前記目標ヨーモーメント算出手段が算出した前記目標ヨーモーメントと前記減速制御量算出手段が算出した前記減速制御量とに基づいて各車輪の制動力を制御する制動力制御手段を実現している。
また、制動力コントロールユニット8による前記図2に示すステップS10、前記図12に示すステップS41〜ステップS44の処理、前記14に示すステップS51の処理は、前記操舵状態検出手段が検出した操舵状態に基づいて、前記制動力制御手段の制御内容を変更する変更手段を実現している。
また、制動力コントロールユニット8による前記図12に示すステップS42は、前記操舵により自車両に発生するヨーモーメントを算出する操舵ヨーモーメント算出手段を実現している。
本発明の車線逸脱防止装置を搭載した車両の第1の実施の形態を示す概略構成図である。 前記車線逸脱防止装置を構成する制駆動力コントロールユニットの処理内容を示すフローチャートである。 前記制駆動力コントロールユニットの走行環境判定の処理内容を示すフローチャートである。 片側3車線道路を走行している車両を示す図である。 前記片側3車線道路を車両が走行した場合に、各車線位置で車両が得る撮像画像を示す図である。 前記制駆動力コントロールユニットの逸脱傾向判定の処理内容を示すフローチャートである。 逸脱予測時間Toutの説明に使用した図である。 目標ヨーモーメントMsの算出に用いるゲインK1,K2の特性を示す特性図である。 目標制動液圧Pgfの算出に用いる換算係数Kgv,Kgxの特性を示す特性図である。 第2のケースのときの制動制御方法の説明に使用した図である。 第3のケースのときの制動制御方法の説明に使用した図である。 本発明の第2の実施の形態を説明するものであり、後続車両が存在する場合の制駆動力コントロールユニットの処理内容を示すフローチャートである。 本発明の第2の実施の形態の効果の説明に使用した図である。 本発明の第3の実施の形態を説明するものであり、後続車両が存在する場合の制駆動力コントロールユニットの処理内容を示すフローチャートである。
符号の説明
6FL〜6RR ホイールシリンダ
7 制動流体圧制御部
8 制駆動力コントロールユニット
9 エンジン
12 駆動トルクコントロールユニット
13 撮像部
15 ナビゲーション装置
17 マスタシリンダ圧センサ
18 アクセル開度センサ
19 操舵角センサ
22FL〜22RR 車輪速度センサ

Claims (4)

  1. 舵状態を検出する操舵状態検出手段と、
    走行車線からの自車両の逸脱傾向を検出する逸脱傾向検出手段と、
    前記逸脱傾向検出手段が検出した前記逸脱傾向に基づいて、ヨーモーメント分担量及び減速分担量を設定する設定手段と、
    前記設定手段が設定した前記ヨーモーメント分担量に基づいて、自車両の走行車線からの逸脱を回避するための目標ヨーモーメントを算出する目標ヨーモーメント算出手段と、
    前記設定手段が設定した前記減速分担量に基づいて減速制御量を算出する減速制御量算出手段と、
    前記逸脱傾向検出手段が前記逸脱傾向を検出したときに、前記目標ヨーモーメント算出手段が算出した前記目標ヨーモーメントと前記減速制御量算出手段が算出した前記減速制御量とに基づいて各車輪の制動力を制御する制動力制御手段と、
    前記操舵状態検出手段が検出した操舵状態に基づいて、前記制動力制御手段の制御内容を変更する変更手段と、を備え
    前記制動力制御手段は、前記目標ヨーモーメントに基づいて、自車両に車線逸脱を回避する方向のヨーモーメントが付与されるように左右輪の制動力を調整して左右輪に制動力差を発生させるとともに、前記減速制御量に基づいて、自車両が減速するように左右輪の制動力を調整して左右輪に等分の制動力を発生させるように前記各車輪の制動力を制御し、
    前記変更手段は、前記操舵状態としての操舵速度が所定のしきい値より大きい場合、前記制動力制御手段の制御内容を変更することとして、前記減速制御量算出手段によって算出された前記減速制御量を減少させることを特徴とする車線逸脱防止装置。
  2. 前記変更手段は、前記操舵状態としての操舵方向が、走行車線からの自車両の逸脱を回避する方向の場合、前記制動力制御手段の制御内容を変更することとして、前記ヨーモーメントを小さい値に変更することを特徴とする請求項1に記載の車線逸脱防止装置。
  3. 前記操舵により自車両に発生するヨーモーメントを算出する操舵ヨーモーメント算出手段を備え、
    前記変更手段は、前記操舵状態としての操舵方向が、走行車線からの自車両の逸脱を回避する方向の場合、前記制動力制御手段の制御内容を変更することとして、前記左右輪の制動力を調整して自車両に付与するヨーモーメントを変更して、前記操舵ヨーモーメント算出手段が算出したヨーモーメントと前記左右輪の制動力を調整して自車両に付与するヨーモーメントとの加算値を所定値にすること特徴とする請求項1又は2に記載の車線逸脱防止装置。
  4. 前記変更手段は、前記操舵状態としての操舵速度が所定のしきい値より大きい場合、前記制動力制御手段の制御内容を変更することとして、前記ヨーモーメントを小さい値に変更することを特徴とする請求項1乃至のいずれか1項に記載の車線逸脱防止装置。
JP2003369447A 2003-10-29 2003-10-29 車線逸脱防止装置 Expired - Lifetime JP4496758B2 (ja)

Priority Applications (6)

Application Number Priority Date Filing Date Title
JP2003369447A JP4496758B2 (ja) 2003-10-29 2003-10-29 車線逸脱防止装置
US10/960,706 US7212901B2 (en) 2003-10-29 2004-10-08 Lane departure prevention apparatus
EP04256471A EP1527972B1 (en) 2003-10-29 2004-10-20 Lane departure prevention apparatus
DE602004006577T DE602004006577T2 (de) 2003-10-29 2004-10-20 System zur Spurhaltung eines Kraftfahrzeugs
KR1020040086408A KR100596607B1 (ko) 2003-10-29 2004-10-28 차선 이탈 방지 장치
CNB2004100896896A CN100540371C (zh) 2003-10-29 2004-10-29 车道偏离预防设备

Applications Claiming Priority (1)

Application Number Priority Date Filing Date Title
JP2003369447A JP4496758B2 (ja) 2003-10-29 2003-10-29 車線逸脱防止装置

Publications (2)

Publication Number Publication Date
JP2005132182A JP2005132182A (ja) 2005-05-26
JP4496758B2 true JP4496758B2 (ja) 2010-07-07

Family

ID=34646801

Family Applications (1)

Application Number Title Priority Date Filing Date
JP2003369447A Expired - Lifetime JP4496758B2 (ja) 2003-10-29 2003-10-29 車線逸脱防止装置

Country Status (1)

Country Link
JP (1) JP4496758B2 (ja)

Families Citing this family (4)

* Cited by examiner, † Cited by third party
Publication number Priority date Publication date Assignee Title
JP4899680B2 (ja) * 2006-07-18 2012-03-21 日産自動車株式会社 車線逸脱防止装置
JP5355209B2 (ja) * 2009-05-01 2013-11-27 アルパイン株式会社 ナビゲーション装置、自車の走行車線の判定方法および判定プログラム
JP2016192166A (ja) * 2015-03-31 2016-11-10 株式会社デンソー 車両制御装置、及び車両制御方法
JP7226160B2 (ja) * 2019-07-16 2023-02-21 トヨタ自動車株式会社 車両走行制御装置

Family Cites Families (6)

* Cited by examiner, † Cited by third party
Publication number Priority date Publication date Assignee Title
JPH1129016A (ja) * 1997-07-10 1999-02-02 Aisin Seiki Co Ltd 進行方向補正装置
JP3690123B2 (ja) * 1998-07-16 2005-08-31 三菱自動車工業株式会社 車線逸脱防止装置
JP3853991B2 (ja) * 1998-11-04 2006-12-06 本田技研工業株式会社 車両の走行安全装置
JP3680249B2 (ja) * 1999-03-19 2005-08-10 トヨタ自動車株式会社 横滑りによる車線逸脱量低減自動制御システム
JP2001310719A (ja) * 2000-04-27 2001-11-06 Nissan Motor Co Ltd 車線逸脱防止装置
JP3760827B2 (ja) * 2001-09-28 2006-03-29 日産自動車株式会社 車線逸脱防止装置

Also Published As

Publication number Publication date
JP2005132182A (ja) 2005-05-26

Similar Documents

Publication Publication Date Title
JP4496759B2 (ja) 車線逸脱防止装置
JP4496760B2 (ja) 車線逸脱防止装置
CN100540371C (zh) 车道偏离预防设备
JP4867313B2 (ja) 車線逸脱防止装置
JP4650362B2 (ja) 車線逸脱防止装置
US20050107939A1 (en) Lane departure prevention apparatus
JP2005162044A (ja) 車線逸脱防止装置
JP4692609B2 (ja) 車線逸脱防止装置
JP4380301B2 (ja) 車線逸脱防止装置
JP4259290B2 (ja) 車線逸脱防止装置
JP4678121B2 (ja) 車線逸脱防止装置
JP4461780B2 (ja) 車線逸脱防止装置
JP2006182129A (ja) 車線逸脱防止装置
JP4496758B2 (ja) 車線逸脱防止装置
JP2007030696A (ja) 運転者車線変更意思判定方法及び車線逸脱防止装置
JP4396236B2 (ja) 車線逸脱防止装置
JP4367101B2 (ja) 車線逸脱防止装置
JP4475180B2 (ja) 車両の走行制御装置
JP4581680B2 (ja) 車線逸脱防止装置
JP4765435B2 (ja) 車両の走行制御装置
JP4396223B2 (ja) 車線逸脱防止装置
JP4600038B2 (ja) 車線逸脱防止方法及びその装置
JP4380302B2 (ja) 車線逸脱防止装置
JP4894436B2 (ja) 車線逸脱防止装置
JP2007230529A (ja) 車線逸脱防止装置

Legal Events

Date Code Title Description
A621 Written request for application examination

Free format text: JAPANESE INTERMEDIATE CODE: A621

Effective date: 20061023

A977 Report on retrieval

Free format text: JAPANESE INTERMEDIATE CODE: A971007

Effective date: 20081112

A131 Notification of reasons for refusal

Free format text: JAPANESE INTERMEDIATE CODE: A131

Effective date: 20081202

A521 Request for written amendment filed

Free format text: JAPANESE INTERMEDIATE CODE: A523

Effective date: 20090113

A131 Notification of reasons for refusal

Free format text: JAPANESE INTERMEDIATE CODE: A131

Effective date: 20090929

A521 Request for written amendment filed

Free format text: JAPANESE INTERMEDIATE CODE: A523

Effective date: 20091127

TRDD Decision of grant or rejection written
A01 Written decision to grant a patent or to grant a registration (utility model)

Free format text: JAPANESE INTERMEDIATE CODE: A01

Effective date: 20100323

A01 Written decision to grant a patent or to grant a registration (utility model)

Free format text: JAPANESE INTERMEDIATE CODE: A01

A61 First payment of annual fees (during grant procedure)

Free format text: JAPANESE INTERMEDIATE CODE: A61

Effective date: 20100405

FPAY Renewal fee payment (event date is renewal date of database)

Free format text: PAYMENT UNTIL: 20130423

Year of fee payment: 3

R150 Certificate of patent or registration of utility model

Ref document number: 4496758

Country of ref document: JP

Free format text: JAPANESE INTERMEDIATE CODE: R150

Free format text: JAPANESE INTERMEDIATE CODE: R150

FPAY Renewal fee payment (event date is renewal date of database)

Free format text: PAYMENT UNTIL: 20130423

Year of fee payment: 3

FPAY Renewal fee payment (event date is renewal date of database)

Free format text: PAYMENT UNTIL: 20140423

Year of fee payment: 4

EXPY Cancellation because of completion of term