JP4492829B2 - 電気かみそり - Google Patents

電気かみそり Download PDF

Info

Publication number
JP4492829B2
JP4492829B2 JP05694299A JP5694299A JP4492829B2 JP 4492829 B2 JP4492829 B2 JP 4492829B2 JP 05694299 A JP05694299 A JP 05694299A JP 5694299 A JP5694299 A JP 5694299A JP 4492829 B2 JP4492829 B2 JP 4492829B2
Authority
JP
Japan
Prior art keywords
lid
cap
cap body
razor head
outer blade
Prior art date
Legal status (The legal status is an assumption and is not a legal conclusion. Google has not performed a legal analysis and makes no representation as to the accuracy of the status listed.)
Expired - Fee Related
Application number
JP05694299A
Other languages
English (en)
Other versions
JP2000245978A (ja
Inventor
康雄 山下
高徳 西山
Current Assignee (The listed assignees may be inaccurate. Google has not performed a legal analysis and makes no representation or warranty as to the accuracy of the list.)
Maxell Ltd
Original Assignee
Kyushu Hitachi Maxell Ltd
Priority date (The priority date is an assumption and is not a legal conclusion. Google has not performed a legal analysis and makes no representation as to the accuracy of the date listed.)
Filing date
Publication date
Application filed by Kyushu Hitachi Maxell Ltd filed Critical Kyushu Hitachi Maxell Ltd
Priority to JP05694299A priority Critical patent/JP4492829B2/ja
Publication of JP2000245978A publication Critical patent/JP2000245978A/ja
Application granted granted Critical
Publication of JP4492829B2 publication Critical patent/JP4492829B2/ja
Anticipated expiration legal-status Critical
Expired - Fee Related legal-status Critical Current

Links

Images

Landscapes

  • Dry Shavers And Clippers (AREA)

Description

【0001】
【発明の属する技術分野】
本発明は、内刃を水洗い清掃する際に使用するクリーニング用のキャップに特徴を有する電気かみそりに関する。
【0002】
【従来の技術】
内刃クリーニング時のキャップは、実開昭57−166506号公報や実開昭58−174068号公報に公知である。いずれも、かみそりヘッドに圧嵌係合されるキャップの内面にブラシを備えている。後者のキャップには、注水口と排水口とが設けてあって、内刃を駆動しながらキャップ内に水を流し込んで水洗い清掃できる。
【0003】
【発明が解決しようとする課題】
上記の水洗い式のキャップは、外刃用の保護キャップとは別部材であって、クリーニング専用になっている。従って常態では、かみそりヘッドから取り外して、かみそり本体とは別に収納保存される。そのため、キャップの所在を見失いやすい。このように、独立部品化されたクリーニング専用のキャップは、必用時に使えない不便がある。
【0004】
電気かみそりには外刃用の保護キャップが常装されているので、保護キャップがそのままクリーニング用に流用できれば、上記の不都合は解消できる。しかし、保護キャップは外刃の保護機能以外に、毛屑の飛散防止機能をも要する。例えば、かみそりヘッドが下を向いた状態で電源スイッチをオン操作すると、切断された毛屑が外刃から飛び散るので、こうした場合に毛屑の飛散を保護キャップで防ぐ必要がある。そのため、キャップの周壁に通水用の窓や開口を形成できない。従って、単に保護キャップの内部にブラシを付加しただけでは、これを水洗い式のクリーニングキャップに供し切れない。
【0005】
クリーニング専用のキャップでは、外刃ホルダーを取り外したのち、外刃ホルダーの嵌合構造をそのまま利用して、かみそりヘッドに装着する。これに対して保護キャップの場合には、外刃ホルダーを装着した状態のままでかみそりヘッドに装着する。つまり、クリーニング用のキャップと保護キャップとでは、それぞれの開口内縁に設けられる嵌合構造に違いがあるため、保護キャップをクリーニング用のキャップとして直ちに流用できる訳ではない。
【0006】
本発明の目的は、水洗いクリーニング用のキャップ機能と外刃保護用のキャップ機能とを兼ね備えており、かみそりヘッドに常時装着した状態で保管できるし、必要時には内刃を駆動しながら水洗い清掃をすることもできるクリーニング用キャップ付き電気かみそりを提供することにある。本発明の目的は、外刃ホルダーを取り外した後、キャップをかみそりヘッドに装着すると、キャップの通水口が自動的に開放できて取り扱いに便利な電気かみそりを得るにある。
【0007】
【課題を解決するための手段】
本発明は、図2に示すごとく、内刃6を支持するかみそりヘッド4に対して、外刃ホルダー10が着脱自在に装着してあり、別に外刃11を保護するキャップCが、かみそりヘッド4及び外刃ホルダー10に対して着脱自在に装着してある電気かみそりを対象とする。そのキャップCは、キャップ本体19と、キャップ本体19の内部に配置した清掃用のブラシ20とを備えている。かみそりヘッド4には、外刃ホルダー10用の第1嵌合部12と、外刃ホルダー10に設けたキャップC用の第2嵌合部17とを設けてある。キャップ本体19は、これら第1嵌合部12と第2嵌合部17とに対して択一的に装着できるようになっている。キャップ本体19の周壁には、図1に示すごとく洗浄水の出入りを許す通水口21を開口し、この通水口21を開閉する蓋22と、蓋22を開放状態と閉じ状態とに切り換え操作する蓋開閉具とが、キャップ本体19に設けたものとなっている。
【0008】
本発明の別の電気かみそりは、図8に示すように、内刃6を支持するかみそりヘッド4及び外刃ホルダー10に対して、外刃ホルダー10が着脱自在に装着してあり、外刃11を保護するキャップCがかみそりヘッド4及び外刃ホルダー10に対して着脱自在に装着されている。キャップCは、キャップ本体19と、キャップ本体19の内部に配置した清掃用のブラシ20とを備えている。キャップ本体19は、外刃ホルダー10に装着されたときに外刃11を保護する防護位置と、かみそりヘッド34に装着されたときに清掃用のブラシ20が内刃6に外接する清掃位置とに装着姿勢を変更できるよう、かみそりヘッド4及び外刃ホルダー10に対して装着可能に構成される。キャップ本体19の周壁には、洗浄水の出入りを許す通水口21を開口する。通水口21を開閉する蓋22と、蓋22を開放状態と閉じ状態とに切り換え操作する蓋開閉具とは、キャップ本体19に設ける。
【0009】
蓋開閉具は、図1に示すごとく蓋22の開閉動作に連動して往復変位する受動片26と、受動片26ないし蓋22を蓋閉じ方向へ変位付勢するばね部材27と、受動片26をばね部材27の付勢力に抗して蓋開放方向へ変位操作する操作具28とを含む。第1嵌合部12は第2嵌合部17より下方に設けて、キャップ本体19は、かみそりヘッド4に対して両嵌合部12・17の位置差寸法h分だけ深く係合できるようにする。そして、キャップ本体19をかみそりヘッド4に装着した状態において、かみそりヘッド4側の操作具28で位置差寸法hを利用して蓋22が受動片26を介して開放操作できるようにすることができる。
【0010】
蓋22および受動片26は一体に形成して、キャップ本体19に揺動自在に又は往復スライド自在に支持することができる。また、第1嵌合部12を第2嵌合部17より下方に設けて、キャップ本体19をかみそりヘッド4に対して、両嵌合部12・17の位置差寸法h分だけ深く係合可能とする。これによりキャップ本体19をかみそりヘッド4に装着した状態において、かみそりヘッド4側の操作具28で位置差寸法hを利用して蓋22が受動片26を介して開放操作できるように構成する。
【0011】
かみそりヘッド4の突端に、横軸まわりに回転駆動される内刃6を設け、キャップ本体19にブラシ20を内刃6の回転中心軸と平行な軸心まわりに回転自在に軸支する。内刃6を軸支するヘッドフレーム5の突端部5aを操作具28に利用し、この突端部5aで受動片26を介して蓋22を開放操作できるようにする。
【0012】
蓋開閉具としては、図10に示すごとくキャップ本体19に往復変位自在に支持し、以て蓋開閉具を手動で切り換え操作することにより、蓋22を開放状態と閉じ状態とに切り換え操作できるようにすることができる。
【0013】
【作用】
キャップ本体19は、外刃ホルダー10とかみそりヘッド4とに対して択一的に装着でき、通水口21を開閉するための蓋22は蓋開閉具で開閉切り換えできるようにしたので、キャップCを外刃ホルダー10に装着した状態においては、通水口21を蓋22で閉止しておける。キャップCをかみそりヘッド4に装着した状態においては、通水口21を開放できる。キャップ本体19をかみそりヘッド4に対して、防護位置と清掃位置とに装着姿勢を変更できるようにしたキャップCにおいても、同様に外刃11の保護と、水洗い時のキャップ機能を兼ねることができる。
【0014】
キャップ本体19をかみそりヘッド4に装着して、その内面に設けたブラシ20を内刃6に外接させるときの動作を利用して、受動片26をばね部材27の付勢力に抗して切り換え操作すると、キャップCをかみそりヘッド4に装着するだけで、蓋22が自動的に開放し、キャップCをかみそりヘッド4から取り外す動作に連動して、通水口21を蓋22で閉止できる。
【0015】
蓋22および受動片26がキャップ本体19に揺動自在に支持されていると、蓋22がキャップ本体19の周壁に対して内外に揺動して通水口21を開閉するので、通水口21の周囲壁と蓋22との間に毛屑が詰まって、蓋22が開閉し難くなるのを一掃できる。
【0016】
キャップ本体19に蓋22および受動片26を往復スライド自在に支持してあると、蓋22および受動片26がキャップ本体19の外面に突出するのを阻止できるので、通水口21を開放した状態において、キャップCが落下衝撃を受けるような場合にも、蓋22や受動片26が破損するのを防止できる。
【0017】
第1嵌合部12と第2嵌合部17とを上下段違い状に設け、両者の位置差寸法hの分だけキャップ本体19がかみそりヘッド4に対して深く係合されることを利用して蓋22を開放操作すると、水洗いを行う毎に蓋22を開閉する手間を省いて、キャップCの使い勝手を向上できる。
【0018】
横軸まわりに回動する内刃6を備えている電気かみそりにおいては、ブラシ20を回転自在に軸支しておくことによって、ブラシ20が内刃6とは逆向きに連れ回りし、内刃6の清掃をより効果的に行える。内刃6を軸支するヘッドフレーム5の一部を操作具28に利用して、これで受動片26を介して蓋22を開放操作すると、かみそりヘッド4に受動片26を操作するための構造を付加する必要がなく、その分だけ安価に製造できるうえ、既存の電気かみそりにもキャップCを支障なく適用できる。
【0019】
図10に示すごとく蓋開閉具を手動で切り換え操作して、蓋22を開閉するキャップCによれば、蓋開閉具の構造を簡素化して、その分だけキャップCの製造コストを抑止することができる。
【0020】
【実施例】
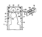
図1ないし図4は本発明に係る電気かみそりの第1実施例を示す。図2において、電気かみそりは、モータ1や電池2などを収容する本体部3を有し、左右幅が前後幅よりも大きい本体部3の上方にかみそりヘッド4が突設されている。かみそりヘッド4の上半側にはH字形のヘッドフレーム5を設け、これで内刃6を横軸まわりに回転可能に支持している。ヘッドフレーム5の左右の一方の腕と、かみそりヘッド4の内部とには、モータ1の回転動力を内刃6に伝えるギヤ伝動機構7を備えている。本体部3の一側には、モータ起動用のスイッチノブ8を有する。
【0021】
かみそりヘッド4に対して外刃ホルダー10が着脱自在に装着される。さらに、外刃ホルダー10に対してキャップCが着脱自在に装着できる。外刃ホルダー10の上部内面には外刃11がアーチ状に装着してある。外刃ホルダー10をかみそりヘッド4に装着すると、外刃11が内刃6に接する。
【0022】
かみそりヘッド4に外刃ホルダー10を装着した状態を維持するために、かみそりヘッド4の基端には突起状の第1嵌合部12を設け、かみそりヘッド4の左右両側面にロック爪13を設ける。第1嵌合部12は、外刃ホルダー10の下端開口に設けた連結穴14と実質的に同一の断面形状に形成してある。従って、連結穴14を第1嵌合部12に外嵌すると、かみそりヘッド4に外刃ホルダー10をぐらつきなく支持できる。
【0023】
ロック爪13は、かみそりヘッド4に出没可能に組み込まれていて、外方へ突出する向きに図外のばねで進出付勢してある。外刃ホルダー10をかみそりヘッド4に装着した状態においては、ロック爪13が外刃ホルダー10に設けた係合爪15と係合して、外刃ホルダー10が不用意にかみそりヘッド4から抜け出るのを阻止する。係合爪15は内外方向に揺動自在であり、係合爪15を内方へ押し込み操作すると、ロック爪13がばねに抗してヘッド内へ退入するので、この状態でのみ外刃ホルダー10をかみそりヘッド4から取り外すことができる。
【0024】
図3および図4においてキャップCは、常態において外刃ホルダー10に外嵌装着されて外刃11を保護し、さらに誤ってスイッチノブ8をオン操作した場合等に、切断された毛屑が外刃11から飛び散るのを防ぐ。必要時には、キャップCを外刃ホルダー10に代えてかみそりヘッド4に装着し、水洗い清掃用に供することができる。
【0025】
外刃ホルダー10にキャップCを装着した状態において、キャップCをぐらつきなく支持するために、外刃ホルダー10の下端開口縁寄りの外側には、第2嵌合部17を全周にわたって設ける。すなわち外刃ホルダー10には、図2に示すごとく先の連結穴14を囲む基端周壁18の上縁に段落ち部を設け、この段落ち部を含む上方が第2嵌合部17に設定してある。
【0026】
キャップCは、下向きに開口するキャップ本体19と、キャップ本体19の上方内奥に配置した清掃用のブラシ20と、キャップ本体19の前後面壁に開口した一対の通水口21と、各通水口21を開閉する蓋22と、蓋22を開閉操作する蓋開閉具などで構成されている。
【0027】
キャップCは外刃ホルダー10に装着できるし、外刃ホルダー10に代えてかみそりヘッド4にも装着できる。そのために、キャップ本体19の開口内面には、外刃ホルダー10の第2嵌合部17に密接嵌合する装着穴23を設ける。さらに、かみそりヘッド4に設けた第1嵌合部12と、外刃ホルダー10の第2嵌合部17とを実質的に共通形状にして、キャップ本体19の装着穴23を両嵌合部12・17のいずれにでも装着できるようにしてある。
【0028】
キャップ本体19をかみそりヘッド4に装着した状態においては、図4に示すごとくキャップ本体19を外刃ホルダー10に装着した場合に比べて、両嵌合部12・17の上下方向の位置差寸法hの分だけ、キャップ本体19をかみそりヘッド4に対して深く係合でき、この装着位置の差を利用して蓋22を蓋開閉具で開放操作する。なお、位置差寸法hは、基端周壁18の上下高さ寸法に一致している。
【0029】
ブラシ20は、ねじり合わされた数本のステンレス線材の間にブラシ毛の一群を挟持して円柱状に形成してあり、ステンレス線材を芯軸にして、その両端をキャップ本体19の軸受部24(図3参照)に回転自在に軸支する。このブラシ20の周面下半側と対向するキャップ本体19の前後壁には、通水口21が上下に位置ずれする状態で開口している。
【0030】
蓋開閉具は、図1に示すごとく前後の蓋22から内方に向けて片持ち状に一体形成した受動片26と、受動片26の先端どうしを連結して蓋閉じ方向へ変位付勢するためのばね部材27と、受動片26をばね部材27の付勢力に抗して蓋開放方向へ変位操作する操作具28とからなる。前側の受動片26は前面側の蓋22の左右両側端の上部に形成してあり、後ろ側の受動片26は後面側の蓋22の左右両側端の下部に形成してあり、各蓋22から両受動片26・26をこれらの先端どうしが前後対向状になるよう突設する。キャップ本体19に固定した軸31に各受動片26の突出基端を軸支することにより、各蓋22が軸31まわりに揺動可能に支持されており、これで前後の通水口21をそれぞれ開閉できる。但し、各蓋22の軸支位置は上下に異なるので、一方(前側)の蓋22の上端側がキャップ外面へ突出揺動するとき、他方(後ろ側)の蓋22の下端側がキャップ内面へ揺動して、それぞれ通水口21を開放する。
【0031】
操作部28はかみそりヘッド4側に設ける。この実施例では、ヘッドフレーム5の左右の突端部5aを操作具28に利用して、これで左右に位置する前後の両受動片26を同時に突き上げ操作できるようにした。つまり、キャップ本体19をかみそりヘッド4に装着すると、突端部5aが前後の受動片26に接当し、これをばね部材27の付勢力に抗して上方へ突き上げる。
【0032】
以上のように構成したキャップCは、常態においては外刃ホルダー10に装着されて、外刃保護用のキャップとして使用する。この状態では、図4に示すようにキャップ本体19の開口下端面が外刃ホルダー10の基端周壁18の段落ち面で受け止められるので、先の受動片26が外刃ホルダー10と接当することはなく、従って前後の各蓋22がばね部材27の弾発力で閉じ状態に保持される。
【0033】
内刃6を水洗い清掃する場合には、外刃ホルダー10をかみそりヘッド4から取り外して、内刃6を剥き出しにした後、キャップCをかみそりヘッド4に装着する。このときのキャップ本体19の装着穴23は、外刃ホルダー10の第2嵌合部17に係合した状態に比べて、位置差寸法hの分だけ下方の第1嵌合部12に深く係合する。そのため、受動片26がヘッドフレーム5の突端部5a(操作具28)で突き上げられて上方振動し、この変位によって前後の蓋22が開き操作される(図1参照)。また、ブラシ20の下側周面が内刃6に接する。
【0034】
上記の状態で、一方の通水口21から流水をキャップ本体19内へ流し込みながら、スイッチノブ8をオン操作して、内刃6を回転駆動すると、同時にブラシ20が内刃6の回転力を受けて、一部スリップしながら勢いよく回転する。このとき、ブラシ毛と内刃6の周面との相対摺動によって、刃溝や刃先等に付着の毛屑や皮脂等が掃き落とされる。
【0035】
かみそりヘッド4に嵌着したキャップ本体19には、ばね部材27の弾発力と内刃6の回転力、つまりかみそりヘッド4から抜け出る向きの力が作用する。この力に対抗して、キャップ本体19の装着状態を維持するために、キャップ本体19の前後壁の開口下端側の内面左右には、図1および図2に示すごとく装着穴23の間に係合爪33を突設し、さらに第1嵌合部12の前後面の基端部に係合爪33と係合する受部34を設けている。係合爪33は、キャップ本体19の前後面壁が撓み変形することによって、受部34に係脱できる。
【0036】
内刃6の水洗い清掃時に、内刃6に付着の水は、内刃6の回転力を受けて、回転方向下手側に位置する通水口21から勢いよく外に噴出しようとする。しかし、内刃6の周面から飛び散った水は、蓋22に当たって向きを変え、キャップ本体19の端部外面側へ向って飛ぶ。つまり本体部3から遠ざかる向きに排出される。従って、洗浄時に通水口21から跳ね出る水が使用者に散り掛かるのをよく防止できる。
【0037】
内刃6の水洗い清掃は、かみそりヘッド4あるいは電気かみそりの全体を水中に浸した状態で行ってもよい。この場合には、キャップ本体19の前後面壁に2個の通水口21が開口しているだけなので、キャップ内の空気が完全に抜け出るのにある程度の時間が掛かる。そのため、空気が抜け切るまでの間は、水と空気とが内刃6とブラシ20との回転力を受けて攪拌される。このときの空気の泡の破裂衝撃で内刃6やブラシ20の隅部等に付着した汚れを除去することができる。水中から取り出した後も、内刃6を引き続き回転駆動することにより、キャップ内の水が抜け出るまでの間は、同様にして空気の泡による清掃を行える。
【0038】
清掃終了後には、空気中で内刃6を回転駆動することにより、内刃6およびブラシ20の水気を切って、これらの乾燥を促進すればよい。この後に、外刃ホルダー10をキャップCと換装したうえで、キャップCを外刃ホルダー10に再装着して収納保管する。キャップ本体19をかみそりヘッド4から取り外すと、ばね部材27が働いて蓋22を閉じ状態に戻して通水口21を閉止できる。
【0039】
図5はキャップCに関する本発明の第2実施例を示しており、前後の受動変26をV字状のばね部材27で一体に連結し、このばね部材27をヘッドフレーム5の突端部5aで突き上げて、蓋22を開放できるようにした。なお、先の第1実施例と同等の部材には同じ符号を付して、その説明を省略する。以下の別実施例においても同じとする。
【0040】
図6はキャップCに関する本発明の第3実施例を示しており、前後の蓋22の上端寄りを軸31でそれぞれ軸支して、V字状の前記ばね部材27がヘッドフレーム5の突端部5aで突き上げ操作されたとき、前後の蓋22がそれぞれキャップ内面側へ揺動して通水口21を開放できるようにした。このキャップCによれば、蓋22をキャップ本体19の外郭線の内側に常時位置させることができるので、電気かみそりを取り落とすようなことがあっても、蓋22が落下衝撃を受けて破損するのをよく防止できる。
【0041】
図7はキャップCに関する本発明の第4実施例を示しており、断面コ字形の受動片26をキャップ本体19に上下スライド自在に案内支持し、前後の蓋22の両側端どうしを受動片26で繋いで蓋22と受動片26とを一体化する。そして受動片26は、左右一対の圧縮コイル形のばね部材27で押し下げ付勢してある。蓋22の下半側には、通水口21と同じ形状の通口22aを形成してあり、受動片26がヘッドフレーム5の突端部5aでばね部材27に抗して突き上げ操作されたとき、通口22aが通水口21の内面に位置するようにしてある。
【0042】
上記の実施例においては、キャップCと外刃ホルダー10を換装するときの位置差寸法hを利用してブラシ20を内刃6に外接させ、同時に蓋22を操作具28で開放操作したがその必要はない。図8および図9は第5実施例を示しており、かみそりヘッド4にキャップロック40を設け、外刃ホルダー10がかみそりヘッド4に装着されている状態と、外刃ホルダー10をかみそりヘッド4から取り外した状態とで、キャップロック40の状態を切り換え、これによりキャップCのかみそりヘッド4に対する係合深さを変えて、ブラシ20を内刃6に外接させ、同時に蓋22を開放操作することができる。
【0043】
キャップロック40は、外刃10用の第1嵌合部12の両側外面に配置されるカバー41と、カバー41で出退スライド自在に支持したロック片42と、ロック片42をカバー内方へ退入付勢するばね43とからなる。ロック片42の内端には、外刃ホルダー10の側端壁と接当して、ばね43の付勢力に抗してカバー外方へ押し出し操作されるカム片44が設けてある。外刃ホルダー10を第1嵌合部12に装着すると、ロック片42の外端の係合部45がカバー41の外面に突出する。そのため、キャップ本体19をかみそりヘッド4に装着すると、その両側下端に設けた切欠46がロック片42で受け止め係合されて、上方の防護位置に保持される。
【0044】
しかし、外刃ホルダー10をかみそりヘッド4から取り外すと、ロック片42がばね43の付勢力を受けてカバー内へ退入するので、キャップ本体19は、図9に示すように、防護位置より下方の清掃位置にまで深く係合される。この係合位置の違いでブラシ20を内刃6に外接させ、同時に蓋22を操作具28で開放操作する。なお、この実施例においては、先の実施例で説明した蓋開閉具を適用できる。
【0045】
上記の実施例においては、キャップCをかみそりヘッド4に装着する動作を利用して、蓋22を蓋開閉具で開放操作するようにしたが、蓋開閉具は手動で切り換え操作して蓋22を開閉してもよい。例えば、図10の第6実施例に示すごとく、キャップ本体19の外面に断面門形のスライドキャップ(蓋開閉具)35を上下スライド自在に装着し、その前後壁の一部を蓋22に利用して、蓋22の下側に通口22bを設ける。スライドキャップ35をキャップ本体19の上方へ手動でスライド操作すると、通口22bが通水口21の外面に位置して水を内部に導入できる。逆にスライドキャップ35を下方にスライド操作して、その上壁をキャップ本体19の上壁面に密着させると、通水口21を蓋22で閉止できる。なおスライドキャップ35は開状態と閉状態とにおいて、それぞれ図外の弾性係合手段で位置保持できるようにしてもよく、この場合は前記ばね部材27を省略することができる。
【0046】
上記以外に本発明は、往復動形の内刃を備えた電気かみそりや、縦軸まわりに回転する内刃を備えた電気かみそりにも適用できる。ブラシ20は必ずしも回転する必要はなく、キャップ本体19側に固定支持してあってもよい。
【0047】
【発明の効果】
本発明のキャップCは、外刃ホルダー10とかみそりヘッド4とに対してキャップ本体19を択一的に装着可能としたうえで、キャップ本体19に設けた通水口21を蓋開閉具で操作される蓋22によって開閉できるようにした。これによりクリーニング機能と、外刃保護機能を兼ね備えたキャップCが得られる。キャップCはかみそりヘッド4に常装した状態で保管しておけるので、その紛失を危惧することもなく、必要時にキャップCを用いて内刃6を水洗い清掃できる。
【0048】
キャップ本体19のかみそりヘッド4への装着動作を利用して、蓋22を蓋開閉具で開放できるようにすると、キャップCを外刃ホルダー10と換装するだけで蓋22を開放でき、しかもキャップCをかみそりヘッド4から取り外すだけで蓋22を閉じることができるので、水洗い清掃を行うごとに蓋22を開閉する手間が省ける。
【図面の簡単な説明】
【図1】水洗い時のキャップの縦断側面図である。
【図2】外刃ホルダーを取り外した状態での電気かみそりの正面図である。
【図3】キャップの正面図である。
【図4】外刃保護時のキャップの縦断側面図である。
【図5】第2実施例の縦断側面図である。
【図6】第3実施例の縦断側面図である。
【図7】第4実施例の縦断側面図である。
【図8】第5実施例の縦断正面図である。
【図9】第5実施例における水洗い時のキャップの縦断正面図である。
【図10】第6実施例の縦断側面図である。
【符号の説明】
4 かみそりヘッド
5 ヘッドフレーム
5a 突端部
6 内刃
10 外刃ホルダー
12 第1嵌合部
17 第2嵌合部
19 キャップ本体
20 ブラシ
21 通水口
22 蓋
23 装着穴
26 受動片
27 ばね部材
C キャップ
h 位置差寸法

Claims (8)

  1. 内刃(6)を支持するかみそりヘッド(4)に対して、外刃ホルダー(10)が着脱自在に装着してあり、
    外刃(11)を保護するキャップ(C)が、かみそりヘッド(4)及び外刃ホルダー(10)に対して着脱自在に装着されており、
    キャップ(C)は、キャップ本体(19)と、キャップ本体(19)の内部に配置した清掃用のブラシ(20)とを備えており、
    かみそりヘッド(4)に、外刃ホルダー(10)用の第1嵌合部(12)と、外刃ホルダー(10)に設けたキャップ(C)用の第2嵌合部(17)とを設けてあり、
    キャップ本体(19)が、第1嵌合部(12)と第2嵌合部(17)とに対して択一的に装着できるように構成されており、
    キャップ本体(19)の周壁には、洗浄水の出入りを許す通水口(21)が開口されており、
    通水口(21)を開閉する蓋(22)と、蓋(22)を開放状態と閉じ状態とに切り換え操作する蓋開閉具とが、キャップ本体(19)に設けてある電気かみそり。
  2. 内刃(6)を支持するかみそりヘッド(4)に対して、外刃ホルダー(10)が着脱自在に装着してあり、
    外刃(11)を保護するキャップ(C)がかみそりヘッド(4)及び外刃ホルダー(10)に対して着脱自在に装着されており、
    キャップ(C)は、キャップ本体(19)と、キャップ本体(19)の内部に配置した清掃用のブラシ(20)とを備えており、
    キャップ本体(19)は、外刃ホルダー(10)に装着されたときに外刃(11)を保護する防護位置と、かみそりヘッド(4)に装着されたときに清掃用のブラシ(20)が内刃(6)に外接する清掃位置とに装着姿勢を変更できるよう、かみそりヘッド(4)及び外刃ホルダー(10)に対して装着可能に構成されており、
    キャップ本体(19)の周壁には、洗浄水の出入りを許す通水口(21)が開口されており、
    通水口(21)を開閉する蓋(22)と、蓋(22)を開放状態と閉じ状態とに切り換え操作する蓋開閉具とが、キャップ本体(19)に設けてある電気かみそり。
  3. 蓋開閉具が、蓋(22)の開閉動作に連動して往復変位する受動片(26)と、受動片(26)ないし蓋(22)を蓋閉じ方向へ変位付勢するばね部材(27)と、受動片(26)をばね部材(27)の付勢力に抗して蓋開放方向へ変位操作する操作具(28)とを含み、
    キャップ本体(19)をかみそりヘッド(4)に装着した状態において、かみそりヘッド(4)側の操作具(28)で蓋(22)が受動片(26)を介して開放操作できるように構成してある請求項1又は2記載の電気かみそり。
  4. 蓋(22)および受動片(26)は、一体に形成されていてキャップ本体(19)に揺動自在に支持されている請求項3記載の電気かみそり。
  5. 蓋(22)および受動片(26)は、一体に形成されていてキャップ本体(19)に往復スライド自在に支持されている請求項3記載の電気かみそり。
  6. 第1嵌合部(12)は第2嵌合部(17)より下方に設けられていて、キャップ本体(19)はかみそりヘッド(4)に対して、両嵌合部(12・17)の位置差寸法(h)分だけ深く係合可能であり、
    キャップ本体(19)をかみそりヘッド(4)に装着した状態において、かみそりヘッド(4)側の操作具(28)で位置差寸法(h)を利用して蓋(22)が受動片(26)を介して開放操作できるように構成してある請求項3〜5のいずれかに記載の電気かみそり。
  7. かみそりヘッド(4)の突端に、横軸まわりに回転駆動される内刃(6)が設けられており、
    キャップ本体(19)に、ブラシ(20)が内刃(6)の回転中心軸と平行な軸心まわりに回転自在に軸支されており、
    操作具(28)が、内刃(6)を軸支するヘッドフレーム(5)の突端部(5a)であり、
    この突端部(5a)で受動片(26)を介して蓋(22)が開放操作される請求項3〜6のいずれかに記載の電気かみそり。
  8. 蓋開閉具が、キャップ本体(19)に往復変位自在に支持されており、
    蓋開閉具が手動で切り換え操作されて、蓋(22)を開放状態と閉じ状態とに切り換え操作できる請求項1又は2記載の電気かみそり。
JP05694299A 1999-03-04 1999-03-04 電気かみそり Expired - Fee Related JP4492829B2 (ja)

Priority Applications (1)

Application Number Priority Date Filing Date Title
JP05694299A JP4492829B2 (ja) 1999-03-04 1999-03-04 電気かみそり

Applications Claiming Priority (1)

Application Number Priority Date Filing Date Title
JP05694299A JP4492829B2 (ja) 1999-03-04 1999-03-04 電気かみそり

Publications (2)

Publication Number Publication Date
JP2000245978A JP2000245978A (ja) 2000-09-12
JP4492829B2 true JP4492829B2 (ja) 2010-06-30

Family

ID=13041610

Family Applications (1)

Application Number Title Priority Date Filing Date
JP05694299A Expired - Fee Related JP4492829B2 (ja) 1999-03-04 1999-03-04 電気かみそり

Country Status (1)

Country Link
JP (1) JP4492829B2 (ja)

Families Citing this family (4)

* Cited by examiner, † Cited by third party
Publication number Priority date Publication date Assignee Title
JP5419164B2 (ja) * 2010-01-15 2014-02-19 日立マクセル株式会社 電気かみそりのクリーニング装置
AU2011253740B2 (en) * 2011-11-17 2017-02-23 Luke O'neill A cleaning device
JP2016064299A (ja) * 2015-12-25 2016-04-28 パナソニックIpマネジメント株式会社 電気かみそり
CN114536411B (zh) * 2022-03-14 2025-09-02 浙江海顺电工有限公司 水洗式理发剪

Family Cites Families (7)

* Cited by examiner, † Cited by third party
Publication number Priority date Publication date Assignee Title
JPS5121919Y2 (ja) * 1971-05-18 1976-06-07
JPS58174069U (ja) * 1982-05-17 1983-11-21 九州日立マクセル株式会社 水洗い式電気かみそり
JPS58174068U (ja) * 1982-05-17 1983-11-21 九州日立マクセル株式会社 電気かみそり
JPS6063170U (ja) * 1983-09-30 1985-05-02 東芝テック株式会社 水洗い式電気かみそり
JPS60236681A (ja) * 1984-05-11 1985-11-25 松下電工株式会社 電気かみそり
JPS6118770U (ja) * 1984-07-10 1986-02-03 東芝テック株式会社 水洗い式電気かみそり
JPS6269979U (ja) * 1985-10-22 1987-05-02

Also Published As

Publication number Publication date
JP2000245978A (ja) 2000-09-12

Similar Documents

Publication Publication Date Title
US20110067241A1 (en) Nose hair trimmer
JP4492829B2 (ja) 電気かみそり
JP2013027502A (ja) 刃保護キャップおよび当該刃保護キャップが装着される電気かみそり
US7490409B2 (en) Head moving type electric razor
US20070233159A1 (en) Depilating device
CN217225630U (zh) 一种方便清理胡须渣的电动剃须刀
JP5520179B2 (ja) ヘアカッター
KR200466246Y1 (ko) 전기면도기의 탈부착 수염유입가이드
JP4017757B2 (ja) ロータリ式電気かみそり用の清掃具
JP5568420B2 (ja) 水洗い式の電気かみそり
JP6278750B2 (ja) 電気かみそり
JP4301419B2 (ja) 往復動型の電気かみそり
JP4179427B2 (ja) ロータリ式電気かみそり
JPS6243492Y2 (ja)
JP4382197B2 (ja) 水洗い式の電気かみそり
JP4301418B2 (ja) 往復動型の電気かみそり
JP2015173796A (ja) 電気かみそり
JP4893549B2 (ja) 脱毛装置
EP1800810B1 (en) Hair clipper
JPS592781Y2 (ja) 電気かみそり
JPS6322836B2 (ja)
JP5903651B2 (ja) 電気かみそり
JPS6192687A (ja) 電気かみそり
JP2569377Y2 (ja) 往復動式電気かみそり
JPH0271785A (ja) 往復動電気かみそり

Legal Events

Date Code Title Description
A621 Written request for application examination

Free format text: JAPANESE INTERMEDIATE CODE: A621

Effective date: 20060228

RD02 Notification of acceptance of power of attorney

Free format text: JAPANESE INTERMEDIATE CODE: A7422

Effective date: 20061029

RD02 Notification of acceptance of power of attorney

Free format text: JAPANESE INTERMEDIATE CODE: A7422

Effective date: 20070703

A977 Report on retrieval

Free format text: JAPANESE INTERMEDIATE CODE: A971007

Effective date: 20080910

A131 Notification of reasons for refusal

Free format text: JAPANESE INTERMEDIATE CODE: A131

Effective date: 20090415

A521 Request for written amendment filed

Free format text: JAPANESE INTERMEDIATE CODE: A523

Effective date: 20090604

TRDD Decision of grant or rejection written
A01 Written decision to grant a patent or to grant a registration (utility model)

Free format text: JAPANESE INTERMEDIATE CODE: A01

Effective date: 20100331

A01 Written decision to grant a patent or to grant a registration (utility model)

Free format text: JAPANESE INTERMEDIATE CODE: A01

A61 First payment of annual fees (during grant procedure)

Free format text: JAPANESE INTERMEDIATE CODE: A61

Effective date: 20100331

R150 Certificate of patent or registration of utility model

Free format text: JAPANESE INTERMEDIATE CODE: R150

FPAY Renewal fee payment (event date is renewal date of database)

Free format text: PAYMENT UNTIL: 20130416

Year of fee payment: 3

FPAY Renewal fee payment (event date is renewal date of database)

Free format text: PAYMENT UNTIL: 20130416

Year of fee payment: 3

S111 Request for change of ownership or part of ownership

Free format text: JAPANESE INTERMEDIATE CODE: R313111

FPAY Renewal fee payment (event date is renewal date of database)

Free format text: PAYMENT UNTIL: 20130416

Year of fee payment: 3

R350 Written notification of registration of transfer

Free format text: JAPANESE INTERMEDIATE CODE: R350

FPAY Renewal fee payment (event date is renewal date of database)

Free format text: PAYMENT UNTIL: 20130416

Year of fee payment: 3

FPAY Renewal fee payment (event date is renewal date of database)

Free format text: PAYMENT UNTIL: 20140416

Year of fee payment: 4

FPAY Renewal fee payment (event date is renewal date of database)

Free format text: PAYMENT UNTIL: 20140416

Year of fee payment: 4

R250 Receipt of annual fees

Free format text: JAPANESE INTERMEDIATE CODE: R250

R250 Receipt of annual fees

Free format text: JAPANESE INTERMEDIATE CODE: R250

LAPS Cancellation because of no payment of annual fees