JP4485345B2 - 排気ガス分析装置 - Google Patents

排気ガス分析装置 Download PDF

Info

Publication number
JP4485345B2
JP4485345B2 JP2004379610A JP2004379610A JP4485345B2 JP 4485345 B2 JP4485345 B2 JP 4485345B2 JP 2004379610 A JP2004379610 A JP 2004379610A JP 2004379610 A JP2004379610 A JP 2004379610A JP 4485345 B2 JP4485345 B2 JP 4485345B2
Authority
JP
Japan
Prior art keywords
exhaust gas
exhaust
sensor
hole
light
Prior art date
Legal status (The legal status is an assumption and is not a legal conclusion. Google has not performed a legal analysis and makes no representation as to the accuracy of the status listed.)
Expired - Fee Related
Application number
JP2004379610A
Other languages
English (en)
Other versions
JP2006184180A (ja
Inventor
正裕 山蔭
勝利 後藤
祥啓 出口
剛俊 山浦
Current Assignee (The listed assignees may be inaccurate. Google has not performed a legal analysis and makes no representation or warranty as to the accuracy of the list.)
Mitsubishi Heavy Industries Ltd
Toyota Motor Corp
Original Assignee
Mitsubishi Heavy Industries Ltd
Toyota Motor Corp
Priority date (The priority date is an assumption and is not a legal conclusion. Google has not performed a legal analysis and makes no representation as to the accuracy of the date listed.)
Filing date
Publication date
Application filed by Mitsubishi Heavy Industries Ltd, Toyota Motor Corp filed Critical Mitsubishi Heavy Industries Ltd
Priority to JP2004379610A priority Critical patent/JP4485345B2/ja
Publication of JP2006184180A publication Critical patent/JP2006184180A/ja
Application granted granted Critical
Publication of JP4485345B2 publication Critical patent/JP4485345B2/ja
Anticipated expiration legal-status Critical
Expired - Fee Related legal-status Critical Current

Links

Images

Landscapes

  • Investigating Or Analysing Materials By Optical Means (AREA)

Description

本発明は、自動車等の排気ガスの分析装置に係り、特に、エンジンの排気経路中に取り付けることで、排気経路中を通過する排気ガスの成分濃度や温度を計測可能な排気ガス分析装置に関する。
従来、この種の排気ガス分析装置として、例えば、特開2001−124674号公報(特許文献1)に記載のような、車載可能な排ガス分析計が知られている。この排ガス分析計は、エンジンの排気管内を流れる排ガスの濃度を測定するガス分析部と、排ガス濃度の測定部分よりも上流側の排気管に取り付けられて前記ガス分析部にて濃度測定可能であるトレーサガスを注入するトレーサガス注入部と、ガス分析部によって測定されたトレーサガスの測定濃度およびトレーサガスの注入濃度およびトレーサガスの注入流量から排ガス流量を求め、この排ガス流量とガス分析部によって同時に測定した測定対象成分の濃度とから排ガス中の測定対象成分の排出重量を連続的に求める演算処理部とを車内に搭載している。
また、他の排気ガス分析装置として、特開2004−117259号公報(特許文献2)に記載の車載型HC測定装置がある。この車載型HC測定装置は、エンジンに連なる排気管を流れる排ガス中のHC(炭化水素)濃度を連続的に測定するためのNDIR(非分散型赤外分光法)型ガス分析計と、排気管を流れる排ガスの流量を連続的に測定する排ガス流量計と、NDIR型ガス分析計および排ガス流量計のそれぞれの出力を演算処理して、排ガス中のTHC(全炭化水素)量を連続的に算出する演算処理回路を車両内に搭載可能としている。
さらに、NDIR(Non−Dispertive Infrared Analyzer)非分散型赤外分光法や、FID(Flame Ionization Detector)法や、CLD(Chemical Luminescence Detector)法等を用いた各種の排気ガスの計測装置や分析装置がある。これらの測定法は、すべての測定原理において、基準ガスが必要である。
特開2001−124674号公報 特開2004−117259号公報
一般に排気ガス測定装置は、測定に際して基準ガスが必要であり、多大なランニングコストが必要である。また、これらの化学分析を実施するには、排気ガス中の水分や汚れ(すす)を除去した後に測定を行う必要があり、分析する排気ガスをサンプリングし、希釈等の処置を施して分析を行う。このため、基準ガス、水分除去フィルタ、希釈ガスといった設備を含める必要があり、分析装置全体が大掛かりとなる。さらに、排気ガスをサンプリングするため時間遅れが生じ、排気ガスのリアルタイム分析ができない。
そして、前記特許文献1に記載の排ガス分析計は、前述のような課題を解決するものではなく、測定対象成分として、例えばCO/CO/NO/NO/HO/NH/HCHO等の濃度を測定し、測定濃度から瞬時排出重量を算出するものであり、排気ガス成分を分析するものではない。
また、前記特許文献2に記載の排気ガス分析装置は、実際の道路を走行中の車両において、その排ガス中のTHCを簡易に測定できるものであるが、エンジンの排気経路から排気ガスを分析部まで配管を通して移動させ、ガス成分の分析を行っているため、リアルタイムの分析が行えず、また、前述の設備等を小さく抑えるために、THCなどの限られた成分しか分析することができない。このため、排ガス中の炭化水素以外の成分、例えば窒素酸化物や一酸化炭素等についても簡易に測定できる排気ガス分析装置が望まれている。また、エンジンや、エンジンに付属する排気ガス浄化装置等の機器の開発段階において、排気ガスの成分やガス濃度等のリアルタイムでの測定が求められている。
本発明は、このような事情に鑑みてなされたものであって、その目的とするところは、測定に際して基準ガス、水分や汚れを除去するフィルタ、希釈ガス等の設備が不要であり、排気ガス分析が低コストで行える排気ガス分析装置を提供することにある。また、排気ガス中の例えば窒素酸化物や一酸化炭素等の多数の排気ガス成分についても、簡易にリアルタイムで測定できる排気ガス分析装置を提供することにある。さらに、構成が簡単であり、センサ部が小型であり、車両に容易に搭載できる排気ガス分析装置を提供することにある。
前記目的を達成すべく、本発明に係る排気ガス分析装置は、エンジンから排出される排気ガスの流通する排気経路中に複数箇所取り付けられ、前記排気ガス中の成分濃度を測定する複数のセンサ部を備えた排気ガス分析装置であって、前記センサ部が、前記排気ガスの通過する貫通孔と、前記貫通孔内にレーザ光を照射するレーザ光照射部と、前記レーザ光照射部から照射された光を受光する受光部と、を有しており、前記センサ部は、排気経路中を通過する排気ガスが前記貫通孔を通過するように取り付け可能であることを特徴としている。すなわち、貫通孔を通過する排気ガスにレーザ光を照射し、排気ガス中を透過したレーザ光を受光して排気ガス成分の濃度を算出し、排気ガスを分析する。
前記のごとく構成された本発明の排気ガス分析装置は、排気ガスが通過する貫通孔にレーザ光を照射し、排気ガス中を透過したレーザ光を受光部で受光し、受光されたレーザ光を基に排気ガス濃度を測定するため、基準ガス、水分や汚れを除去するフィルタ、希釈ガス等の設備を必要とせず、低コストで排気ガス分析を行うことができる。また、レーザ光を照射して排気ガス濃度を測定するため、高温での測定が可能となり、排気バルブから排出された直後の高温でのガス濃度の測定が可能となる。さらに、複数のセンサ部により測定するため、排気経路中の成分の濃度の変化や温度変化も合わせて測定することができる。
本発明に係る排気ガス分析装置の好ましい具体的な態様としては、前記レーザ光照射部は、複数種類の単波長レーザ光を合波したレーザ光を照射するものであることを特徴としている。このように構成された排気ガス分析装置は、複数の排気ガス成分に合わせて複数種類の単波長レーザ光を合波したレーザ光を用いているため、複数の排気ガス成分の濃度を同時に測定することができる。
また、本発明に係る排気ガス分析装置の好ましい具体的な他の態様としては、前記排気経路は、複数の管部材を接合して形成されており、前記センサ部の貫通孔の径が、前記管部材の内径と略等しい大きさに構成されるとともに、前記センサ部が、前記複数の管部材の接合部に取り付けられることを特徴としている。
このように構成された排気ガス分析装置は、排気経路を形成する複数の管部材を接合するときに、センサ部を管部材の接合部に取り付けることができるため、複数のセンサ部の取り付けが容易に行える。特に、管部材をフランジ部で接合すると、センサ部をフランジ部で挟んで取り付けることができて好ましい。また、管部材の内径とセンサ部の貫通孔の径が略等しいため、排気ガス流を乱すことがなく、圧力損失が少なく、円滑に排気することができる。
本発明の排気ガス分析装置は、測定時に、基準ガス、フィルタ、希釈ガス等の設備が必要でなく、装置構成を簡単にでき、排気ガス分析のコストを低減できる。また、排気ガス分析装置を構成するセンサ部の構成が簡単であり、排気管や触媒装置、マフラー等の排気経路を構成する複数の管部材の接合部に、複数のセンサ部を容易に設置することができる。さらに、精度の良いガス濃度測定がリアルタイムで行え、高温状態の排気ガスの分析が可能となる。
以下、本発明に係る排気ガス分析装置の一実施形態を図面に基づき詳細に説明する。図1は、本実施形態に係る排気ガス分析装置を自動車に搭載した要部構成図、図2は、図1の排気ガス分析装置をエンジンベンチに設置した状態の要部構成図、図3は、排気ガス分析装置のセンサ部の要部を示す斜視図と、センサ部の縦断面図、図4は、センサ部の断面図を含む排気ガス分析装置の要部構成図、図5は、レーザ発振・受光コントローラの要部構成および分析装置を含む排気ガス分析装置の全体構成を示すブロック図である。
図1〜5において、本実施形態の排気ガス分析装置は、自動車1に設置されたエンジン2から排出される排気ガスを分析する装置である。また、図2に示すように、エンジンベンチ1Aに設置されたエンジン2の排気ガスを分析する装置である。エンジン2の各気筒から排出される排気ガスは、エキゾーストマニホルド3で合流され、排気管4を通して触媒装置5に導入され、さらにサブマフラー6に導入され、そのあとメインマフラー7を通して排気パイプ8から大気中に放出される。排気経路は、エキゾーストマニホルド3、排気管4、触媒装置5、サブマフラー6、メインマフラー7、排気パイプ8を接合して形成され、エンジン1から排出された排気ガスを触媒装置5で浄化し、サブマフラー6、メインマフラー7により消音、減圧して大気中に放出する。
排気経路を構成する複数の部材は基本的にはパイプ状の管部材であり、フランジ部同士を対接させてボルト等で接続されている。例えば、触媒装置5は大径の本体部の上流、下流側に排気パイプ部が連結され、これらの排気パイプ部の端部にフランジ部F,Fが溶接等により固着されている。また、サブマフラー6は大径の本体部の上流、下流側に排気パイプ部が連結され、これらの排気パイプ部の端部にフランジ部F,Fが固着されている。なお、末端の排気パイプ8はメインマフラー7に直接溶接等により固着されている。
本実施形態の排気ガス分析装置10は、前記の排気経路中の複数箇所に取り付けられた複数のセンサ部11〜14を備えて構成される。第1のセンサ部11は触媒装置5より上流側のエンジン側の排気管4との間に設置され、第2のセンサ部12は触媒装置5の下流側に設置され、第3のセンサ部13はサブマフラー6の下流側に設置されている。そして、第4のセンサ部14はメインマフラー7の下流の排気パイプ8に設置されている。センサ部14は排気パイプの途中に設置されても、排気パイプの末端の開口部に挿入して設置するものでもよい。
排気管4や触媒装置5、サブマフラー6、メインマフラー7はフランジ部F,Fをボルトで締め付けることで連結されており、排気経路を構成する部材の間に設置されるセンサ部11,12,13は、フランジ部F,Fで挟まれた状態で設置されている。フランジ部F,Fは、排気経路を構成する部材の両端部に形成され、フランジ部同士の接合面は排気経路の中心線に対して直角に交差している。この結果、センサ部11〜13はフランジ部F,Fに挟まれて排気経路を横切るように設置される。第4のセンサ部14は排気ガスが大気中に放出される直前の分析を行うものであり、メインマフラー7から突出する排気パイプ8の中間部にフランジ部F,Fで挟んで設置してもよい。なお、センサ部の設置数は任意に設定すればよい。
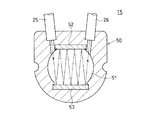
各センサ部11〜14は同一構成であり、1つのセンサ部11について図3,4を参照して説明する。センサ部11は厚さが10〜20mm程度の板材から形成されたセンサベース20を有し、中心部に排気パイプ部の内径と略同じ直径の貫通孔21が形成されている。貫通孔21は排気経路中を通過する排気ガスが通過する。貫通孔21の形状は、排気流れを乱さないように排気パイプ部の内径と同じ直径の円形が好ましい。板材としては金属板材やセラミック製の板材を用いているが、材質については特に問わない。板材には、板厚の中央を端面から貫通孔に向けて貫通する2つのセンサ孔22,23が形成されている。センサ孔は入口側が大径で、貫通孔側は小径となっており、貫通孔21に向けて開口している。
また、板状のセンサベース20に形成された貫通孔21の内面に反射面24が形成されている。したがって、円形の貫通孔の直径は排気パイプ部の直径と同じに形成され、円周面の内面が反射面24となっている。貫通孔21の内面を反射面とすることで、センサベースと別の反射部材としてミラー等が不要となり、構成を簡単にすることができると共に、貫通孔の形状が排気パイプ部の断面形状と同じにできるため、排気ガスの流れを乱すことがなく、圧力損失が少なく円滑に排気することができる。
貫通孔21の内面に形成された反射面24は鏡面仕上げされた円周面に形成され、この円周面に金やプラチナの薄膜が形成され、その上に保護層として、MgFやSiOの薄膜が形成されている。反射面24は、赤外レーザ光を効率良く反射できるように反射率が高いことが望ましい。反射面はエンジンの起動中は排気ガスに晒され、汚れが付着するため、必要に応じてフランジ部F,Fからセンサベース20を取外して清掃することが好ましい。反射面24を覆う保護層を拭くことにより、付着した汚れを容易に清掃することができ、反射率を向上させることができる。
センサ部11はレーザ光を照射する照射部として光ファイバ25がセンサ孔22に固定され、光ファイバ25から照射され貫通孔21内に存在する排気ガス中を透過したレーザ光を受光する受光部として、光ファイバ26がセンサ孔23に固定されている。すなわち、センサベース20には照射側の光ファイバ25と受光側の光ファイバ26が固定され、照射側の光ファイバ25から出射された赤外レーザ光は貫通孔21の内面に形成された反射面24で反射され、複数回の反射を繰り返したあと受光側の光ファイバ26に受光される構成となっている。この構成により、照射側の光ファイバ25から照射された赤外レーザ光は、貫通孔21内で反射面24により複数回反射され、長い光路長を経由して受光側の光ファイバ26で受光されるように構成され、貫通孔21内に位置する排気ガス中を長い透過距離で透過する構成となっている。なお、照射側の光ファイバ25と受光側の光ファイバ26とを直径方向に対向させ、光ファイバ25から照射されたレーザ光を反射させずに光ファイバ26で直接受光する構成でもよい。
センサベース20はフランジ部F,Fに挟まれた状態で固定され、フランジ部Fとセンサベース20との間にはガスケット27,27が挟まれた状態で図示していないボルト、ナット等により固定される。ガスケット27は石綿等で形成され、排気管の内径と同じ直径の貫通孔が開けられている。この構成により、フランジ部F,Fの間にセンサベース20を挟んで排気経路を接続しても、排気ガスが途中で漏れることはなく、排気経路の長さの増加も少ない。図3,4では、排気管4の下流端に溶接されたフランジ部Fと、触媒装置5の上流側の排気パイプ部5aの端部に溶接されたフランジ部Fとの間に、ガスケット27,27を挟んでセンサベース20が固定される構成である。
光ファイバ25,26はレーザ発振・受光コントローラ30に接続され、レーザ発振・受光コントローラ30から出射される赤外レーザ光が光ファイバ25を通してセンサベース20の貫通孔21内に照射され、反射面24で反射された赤外レーザ光が受光側の光ファイバ26で受光され、レーザ発振・受光コントローラ30に入力される構成となっている。レーザ発振・受光コントローラ30から出射された発光強度と、受光された受光強度等がフォトダイオードで検出され、分析装置であるパーソナルコンピュータ40に供給される。このように、排気ガス分析装置10は、複数のセンサ部11〜14と、レーザ発振・受光コントローラ30と、パーソナルコンピュータ40とを備えて構成される。
ここで、レーザ発振・受光コントローラ30について、図5を参照して説明する。レーザ発振・受光コントローラ30は、複数の波長の赤外レーザ光を照射する照射装置として、複数のレーザダイオードLD1〜LD5にファンクションジェネレータ等の信号発生器31から複数の周波数の信号を供給し、レーザダイオードLD1〜LD5は各周波数に対応してそれぞれ複数の波長の赤外レーザ光を照射する。レーザ発振・受光コントローラ30の信号発生器31から出力される複数の周波数の信号がレーザダイオードLD1〜LD5に供給されて発光し、例えば波長が1300〜1700nm程度の赤外レーザ光が用いられる。
排気ガス中を透過させる赤外レーザ光の波長は、検出する排気ガス成分に合わせて設定され、一酸化炭素(CO)、二酸化炭素(CO)、アンモニア(NH)、メタン(CH)、水(HO)を検出する場合は、5つの波長の赤外レーザ光を使用する。例えば、アンモニアを検出するのに適した波長は1530nmであり、一酸化炭素を検出するのに適した波長は1560nmであり、二酸化炭素を検出するのに適した波長は1570nmである。また、メタンを検出するのに適した波長は1680nmであり、水を検出するのに適した波長は1350nmである。このように、排気ガス中を透過させる赤外レーザ光は、複数種類の単波長レーザ光を合波したレーザ光を使用することが好ましい。さらに、他の排気ガス成分のガス濃度を検出する場合は、排気ガス成分の数に合わせて異なる波長の赤外レーザ光を使用する。
各レーザダイオードLD1〜LD5から照射されたレーザ光は光ファイバ32…により分波器33…を通して、参照光と測定光に分けられる。そして、5つの分波器33…で分けられた測定光は光ファイバ34Aを通して合波器35で合波され、光ファイバ25を通してセンサ部11〜14の照射部に導光される。照射側の光ファイバ25に入射されるレーザ光は、排気ガスの複数の成分に合わせて複数の波長のレーザ光を合波した赤外レーザ光となっている。また、5つの分波器33…で分けられた参照光は光ファイバ34Bを通して合波器36で合波される。
センサ部11〜14の受光部に接続された受光側の光ファイバ26は分波器37に接続され、光ファイバ38を通して複数の波長に分けられて受光装置としてのフォトダイオードPD1〜PD5に導光され、排気ガス中を透過して減衰した赤外レーザ光を受光する構成となっている。フォトダイオードPD1〜PD5の出力は、例えば図示していないプリアンプで増幅され、A/D変換器を介して分析装置であるパーソナルコンピュータ40に入力される。また、5つの分波器33…で分けられた参照用レーザ光は合波器36で合波され、光ファイバ39を通してフォトダイオードPD6に導光されパーソナルコンピュータ40に入力される。なお、フォトダイオードPD1〜PD5を使用せず、受光された赤外レーザ光は1つのフォトダイオードに導光され、フォトダイオードの出力がパーソナルコンピュータにて複数の波長に分けられて演算を行うように構成してもよい。
本発明の排気ガス分析装置10は、例えば赤外レーザ光を排気ガス中に透過させ、入射光の強度と排気ガス中を透過したあとの透過光の強度に基づいて排気ガスの濃度を算出し、排気ガスを分析するものである。すなわち、排気ガスの濃度Cは、以下の数式(1)から算出される。
C=−ln(I/I)/kL…(1)
この数式(1)において、Iは透過光強度、Iは入射光強度、kは吸収率、Lは透過距離である。したがって、参照光である入射光強度(I)に対する透過光強度(I)の比、シグナル強度(I/I)に基づいてガス濃度Cは算出される。透過光強度Iは、光ファイバ26を通してフォトダイオードPD1〜PD5から出力され、入射光強度Iは、光ファイバ39を通してフォトダイオードPD6から出力される。
前記の如く構成された本実施形態の排気ガス分析装置10の動作について以下に説明する。排気ガスのガス濃度を測定するときは、レーザ発振・受光コントローラ30の信号発生器31を作動させて各レーザダイオードLD1〜LD5に信号を供給して各レーザダイオードLD1〜LD5から所定の波長の赤外レーザ光を発光させる。各レーザダイオードLD1〜LD5から発光された赤外レーザ光は、光ファイバ32…を通して分波器33…に至り、ここで測定光と参照光に分波される。各分波器で分波された測定光は光ファイバ34Aを通して合波器35で合波されて測定用レーザ光となり、センサ部11〜14の照射部に光ファイバ25を通して導光される。また、各分波器で分波された参照光は光ファイバ34Bを通して合波器36で合波されて参照用レーザ光となる。
そして、センサ部の光ファイバ25から照射された測定用レーザ光は、排気ガスが通過している貫通孔21内に照射される。測定用レーザ光は反射面24で反射されることを繰り返して受光部に到達する。なお、図5では、測定用レーザ光が反射面で反射され、光路長が長くなることを示しておらず、破線で略記している。排気ガス中を通り減衰して受光部に到達した測定用レーザ光は光ファイバ26を通って分波器37に導入され、複数の波長成分に合わせて分波される。そして、分波されたあと光ファイバ38を通して測定用フォトダイオードPD1〜PD5に特定の波長に合わせて受光される。また、参照用レーザ光は光ファイバ39を通して参照用フォトダイオードPD6に受光される。このようにして、フォトダイオードPD1〜PD6の出力が分析装置であるパーソナルコンピュータ40に入力される。パーソナルコンピュータ40は、入力されたフォトダイオードPD1〜PD6の出力に基づいて、排気ガスの濃度測定や温度測定を実施して分析する。
センサ部11〜14から照射された測定用の赤外レーザ光は、貫通孔21内の排気ガス中を透過して減衰され、反射面24で反射されて再度排気ガス中を透過することでさらに減衰される。このように反射が繰り返されることで光路長が長くなり、排気ガス中の透過距離が長くなることで減衰量が大きくなるため、精度の良い瞬時のガス濃度測定が可能となる。このように参照レーザ光の光強度Iと、測定用レーザ光の透過光強度Iとの比(I/I)であるシグナル強度を算出し、このシグナル強度比に基づいてガス濃度を算出する。シグナル強度は30%以上となることが好ましい。
気体は、それぞれ固有の吸収波長帯を持っており、その吸収波長帯には、例えば図6に示すように、多くの吸収線が存在している。図6aは低温のときのシグナル強度(=分子数割合)を示しており、図6bは高温のときのシグナル強度を示している。このように、シグナル強度は温度に依存して変化するため、シグナル強度比を計測することにより、測定時の排気ガスの温度を算出することができる。
そして、図7に示すように、吸収線のうちの1本、例えば波長λ1に対してレーザ光の発振波長を掃引することによって吸収を測定する。この波形と参照レーザ光の波形との比をとることによって、スペクトルプロファイルを測定する。また、温度計測は、前記のスペクトルプロファイルを異なる2つの吸収線λ1、λ2について計測し、それらの面積比A1/A2(またはピークの高さの比P1/P2)をとることにより求めることができる。従来の波長変調法では、図7aに示すように、吸収スペクトルピークの先端の曲率により濃度を算出していたが、本発明では、図7bに示すように、吸収スペクトルの面積により濃度を算出するため、圧力の影響を受けにくいガス濃度の算出が可能となる。
本実施形態の排気ガス分析装置10では、エンジン2の排気経路の複数箇所で排気ガスのガス濃度や温度をリアルタイムで測定することができ、エンジンから排出された直後の排気ガスの温度やガス濃度、触媒装置5、サブマフラー6、メインマフラー7を通過したあとの排気ガスの温度やガス濃度、排気パイプ8から大気中に放出される直前の排気ガスの状態等を瞬時に測定できる装置である。このため、エンジンの開発や、エンジンに付属する浄化装置等の開発において、排気経路の途中個所での排気ガス濃度を測定できるため、タイムリーな測定ができて開発期間を大幅に短縮できる。そして、測定に際して基準ガスが必要なく、低コストで排気ガス分析が行える。
また、本実施形態の排気ガス分析装置10は小型で、排気経路に容易に設置できるため、自動車等に容易に車載することができる。すなわち、排気経路に固定されるセンサ部11〜14は板状のセンサベース20が薄型に構成されており、排気経路の流体抵抗等の変化がほとんど無い状態で設置できる。この排気ガス分析装置10は高温状態でも測定できるため、エンジン2から排出された直後の排気ガスの温度やガス濃度を測定して、排気ガスを分析することができる。また、レーザ光の波長を増やすことにより、さらに排気ガス中に含まれる多成分の分析が容易に行える。
本発明の他の実施形態を図8に基づき詳細に説明する。図8は本発明に係る排気ガス分析装置に使用するセンサ部の他の実施形態の要部断面図である。なお、この実施形態は前記した実施形態に対し、センサ部の赤外レーザ光を反射する反射面が異なることを特徴とする。すなわち、赤外レーザ光を反射する反射面は、対向して配置した2枚の反射板から構成され、2枚の反射板間で反射を繰り返すように構成している。そして、他の実質的に同等の構成については同じ符号を付して詳細な説明は省略する。
図8において、この実施形態では、センサ部15のセンサベース50には、その中心部に排気ガスを通過させる貫通孔51が形成され、貫通孔51内には、対向して上下2枚の反射板52,53が固定されている。2枚の反射板は平行状態に固定され、照射側の光ファイバ25から出射される赤外レーザ光が先ず下方の反射板53により上方に向けて反射され、次いで上方の反射板52により下方に向けて反射され、2枚の反射板52,53により交互に反射されることで、受光側の光ファイバ26に到達するように構成されている。センサベース50の厚さは、前記の実施形態と同様に10〜20mmの薄い板材が使用されており、材質は金属あるいはセラミックが好ましい。このセンサベース50は、図示していないフランジ部F,Fに挟まれて固定されるものであり、外形の左右の半円状の切欠きはフランジ部同士を接続するボルトに対応している。
照射側の光ファイバ25は、反射板の垂直線に対して、例えば6度程度外側に傾斜して固定され、受光側の光ファイバ26も同様に6度程度外側に傾斜して固定されている。2つの光ファイバ25,26と2枚の反射板52,53が傾斜状態に配置されることで、照射側の光ファイバ25から出射された赤外レーザ光は上下の反射板で交互に反射されることを繰り返し、最終的に赤外レーザ光は排気ガス中を長い光路長で透過して受光側の光ファイバ26に受光されるように構成されている。この結果、中央の貫通孔の直径が50mm程度とすると、赤外レーザ光は9回反射を繰り返して光路長は約450mm程度の長いものとなり、排気ガス中を透過して減衰量が大きくなる。
反射板52,53は長方形状の平板に形成され、ベースとなる基板は熱膨張の小さいSiCあるいはSiOが用いられる。この基板に反射面として金やプラチナの薄膜が形成され、その上に保護層として、MgFやSiOの薄膜が形成されている。本実施形態では、反射板52,53はセンサベース50に接着等により固定されているが、反射板はエンジンの起動中は排気ガスに晒され汚れが付着するため、取外して清掃できるように、ねじ止め、あるいはばね等による固定で着脱可能に固定すると好適である。
この実施形態に示すセンサ部15では、照射部である光ファイバ25から照射された赤外レーザ光は対向する反射板52,53で交互に反射が繰り返され、光路長が長くなって排気ガス中のレーザ光の透過距離を大きくすることができる。この構成によれば、赤外レーザ光は排気ガス中を透過する距離が長くなり減衰を大きくできるため、精度の良いガス濃度測定が瞬時に行える。また、反射板が平板であり、作製が容易で、センサベースからの着脱や交換が容易に行える。
本発明の排気ガス分析装置のセンサ部は、図9に示すセンサ部16のように、エンジン2のシリンダヘッド2aとエキゾーストマニホルド3との間に、設置することができる。なお、図9では1つのセンサ部16のみを拡大して示しているが、4気筒の場合は4つの排気孔2bに対して4つのセンサ部16を設置する。センサ部16のセンサベース55は、その両面にガスケットが対接した状態でシリンダヘッド2aとエキゾーストマニホルド3との間に挟まれて固定される。エキゾーストマニホルド3はエンジン2の各気筒から排出される排気ガスを合流して排気管4に送る機能を有している。
エキゾーストマニホルド3は、シリンダヘッド2aにボルト等により上流側のフランジ部3aが固定される。また、エキゾーストマニホルド3の他端側は排気管4に連結するためのフランジ部3bが形成されている。センサ部16のセンサベース55には照射側の光ファイバ25と受光側の光ファイバ26が固定され、光ファイバ25,26はレーザ発振・受光コントローラ30に接続される。センサ部16を構成する長方形のセンサベース55には長方形の貫通孔56が形成され、貫通孔の上下面に形成された反射面で測定用の赤外レーザ光が交互に反射され、光路長が長くなるように構成されている。
前記した排気ガス分析装置のセンサ部11〜14と別のセンサ部16は、エキゾーストマニホルド3の上流側のフランジ部3aと、シリンダブロック2aとの間に挟まれた状態で設置される。このように設置されたセンサ部16によれば、エンジン2から排出された直後の排気ガスがエキゾーストマニホルド3で合流される前の段階で、排気ガスの温度やガス濃度を測定することができる。このようにセンサ部16を設置すると、エンジン2の各気筒から排出される排気ガスの温度やガス濃度を直接測定することができ、気筒ごとに排出される排気ガスを分析できるため、エンジンの燃焼状態を気筒ごとに確認することができる。
また、センサ部のセンサベースに形成された貫通孔の形状は円形や長方形に限らず、図10に示すように多角形状でもよい。この場合は、センサ部17を構成するセンサベース60には5角形の貫通孔61が形成され、5角形を構成する各平面に形成された反射面62で順次、赤外レーザ光を反射して、排気ガス中を透過するレーザ光の透過距離を長くすることができる。貫通孔の形状は図示の5角形に限らず、さらに面数を増やして排気ガス中の透過距離を増加させることができる。センサベースの外形は円形に限らず、長方形等、適宜の形状とすることができる。また、レーザ光の反射面による反射回数は限定されず、多角形で形成された貫通孔の内面で多数回反射させて、透過距離を長くすることができる。
以上、本発明の実施形態について詳述したが、本発明は、前記の実施形態に限定されるものではなく、特許請求の範囲に記載された本発明の精神を逸脱しない範囲で、種々の設計変更を行うことができるものである。例えば、排気ガスの成分として、窒素酸化物(NOx)の測定を行うこともできる。この場合は、排気ガス中を透過させる赤外レーザ光として、NOxに適した波長(例えば1800nm)を用いることは勿論である。また、照射部から照射されるレーザ光は赤外レーザ光に限られず、可視レーザ光や紫外レーザ光でもよい。
センサ部のセンサベースに光ファイバを介してレーザ光の照射部と受光部を備える例を示したが、センサベースに直接レーザダイオード等の照射部やフォトダイオード等の受光部を装着してレーザ光の照射部および受光部としてもよい。この場合は、光ファイバが不要となり、レーザダイオードに信号を入力する入力信号線と、フォトダイオードから出力される出力信号線が必要となる。また、反射面として、金やプラチナの薄膜を形成する例を示したが、酸化チタン等の薄膜を形成してもよく、耐熱性に優れ、鏡面加工できるものであれば材質は特定されない。
本発明の活用例として、この排気ガス分析装置を用いてボイラー等の燃焼装置の排気ガス分析を行うことができ、自動車の排気ガス分析の他に船舶等で使用する内燃機関の排気ガス分析の用途にも適用できる。
本発明に係る排気ガス分析装置を車両に搭載した一実施形態の要部構成図。 本発明に係る排気ガス分析装置をエンジンベンチに搭載した他の実施形態の要部構成図。 (a)はセンサ部の要部を示す分解斜視図、(b)は(a)の要部断面図。 センサ部の断面図を含む排気ガス分析装置の要部構成図。 レーザ発振・受光コントローラの要部構成および分析装置を含む排気ガス分析装置の全体構成を示すブロック図。 吸収スペクトルの圧力の影響を示し、(a)は低温のときのシグナル強度の説明図、(b)は高温のときのシグナル強度の説明図。 (a)は従来の吸収スペクトルからガス濃度を算出する説明図、(b)は本発明の吸収スペクトルからガス濃度を算出する説明図。 本発明に係る排気ガス分析装置に使用するセンサ部の他の実施形態の要部断面図。 センサ部をエキゾーストマニホルドとシリンダブロックとの間に装着する実施形態の要部を分解した斜視図。 センサ部のさらに他の実施形態を示す要部断面図。
符号の説明
1:自動車、1A:エンジンベンチ、2:エンジン、2a:シリンダヘッド、3:エキゾーストマニホルド(排気経路)、3a:フランジ部、4:排気管(排気経路)、5:触媒装置(排気経路)、6:サブマフラー(排気経路)、7:メインマフラー(排気経路)、8:排気パイプ(排気経路)、10:排気ガス分析装置、11〜17:センサ部、20,50,55,60:センサベース、21,51,56,61:貫通孔、24,62:反射面、25:光ファイバ(発光部)、26:光ファイバ(受光部)、30:レーザ発振・受光コントローラ、31:信号発生器、35,36:合波器、37:分波器、40:パーソナルコンピュータ(分析装置)、52,53:反射板、LD1〜LD5:レーザダイオード(発光部)、PD1〜PD6:フォトダイオード(受光部)、F:フランジ部

Claims (3)

  1. エンジンから排出される排気ガスの流通する排気経路中に複数箇所取り付けられ、前記排気ガス中の成分濃度を測定する複数のセンサ部を備えた排気ガス分析装置であって、
    前記センサ部が、前記排気ガスの通過する貫通孔と、前記貫通孔内にレーザ光を照射するレーザ光照射部と、前記レーザ光照射部から照射された光を反射する反射面又は反射板を前記貫通孔の内周に設け、前記反射面又は反射板で反射された光を受光する受光部と、を有しており、
    前記センサ部は、排気経路中を通過する排気ガスが前記貫通孔を通過するように取り付け可能であり、前記排気経路は、複数の管部材を接合して形成されており、前記センサ部の貫通孔の径が、前記管部材の内径と略等しい大きさに構成されるとともに、前記センサ部が、前記複数の管部材の端部に設けられたフランジ部に挟まれて取付けられる排気ガス分析装置。
  2. 前記反射板は、2枚の反射板から構成され、2枚の反射板間で前記レーザ光の反射を繰り返すように構成してあることを特徴とする請求項1に記載の排気ガス分析装置。
  3. 前記レーザ光照射部は、複数種類の単波長レーザ光を合波したレーザ光を照射するものであることを特徴とする請求項1に記載の排気ガス分析装置。
JP2004379610A 2004-12-28 2004-12-28 排気ガス分析装置 Expired - Fee Related JP4485345B2 (ja)

Priority Applications (1)

Application Number Priority Date Filing Date Title
JP2004379610A JP4485345B2 (ja) 2004-12-28 2004-12-28 排気ガス分析装置

Applications Claiming Priority (1)

Application Number Priority Date Filing Date Title
JP2004379610A JP4485345B2 (ja) 2004-12-28 2004-12-28 排気ガス分析装置

Publications (2)

Publication Number Publication Date
JP2006184180A JP2006184180A (ja) 2006-07-13
JP4485345B2 true JP4485345B2 (ja) 2010-06-23

Family

ID=36737405

Family Applications (1)

Application Number Title Priority Date Filing Date
JP2004379610A Expired - Fee Related JP4485345B2 (ja) 2004-12-28 2004-12-28 排気ガス分析装置

Country Status (1)

Country Link
JP (1) JP4485345B2 (ja)

Families Citing this family (18)

* Cited by examiner, † Cited by third party
Publication number Priority date Publication date Assignee Title
CN101147054B (zh) 2005-04-28 2011-06-08 丰田自动车株式会社 排气分析装置
JP4199766B2 (ja) 2005-12-16 2008-12-17 トヨタ自動車株式会社 排ガス分析方法および排ガス分析装置
JP4594277B2 (ja) 2006-05-31 2010-12-08 トヨタ自動車株式会社 排ガス分析装置におけるセンサユニット
JP4732277B2 (ja) 2006-08-23 2011-07-27 トヨタ自動車株式会社 ガス分析装置及びガス分析方法
JP4906477B2 (ja) * 2006-11-06 2012-03-28 トヨタ自動車株式会社 ガス分析装置及びガス分析方法
JP5259950B2 (ja) * 2006-12-14 2013-08-07 三菱重工業株式会社 排気ガス分析用の演算処理装置、及び、排気ガス分析方法
JP4879053B2 (ja) * 2007-03-20 2012-02-15 トヨタ自動車株式会社 排ガス分析装置
JP4949999B2 (ja) * 2007-11-05 2012-06-13 トヨタ自動車株式会社 排ガス分析装置
JP5339179B2 (ja) * 2008-06-20 2013-11-13 住友電気工業株式会社 赤外線検知式ガスセンサおよびそれを用いた排気ガス浄化装置
JP2010174863A (ja) * 2009-02-02 2010-08-12 Yamaha Motor Co Ltd 内燃機関、輸送機器およびリング状部材
JP5270455B2 (ja) * 2009-05-29 2013-08-21 トヨタ自動車株式会社 排ガス分析装置
JP2014032068A (ja) * 2012-08-02 2014-02-20 Koptic Inc ガス濃度測定装置
JP2014163237A (ja) * 2013-02-21 2014-09-08 Kobelco Contstruction Machinery Ltd 建設機械の排気管構造
KR101518968B1 (ko) * 2014-03-28 2015-05-11 (주)켄텍 운행 중인 차량의 배기가스 실시간 측정 장치
JP7551624B2 (ja) * 2019-01-16 2024-09-17 インドリオ テクノロジーズ インコーポレイテッド レーザーを用いた現場排気ガスセンサ
CN110553986A (zh) * 2019-08-26 2019-12-10 国网吉林省电力有限公司四平供电公司 一种多功能sf6气体中分解产物各组分的综合分析仪
JP7357918B2 (ja) * 2019-10-28 2023-10-10 ゼネラルパッカー株式会社 包装袋内のガス濃度測定装置
CN114324191A (zh) * 2022-01-07 2022-04-12 柳州职业技术学院 一种基于智能控制的气味测定系统

Family Cites Families (7)

* Cited by examiner, † Cited by third party
Publication number Priority date Publication date Assignee Title
JPH02280032A (ja) * 1989-04-20 1990-11-16 Agency Of Ind Science & Technol 排気煙処理装置の連続評価装置
JPH0843305A (ja) * 1994-07-29 1996-02-16 Nippon Kagaku Kogyo Kk 煙濃度測定装置
JP2001066250A (ja) * 1999-08-30 2001-03-16 Toyota Central Res & Dev Lab Inc ガス検出装置
JP2001159605A (ja) * 1999-12-01 2001-06-12 Nippon Sanso Corp レーザー分光分析装置及び分析方法
JP2003014637A (ja) * 2001-06-29 2003-01-15 Ishikawajima Harima Heavy Ind Co Ltd So3濃度計測装置
JP2003042950A (ja) * 2001-07-25 2003-02-13 Oyo Kogaku Kenkyusho ガス成分測定装置
JP2003232731A (ja) * 2002-02-06 2003-08-22 Horiba Ltd スモーク測定システム

Also Published As

Publication number Publication date
JP2006184180A (ja) 2006-07-13

Similar Documents

Publication Publication Date Title
JP4673887B2 (ja) 排ガス分析装置
JP4485345B2 (ja) 排気ガス分析装置
JP4227991B2 (ja) 排ガス分析装置および排ガス分析方法
JP4199766B2 (ja) 排ガス分析方法および排ガス分析装置
JP4732277B2 (ja) ガス分析装置及びガス分析方法
JP4713227B2 (ja) 排ガス分析装置および排ガス分析方法
JP2009243968A (ja) 排ガス分析装置および排ガス分析方法
JP4781039B2 (ja) ガス分析装置
JP4566070B2 (ja) 排ガス分析装置
JP5038923B2 (ja) 排ガス分析装置
JP4490333B2 (ja) 排ガス分析装置
WO2007119872A1 (ja) 排ガス分析装置
JP4949999B2 (ja) 排ガス分析装置
JP4878981B2 (ja) ガス分析装置

Legal Events

Date Code Title Description
A621 Written request for application examination

Free format text: JAPANESE INTERMEDIATE CODE: A621

Effective date: 20070301

A977 Report on retrieval

Free format text: JAPANESE INTERMEDIATE CODE: A971007

Effective date: 20090417

A131 Notification of reasons for refusal

Free format text: JAPANESE INTERMEDIATE CODE: A131

Effective date: 20090428

A521 Request for written amendment filed

Free format text: JAPANESE INTERMEDIATE CODE: A523

Effective date: 20090629

A131 Notification of reasons for refusal

Free format text: JAPANESE INTERMEDIATE CODE: A131

Effective date: 20091027

A521 Request for written amendment filed

Free format text: JAPANESE INTERMEDIATE CODE: A523

Effective date: 20091224

TRDD Decision of grant or rejection written
A01 Written decision to grant a patent or to grant a registration (utility model)

Free format text: JAPANESE INTERMEDIATE CODE: A01

Effective date: 20100316

A01 Written decision to grant a patent or to grant a registration (utility model)

Free format text: JAPANESE INTERMEDIATE CODE: A01

A61 First payment of annual fees (during grant procedure)

Free format text: JAPANESE INTERMEDIATE CODE: A61

Effective date: 20100324

R151 Written notification of patent or utility model registration

Ref document number: 4485345

Country of ref document: JP

Free format text: JAPANESE INTERMEDIATE CODE: R151

FPAY Renewal fee payment (event date is renewal date of database)

Free format text: PAYMENT UNTIL: 20130402

Year of fee payment: 3

FPAY Renewal fee payment (event date is renewal date of database)

Free format text: PAYMENT UNTIL: 20130402

Year of fee payment: 3

FPAY Renewal fee payment (event date is renewal date of database)

Free format text: PAYMENT UNTIL: 20140402

Year of fee payment: 4

R250 Receipt of annual fees

Free format text: JAPANESE INTERMEDIATE CODE: R250

R250 Receipt of annual fees

Free format text: JAPANESE INTERMEDIATE CODE: R250

R250 Receipt of annual fees

Free format text: JAPANESE INTERMEDIATE CODE: R250

R250 Receipt of annual fees

Free format text: JAPANESE INTERMEDIATE CODE: R250

R250 Receipt of annual fees

Free format text: JAPANESE INTERMEDIATE CODE: R250

S111 Request for change of ownership or part of ownership

Free format text: JAPANESE INTERMEDIATE CODE: R313117

R350 Written notification of registration of transfer

Free format text: JAPANESE INTERMEDIATE CODE: R350

LAPS Cancellation because of no payment of annual fees