JP4470397B2 - 商品陳列棚システムおよび情報表示プログラム - Google Patents

商品陳列棚システムおよび情報表示プログラム Download PDF

Info

Publication number
JP4470397B2
JP4470397B2 JP2003176317A JP2003176317A JP4470397B2 JP 4470397 B2 JP4470397 B2 JP 4470397B2 JP 2003176317 A JP2003176317 A JP 2003176317A JP 2003176317 A JP2003176317 A JP 2003176317A JP 4470397 B2 JP4470397 B2 JP 4470397B2
Authority
JP
Japan
Prior art keywords
product
display shelf
information
customer
merchandise
Prior art date
Legal status (The legal status is an assumption and is not a legal conclusion. Google has not performed a legal analysis and makes no representation as to the accuracy of the status listed.)
Expired - Fee Related
Application number
JP2003176317A
Other languages
English (en)
Other versions
JP2005010608A (ja
Inventor
淳 内村
Current Assignee (The listed assignees may be inaccurate. Google has not performed a legal analysis and makes no representation or warranty as to the accuracy of the list.)
NEC Corp
Original Assignee
NEC Corp
Priority date (The priority date is an assumption and is not a legal conclusion. Google has not performed a legal analysis and makes no representation as to the accuracy of the date listed.)
Filing date
Publication date
Application filed by NEC Corp filed Critical NEC Corp
Priority to JP2003176317A priority Critical patent/JP4470397B2/ja
Publication of JP2005010608A publication Critical patent/JP2005010608A/ja
Application granted granted Critical
Publication of JP4470397B2 publication Critical patent/JP4470397B2/ja
Anticipated expiration legal-status Critical
Expired - Fee Related legal-status Critical Current

Links

Images

Landscapes

  • Management, Administration, Business Operations System, And Electronic Commerce (AREA)
  • Warehouses Or Storage Devices (AREA)

Description

【0001】
【発明の属する技術分野】
本発明は、店舗等において商品を陳列する商品陳列棚に陳列されている商品を監視して、商品の移動に関連して所定の表示を行う商品陳列棚システムに関する。
【0002】
【従来の技術】
店舗等において入荷し商品陳列棚に置かれた商品を管理する場合に、商品に付されたバーコードやRFIDタグ(無線IDタグ)を使用して管理の効率化が図られている。バーコードを使用した商品管理では、管理者等が、1つ1つ手作業でバーコードリーダを商品に近づけて、商品に貼り付けられたバーコードの情報を読み取る必要がある。しかし、RFIDタグを用いた場合には、リアルタイムで自動的に情報を読み取ることが可能になる。
【0003】
RFIDタグを使用した従来の商品陳列棚システムの一例が、特許文献1に記載されている。特許文献1に記載されている商品陳列棚システムは、複数の区画に保管または陳列された商品と、商品に装着され商品に固有の識別コードを有するRFIDタグと、RFIDタグに識別コードを書き込む登録機と、RFIDタグから信号を受信するアンテナおよびアンテナに接続されアンテナで受信された信号を読み取る読取機を備えた読取ユニットと、読取機で読み取られた識別コードを読取機から受信する情報管理手段とで構成されている。
【0004】
このような構成を有する商品陳列棚システムでは、まず、各区画に設置された読取ユニットに個別のアドレスが設定される。そして、読取ユニットに付されたアドレスに対応する区画名を示す区画情報を情報管理手段の記憶部に記憶させる。また、店舗の従業員等が、登録機を使用して、入荷された商品の識別コードをRFIDタグに書き込む。そして、識別コードに対応する商品の種類や値段等の商品情報を、情報管理手段の記憶部に記憶させる。次いで、識別コードが書き込まれたRFIDタグを商品に装着し、その商品を陳列棚(所定区画)に載置する。
【0005】
商品が陳列棚に載置されると、陳列棚に配設された読取ユニットによって商品のRFIDタグの識別コードが読み取られ、読み取られた識別コードは情報管理手段に送信される。識別コードは、読取ユニットのアドレスとともに記憶部に記憶される。商品が販売される等によって商品が無くなると、無くなった商品のRFIDタグの識別コードは陳列棚の読取ユニットで読み取られなくなる。すると、情報管理手段は、どの商品がいつどの読取ユニットで読み取られなくなったかが判断し、判断結果が情報管理手段の表示部に表示される。商品管理者は、表示部の表示内容にもとづいて、どの商品が、いつ、どの陳列棚から無くなったのかを把握し、現在の在庫状況を確認することができる。
【0006】
また、商品に関する情報を迅速に顧客に提示することができるシステムが、特許文献2に記載されている。そのシステムでは、商品陳列ケース内に陳列された各商品に商品情報を記憶したIDタグが取り付けられている。そして、顧客が商品情報を必要とする商品の商品陳列位置に対応した商品陳列ケースの上面をタッチ操作すると、その商品に取り付けられたIDタグから商品情報が読み取られ、商品陳列ケースに設置されている液晶表示装置に、その商品情報が表示される。
【0007】
さらに、特許文献3には、商品陳列棚等に陳列される商品に、商品情報や広告情報を記憶したIDタグが取り付けられ、顧客に貸し出されたデータ収集端末装置に商品情報や広告情報を表示させるシステムが記載されている。そのシステムでは、顧客が商品を手に取ると、IDタグに記憶されている商品情報や広告情報が無線でデータ収集端末装置に受信され、データ収集端末装置の液晶パネルに商品情報や広告情報が表示される。
【0008】
【特許文献1】
特開2001−31218号公報(段落0005〜0010、図4)
【特許文献2】
特開弊11−65453号公報(段落0008〜0011、図1)
【特許文献3】
特開弊10−269287号公報(段落0019〜0020、図1)
【0009】
【発明が解決しようとする課題】
しかし、特許文献2に記載されたシステムでは、顧客に対して提示する情報と顧客の関心との相関関係を調べる手段がないので、顧客に対して提示する情報に関する調査をすることはできない。また、特許文献3に記載されたシステムでは、貸し出された専用のデータ収集端末装置を顧客が店内で携帯していなければならないので、顧客が煩わしいと感じて携帯しない場合には、顧客に情報を提示することはできない。
【0010】
そこで、本発明は、顧客に対して専用端末を貸与することなく、顧客に対して提示する情報に関する調査を可能とする商品陳列棚システムを提供することを目的とする。
【0011】
【課題を解決するための手段】
本発明による商品陳列棚システムは、商品陳列棚に陳列された個々の商品に付随し、その商品に関する情報を記憶する商品情報記憶手段と、商品情報記憶手段の記憶内容を読み取れるときに商品が商品陳列棚に存在すると判定し記憶内容を読み取れないときに商品陳列棚から離れていると判定するとともに、その商品に付随する商品情報記憶手段の記憶内容検出する商品情報読出手段と、商品情報読出手段の判定結果と検出結果とに応じて複数の宣伝文(以下、コマーシャル文という。)の中の1つまたは複数を表示するコマーシャル文表示手段と、商品情報読出手段が商品が商品陳列棚から離れたと判定したときから所定時間内にその商品が商品陳列棚に存在すると判定した場合に、顧客がその商品の購入を断念したと判断し、商品情報読出手段が商品が商品陳列棚から離れたと判定したときから所定時間内にその商品が商品陳列棚に存在すると判定しない場合に、顧客がその商品の購入を決定したと判断する商品購入判断手段とを備えたことを特徴とする。なお、商品情報記憶手段が記憶する商品に関する情報は、少なくとも、その商品が属する商品種類(商品名)を特定しうる情報であり、例えば商品名に対応する商品番号である
【0012】
商品陳列棚システムは、さらに、マーシャル文表示手段が表示したコマーシャル文に対応させて、商品購入判断手段の判断結果を記憶するコマーシャル文効果記憶手段とを備えていることが好ましい。
【0013】
【発明の実施の形態】
以下、本発明の実施の形態を図面を参照して説明する。
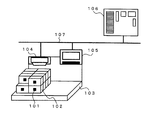
図1は、本発明による商品陳列棚システムの一構成例を示すブロック図である。図1に示すシステムでは、LANなどのネットワーク107を介して、商品情報読出装置104、商品コマーシャル文表示装置105、調査情報管理装置106がデータを送受信可能に接続される。
【0014】
商品情報読出装置104は、商品陳列棚103に載置された商品102に貼り付けられたRFIDタグ101に電波によって電力を供給するとともにRFIDタグ101が送信する情報を無線信号として受信するアンテナと、アンテナで受信された無線信号から情報を取り出す受信部と、RFIDタグ101が送信した情報を、随時(例えば、1秒などの所定時間間隔で)、調査情報管理装置106に送信する送受信部とを含む。なお、この実施の形態では、商品102に付けられる商品情報記憶手段としてRFIDタグ101を例示するが、商品情報記憶手段は、RFIDタグ101に限られず、ICカードやその他の、商品に付されることが可能であり、情報を記憶でき、かつ、読出手段によって情報が読みとられるように形成できる他の記憶手段を採用してもよい。また、商品情報記憶手段は、商品102に付随するものであれば、商品102に貼り付けられるものに限られない。「商品に付随する」とは、商品102の表面に付けられたり印刷されたりするだけでなく、商品102に吊り下げられたり商品102に内蔵されたりする場合など、商品102に付属していることが明らかな状態をいう。
【0015】
また、図1では、1つの商品棚103のみが示されているが、商品棚103は複数存在してもよい。また、1つの商品情報読出装置104は、1つの商品棚103に載置される全ての商品102に貼り付けられたRFIDタグ101から情報を受信できるような位置に設置される。商品コマーシャル文表示装置105は、商品棚103の上部や商品棚103の近傍に設置され、商品についてのコマーシャル文(宣伝文句)を表示する。
【0016】
RFIDタグ101に書き込まれる商品に関する情報(商品情報)は、例えば、店舗内の全ての商品102に対して別々に付与される番号であるが、商品名に相当する商品番号と各商品番号毎に商品102に対して別々に与えられた番号との組合せであってもよい。また、少なくとも店舗内の商品102の商品名を識別できるような番号体系であれば、商品情報として他の番号体系を用いてもよい。以下の説明では、店舗内の全ての商品102に別々の番号が与えられている場合を例にする。
【0017】
図2は、調査情報管理装置106の構成の一例を示す機能ブロック図である。図2に示す構成例では、調査情報管理装置106は、ネットワーク107に接続されデータの送受信制御を行う送受信部161、店舗内の全ての商品102に関する情報を記憶する商品情報データベース162、コマーシャル文と調査結果とを記憶するコマーシャル文データベース163、および商品情報読出装置104から受信した情報にもとづいて各データベースの内容を管理する制御部164を含む。商品情報管理装置107は、ワークステーションなどの情報処理装置で実現され、制御部164は、情報処理装置における記憶部に格納されたプログラムにもとづいて制御を実行する演算処理部(CPU)によって実現される。
【0018】
調査情報管理装置106における制御部164は、具体的には、以下のような管理を行う。すなわち、制御部164は、商品情報読出装置104からの商品情報としての番号の情報が途絶えた商品102は、顧客が商品陳列棚103から商品102を手に取る行為(以下、ピッキングという。)を行ったしたものとみなす。すなわち、顧客のピッキングによって商品102が商品情報読出装置104が読み出し可能な空間の外に、商品102が移動したとみなす、そして、その商品102に対応するあらかじめ登録されているコマーシャル文のうちの1つを選択し、それを商品コマーシャル文表示装置105に送信して表示させる。
【0019】
また、その後、例えばあらかじめ定められた所定時間が経過しても、商品情報が途絶えた商品102に対応した商品情報が送信されない場合には、顧客がピッキング後その商品に満足してショッピングカートに入れるなど、購入を決意したと判断する。逆に、商品情報が途絶えた商品102に対応した商品情報が所定時間が経過する前に再度送信された場合には、顧客がピッキング後検討した結果、購入を止め、商品102を商品陳列棚103に戻したと判断する。従って、制御部164は、時間を計測する計時手段を含む。
【0020】
制御部164は、さらに、顧客に対し提示した各コマーシャル文とその提示結果(購入したか商品陳列棚103に戻したか)を管理する。すなわち、顧客に対し提示した各コマーシャル文と、顧客が商品を購入したのか商品陳列棚103に戻したのかを示す情報を蓄積する。
【0021】
図3は、商品情報データベース162のデータ構成例を示す説明図である。図3に示す構成例では、商品情報データベース162には、店舗内に存在する全ての商品の商品情報としての番号が、その番号に対応する商品名とともに記憶されている。この実施の形態では、全ての商品102に別々の番号が与えられている場合を想定しているので、1つの商品名に対応する番号は多数存在する。また、各商品名が、複数のコマーシャル文を示すコマーシャル文ID(コマーシャル文番号)に対応して記憶されている。商品情報データベース162における各データは、商品102が店舗に搬入されたときに、随時、人手によってまたは自動的に作成されるようにしてもよいし、制御部164が、商品情報読出装置104が随時送信している各商品102の商品情報を登録するように構成してもよい。なお、人手によって作成するとは、例えば、店舗の従業員等が、RFIDタグ101に番号を書き込んで搬入された商品102に貼付し、そのRFIDタグを読取装置を用いて読み取り、読み取った番号を調査情報管理装置106に入力させるとともに、入力した番号に商品名を対応づけるような処理である。
【0022】
図4は、コマーシャル文データベース163のデータ構成例を示す説明図である。図4に示す構成例では、コマーシャル文データベース163には、コマーシャル文ID、コマーシャル文の内容、提示回数および購入回数が記憶されている。制御部164は、商品102が商品陳列棚103から離れたことを検出してコマーシャル文を商品コマーシャル文表示装置105に表示させたら、対応する提示回数の値を1増やす。また、顧客がピッキング後その商品の購入を決意したと判断した場合には、購入回数の値を1増やす。
【0023】
なお、図3および図4に示すデータベースのデータ構成例は一例であって、他のデータ構成であってもよい。例えば、コマーシャル文データベース163において、単に、提示回数および購入回数が記憶されるのではなく、より詳細な情報(例えば、日付や時刻等の情報)も管理可能であるように構成してもよい。また、各データベースは、調査情報管理装置106に内蔵されているのではなく、ネットワーク107を介して調査情報管理装置106がアクセス可能に設置されていてもよい。
【0024】
また、この実施の形態では、商品の移動状態とその商品に付随する商品情報記憶手段の記憶内容とを検出する商品情報読出手段は、商品情報読出装置104と、調査情報管理装置106における制御部164、特に、制御部164における商品情報読出装置104からの商品情報の受信状況に応じて商品の移動状態を認識する部分とで実現されている。また、商品情報読出手段の検出内容に応じて複数の宣伝文の中の1つまたは複数を表示する宣伝文表示手段は、商品コマーシャル文表示装置105と、調査情報管理装置106における制御部164、特に、制御部164におけるコマーシャル文を選択してその内容を商品コマーシャル文表示装置105に表示させる制御を行う部分とで実現されている。
【0025】
商品情報読出手段が検出した商品の移動状態から、顧客がその商品を購入したのか購入を断念したのかを判断する商品購入判断手段は、調査情報管理装置106における制御部164で実現されている。また、宣伝文表示手段が表示した宣伝文に対応させて、商品購入判断手段の判断結果を記憶する宣伝文効果記憶手段は、コマーシャル文データベース163で実現されている。
【0026】
次に、図5のフローチャートを参照して動作を説明する。上記のように、商品情報データベース162には、店舗内に存在する全ての商品の商品情報としての番号が、その番号に対応する商品名に応じたコマーシャル文を示すコマーシャル文IDに対応して記憶されている。また、商品情報読出装置104は、RFIDタグ101が送信した情報を、随時、調査情報管理装置106に送信している。
【0027】
顧客が商品陳列棚103の商品102に対し興味を持ったこと等に起因して、商品102をピッキングしたとする(ステップS1)。すると、調査情報管理装置106において、商品情報読出装置104から送信されるRFIDタグ101の記憶内容の情報(商品情報)が途絶える。そこで、調査情報管理装置106の制御部164は、ピッキングされたものとみなす。すなわち、顧客が商品102を商品陳列棚103から取り上げたと判断する。そして、商品情報データベース162に記憶されている該当する商品102の商品名を特定し(ステップS2)、商品名に対応するコマーシャル文を調べる。制御部164は、複数のコマーシャル文を動的に切り替えて選択する(ステップS3)。例えば、商品名に対応づけられている複数のコマーシャル文のうち、前回ピッキングされたときに使用したコマーシャル文の次のコマーシャル文を選択する。
【0028】
図6に例示するように、コマーシャル文が3つあれば、ピッキングが発生する度に、1→2→3→1→2・・・の順で表示されるように制御する。つまり、前回のピッキングにおいて1番目のコマーシャル文が選択されたときには、今回使用するコマーシャル文として2番目のものを選択する。なお、制御部164は、各商品名について、どのコマーシャル文を使用したのかを記憶しておく。
【0029】
制御部164は、選択したコマーシャル文の内容をコマーシャル文データベース163から読み出し、送受信部161およびネットワーク107を介して商品コマーシャル文表示装置105に送信する。商品コマーシャル文表示装置105は、送信されてきたコマーシャル文を表示して顧客に提示する(ステップS4)。また、制御部164は、コマーシャル文データベース163における、そのコマーシャル文の提示回数を+1する。
【0030】
商品コマーシャル文表示装置105におけるデータベース(商品情報データベース162およびコマーシャル文データベース163)において、ある商品名に対応して、図6に示すような3つのコマーシャル文が記憶されていたとする。
【0031】
図7〜図9は、図6に例示した各コマーシャル文の表示例を示す説明図である。例えば、図9に示すような「さわやかなおいしさ」が表示されたとする。表示開始の時点から、すなわち商品情報読出装置104がRFIDタグ101の記憶内容を読み取れなくなった時点(顧客が商品を陳列棚から取り上げたと判断した時点)から、あらかじめ決められた所定時間が経過しても商品情報読出装置104から送信される商品情報が途絶えたままであれば、調査情報管理装置106の制御部164は、顧客は商品102の購入を決断したとみなす。所定時間が経過する前に商品情報読出装置104から商品情報が再度送信された場合には、顧客が購入の止め商品102を商品陳列棚103に戻したと判断する(ステップS5)。
【0032】
そして、制御部164は、顧客が商品102の購入を決断したことを示すコマーシャル文提示の成功/顧客が購入の止めたことを示すコマーシャル文提示の不成功(失敗)をカウントする(ステップS6,S7)。具体的には、コマーシャル文提示の成功と判断した場合に、コマーシャル文データベース163における、そのコマーシャル文に対応した購入回数を+1する。なお、この実施の形態では、制御部164は、コマーシャル文提示の成功に対応した購入回数のみを操作するが、コマーシャル文提示の不成功と判定した場合に、不成功に対応した非購入回数を+1するようにしてもよい。
【0033】
コマーシャル文提示の成功/不成功の判断を行ったら、制御部164は、商品コマーシャル文表示装置105に、コマーシャル文表示を停止させる(ステップS8)。なお、ここでは、図9に示すような「さわやかなおいしさ」が表示された場合を想定したので、1→2→3→1→2・・・のコマーシャル文IDの順でコマーシャル文が表示されるように制御する場合には、次に、商品名が同じである商品102に対してピッキングが発生したときには、図7に示すような「体に良い○○がたっぷり」が表示される。
【0034】
以上の処理によって、コマーシャル文提示の成功/不成功の結果が、コマーシャル文データベース163に蓄積される。なお、ここでは、顧客が商品の購入を決断したか止めたかは、RFIDタグ101の記憶内容の情報送信状況を用いる方法によって判断したが、その方法以外の方法であっても、コマーシャル文提示の成功/不成功の状況を検出できれば本発明に適用可能である。例えば、商品情報読出装置104が商品102の動き自体を検出可能であれば、商品情報読出装置104がコマーシャル文提示の成功/不成功の状況を検出できる。なお、「動き自体を検出」とは、ピッキングと商品102の商品陳列棚103への戻りとを検出することである。
【0035】
顧客は、ピッキング後に商品を購入するかどうかを、提示されたコマーシャル文にのみよって判断するわけではないが、ある程度以上の回数のコマーシャル文提示の成功/不成功の調査を行った後では、調査情報管理装置106において集計されているコマーシャル文毎の提示回数と購入回数との比率を求め、その結果に有意な差があれば、どのコマーシャル文が顧客に対し有効であったかがわかる。例えば、図6に例示された3つのコマーシャル文のそれぞれの提示回数と購入回数との比率を求め、それら3つの比率に有意な差があれば、どのコマーシャル文が顧客に対し有効であったかがわかる。
【0036】
以上のように、この実施の形態では、複数のコマーシャル文があったときに、自動的に、どのコマーシャル文が有効であるかを調査することが可能になる。
【0037】
なお、上記の説明では、コマーシャル文の選択を順に行ったが、ランダムにしたり、優先順序にもとづいて頻度を調整するなどの方法を用いても、本発明を適用可能である。また、一時に、複数のコマーシャル文のうちから選択された1つを表示するだけでなく、複数(例えば3つのうちの2つ)のコマーシャル文を一時に表示するようにしてもよい。その場合には、制御部164は、それぞれのコマーシャル文に対応した提示回数を+1するとともに、コマーシャル文提示の成功の場合にはそれぞれのコマーシャル文に対応した購入回数を+1する。
【0038】
また、上記の説明では、コマーシャル文は、調査情報管理装置106において、あらかじめ記憶されていたが、インターネット等の通信ネットワークを経由して、店舗の外部から調査情報管理装置106に配信するようにしてもよい。例えば、図10に示すように、LAN107を収容するとともにインターネット300に接続可能なルータ108を店舗200内に設置し、調査情報管理装置106は、インターネット300を介してサーバ400からコマーシャル文の内容を受信する。調査情報管理装置106における制御部164は、受信されたコマーシャル文の内容を、送受信部161を介して入力し、コマーシャル文データベース163に登録する。また、コマーシャル文だけでなく、商品名がいずれのコマーシャル文に対応するのかを示す情報も、通信ネットワークを介して外部から受信可能であるように構成してもよい。
【0039】
また、一定期間調査を行った後に、または一定回数等の調査を行った後に、調査情報管理装置106が、調査結果を、外部のサーバ等に送信するようにしてもよい。そのように構成した場合には、店舗が複数あったときに、各店舗の情報を集計して調査結果を利用することができる。例えば、全ての店舗の情報を取りまとめたり、全店舗を地域毎等に分割して取りまとめるといったことが可能になる。例えば、図10に例示する構成では、調査情報管理装置106における制御部164は、サーバ400に送信するタイミングが到来すると、コマーシャル文データベース163内の情報、特に、各コマーシャル文に対応した提示回数と購入回数とをサーバ400に宛てて送信する。
【0040】
なお、上記の実施の形態の商品陳列棚システムは、店舗内において顧客に提示されたコマーシャル文が顧客の商品購入動向にどのように影響を与えたのかを調査する「宣伝文にもとづく購入動向調査システム」であったが、店舗内において、顧客に提示する情報とその情報に応じて顧客がどのように行動したのかを調査する他の調査システムにも本発明を応用可能である。
【0041】
【発明の効果】
以上に説明したように、本発明によれば、商品陳列棚システムが、商品情報記憶手段の記憶内容を読み取れるときに商品が商品陳列棚に存在する判定し記憶内容を読み取れないときに商品陳列棚から離れていると判定するとともに、その商品に付随する商品情報記憶手段の記憶内容検出し、商品情報読出手段の判定結果と検出結果とに応じて複数のコマーシャル文の中の1つまたは複数を表示し、商品情報読出手段が商品が商品陳列棚から離れたと判定したときから所定時間内にその商品が商品陳列棚に存在すると判定した場合に、顧客がその商品の購入を断念したと判断し、商品情報読出手段が商品が商品陳列棚から離れたと判定したときから所定時間内にその商品が商品陳列棚に存在すると判定しない場合に、顧客がその商品の購入を決定したと判断する構成になっているので、顧客に対して専用端末を貸与することなく、顧客が商品を手にするだけで、顧客に対して的確にコマーシャル文を提示することができる。
【0042】
また、示したコマーシャル文に対応させて、商品購入判断手段の判断結果を記憶するように構成した場合には、顧客に対して専用端末を貸与することなく、顧客に対して提示する情報に関する調査を自動的に実行することができる。
【図面の簡単な説明】
【図1】 本発明による商品陳列棚システムの一構成例を示すブロック図である。
【図2】 調査情報管理装置の構成の一例を示す機能ブロック図である。
【図3】 商品情報データベースのデータ構成例を示す説明図である。
【図4】 コマーシャル文データベースのデータ構成例を示す説明図である。
【図5】 商品陳列棚システムの動作示すフローチャートである。
【図6】 コマーシャル文の例を示す説明図である。
【図7】 コマーシャル文の表示例を示す説明図である。
【図8】 コマーシャル文の表示例を示す説明図である。
【図9】 コマーシャル文の表示例を示す説明図である。
【図10】 調査情報管理装置とサーバの接続例を示すブロック図である。
【符号の説明】
101 RFIDタグ(商品情報記憶手段)
102 商品
103 商品陳列棚
104 商品情報読出装置
105 商品コマーシャル文表示装置
106 調査情報管理装置
107 ネットワーク
162 商品情報データベース
163 コマーシャル文データベース
164 制御部

Claims (10)

  1. 商品陳列棚に陳列された個々の商品に付随し、その商品に関する情報を記憶する商品情報記憶手段と、
    前記商品情報記憶手段の記憶内容を読み取れるときに商品が商品陳列棚に存在すると判定し記憶内容を読み取れないときに商品陳列棚から離れていると判定するとともに、その商品に付随する前記商品情報記憶手段の記憶内容検出する商品情報読出手段と、
    前記商品情報読出手段の判定結果と検出結果とに応じて複数の宣伝文の中の1つまたは複数を表示する宣伝文表示手段と
    前記商品情報読出手段が商品が商品陳列棚から離れたと判定したときから所定時間内にその商品が商品陳列棚に存在すると判定した場合に、顧客がその商品の購入を断念したと判断し、前記商品情報読出手段が商品が商品陳列棚から離れたと判定したときから前記所定時間内にその商品が商品陳列棚に存在すると判定しない場合に、顧客がその商品の購入を決定したと判断する商品購入判断手段と
    を備えたことを特徴とする商品陳列棚システム。
  2. 伝文表示手段が表示した宣伝文に対応させて、商品購入判断手段の判断結果を記憶する宣伝文効果記憶手段備えた
    請求項記載の商品陳列棚システム。
  3. 宣伝文効果記憶手段の記憶内容を、通信ネットワークを介して外部のサーバに送信する宣伝文効果送信手段を備えた
    請求項項記載の商品陳列棚システム。
  4. 商品情報記憶手段はRFIDタグである
    請求項1から請求項3のうちのいずれか1項に記載の商品陳列棚システム。
  5. 商品情報読出手段は、RFIDタグが送信する情報を受信するアンテナを含む
    請求項記載の商品陳列棚システム。
  6. 商品購入判断手段は、商品情報読出手段が商品情報記憶手段の記憶内容を読み取れなくなった時点で顧客が商品を陳列棚から取り上げたと判断する
    請求項1から請求項5のうちのいずれか1項に記載の商品陳列棚システム。
  7. 商品購入判断手段は、商品情報読出手段が商品情報記憶手段の記憶内容を読み取れなくなった時点から所定時間以上記憶内容が読み取れない状態が継続したら、顧客がその商品の購入を決定したと判断する
    請求項1から請求項6のうちのいずれか1項に記載の商品陳列棚システム。
  8. 商品購入判断手段は、商品情報読出手段が商品情報記憶手段の記憶内容を読み取れなくなった時点から所定時間内に前記商品情報記憶手段の記憶内容が読み取れる状態になると、顧客がその商品の購入を断念したと判断する
    請求項から請求項7のうちのいずれか1項に記載の商品陳列棚システム。
  9. 宣伝文表示手段が表示する宣伝文を、通信ネットワークを介して外部から受け取る宣伝文受信手段を備えた
    請求項1から請求項のうちのいずれか1項に記載の商品陳列棚システム。
  10. コンピュータに、
    商品陳列棚に陳列された個々の商品に付随しその商品に関する情報を記憶する商品情報記憶手段の記憶内容を検出するとともに、前記商品情報記憶手段の記憶内容を読み取れるときに商品が商品陳列棚に存在すると判定し記憶内容を読み取れないときに商品陳列棚から離れていると判定する処理と、
    前記処理による判定結果と検出結果とに応じて複数の宣伝文の中の1つまたは複数を表示手段に表示させる処理と
    商品が商品陳列棚から離れたと判定したときから所定時間内にその商品が商品陳列棚に存在すると判定した場合に、顧客がその商品の購入を断念したと判断し、商品が商品陳列棚から離れたと判定したときから前記所定時間内にその商品が商品陳列棚に存在すると判定しない場合に、顧客がその商品の購入を決定したと判断する処理と、
    表示手段が表示した宣伝文に対応させて、顧客がその商品を購入したのか購入を断念したのかの判断結果を記憶手段に記憶させる処理と
    を実行させる情報収集プログラム。
JP2003176317A 2003-06-20 2003-06-20 商品陳列棚システムおよび情報表示プログラム Expired - Fee Related JP4470397B2 (ja)

Priority Applications (1)

Application Number Priority Date Filing Date Title
JP2003176317A JP4470397B2 (ja) 2003-06-20 2003-06-20 商品陳列棚システムおよび情報表示プログラム

Applications Claiming Priority (1)

Application Number Priority Date Filing Date Title
JP2003176317A JP4470397B2 (ja) 2003-06-20 2003-06-20 商品陳列棚システムおよび情報表示プログラム

Publications (2)

Publication Number Publication Date
JP2005010608A JP2005010608A (ja) 2005-01-13
JP4470397B2 true JP4470397B2 (ja) 2010-06-02

Family

ID=34099233

Family Applications (1)

Application Number Title Priority Date Filing Date
JP2003176317A Expired - Fee Related JP4470397B2 (ja) 2003-06-20 2003-06-20 商品陳列棚システムおよび情報表示プログラム

Country Status (1)

Country Link
JP (1) JP4470397B2 (ja)

Families Citing this family (23)

* Cited by examiner, † Cited by third party
Publication number Priority date Publication date Assignee Title
JP2006244118A (ja) * 2005-03-03 2006-09-14 Dainippon Printing Co Ltd 商品管理装置、商品管理システム、商品管理プログラムおよび商品管理方法
JP2006259800A (ja) * 2005-03-15 2006-09-28 Mitsubishi Electric Corp データ取得装置
JP2006268755A (ja) * 2005-03-25 2006-10-05 Mitsubishi Electric Information Systems Corp 商品情報提供装置及び商品情報提供プログラム
JP4888823B2 (ja) * 2005-07-27 2012-02-29 ブラザー工業株式会社 無線タグ情報読み取り装置、無線タグ情報読み取りシステム及び無線タグ情報読み取り方法
JP2007241806A (ja) * 2006-03-10 2007-09-20 Dainippon Printing Co Ltd 商品紹介システム
FR2905019B1 (fr) * 2006-08-17 2008-10-17 Supertec Soc Par Actions Simpl Procede de gestion de produits disposes sur un presentoir intelligent et presentoir intelligent correspondant
JP2008077132A (ja) * 2006-09-19 2008-04-03 Dainippon Printing Co Ltd 陳列用什器、サーバコンピュータ、及び、プログラム
JP5109055B2 (ja) * 2007-06-22 2012-12-26 ナルテック株式会社 電子広告端末を有するシステム
JP5201905B2 (ja) * 2007-07-30 2013-06-05 サンデン株式会社 商品情報表示システム
JP5474308B2 (ja) * 2008-02-29 2014-04-16 サンデン株式会社 ショーケース
JP5104468B2 (ja) * 2008-03-31 2012-12-19 大日本印刷株式会社 広告効果判定システム、方法、プログラム、媒体
WO2011101927A1 (ja) * 2010-02-19 2011-08-25 チームラボ株式会社 ディジタルサイネージシステム
JP2014056356A (ja) * 2012-09-11 2014-03-27 Toshiba Tec Corp 販売促進判定装置及び販売促進判定方法
WO2014087563A1 (ja) * 2012-12-04 2014-06-12 日本電気株式会社 商品プロモーションシステム及びそのプログラムが格納された非一時的なコンピュータ可読媒体
JP6152283B2 (ja) * 2013-03-08 2017-06-21 チームラボ株式会社 ディジタルサイネージシステム
EP3005327B1 (en) * 2013-05-31 2019-07-31 Intercontinental Great Brands LLC Method and apparatus for a product presentation display
JP6468497B2 (ja) 2013-09-26 2019-02-13 パナソニックIpマネジメント株式会社 情報提供方法
JP2016131026A (ja) * 2016-01-20 2016-07-21 利仁 曽根 電子棚札方法
JP6466363B2 (ja) * 2016-04-07 2019-02-06 ソフトバンク株式会社 什器
JP2017188123A (ja) * 2017-05-08 2017-10-12 利仁 曽根 電子棚札
JP2021096806A (ja) * 2019-05-31 2021-06-24 ファミリーイナダ株式会社 管理サーバ及び配信方法
CN110765798B (zh) * 2019-10-18 2023-04-07 深圳市开架易技术有限公司 基于机器视觉的商品触碰感知方法
JP7639328B2 (ja) * 2020-12-24 2025-03-05 大日本印刷株式会社 情報処理方法、プログラム、什器および情報処理装置

Also Published As

Publication number Publication date
JP2005010608A (ja) 2005-01-13

Similar Documents

Publication Publication Date Title
JP4470397B2 (ja) 商品陳列棚システムおよび情報表示プログラム
TW200839633A (en) Stock management system
JP5216192B2 (ja) 情報端末装置、情報端末装置の制御方法、情報端末プログラムおよび情報出力システム
JP2013527548A (ja) 職場または管理された環境のためのネットワーク化された自動販売機
JP2007018446A (ja) 情報提供システムおよび情報提供方法
US12067548B2 (en) Information processing system, information processing device, information processing method, and recording medium storing program
JP4068505B2 (ja) 顧客購買行動分析システム
JP2010140287A (ja) 購買行動分析装置、方法及びコンピュータプログラム
JP2018005691A (ja) 情報処理システム、情報処理装置及び情報処理方法
JP2018156150A (ja) 情報処理装置、情報処理方法、端末、情報処理システム及びプログラム
KR20190130195A (ko) 실시간 매장 재고 관리 시스템
JP2004359363A (ja) 商品管理システムおよび商品管理プログラム
JP4590837B2 (ja) 商品陳列棚システムおよび欠品商品情報表示プログラム
WO2020119566A1 (zh) 门店系统及数据处理方法
JP2006011755A (ja) 購入商品一括引渡システム、その方法、プログラム
JP2018013822A (ja) 決済装置、決済方法、およびプログラム
US20040262386A1 (en) Instore and remote-hosted solution for retail promotion optimization using moveable "devices" having components such as price checkers, printers, and controllers
US20210012686A1 (en) Information Delivery Method and Information Delivery System Capable of Generating a Template for Displaying Information of Products
US20050033665A1 (en) Method, apparatus, and program for detecting item mismatch at the point of sale
US10572886B2 (en) Obtaining information on purchasing processes
US20150221020A1 (en) Method and system for managing a shopping list
KR20140022308A (ko) Qr코드를 이용한 실시간 상품 관리 시스템
JP2006039842A (ja) 商品情報管理システム、商品情報管理方法、試用商品管理装置、プログラム
JP2005258876A (ja) 価格表示装置および方法、プログラム、記録媒体、並びにカード
JP5247063B2 (ja) 在庫管理システム

Legal Events

Date Code Title Description
RD03 Notification of appointment of power of attorney

Free format text: JAPANESE INTERMEDIATE CODE: A7423

Effective date: 20051117

RD04 Notification of resignation of power of attorney

Free format text: JAPANESE INTERMEDIATE CODE: A7424

Effective date: 20051117

A621 Written request for application examination

Free format text: JAPANESE INTERMEDIATE CODE: A621

Effective date: 20060116

A131 Notification of reasons for refusal

Free format text: JAPANESE INTERMEDIATE CODE: A131

Effective date: 20090421

A521 Request for written amendment filed

Free format text: JAPANESE INTERMEDIATE CODE: A523

Effective date: 20090616

TRDD Decision of grant or rejection written
A01 Written decision to grant a patent or to grant a registration (utility model)

Free format text: JAPANESE INTERMEDIATE CODE: A01

Effective date: 20100209

A01 Written decision to grant a patent or to grant a registration (utility model)

Free format text: JAPANESE INTERMEDIATE CODE: A01

A61 First payment of annual fees (during grant procedure)

Free format text: JAPANESE INTERMEDIATE CODE: A61

Effective date: 20100222

FPAY Renewal fee payment (event date is renewal date of database)

Free format text: PAYMENT UNTIL: 20130312

Year of fee payment: 3

R150 Certificate of patent or registration of utility model

Ref document number: 4470397

Country of ref document: JP

Free format text: JAPANESE INTERMEDIATE CODE: R150

Free format text: JAPANESE INTERMEDIATE CODE: R150

FPAY Renewal fee payment (event date is renewal date of database)

Free format text: PAYMENT UNTIL: 20130312

Year of fee payment: 3

FPAY Renewal fee payment (event date is renewal date of database)

Free format text: PAYMENT UNTIL: 20140312

Year of fee payment: 4

LAPS Cancellation because of no payment of annual fees