JP4457599B2 - 高分子光導波路の製造方法 - Google Patents

高分子光導波路の製造方法 Download PDF

Info

Publication number
JP4457599B2
JP4457599B2 JP2003279000A JP2003279000A JP4457599B2 JP 4457599 B2 JP4457599 B2 JP 4457599B2 JP 2003279000 A JP2003279000 A JP 2003279000A JP 2003279000 A JP2003279000 A JP 2003279000A JP 4457599 B2 JP4457599 B2 JP 4457599B2
Authority
JP
Japan
Prior art keywords
mold
optical waveguide
core
polymer optical
curable resin
Prior art date
Legal status (The legal status is an assumption and is not a legal conclusion. Google has not performed a legal analysis and makes no representation as to the accuracy of the status listed.)
Expired - Fee Related
Application number
JP2003279000A
Other languages
English (en)
Other versions
JP2005043748A (ja
Inventor
英一 圷
茂実 大津
敬司 清水
和敏 谷田
Current Assignee (The listed assignees may be inaccurate. Google has not performed a legal analysis and makes no representation or warranty as to the accuracy of the list.)
Fujifilm Business Innovation Corp
Original Assignee
Fuji Xerox Co Ltd
Fujifilm Business Innovation Corp
Priority date (The priority date is an assumption and is not a legal conclusion. Google has not performed a legal analysis and makes no representation as to the accuracy of the date listed.)
Filing date
Publication date
Application filed by Fuji Xerox Co Ltd, Fujifilm Business Innovation Corp filed Critical Fuji Xerox Co Ltd
Priority to JP2003279000A priority Critical patent/JP4457599B2/ja
Publication of JP2005043748A publication Critical patent/JP2005043748A/ja
Application granted granted Critical
Publication of JP4457599B2 publication Critical patent/JP4457599B2/ja
Anticipated expiration legal-status Critical
Expired - Fee Related legal-status Critical Current

Links

Images

Landscapes

  • Optical Integrated Circuits (AREA)

Description

本発明は、高分子光導波路、特にフレキシブルな高分子光導波路の製造方法に関する。
高分子導波路の製造方法としては、(1)フイルムにモノマーを含浸させてコア部を選択的に露光して屈折率を変化させフイルムを貼り合わせる方法(選択重合法)、(2)コア層及びクラッド層を塗布後、反応性イオンエッチングを用いてクラッド部を形成する方法(RIE法)、(3)高分子材料中に感光性の材料を添加した紫外線硬化樹脂を用いて、露光・現像するフォトリソグラフィー法を用いる方法(直接露光法)、(4)射出成形を利用する方法、(5)コア層及びクラッド層を塗布後、コア部を露光してコア部の屈折率を変化させる方法(フォトブリーチング法)等が提案されている。
然し、(1)の選択重合法はフイルムの張り合わせに問題があり、(2)や(3)の方法は、フォトリソグラフィー法を使うためコスト高になり、(4)の方法は、得られるコア径の精度に課題がある。また、(5)の方法はコア層とクラッド層との十分な屈折率差がとれないと言う問題がある。
現在、性能的に優れた実用的な方法は、(2)や(3)の方法だけであるが前記のごときコストの問題がある。そして(1)ないし(5)のいずれの方法も、大面積でフレキシブルなプラスチック基材に高分子導波路を形成するのに適用しうるものではない。
また、高分子光導波路を製造する方法として、キャピラリーとなる溝のパターンが形成されたパターン基板(クラッド)にコア用のポリマー前駆体材料を充填し、その後硬化させてコア層を作り、その上に平面基板(クラッド)を貼り合わせる方法が知られているが、この方法ではキャピラリー溝にだけでなく、パターン基板と平面基板の間にも全面的にポリマー前駆体材料が薄く充填され硬化されてコア層と同じ組成の薄い層が形成される結果、この薄い層を通って光が漏洩してしまうという問題があった。
この問題を解決する方法の1つとして、デビット・ハートはキャピラリーとなる溝のパターンが形成されたパターン基板と平面基板とをクランプ用治具で固着し、さらにパターン基板と平面基板との接触部分を樹脂でシールなどした後減圧して、モノマー(ジアリルイソフタレート)溶液をキャピラリーに充填して、高分子光導波路を製造する方法を提案した(以下の特許文献1を参照)。この方法はコア形成用樹脂材料としてポリマー前駆体材料を用いる代わりにモノマーを用いて充填材料を低粘度化し、キャピラリー内に毛細管現象を利用して充填させ、キャピラリー以外にはモノマーが充填されないようにする方法である。
しかし、この方法はコア形成用材料としてモノマーを用いているため、モノマーが重合してポリマーになる際の体積収縮率が大きく、高分子光導波路の透過損失が大きくなるいう問題がある。
また、この方法は、パターン基板と平面基板とをクランプで固着する、あるいはこれに加えさらに接触部を樹脂でシールするなど煩雑な方法であり、量産にはむかず、その結果コスト低下を期待することはできない。また、クラッドとして厚さがmmオーダーあるいは1mm以下のフィルムを用いる高分子光導波路の製造に適用することは不可能である。
また、最近、ハーバード大学のGeorge M. Whitesidesらは、ナノ構造を作る新技術として、ソフトリソグラフィーの一つとして毛細管マイクロモールドという方法を提唱している。これは、フォトリソグラフィーを利用してマスター基板を作り、ポリジメチルシロキサン(PDMS)の密着性と容易な剥離性を利用してマスター基板のナノ構造をPDMSの鋳型に写し取り、この鋳型に毛細管現象を利用して液体ポリマーを流し込んで固化させる方法である。以下の非特許文献1には詳しい解説記事が記載されている。
又はハーバード大学のGeorge M. WhitesidesのグループのKim Enochらによって毛細管マイクロモールド法に関する特許が出願されている(以下の特許文献2を参照)。
しかし、この特許に記載の製造方法を高分子光導波路の製造に適用しても、光導波路のコア部は断面積が小さいので、コア部を形成するのに時間がかかり、量産に適さない。また、モノマー溶液が重合して高分子になるときに体積変化を起こしコアの形状が変化し、透過損失が大きくなるという欠点を持つ。
また、IBMチュリッヒ研究所のB. MichelらはPDMSを用いた高解像度のリソグラフィー技術を提案しており、この技術により数十nmの解像力が得られると報告している。詳しい解説記事は、以下の非特許文献2に記載されている。
このように、PDMSを使ったソフトリソグラフィー技術や、毛細管マイクロモールド法は、ナノテクノロジーとして最近、米国を中心に注目を集めている技術である
しかしながら、前記のごときマイクロモールド法を用いて光導波路を作製すると、硬化時の体積収縮率を小さくする(したがって透過損失を小さくする)ことと、充填を容易にするために充填液体(モノマー等)を低粘度化することを両立させえない。したがって、透過損失を小さくすることを優先的に考慮すると、充填液体の粘度をある限度以下にすることができず、充填速度が遅くなり、量産は望めない。また前記のマイクロモールド法は、基板としてガラスやシリコン基板を用いることが前提になっており、フレキシブルなフィルム基材を用いることは考慮されていない。
これに対し、本発明者らは既に、フレキシブルなフイルム基材をクッラド基材と兼ねさせ、該フイルム基材に高分子導波路を形成する方法を提案した(特願2003−58871号、特願2003−58872号)。この高分子光導波路の製造方法により、従来不可能であったフレキシブルな高分子光導波路を精度よく、低コストで作製することが可能になった。この方法は、高分子光導波路用原盤の光導波路コアに対応する凸部を精確に写し取った鋳型を作製し、鋳型凹部にコア形成用硬化性樹脂を毛細管現象を利用して充填する方法である。しかしながら、毛細管現象を利用して鋳型凹部にコア形成用硬化性樹脂を充填するには時間がかかり、製造コストをさらに下げるにはより効率よくコア形成用硬化性樹脂を鋳型凹部に充填する方法が求められる。
コア形成用の凹部断面は非常に微細であるため、粘度の高い樹脂を高速で充填することは難しく、そこで、充填するコア形成用硬化性樹脂の粘度を低くすることが考えられる。しかし、例えば、溶剤などを用いて粘度を低下させた場合には、硬化後の体積変化が大きく、元の形状を高精度に保てない欠点があるので、溶剤の使用はできる限り避けることが望ましい。したがって、透明度や屈折率、体積収縮率を維持しつつ粘度を下げることにはある程度限界がある。
一方、充填速度を上げるためには、鋳型凹部の一端部から加圧充填を行なったり、他端部から減圧吸引したり、あるいは加圧充填と減圧吸引の両者を行なったりする方法が考えられる。しかしながら、通常加圧又は減圧に用いられるロータリーポンプ等を用いると脈動が発生し、未硬化状態にあるコア形成用硬化性樹脂が鋳型凹部全般にわたり密度分布が均一でなくなったり、微細部分における形状変化を生じたりすることがある。そして、その結果光導波路完成時の光学特性、特に屈折率の微小な不均一性が生じ、光導波損失に大きく影響することも多い。
特許公報3151364号明細書 米国特許6355198号明細書 SCIENTIFIC AMERICAN SEPTEMBER 2001(日経サイエンス2001年12月号) IBM J. REV. & DEV. VOL. 45 NO. 5 SEPTEMBER 2001
本発明は、前記のごとき要請に基づいてなされたものであり、その目的は、良好な光学特性を有する高分子光導波路を、簡便な方法により低コストで製造する方法を提供することにある。
前記課題は、以下の高分子光導波路の製造方法を提供することにより解決される。
(1)1)鋳型形成用硬化性樹脂の硬化樹脂層から形成され、光導波路コア凸部に対応する凹部を有する鋳型を準備する工程、2)鋳型にクラッド用基材を密着させる工程、3)クラッド用基材を密着させた鋳型の凹部にコア形成用硬化性樹脂を充填する工程、4)充填したコア形成用硬化性樹脂を硬化させる工程、5)鋳型をクラッド用基材から剥離する工程、6)コアが形成されたクラッド用基材の上にクラッド層を形成する工程、を有する高分子光導波路の製造方法であって、前記3)の工程において鋳型凹部の一端部への加圧注入及び/又は鋳型凹部の他端部からの減圧吸引を行ない、かつ加圧注入及び減圧吸引の一方又は両方を静圧力のみによって実施することを特徴とする高分子光導波路の製造方法。
(2)前記鋳型が、光導波路コア凸部に対応する凹部を有する鋳型形成用硬化性樹脂の硬化樹脂層と、前記硬化樹脂層を補強する強化部材を有し、強化部材にはコア形成用硬化性樹脂の注入口が設けられていることを特徴とする前記(1)に記載の高分子光導波路の製造方法。
(3)前記硬化樹脂層が、凹部両端部における進入部及び/又は排出部に連通する応力緩和のための空隙部を有することを特徴とする前記(1)に記載の高分子光導波路の製造方法。
(4)前記鋳型形成用硬化性樹脂が、液状シリコーンゴムであることを特徴とする前記(1)に記載の高分子光導波路の製造方法。
(5)前記液状シリコーンゴムが、液状ジメチルシロキサンゴムであることを特徴とする前記(3)に記載の高分子光導波路の製造方法。
(6)前記3)の工程において加圧充填を行い、加圧充填と同期して鋳型凹部のコア形成用硬化性樹脂排出側から減圧吸引することを特徴とする前記(1)に記載の高分子光導波路の製造方法。
(7)前記加圧充填及び/又は減圧吸引を静圧力のみで行なうことを特徴とする前記(6)に記載の高分子光導波路の製造方法。
(8)前記加圧充填において圧力を段階的に増加させ、前記減圧吸引において圧力を段階的に減少させることを特徴とする前記(6)に記載の高分子光導波路の製造方法。
)前記硬化樹脂層の厚さが、10μm〜50mmであることを特徴とする前記(1)に記載の高分子光導波路の製造方法。
10)前記強化部材が、金属材料又はセラミック材料からなることを特徴とする前記(2)に記載の高分子光導波路の製造方法。
11)前記強化部材の厚さが、1mm〜40mmであることを特徴とする前記(2)に記載の高分子光導波路の製造方法。
12)前記鋳型の表面エネルギーが、10dyn/cm〜30dyn/cmであることを特徴とする前記(1)に記載の高分子光導波路の製造方法。
13)前記鋳型のシェア(Share)ゴム硬度が、15〜80であることを特徴とする前記(1)に記載の高分子光導波路の製造方法。
14)前記鋳型の表面粗さが、0.5μm以下であることを特徴とする前記(1)に記載の高分子光導波路の製造方法。
15)前記鋳型が、紫外領域及び/又は可視領域において光透過性であることを特徴とする前記(1)に記載の高分子光導波路の製造方法。
16)前記クラッド用基材が、クラッド用フィルム基材であることを特徴とする前記(1)に記載の高分子光導波路の製造方法。
17)前記コア形成用硬化性樹脂の粘度が50mPa・s〜2000mPa・sであることを特徴とする前記(1)に記載の高分子光導波路の製造方法。
18)前記クラッド用基材とクラッド層の屈折率の差が、0.1以下であることを特徴とする請求項1に記載の高分子光導波路の製造方法。
19) 1)鋳型形成用硬化性樹脂の硬化樹脂層から形成され、光導波路コア凸部に対応する凹部を有する鋳型を準備する工程、2)鋳型にクラッド用基材を密着させる工程、3)クラッド用基材を密着させた鋳型の凹部にコア形成用硬化性樹脂を充填する工程、4)充填したコア形成用硬化性樹脂を硬化させる工程、を有する高分子光導波路の製造方法であって、前記3)の工程において鋳型凹部の一端部への加圧注入及び/又は鋳型凹部の他端部からの減圧吸引を行ない、かつ加圧注入及び減圧吸引の一方又は両方を静圧力のみによって実施し、更に前記鋳型形成用硬化性樹脂の硬化樹脂層が光透過性であり、かつその屈折率と前記4)の工程で形成されるコアの屈折率の差が0.01以上あることを特徴とする高分子光導波路の製造方法。
本発明の高分子光導波路の製造方法は、製造工程が極めて単純化され容易に高分子光導波路を作製することができ、従来の高分子光導波路の製造方法に比較し、極めて低コストで高分子光導波路を作製することができる。また形成される光導波路は形状等を自由に設定することができる他、作製工程が簡便であるにもかかわらず極めて高精度で、導波ロスが小さい。さらに、クラッド用基材として可撓性フィルム基材を用いた場合には、各種機器への自由な装填が可能な高分子光導波路が得られる。さらに、コア形成用硬化性樹脂の充填工程において加圧注入及び/又は減圧吸引の少なくとも1つにおいて静圧力のみを利用しているため、導波損失等の光学特性に優れた光導波路を得ることができる。
本発明の高分子光導波路の製造方法は、基本的に以下の1)から6)の工程を有する。
1)鋳型形成用硬化性樹脂の硬化樹脂層から形成され、光導波路コア凸部に対応する凹部を有する鋳型を準備する工程
2)鋳型にクラッド用基材を密着させる工程
3)クラッド用基材を密着させた鋳型の凹部にコア形成用硬化性樹脂を充填する工程
4)充填したコア形成用硬化性樹脂を硬化させる工程
5)鋳型をクラッド用基材から剥離する工程
6)コアが形成されたクラッド用基材の上にクラッド層を形成する工程
そして、前記3)の工程において、鋳型凹部の一端部への加圧注入及び/又は鋳型凹部の他端部からの減圧吸引を行ない、かつ加圧注入及び減圧吸引の一方又は両方を静圧力のみによって実施することを特徴とする。
最初に、図1及び図2を用いて本発明の高分子光導波路の製造工程について1つの態様を説明する。図1(A)ないし図1(G)は、本発明の製造方法における各工程を表す概念図であり、図2は、鋳型を鋳型より一回り大きいクラッド用基材に密着させた状態(図1(D)で示される工程)を示す斜視図である。
図1(A)は光導波路コアに対応する凸部12が形成された原盤10を、凸部12の長手方向に直角に切断した切断面を示す。
次に、図1(B)が示すように、原盤10の凸部12が形成された面に、鋳型形成用硬化性樹脂の硬化樹脂層20aを形成する。図1(B)は原盤10に鋳型形成用硬化性樹脂の硬化樹脂層20aを形成したものを、凸部12の長手方向に直角に切断した切断面を示す。
次に、鋳型形成用硬化性樹脂の硬化樹脂層20aを原盤10から剥離して型をとり(図示せず)、次いで型の両端を、前記凹部22が露出するように切断することにより、凹部22にコア形成用硬化性樹脂を充填するための進入口22a(図2参照)、及び前記凸部12に対応する凹部22から前記樹脂を排出させるための排出口22b(図2参照)を形成して、鋳型20を作製する(図1(C)参照)。
このようにして作製した鋳型20にクラッド用基材30を密着させる(図1(D)及び図2を参照)。図1(D)は、鋳型とクラッド用基材を密着させたものを凹部長手方向に直角に切断した断面図を示す(図2のA−A切断面)。次に、鋳型の進入口22aからコア形成用硬化性樹脂40aを加圧注入したり、凹部20の他の先端部にある排出口22bから減圧吸引を行なったり、あるいは加圧注入と減圧吸引を併用したりして鋳型の凹部22に該樹脂を充填する。そして、この際、加圧注入及び減圧吸引の一方又は両方を静圧力のみで行なう。図1(E)は鋳型の凹部に硬化性樹脂が充填されたものを凹部長手方向に直角に切断した断面図を示す。
その後、鋳型凹部内のコア形成用硬化性樹脂を硬化させ、鋳型を剥離する。図1(F)は、クラッド用基材の上に光導波路コア40が形成されたものを、コア長手方向に直角に切断した切断面を示す。
さらに、クラッド用基材のコア形成面にコア形成用硬化性樹脂の硬化層であるクラッド層50を形成することにより、本発明の高分子光導波路60が作製される。図1(G)は、高分子光導波路60をコア長手方向に直角に切断した切断面を示す。
また、図3に、コアが形成されたクラッド用基材の上にクラッドとなるフィルムを接着剤により接着させる例を示す。図3(A)から図3(F)までは、図1(A)から図1(F)で表される工程と共通で、原盤からスタートして、クラッド用基材の上にコアを形成する工程までを示す。図3(G)は、クラッド用基材のコア形成面に接着剤層54を用いてクラッド層(クラッドフィルム)52を貼り合わせる工程により得られた高分子光導波路シート60を、コア長手方向に直角に切断した切断面を示す。
以下に、本発明による高分子光導波路の製造方法を工程順に説明する。
1)鋳型形成用硬化性樹脂の硬化樹脂層から形成され、光導波路コア凸部に対応する凹部を有する鋳型を準備する工程
鋳型の作製は、光導波路コアに対応する凸部を形成した原盤を用いて行うのが好ましいが、これに限定されるものではない。以下では、原盤を用いる方法について説明する。
<原盤の作製>
光導波路コアに対応する凸部を形成した原盤の作製には、従来の方法、たとえばフォトリソグラフィー法やRIE法を特に制限なく用いることができる。また、本出願人が先に出願した電着法又は光電着法により高分子光導波路を作製する方法(特願2002−10240号)も、原盤を作製するのに適用できる。原盤に形成される光導波路コアに対応する凸部の大きさは一般的に5〜500μm程度、好ましくは40〜200μm程度であり、高分子光導波路の用途等に応じて適宜決められる。例えばシングルモード用の光導波路の場合には、10μm角程度のコアを、マルチモード用の光導波路の場合には、50〜100μm角程度のコアが一般的に用いられるが、用途によっては数百μm程度と更に大きなコア部を持つ光導波路も利用される。
<鋳型の作製>
鋳型は、前記のようにして作製した原盤の光導波路コアに対応する凸部が形成された面に、鋳型形成用硬化性樹脂を塗布したり注型し、必要に応じ乾燥処理をした後、該樹脂を硬化させ、次いでその硬化樹脂層を剥離して作製される。また、鋳型には、前記凸部に対応する凹部にコア形成用硬化性樹脂を充填するための進入口、及び前記凸部に対応する凹部から前記樹脂を排出させるための排出口が形成されるが、その形成方法は特に制限はない。原盤に予め進入口や排出口に対応する凸部を設けておくこともできるが、簡便な方法としては、例えば、原盤に鋳型形成用硬化性樹脂の硬化樹脂層を形成した後剥離して型をとり、その後、型の両端を前記凹部が露出するように切断することにより進入口及び排出口を形成する方法が挙げられる。
また、鋳型凹部に連通する貫通孔を凹部の両端に設けることが有効である。進入口側の貫通孔は液(樹脂)溜まりとして利用でき、排出側の貫通孔は減圧吸引管をその中に挿入して凹部内部を減圧吸引装置に接続することができる。また、進入側貫通孔をコア形成用硬化性樹脂の注入管に連結して該樹脂を加圧注入することも可能である。貫通孔は、凹部のピッチにより、各凹部に対応してそれぞれ設けてもよく、また、各凹部に共通に連通する1つの貫通孔を設けてもよい。
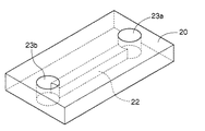
図4に、貫通孔を形成した鋳型の一例を示す。図4中、20は鋳型、23aは進入口側の貫通孔を、23bは排出側(減圧吸引側)の貫通孔をそれぞれ示す。貫通孔は、前記図1(C)で示すような型を前記と同様にして作製した後、打ち抜き等により形成することができる。
前記硬化樹脂層の厚さは、鋳型としての取り扱い性を考慮して適宜決められるが、一般的に0.1〜50mm程度が適切である。
また、前記原盤にはあらかじめ離型剤塗布などの離型処理を行なって鋳型との剥離を促進することが望ましい。
鋳型形成用硬化性樹脂としては、その硬化物が原盤から容易に剥離できること、鋳型(繰り返し用いる)として一定以上の機械的強度・寸法安定性を有すること、凹部形状を維持する硬さ(硬度)を有すること、クラッド用基材との密着性が良好なことが好ましい。鋳型形成用硬化性樹脂には、必要に応じて各種添加剤を加えることができる。
鋳型形成用硬化性樹脂は、原盤の表面に塗布や注型等することが可能で、また、原盤に形成された個々の光導波路コアに対応する凸部を正確に写し取らなければならないので、ある限度以下の粘度、たとえば、500〜7000mPa・s程度を有することが好ましい。(なお、本発明において用いる「鋳型形成用硬化性樹脂」の中には、硬化後、弾性を有するゴム状体となるものも含まれる。)また、粘度調節のために溶剤を、溶剤の悪影響が出ない程度に加えることができる。
前記鋳型形成用硬化性樹脂としては、前記のごとき剥離性、機械強度・寸法安定性、硬度、クラッド用基材との密着性の点から、硬化後、シリコーンゴム(シリコーンエラストマー)又はシリコーン樹脂となる硬化性オルガノポリシロキサンが好ましく用いられる。前記硬化性オルガノポリシロキサンは、分子中にメチルシロキサン基、エチルシロキサン基、フェニルシロキサン基を含むものが好ましい。また、前記硬化性オルガノポリシロキサンは、一液型のものでも硬化剤と組み合わせて用いる二液型のものでもよく、また、熱硬化型のものでも室温硬化型(例えば空気中の水分で硬化するもの)のものでもよく、更に他の硬化(紫外線硬化等)を利用するものであってもよい。
前記硬化性オルガノポリシロキサンとしては、硬化後シリコーンゴムとなるものが好ましく、これには通常液状シリコーンゴム(「液状」の中にはペースト状のように粘度の高いものも含まれる)と称されているものが用いられ、硬化剤と組み合わせて用いる二液型のものが好ましく、中でも付加型の液状シリコーンゴムは、表面と内部が均一にかつ短時間に硬化し、またその際副生成物が無く又は少なく、かつ離型性に優れ収縮率も小さいので好ましく用いられる。
前記液状シリコーンゴムの中でも特に液状ジメチルシロキサンゴムが密着性、剥離性、強度及び硬度の制御性の点から好ましい。また、液状ジメチルシロキサンゴムの硬化物は、一般に屈折率が1.43程度と低いために、これから作った鋳型は、クラッド用基材から剥離させずに、そのままクラッド層として利用することができる。この場合には、鋳型と、充填したコア形成用樹脂及びクラッド用基材とが剥がれないような工夫が必要になる。
前記液状シリコーンゴムの粘度は、光導波路コアに対応する凸部を正確に写し取り、かつ気泡の混入を少なくして脱泡し易くする観点と、数ミリの厚さの鋳型形成の点から、500〜7000mPa・s程度のものが好ましく、さらには、2000〜5000mPa・s程度のものがより好ましい。
さらに、鋳型の表面エネルギーは、10dyn/cm〜30dyn/cm、好ましくは15dyn/cm〜24dyn/cmの範囲にあることが、基材フィルムとの密着性とコア形成用硬化性樹脂の浸透速度の点からみて好ましい。
鋳型のシェア(Share)ゴム硬度は、15〜80、好ましくは20〜60であることが、型取り性能、凹部形状の維持、剥離性の点からみて好ましい。
鋳型の表面粗さ(二乗平均粗さ(RMS))は、0.5μm以下、好ましくは0.1μm以下、より好ましくは0.05μm以下にすることが、形成されたコアの光導波特性において光損失を大幅に低減できる。
また、鋳型は、紫外領域及び/又は可視領域において光透過性であることが好ましい。鋳型が可視領域において光透過性であることが好ましいのは、以下の2)の工程において鋳型をクラッド用基材に密着させる際、位置決めが容易に行え、また、以下の3)の工程においてコア形成用硬化性樹脂が鋳型凹部に充填される様子が観察でき、充填完了等が容易に確認しうるからである。また、鋳型が紫外領域において光透過性であることが好ましいのは、コア形成用硬化性樹脂として紫外線硬化性樹脂を用いる場合に、鋳型を透して紫外線硬化を行うためであり、鋳型の、紫外領域(300nm〜400nm)における透過率が80%以上であることが好ましい。
前記硬化性オルガノポリシロキサン、中でも硬化後シリコーンゴムとなる液状シリコーンゴムは、クラッド用基材との密着性と剥離性という相反した特性に優れ、ナノ構造を写し取る能力を持ち、シリコーンゴムとクラッド用基材とを密着させると液体の進入さえ防ぐことができる。このようなシリコーンゴムを用いた鋳型は高精度に原盤を写し取り、クラッド用基材に良く密着するため、鋳型とクラッド用基材の間の凹部のみに効率よくコア形成用樹脂を充填することが可能となり、さらにクラッド用基材と鋳型の剥離も容易である。したがって、この鋳型からは高精度に形状を維持した高分子光導波路を、極めて簡便に作製することができる。
また、前記硬化樹脂層、とりわけ硬化樹脂層がゴム弾性を有する場合、硬化樹脂層の一部すなわち原盤凸部を写し取る部分以外の部分を他の剛性材料に置き換えることができ、この場合、鋳型のハンドリング性が向上する。
2)前記鋳型にクラッド用基材を密着させる工程
本発明において用いるクラッド用基材としては、ガラス基材、セラミック基材、プラスチック基材等のものが制限なく用いられる。また屈折率制御のために前記基材に樹脂コートしたものも用いられる。クラッド用基材の屈折率は、1.55より小さく、1.50より小さいものがより好ましい。特に、コア材の屈折率より0.05以上小さいことが必要である。また、クラッド基材としては、平坦で、鋳型との密着性に優れ、両者を密着させた場合、鋳型凹部以外に空隙が生じないものが好ましい。また、クラッド基材が鋳型及び/又はコアとの密着性が余り良好でない場合には、オゾン雰囲気による処理、波長300nm以下の紫外線照射処理を行って、鋳型等との密着性を改善することが好ましい。
プラスチック基材の中でも、フレキシブルなフィルム基材を用いた高分子光導波路は、カプラー、ボード間の光配線や光分波器等としても使用できる。前記フィルム基材は、作製される高分子光導波路の用途に応じて、その屈折率、光透過性等の光学的特性、機械的強度、耐熱性、鋳型との密着性、フレキシビリティー(可撓性)等を考慮して選択される。
前記フィルム基材の材料としては、アクリル系樹脂(ポリメチルメタクリレート等)、脂環式アクリル樹脂、スチレン系樹脂(ポリスチレン、アクリロニトリル・スチレン共重合体等)、オレフィン系樹脂(ポリエチレン、ポリプロピレン、エチレン・プロピレン共重合体等)、脂環式オレフィン樹脂、塩化ビニル系樹脂、塩化ビニリデン系樹脂、ビニルアルコール系樹脂、ビニルブチラール系樹脂、アリレート系樹脂、含フッ素樹脂、ポリエステル系樹脂(ポリエチレンテレフタレート、ポリエチレンナフタレート等)、ポリカーボネート系樹脂、二又は三酢酸セルロース、アミド系樹脂(脂肪族、芳香族ポリアミド等)、イミド系樹脂、スルホン系樹脂、ポリエーテルスルホン系樹脂、ポリエーテルエーテルケトン系樹脂、ポリフェニレンスルフィド系樹脂、ポリオキシメチレン系樹脂、または前記樹脂のブレンド物等が挙げられる。
前記脂環式アクリル樹脂としてはトリシクロデカン等の脂肪族環状炭化水素をエステル置換基に導入した、OZ−1000、OZ−1100(日立化成(株)製)等が用いられる。
また、脂環式オレフィン樹脂としては主鎖にノルボルネン構造を有するもの、及び主鎖にノルボルネン構造を有しかつ側鎖にアルキルオキシカルボニル基(アルキル基としては炭素数1から6のものやシクロアルキル基)等の極性基をもつものが挙げられる。中でも前記のごとき主鎖にノルボルネン構造を有しかつ側鎖にアルキルオキシカルボニル基等の極性基をもつ脂環式オレフィン樹脂は、低屈折率(屈折率が1.50近辺であり、コア・クラッドの屈折率の差を確保できる)及び高い光透過性等の優れた光学的特性を有し、鋳型との密着性に優れ、さらに耐熱性に優れているので特に本発明の高分子光導波路の作製に適している。
前記フィルム基材の屈折率は、コアとの屈折率差を確保するため、1.55より小さく、好ましくは1.53より小さくすることが望ましい。
また、前記フィルム基材の厚さはフレキシビリティーと剛性や取り扱いの容易さ等を考慮して適切に選ばれ、一般的には0.1mm〜0.5mm程度が好ましい。
3)クラッド用基材を密着させた鋳型の凹部にコア形成用硬化性樹脂を充填する工程
鋳型凹部にコア形成用硬化性樹脂を充填するには、鋳型凹部の一端部(進入口側)へ加圧注入を行なったり、鋳型凹部の他端部(減圧吸引側)から減圧吸引を行なったり、或いは加圧注入と減圧吸引の両方を行ない、その際前記加圧注入及び減圧吸引の一方又は両方静圧力のみによって実施することにより、脈動を小さく又はなくす。特に加圧注入の際に脈動を発生させないことが好ましい。脈動を発生させない加圧手段としては、圧力ガスボンベの利用、重力利用加圧装置の利用、大きなサイズの加圧空間タンクを挿入した装置の利用、多重の気体フィルターの利用、高所からの液体圧力の利用等が挙げられる。また、減圧手段としては、通常の減圧手段に前記のごとき脈動抑制装置を利用するものであり、例えば真空ポンプ(ロータリーポンプ等)を、真空ポンプと鋳型凹部との間にトラップ或いは減圧タンク等を介して用いることにより、脈動をなくする又は小さくすることができる。
また、前記のごとく凹部端部に貫通孔を設けた場合は、進入側貫通孔に樹脂を溜め加圧充填したり、排出側貫通孔に減圧吸引管を挿入して減圧吸引するなどすることができる。
また、前記加圧充填と減圧吸引を併用する場合はこれらを同期して行うことがさらに、前記加圧充填において圧力を段階的に増加させ、前記減圧吸引において圧力を段階的に減少させることが、鋳型が安定して固定された状態で、コア形成用硬化性樹脂をより高速に注入する相反則を両立させる点からみて好ましい。
コア形成用硬化性樹脂としては放射線硬化性、電子線硬化性、熱硬化性等の樹脂を用いることができ、中でも紫外線硬化性樹脂及び熱硬化性樹脂が好ましく用いられる。
前記コア形成用の紫外線硬化性樹脂又は熱硬化性樹脂としては、紫外線硬化性又は熱硬化性のモノマー、オリゴマー若しくはモノマーとオリゴマーの混合物が好ましく用いられる。
また、前記紫外線硬化性樹脂としてエポキシ系、ポリイミド系、アクリル系紫外線硬化性樹脂が好ましく用いられる。
コア形成用硬化性樹脂は、鋳型とクラッド用基材との間に形成された空隙(鋳型の凹部)に充填させるため、用いるコア形成用硬化性樹脂はそれが可能なように十分低粘度であることが必要である。前記硬化性樹脂の粘度は、50mPa・s〜2000mPa・s、望ましくは100mPa・s〜1000mPa・s、更に好ましくは300mPa・s〜700mPa・sにするのが、充填速度、コア形状の良さ及び光損失の少なさの点から好ましい。
このほかに、原盤に形成された光導波路コアに対応する凸部が有する元の形状を高精度に再現するため、前記硬化性樹脂の硬化前後の体積変化が小さいことが必要である。例えば、体積が減少すると導波損失の原因になる。したがって、前記硬化性樹脂は、体積変化ができるだけ小さいものが望ましく、10%以下、好ましくは0.01〜4%の範囲にあることが望ましい。溶剤を用いて低粘度化することは、硬化前後の体積変化が大きいのでできれば避ける方が好ましい。体積収縮が0.01%以下の材料系や体積膨張する材料系では鋳型からの剥離効率が下がり、鋳型からの剥離時に表面の破断等の表面劣化が生じるため、形成されるコア表面の平滑性が低下して光導波損失が上昇するので好ましくない。
コア形成用硬化性樹脂の硬化後の体積変化(収縮)を小さくするため、前記樹脂にポリマーを添加することができる。前記ポリマーはコア形成用硬化性樹脂との相溶性を有し、かつ該樹脂の屈折率、弾性率、透過特性に悪影響を及ぼさないものが好ましい。またポリマーを添加することにより体積変化を小さくする他、粘度や硬化樹脂のガラス転移点を高度に制御できる。前記ポリマーとしては例えばアクリル系、メタクリル酸系、エポキシ系のものが用いられるが、これらに限定されるものではない。
コア形成用硬化性樹脂の硬化物の屈折率は1.20から1.60の範囲、より好ましくは1.4から1.6の範囲が好ましく、硬化物の屈折率が前記範囲内に入る2種類以上の屈折率の異なる樹脂が用いられる。
コア形成用硬化性樹脂の硬化物の屈折率は、クラッドとなる前記フィルム基材(以下の5)の工程におけるクラッド層を含む)より大きいことが必要である。コアとクラッド(クラッド用基材及びクラッド層)との屈折率の差は、0.01以上、好ましくは0.05以上である。
また、この工程において、毛細管現象によるコア形成用硬化性樹脂の鋳型凹部への充填を促進するために、系全体を減圧(0.1〜200Pa程度)することが望ましい。
また、前記充填を促進するため、前記系の減圧に加えて、鋳型の進入口から充填するコア形成用硬化性樹脂を加熱することにより、より低粘度化することも有効な手段である。
4)充填したコア形成用硬化性樹脂を硬化させる工程
充填したコア形成用硬化性樹脂を硬化させる。紫外線硬化性樹脂を硬化させるには、紫外線ランプ、紫外線LED、UV照射装置等が用いられる。また、熱硬化性樹脂を硬化させるには、オーブン中での加熱等が用いられる。
5)鋳型をクラッド用基材から剥離する工程
前記4)の工程の後、鋳型をクラッド用基材から剥離する。また、前記1)〜3)の工程で用いる鋳型は、屈折率等の条件を満たせばそのままクラッド層に用いることも可能で、この場合は、鋳型を剥離する必要はなくそのままクラッド層として利用する。この場合、鋳型とコア材料の接着性を向上させるために鋳型をオゾン処理することが好ましい。
6)コアが形成されたクラッド用基材の上にクラッド層を形成する工程
コアが形成されたクラッド用基材の上にクラッド層を形成するが、クラッド層としてはフィルム(たとえば前記2)の工程で用いたようなクラッド用基材が同様に用いられる)や、クラッド用硬化性樹脂を塗布して硬化させた層、高分子材料の溶剤溶液を塗布して乾燥して得られる高分子膜等が挙げられる。クラッド用硬化性樹脂としては紫外線硬化性樹脂や熱硬化性樹脂が好ましく用いられ、例えば、紫外線硬化性又は熱硬化性のモノマー、オリゴマー若しくはモノマーとオリゴマーの混合物が用いられる。
クラッド形成用硬化性樹脂の硬化後の体積変化(収縮)を小さくするために、該樹脂と相溶性を有し、また該樹脂の屈折率、弾性率、透過特性に悪影響を及ぼさないポリマー(例えばメタクリル酸系、エポキシ系)を該樹脂に添加することができる。
クラッド層としてフィルムを用いる場合は、接着剤を用いて貼り合わされるが、その際、接着剤の屈折率が該フィルムの屈折率と近いことが望ましい。用いる接着剤は紫外線硬化性樹脂又は熱硬化性樹脂が好ましく用いられ、例えば、紫外線硬化性又は熱硬化性のモノマー、オリゴマー若しくはモノマーとオリゴマーの混合物が用いられる。
前記紫外線硬化性樹脂又は熱硬化性樹脂の硬化後の体積変化(収縮)を小さくするために、クラッド層に添加するポリマーと同様のポリマーを添加することができる。
また、前記クラッド用基材とクラッド層との屈折率差は小さい方が好ましく、その差は0.05以内、好ましくは0.001以内、更に好ましくは差がない(不均一性が無いまたは極少)ことが光の閉じ込めの点からみて好ましい。
本発明の高分子光導波路の製造方法において、特に、鋳型形成用硬化性樹脂として硬化してゴム状になる液状シリコーンゴム、中でも液状ジメチルシロキサンゴムを用い、クラッド用基材として主鎖にノルボルネン構造を有しかつ側鎖にアルキルオキシカルボニル基等の極性基をもつ脂環式オレフィン樹脂を用いる組み合わせは、両者の密着性が特に高く、また、鋳型凹部構造の変形がなく、さらに凹部構造の断面積が極めて小さくても(たとえば10×10μmの矩形)、素早く凹部に硬化性樹脂を充填することができる。
また、本発明の高分子光導波路の製造方法においては、前記1)鋳型形成用硬化性樹脂の硬化樹脂層から形成され、光導波路コア凸部に対応する凹部を有する鋳型を準備する工程において、前記硬化樹脂層を強化部材によって補強することが好ましい。また、強化部材にはコア形成用硬化性樹脂を圧入するための注入口(図8(A)の仮想線で示す24bを参照)が設けられる。注入口には注入管が挿入連結される。注入口は複数設け、加圧状態が各凹部の進入部(充填口)において均一になるようにすることが好ましい。さらに、鋳型内部を減圧状態にすることにより充填速度をさらに上げられるように、強化部材の注入口とは反対側(コア樹脂が鋳型凹部より排出される側)に排気口(図8(A)の仮想線で示す24cを参照)を設け、これに減圧脱気管を挿入連結し凹部排出側を減圧吸引することができる。排気口も複数設け、鋳型凹部の排出側において減圧状態が偏らないようにすることが好ましい。減圧時や加圧時の脈動は、鋳型凹部に液体樹脂を充填する際、液体の圧力密度分布を生じ、その不均一性が解消されずに硬化すると導波路内に屈折率分布を生じ、光導波損失を生じる結果になる。
強化部材を設けた鋳型を用いる場合について図を用いて説明する。図5(A)はクラッド用基材に強化部材を設けた鋳型を密着させた斜視図を示す。図5(A)中24は強化部材であり鋳型凹部形成領域(紫外線等の照射領域)は強化部材を切り欠いた構造のものとなっている。また26a、26bは注入管を、28a、28bは減圧脱気管をそれぞれ示し、90は鋳型強化部材24とクラッド用基材30とがわずかでも位置ズレを起こさないようにするために、両者を固定するためのネジである。20aは鋳型の硬化樹脂層であり、この部分は強化部材により覆われていない。
図5(B)は、図5(A)のA−A断面図であり、22は鋳型凹部を示す。
次に図6(A)及び図6(B)は、図5と同様な強化部材を備えた鋳型を用いる例を示し、クラッド用基材と鋳型が位置づれしないように、クラッド用基材を保持する保持部(凹部)を有する保持部材92を用いるもので、これも特にクラッド用基材としてフレキシブルフィルムを用いる場合に有効である。また、この例では、鋳型凹部形成領域(紫外線等の照射領域)に石英板、ガラス板、硬質プラスチック板のように光透過性の天板24aを用いている。
また、図7(A)及び図7(B)は、保持部材92に固定用の嵌合用溝93を設け、一方鋳型の強化部材に嵌合用部材29を設け、嵌合用部材29を嵌合用溝93の中に嵌め込んで固定するものである。
前記強化部材の材料としては金属材料、セラミック材料、硬質プラスチック材料等で作られ、その厚さは1mm〜40mm程度が適切である。
本発明の高分子光導波路の製造方法において、加圧注入及び/又は減圧吸引の際に、加圧又は減圧の圧力変化が起きた場合鋳型とクラッド用基材との間で位置ずれが生じたり、鋳型全体や部分で振動が発生して鋳型が変形したり、クラッド用基材との密着性が損なわれるなどの虞がある。しかし、強化部材を設けることにより前記のごとき不具合がなくなり、コア形状の精度を犠牲にすることなく、充填速度を大きくすることができる。
また、複数の光導波路コアをクラッド用基材上に形成する場合、前記のごとき強化部材を設けた鋳型の硬化樹脂層に、圧力緩和のための空隙部を設けることが好ましい。空隙部は、鋳型の複数凹部の一方の端部における進入部(コア形成用硬化性樹脂の充填口)のすべての進入部に連通する共通の空間を意味する。また、前記の空隙に加え、鋳型の複数凹部の他端部における排出部のすべての排出部に連通する空隙部を設けることが好ましい。進入部に空隙部を設けることにより、進入部に直接注入圧力が作用せず、各進入部に対する注入圧力が緩和され均一化される。また、排出部空隙を設けることにより、吸引負圧の緩和と均一化が得られ、鋳型各凹部への樹脂の注入が均一化される。
空隙部の断面積は、すべての凹部の総断面積の5〜20000倍であることが好ましく、より好ましくは500〜2500倍である。(ここで、「すべての凹部の総断面積」とは、空隙部を通じて連通する各凹部の端部の面積の総和を意味する。)
図8(A)及び(B)は進入部及び排出部に空隙部を設けた鋳型の一例を示す断面図である。
図8(A)は、鋳型を鋳型凹部及び空隙部が現われるように切断した切断面を示す図で、図8(A)中、20は鋳型、21は空隙部、22は凹部、24は強化部材、24bは強化部材に設けた注入口、24cは排出口をそれぞれ示す。また、図8(B)は、図8(A)をA−A線で切断した切断面を示す。
以下に実施例を示し本発明をさらに具体的に説明するが、本発明はこれらの実施例により限定されるものではない。
実施例1
<鋳型の作製>
ガラス基板に紫外線硬化型厚膜レジスト(マイクロケミカル(株)製、SU−8)をスピンコート法で塗布した後、80℃でプリベークし、フォトマスクを通して高圧水銀灯で露光し、現像して、断面が正方形の凸部(幅:50μm、高さ:50μm、長さ:50mm)を5本形成した。次に、これを120℃でポストベークして、光導波路コア作製用原盤を作製した。この原盤の表面に離型剤を塗布した。
次に、図5(A)で示すような、紫外線照射部分に対応する開口部が設けられ、かつ3つの注入口及び3つの排気口を有する強化部材(厚さ2mmのアルミニウム製)を用意した。この強化部材を、離型剤を塗布した原盤にかぶせた。
次いで、強化部材の開口部から、熱硬化性液状ジメチルシロキサンゴム(ダウコウニングアジア社製:SYLGARD184、粘度5000mPa.s)及びその硬化剤を混合したものを流し込み(この際、原盤凸部の末端部は前記ゴムで覆われないようにした)、120℃で30分間加熱して硬化させた。硬化後、硬化ゴムと強化部材が一体になったものを原盤から剥離したところ、前記凸部に対応する凹部を持ち、凹部にコア形成用硬化性樹脂を充填するための進入口及び該樹脂を凹部から排出させるための排出口が形成された鋳型が作製された。
<光導波路コア及びクラッド層の形成>
前記鋳型にアートンフイルムを加圧密着させた。また、前記鋳型の強化部材の各注入口と各排気口に注入管と減圧脱気管を接続した。注入管にはコア形成用硬化性樹脂を入れた加圧タンクを接続し、さらに加圧タンクには窒素ボンベを直結させて、静圧(13kPa)で該樹脂を圧入できるようにした。また、減圧脱気管は、圧力制御機構と減圧タンクを介して真空ロータリーポンプに接続し、圧力調整された静圧力(−50kPa)による減圧吸引が行なわれるようにした。コア形成用硬化性樹脂としては粘度が1300mPa・sの紫外線硬化性樹脂(JSR社製:PJ3001)を用いた。40秒で鋳型凹部に紫外線硬化性樹脂を充填することができた。
鋳型から注入管及び減圧脱気管をはずし、鋳型の露光用開口部から50mW/cm2のUV光を10分間照射してコア形成用硬化性樹脂を硬化させた。鋳型を剥離すると、アートンフイルム上に屈折率1.59のコアが形成された。
さらに、アートンフイルムのコア形成面に、硬化後の屈折率がアートンフイルムと同じ1.51である紫外線硬化性樹脂(JSR(株)製)を全面に塗布した後、50mW/cm2のUV光を10分間照射して紫外線硬化させ(硬化後の膜厚10μm)た。フレキシブルな高分子光導波路が得られた。この高分子光導波路の平均導波損失は、0.35dB/cmであった。
比較例1
実施例1において、注入管と減圧脱気管に直接ロータリーポンプに接続し、同様の加圧及び減圧でコア形成用硬化性樹脂を充填する他は、実施例1と同様にして高分子光導波路を作製した。この加圧及び減圧では、80ヘルツの脈動による圧力変化があった。得られた高分子光導波路の損失を測定したところ、導波損失は平均値で0.43dB/cmであった。
実施例2
<鋳型の作製>
ガラス基板に紫外線硬化型厚膜レジスト液(マイクロケミカル(株)製、SU−8)をスピンコート法で塗布した後、80℃加熱オーブンでプリベークし、フォトマスクを通して高圧水銀灯により露光した後、現像工程を経て、断面が正方形の微細凸部(幅:80μm、高さ:80μm、長さ:100mm)を10本作製した。次に、これを120℃でポストベークした。このようにして作製した凸部の1つの端部に、モールドにより、高さ2mm、幅(凸部に直交する方向)10mm、基板長手方向長さ20mmの、断面が長方形の圧力緩和空隙作製用凸部を形成し、原盤とした。
次に、図6(A)に示すようなアルミ製の強化部材を作製した。露光用開口部24aは石英ガラス製とした。
前記原盤に離型剤を塗布した後、この上に熱硬化性シリコーンゴムオリゴマー(ダウコウニングアジア社製:SYLGARD184、ジメチルポリシロキサン)を、凸部の長手方向の一端が一部露出するように、かつ、他端にある空隙部作製用凸部の端部までが覆われるように、塗布した。この上から前記強化部材を押圧し固定した。その後、120℃で30分間加熱して硬化させ、シリコンゴムと強化部材を一体化させた。硬化シリコーンゴム層の厚さは10mmであった。次いでこれを原盤から剥離し鋳型を得た。鋳型のシリコンゴム層には、50μm角の凹部と、コア形成用硬化性樹脂の進入部と排出部、空隙部とが形成された。
<光導波路コア及びクラッド層の形成>
前記鋳型にアートンフイルムを加圧密着させた。また、前記鋳型の強化部材の各注入口と各排気口に注入管と減圧脱気管を接続した。実施例1と同様の加圧充填装置(静圧力6kPa)及び減圧吸引装置(静圧力−80kPa)を用い、粘度が500mPa・sの紫外線硬化性樹脂(JSR社製:PJ3001)を圧力注入した。
充填終了後、鋳型から注入管及び減圧脱気管をはずし、鋳型の石英製窓を通して75mW/cm2のUV光を10分間照射してコア形成用硬化性樹脂を硬化させた。
鋳型を剥離すると、アートンフイルム上に屈折率1.570のコアが形成された。
さらに、アートンフイルムのコア形成面に、硬化後の屈折率がアートンフイルムと同じ1.510である熱硬化性樹脂(JSR(株)製)を全面に塗布した後、加熱硬化させたところ、フレキシブルな高分子光導波路が得られた。この高分子光導波路の平均導波損失は、0.358dB/cmであった。また、10本の導波路の光損失は、0.36 ±0.008dB/cmの範囲に入っており、バラツキの少ない特性であった。
実施例3
<鋳型の作製>
ガラス基板に紫外線硬化型厚膜レジスト液(マイクロケミカル(株)製、SU−8)をスピンコート法で塗布した後、80℃加熱オーブンでプリベークし、フォトマスクを通して高圧水銀灯により露光した後、現像工程を経て、断面が正方形の微細凸部(幅:50μm、高さ:50μm、長さ:100mm)を15本作製した。次に、これを120℃でポストベークした。このようにして作製した凸部の両端部に、モールドにより、高さ2mm、幅(凸部に直交する方向)15mm、基板長手方向長さ10mmの、断面が長方形の圧力緩和空隙作製用凸部を形成し、原盤とした。
次に、図6(A)に示すようなステンレス製の強化部材を作製した。露光用開口部24aは石英ガラス製とした。
この原盤と強化部材を用いて、実施例2と同様にして鋳型を作製した。
<光導波路コア及びクラッド層の形成>
実施例2と同様にして、粘度が1300mPa・sの紫外線硬化性樹脂(JSR社製:PJ3001)を鋳型凹部に充填した。
充填終了後、鋳型から注入管及び減圧脱気管をはずし、鋳型の石英製窓を通して50mW/cm2のUV光を10分間照射してコア形成用硬化性樹脂を硬化させた。鋳型を剥離すると、アートンフイルム上に屈折率1.591のコアが形成された。
さらに、クラッド基材フィルムのコア形成面に、硬化後の屈折率がアートンフイルムと同じ1.510である紫外線硬化性接着剤(JSR(株)製)を全面に塗布した後、膜厚120μmのアートンフィルムを載せ、50mW/cm2のUV光を15分間照射して紫外線硬化させた。フレキシブルなサンドイッチ型高分子光導波路が得られた。この高分子光導波路の平均導波損失は、0.354dB/cmであった。
本発明の高分子光導波路の製造方法の一態様を示す概念図である。 クラッド用基材に鋳型を密着させた状態を示す斜視図である。 本発明の高分子光導波路の製造方法の他の一態様を示す概念図である。 本発明において用いる貫通孔を形成した鋳型の一例を示す。 強化部材を備えた鋳型を用いるコア材料充填工程を説明するための概念図である。 強化部材を備えた鋳型を用いる他のコア材料充填工程を説明するための概念図である。 強化部材を備えた鋳型を用いる他のコア材料充填工程を説明するための概念図である。 鋳型の硬化樹脂層に応力緩和のための空隙を設けた例を示す図である。
符号の説明
10 原盤
12 光導波路コアに対応する凸部
20 鋳型
20a 鋳型の樹脂硬化層
21 空隙部
22 鋳型に形成された凹部
22a コア形成用硬化性樹脂の進入口
22b コア形成用硬化性樹脂の排出口
23a 進入口側貫通孔
23b 減圧吸引側貫通孔
24 鋳型強化部材
26a、26b コア形成用硬化性樹脂の注入管
28a、28b コア形成用硬化性樹脂の排出管
30 クラッド用基材
40a コア形成用硬化性樹脂
40 コア
50 クラッド層
60 高分子光導波路

Claims (19)

  1. 1)鋳型形成用硬化性樹脂の硬化樹脂層から形成され、光導波路コア凸部に対応する凹部を有する鋳型を準備する工程、2)鋳型にクラッド用基材を密着させる工程、3)クラッド用基材を密着させた鋳型の凹部にコア形成用硬化性樹脂を充填する工程、4)充填したコア形成用硬化性樹脂を硬化させる工程、5)鋳型をクラッド用基材から剥離する工程、6)コアが形成されたクラッド用基材の上にクラッド層を形成する工程、を有する高分子光導波路の製造方法であって、前記3)の工程において鋳型凹部の一端部への加圧注入及び/又は鋳型凹部の他端部からの減圧吸引を行ない、かつ加圧注入及び減圧吸引の一方又は両方を静圧力のみによって実施することを特徴とする高分子光導波路の製造方法。
  2. 前記鋳型が、光導波路コア凸部に対応する凹部を有する鋳型形成用硬化性樹脂の硬化樹脂層と、前記硬化樹脂層を補強する強化部材を有し、強化部材にはコア形成用硬化性樹脂の注入口が設けられていることを特徴とする請求項1に記載の高分子光導波路の製造方法。
  3. 前記硬化樹脂層が、凹部両端部における進入部及び/又は排出部に連通する応力緩和のための空隙部を有することを特徴とする請求項1に記載の高分子光導波路の製造方法。
  4. 前記鋳型形成用硬化性樹脂が、液状シリコーンゴムであることを特徴とする請求項1に記載の高分子光導波路の製造方法。
  5. 前記液状シリコーンゴムが、液状ジメチルシロキサンゴムであることを特徴とする請求項3に記載の高分子光導波路の製造方法。
  6. 前記3)の工程において加圧充填を行い、加圧充填と同期して鋳型凹部のコア形成用硬化性樹脂排出側から減圧吸引することを特徴とする請求項1に記載の高分子光導波路の製造方法。
  7. 前記加圧充填及び/又は減圧吸引を静圧力のみで行なうことを特徴とする請求項6に記載の高分子光導波路の製造方法。
  8. 前記加圧充填において圧力を段階的に増加させ、前記減圧吸引において圧力を段階的に減少させることを特徴とする請求項6に記載の高分子光導波路の製造方法。
  9. 前記硬化樹脂層の厚さが、10μm〜50mmであることを特徴とする請求項1に記載の高分子光導波路の製造方法。
  10. 前記強化部材が、金属材料又はセラミック材料からなることを特徴とする請求項2に記載の高分子光導波路の製造方法。
  11. 前記強化部材の厚さが、1mm〜40mmであることを特徴とする請求項2に記載の高分子光導波路の製造方法。
  12. 前記鋳型の表面エネルギーが、10dyn/cm〜30dyn/cmであることを特徴とする請求項1に記載の高分子光導波路の製造方法。
  13. 前記鋳型のシェア(Share)ゴム硬度が、15〜80であることを特徴とする請求項1に記載の高分子光導波路の製造方法。
  14. 前記鋳型の表面粗さが、0.5μm以下であることを特徴とする請求項1に記載の高分子光導波路の製造方法。
  15. 前記鋳型が、紫外領域及び/又は可視領域において光透過性であることを特徴とする請求項1に記載の高分子光導波路の製造方法。
  16. 前記クラッド用基材が、クラッド用フィルム基材であることを特徴とする請求項1に記載の高分子光導波路の製造方法。
  17. 前記コア形成用硬化性樹脂の粘度が50mPa・s〜2000mPa・sであることを特徴とする請求項1に記載の高分子光導波路の製造方法。
  18. 前記クラッド用基材とクラッド層の屈折率の差が、0.1以下であることを特徴とする請求項1に記載の高分子光導波路の製造方法。
  19. 1)鋳型形成用硬化性樹脂の硬化樹脂層から形成され、光導波路コア凸部に対応する凹部を有する鋳型を準備する工程、2)鋳型にクラッド用基材を密着させる工程、3)クラッド用基材を密着させた鋳型の凹部にコア形成用硬化性樹脂を充填する工程、4)充填したコア形成用硬化性樹脂を硬化させる工程、を有する高分子光導波路の製造方法であって、前記3)の工程において鋳型凹部の一端部への加圧注入及び/又は鋳型凹部の他端部からの減圧吸引を行ない、かつ加圧注入及び減圧吸引の一方又は両方を静圧力のみによって実施し、更に前記鋳型形成用硬化性樹脂の硬化樹脂層が光透過性であり、かつその屈折率と前記4)の工程で形成されるコアの屈折率の差が0.01以上あることを特徴とする高分子光導波路の製造方法。
JP2003279000A 2003-07-24 2003-07-24 高分子光導波路の製造方法 Expired - Fee Related JP4457599B2 (ja)

Priority Applications (1)

Application Number Priority Date Filing Date Title
JP2003279000A JP4457599B2 (ja) 2003-07-24 2003-07-24 高分子光導波路の製造方法

Applications Claiming Priority (1)

Application Number Priority Date Filing Date Title
JP2003279000A JP4457599B2 (ja) 2003-07-24 2003-07-24 高分子光導波路の製造方法

Publications (2)

Publication Number Publication Date
JP2005043748A JP2005043748A (ja) 2005-02-17
JP4457599B2 true JP4457599B2 (ja) 2010-04-28

Family

ID=34265243

Family Applications (1)

Application Number Title Priority Date Filing Date
JP2003279000A Expired - Fee Related JP4457599B2 (ja) 2003-07-24 2003-07-24 高分子光導波路の製造方法

Country Status (1)

Country Link
JP (1) JP4457599B2 (ja)

Also Published As

Publication number Publication date
JP2005043748A (ja) 2005-02-17

Similar Documents

Publication Publication Date Title
JP4144468B2 (ja) 積層型高分子光導波路およびその製造方法
US20040037530A1 (en) Process for producing polymer optical waveguide
US7604758B2 (en) Process for producing polymer optical waveguide
JP2006126568A (ja) 高分子光導波路デバイスの製造方法
JP4196839B2 (ja) 高分子光導波路の製造方法
JP2004144987A (ja) 高分子光導波路の製造方法
JP2008020722A (ja) 光導波路及びその製造方法
JP4265293B2 (ja) 鋳型及びコネクタ一体型高分子光導波路の製造方法
JP4175183B2 (ja) 高分子光導波路の製造方法
JP4292892B2 (ja) 積層型高分子光導波路の製造方法及びこの方法により作製される積層型高分子光導波路
JP4534415B2 (ja) 高分子光導波路の製造方法
JP4140475B2 (ja) 高分子光導波路作製用原盤及び高分子光導波路の製造方法
JP4214862B2 (ja) ピッチ変換導波路アレイ
JP4457599B2 (ja) 高分子光導波路の製造方法
JP4337559B2 (ja) 高分子光導波路製造用鋳型及び高分子光導波路の製造方法
JP4273975B2 (ja) フレキシブル高分子光導波路の製造方法
JP2005043652A (ja) 高分子光導波路の製造方法及びその製造装置
JP2007233303A (ja) 高分子光導波路モジュールの製造方法
JP2007086330A (ja) 高分子光導波路デバイスの製造方法
JP4259222B2 (ja) クロスコネクト光配線シート及びその製造方法
JP4281548B2 (ja) フレキシブル高分子光導波路の製造方法
JP4561059B2 (ja) 高分子光導波路の製造方法
JP4517704B2 (ja) 高分子光導波路の製造方法
JP2005003874A (ja) 高分子光導波路の製造方法
JP2005208285A (ja) 高分子光導波路の製造方法

Legal Events

Date Code Title Description
A621 Written request for application examination

Free format text: JAPANESE INTERMEDIATE CODE: A621

Effective date: 20060622

A977 Report on retrieval

Free format text: JAPANESE INTERMEDIATE CODE: A971007

Effective date: 20080123

A131 Notification of reasons for refusal

Free format text: JAPANESE INTERMEDIATE CODE: A131

Effective date: 20080415

A521 Written amendment

Free format text: JAPANESE INTERMEDIATE CODE: A523

Effective date: 20080616

A131 Notification of reasons for refusal

Free format text: JAPANESE INTERMEDIATE CODE: A131

Effective date: 20081028

TRDD Decision of grant or rejection written
A01 Written decision to grant a patent or to grant a registration (utility model)

Free format text: JAPANESE INTERMEDIATE CODE: A01

Effective date: 20100119

A01 Written decision to grant a patent or to grant a registration (utility model)

Free format text: JAPANESE INTERMEDIATE CODE: A01

A61 First payment of annual fees (during grant procedure)

Free format text: JAPANESE INTERMEDIATE CODE: A61

Effective date: 20100201

R150 Certificate of patent or registration of utility model

Ref document number: 4457599

Country of ref document: JP

Free format text: JAPANESE INTERMEDIATE CODE: R150

Free format text: JAPANESE INTERMEDIATE CODE: R150

FPAY Renewal fee payment (event date is renewal date of database)

Free format text: PAYMENT UNTIL: 20130219

Year of fee payment: 3

FPAY Renewal fee payment (event date is renewal date of database)

Free format text: PAYMENT UNTIL: 20130219

Year of fee payment: 3

FPAY Renewal fee payment (event date is renewal date of database)

Free format text: PAYMENT UNTIL: 20140219

Year of fee payment: 4

LAPS Cancellation because of no payment of annual fees