JP4448288B2 - Vリブドベルト - Google Patents
Vリブドベルト Download PDFInfo
- Publication number
- JP4448288B2 JP4448288B2 JP2003122010A JP2003122010A JP4448288B2 JP 4448288 B2 JP4448288 B2 JP 4448288B2 JP 2003122010 A JP2003122010 A JP 2003122010A JP 2003122010 A JP2003122010 A JP 2003122010A JP 4448288 B2 JP4448288 B2 JP 4448288B2
- Authority
- JP
- Japan
- Prior art keywords
- belt
- ribbed belt
- pulley
- rubber
- rubber layer
- Prior art date
- Legal status (The legal status is an assumption and is not a legal conclusion. Google has not performed a legal analysis and makes no representation as to the accuracy of the status listed.)
- Expired - Fee Related
Links
Images
Classifications
-
- F—MECHANICAL ENGINEERING; LIGHTING; HEATING; WEAPONS; BLASTING
- F16—ENGINEERING ELEMENTS AND UNITS; GENERAL MEASURES FOR PRODUCING AND MAINTAINING EFFECTIVE FUNCTIONING OF MACHINES OR INSTALLATIONS; THERMAL INSULATION IN GENERAL
- F16G—BELTS, CABLES, OR ROPES, PREDOMINANTLY USED FOR DRIVING PURPOSES; CHAINS; FITTINGS PREDOMINANTLY USED THEREFOR
- F16G5/00—V-belts, i.e. belts of tapered cross-section
- F16G5/20—V-belts, i.e. belts of tapered cross-section with a contact surface of special shape, e.g. toothed
-
- F—MECHANICAL ENGINEERING; LIGHTING; HEATING; WEAPONS; BLASTING
- F16—ENGINEERING ELEMENTS AND UNITS; GENERAL MEASURES FOR PRODUCING AND MAINTAINING EFFECTIVE FUNCTIONING OF MACHINES OR INSTALLATIONS; THERMAL INSULATION IN GENERAL
- F16G—BELTS, CABLES, OR ROPES, PREDOMINANTLY USED FOR DRIVING PURPOSES; CHAINS; FITTINGS PREDOMINANTLY USED THEREFOR
- F16G5/00—V-belts, i.e. belts of tapered cross-section
- F16G5/04—V-belts, i.e. belts of tapered cross-section made of rubber
- F16G5/06—V-belts, i.e. belts of tapered cross-section made of rubber with reinforcement bonded by the rubber
Landscapes
- Engineering & Computer Science (AREA)
- General Engineering & Computer Science (AREA)
- Mechanical Engineering (AREA)
- Compositions Of Macromolecular Compounds (AREA)
- Manufacture Of Macromolecular Shaped Articles (AREA)
Description
【発明の属する技術分野】
本発明は、Vリブドベルト本体がプーリに接触するように巻き掛けられて動力を伝達するVリブドベルトに係り、詳しくは、Vリブドベルト本体の少なくともプーリ接触部分に低発音性及び耐摩耗性の優れたゴム組成物を用いることで騒音性を軽減したものに関する。
【0002】
【従来の技術】
自動車のエンジンルームの省スペース化を図るべく、1本のVリブドベルトでエンジンのクランクシャフトからの動力をパワーステアリング、エアーコンプレッサー、オルタネータ等の補機に伝達するサーペンタイン駆動方式が普及している。そのため、かかるVリブドベルトには、高い動力伝達能力が要求される。また、Vリブドベルトには、自動車の乗り心地の追求等によりベルト走行時の静粛性も要求される。そこで、一般に、Vリブドベルトでは、プーリに接触する圧縮ゴム層にベルト幅方向に配向した短繊維が混入されて補強されており、その短繊維がベルト表面から突出していることによりベルト表面の摩擦係数が低減され、低発音性及び耐摩耗性の向上が図られている。
【0003】
特許文献1には、 ベルト長さ方向に沿って心線を埋設した接着ゴム層と、接着ゴム層下面に隣接していると共に短繊維をベルト幅方向に埋設した圧縮ゴム層とからなり、圧縮ゴム層においてベルト側面から幅方向の短繊維の一部が突出している動力伝動用Vベルトにおいて、圧縮ゴム層中の短繊維がベルト巾方向に配向された長さ2〜10mmのパラ系及び/又はメタ系アラミド繊維と、最大長さが2mmで1mm以下の長さが80%以上を占めるパルプ状のパラ系アラミド繊維とからなるものが開示されている。そして、これによれば、ベルトの圧縮ゴム層に混入するアラミド短繊維の効果を充分発揮せしめつつ、且つ圧縮ゴム層の耐摩耗性と非粘着性の向上を改善しうると記載されている。
【0004】
特許文献2には、圧縮ゴム層に綿短繊維及びパラ系アラミド短繊維を含有するとともにリブ側面から突出させ、さらに突出したパラ系アラミド短繊維がフィブリル化しており、さらに綿短繊維とパラ系アラミド短繊維の含有量を圧縮ゴム層のゴム100重量部に対して綿短繊維を10〜40重量部、パラ系アラミド短繊維を5〜10重量部含有したVリブドベルトが開示されている。そして、これによれば、自動車用ベルトで回転変動の大きいエンジンに使用する場合に注水時の微小滑りを抑えることで発音を無くすことができると記載されている。
【0005】
特許文献3には、接着ゴム層内にベルト長手方向に沿って心線が埋設され、接着ゴム層の下部にベルト長手方向に複数のリブを設けた圧縮ゴム層を、接着ゴム層の上部には伸張層として基布が積層した構造を有したVリブドベルトであって、この圧縮ゴム層には短繊維成分がゴム成分100質量部に対して5〜40質量部配合されたものが開示されている。そして、これによれば、通常時及び注水時の動力伝達性に優れ、低張力における発音抑制効果の高い動力伝動ベルトを得ることができると記載されている。
【0006】
特許文献4には、ベルト長手方向に沿って心線を埋設した接着ゴム層と、圧縮ゴム層を含む弾性体層からなるVリブドベルトであって、接着ゴム層と圧縮ゴム層からなる弾性体層のうち少なくとも圧縮ゴム層にエチレン−α−オレフィンエラストマー配合物の加硫物を使用し、そのエチレン−α−オレフィンエラストマー中のエチレン含量が60〜75質量%であり、かつ圧縮ゴム層に補強繊維として長さが0.5〜3mmの1種類もしくは2種類以上の短繊維を含み、その短繊維の総添加量がエチレン−α−オレフィンエラストマー100質量部に対して10〜30質量部であるものが開示されている。そして、それによれば、シーティングの加工性が良好な短繊維含有ゴム組成物およびこの短繊維含有ゴム組成物を少なくとも圧縮ゴム層に用いることにより、優れた屈曲疲労性、耐熱性を有し、かつ耐寒性、耐摩耗性、耐粘着摩耗性を備えた高耐久性を有する動力伝動用ベルトを得ることができると記載されている。
【0007】
なお、特許文献5には、ウレタンエラストマー製の伝動ベルトであるが、ポリエチレンやポリプロピレンのようなポリオレフィンの粉末を分散させたものが開示されている。そして、これによれば、耐摩耗性にすぐれ、高温環境下に高負荷高速駆動した場合にも切断せず、長寿命を有するウレタンエラストマーからなる伝動ベルトを得ることができると記載されている。
【0008】
【特許文献1】
特開平7−63241号公報
【特許文献2】
特開2001−165244号公報
【特許文献3】
特開2002−227934号公報
【特許文献4】
特開2003−12871号公報
【特許文献5】
特開平6−288439号公報
【0009】
【発明が解決しようとする課題】
ところで、Vリブドベルトの圧縮ゴム層に混入する短繊維の量を多くすれば、ベルト表面に露出する短繊維の数も多くなるので、低発音性及び耐摩耗性の向上効果も高いものとなる。
【0010】
しかしながら、短繊維の混入量を多くすると、圧縮ゴム層形成用の短繊維入りゴム組成物を均質に混練し、それをシート状に成形する加工が困難となる。そのため、ゴム組成物のゴム成分100質量部に対して短繊維をせいぜい25質量部までしか混入させることができない。また、短繊維は、長繊維をカットして製造され、しかも、ゴムとの接着性を付与するための接着処理を要するため材料単価が高く、従って、その混入量を多くすることはベルトの材料コストの高騰につながってしまう。
【0011】
本発明は、かかる点に鑑みてなされたものであり、その目的とするところは、低発音性及び耐摩耗性の優れるVリブドベルトを提供することにある。
【0012】
【課題を解決するための手段】
上記の目的を達成する本発明は、Vリブドベルト本体がプーリに接触するように巻き掛けられて動力を伝達するVリブドベルトであって、
上記Vリブドベルト本体の少なくともプーリ接触部分は、EPDMに、分子量50万〜200万で粒径25〜120μmの粉状乃至粒状のポリエチレン樹脂を、EPDM100質量部に対して5〜10質量部含有させたゴム組成物で形成されていることを特徴とする。
【0013】
上記の構成によれば、ベルト本体の少なくともプーリ接触部分を構成するゴム組成物のゴム成分がEPDMであって、それ自体の摩擦係数が低いことに加え、それに粉状乃至粒状のポリエチレン樹脂が分散しており、ベルト表面に露出したポリエチレン樹脂により摩擦係数の低減が図られるので、低発音性及び耐摩耗性が優れることとなる。また、EPDMはポリエチレン樹脂への親和性が高いことからポリエチレン樹脂の良好な分散状態が得られる。
【0014】
本発明のVリブドベルトは、上記ゴム組成物が有機過酸化物で架橋されていることが望ましい。
【0015】
【発明の実施の形態】
以下、実施形態を図面に基づいて詳細に説明する。
【0016】
(実施形態1)
図1は、実施形態1に係るVリブドベルトBを示す。
【0017】
このVリブドベルトBは、Vリブドベルト本体10と、Vリブドベルト本体10にベルト幅方向にピッチを有する螺旋を形成するように埋設された心線16と、Vリブドベルト本体10の背面側を被覆するように設けられた背面補強布17と、を備えている。
【0018】
Vリブドベルト本体10は、エチレンプロピレンジエンモノマーゴム(EPDM)をゴム成分とし、そのゴム成分を有機過酸化物で架橋したゴム組成物で形成されており、心線16が埋設された接着ゴム層11と、接着ゴム層11の下側の圧縮ゴム層12と、が積層されて一体となった構成となっている。圧縮ゴム層12には、ベルト内側のプーリに接触して直接に動力を伝達する部分となることから、プーリとの接触面積が広く確保されるようにベルト長手方向に延びる突条のリブ13がベルト幅方向に並列して形成されている。また、圧縮ゴム層12には、ベルト幅方向に配向したアラミド繊維やナイロン繊維等の短繊維14が混入されており、これによって圧縮ゴム層12の補強が図られていると共に、ベルト表面から突出するように露出した短繊維14によってプーリとの接触部分表面の摩擦係数の低減が図られている。さらに、圧縮ゴム層12には、粉状乃至粒状の超高分子量ポリエチレン樹脂15が混入されて分散しており、これによってもプーリとの接触部分表面の摩擦係数の低減が図られている。ポリエチレン樹脂15は、分子量が50万〜200万の超高分子量のものである。また、ポリエチレン樹脂15は、粒径が25〜120μmであり、ベルト本体を構成するゴム成分100質量部に対する含有量が5〜10質量部である。圧縮ゴム層12を構成するゴム組成物のゴム成分であるEPDMはポリエチレン樹脂15に対して親和性が高いので、ポリエチレン樹脂15の圧縮ゴム層12への極めて良好な分散状態が得られる。
【0019】
心線16は、アラミド繊維やポリエステル繊維等の撚り糸で構成されており、Vリブドベルト本体10に対する接着性を付与するために、成形加工前にレゾルシン・ホルマリン・ラテックス水溶液(以下「RFL水溶液」という)に浸漬した後に加熱する処理及びゴム糊に浸漬した後に乾燥させる処理が施されている。
【0020】
背面補強布17は、経糸及び緯糸からなる平織り等の織布で構成されており、Vリブドベルト本体10に対する接着性を付与するために、成形加工前にRFL水溶液に浸漬して加熱する処理及びVリブドベルト本体10側となる表面にゴム糊をコーティングして乾燥させる処理が施されている。
【0021】
以上のような構成のVリブドベルトBによれば、圧縮ゴム層12に短繊維14が配合されていることに加えて、粉状乃至粒状のポリエチレン樹脂15が分散したゴム組成物でVリブドベルト本体10のプーリ接触部分である圧縮ゴム層12が形成されて、ベルト表面に露出したポリエチレン樹脂15により摩擦係数の低減が図られ、しかも、圧縮ゴム層12を構成するゴム組成物のゴム成分が低摩擦係数のEPDMであるので、低発音性及び耐摩耗性が極めて優れることとなる。
【0022】
次に、上記のように構成されたVリブドベルトBの製造方法を、図2に基づいて説明する。
【0023】
VリブドベルトBの製造では、外周に、ベルト背面を所定形状に形成する成形面を有する内金型と、内周に、ベルト内面を所定形状に形成する成形面を有するゴムスリーブとが用いられる。
【0024】
まず、内金型の外周を背面補強布17となる織布17’で被覆した後、その上に、接着ゴム層11の背面側部分11bを形成するための未架橋ゴムシート11b’を巻き付ける。
【0025】
次いで、その上に、心線16となる撚り糸16’をスパイラル状に巻き付けた後、その上に、接着ゴム層11の内面側部分11aを形成するための未架橋ゴムシート11a’を巻き付け、さらにその上に、圧縮ゴム層12を形成するための未架橋ゴムシート12’を巻き付ける。ここで、圧縮ゴム層12を形成するための未架橋ゴムシート12’としては、EPDMをベースのゴム成分として、巻き付け方向に直交する方向に配向した短繊維14、粉状乃至粒状のポリエチレン樹脂15、及び、架橋剤としての有機過酸化物が配合されたものが用いられる。なお、各未架橋ゴムシート11b’,11a’,12’を巻き付ける際には、それぞれ、巻付方向両端部同士は、重ね合わせないで突付けとする。
【0026】
しかる後、内金型上の成形体にゴムスリーブを套嵌してそれを成形釜にセットし、内金型を高熱の水蒸気などにより加熱すると共に、高圧をかけてゴムスリーブを半径方向内方に押圧する。このとき、ゴム成分が流動すると共に架橋反応が進行し、撚り糸16’及び織布17’のゴムへの接着反応も進行する。そして、これによって、筒状のベルトスラブが成形される。
【0027】
そして、内金型からベルトスラブを取り外し、それを長さ方向に数個に分割した後、それぞれの外周を研磨してリブ13を形成する。
【0028】
最後に、分割されて外周にリブ13が形成されたベルトスラブを所定幅に幅切りし、それぞれの表裏を裏返すことによりVリブドベルトBが得られる。
【0029】
図3は、VリブドベルトBを用いた自動車エンジンにおけるサーペンタインドライブの補機駆動用ベルト伝動装置30のレイアウトを示す。
【0030】
この補機駆動用ベルト伝動装置30のレイアウトは、最上位置のパワーステアリングプーリ31と、そのパワーステアリングプーリ31の下方に配置されたACジェネレータプーリ32と、パワーステアリングプーリ31の左下方に配置された平プーリのテンショナプーリ33と、そのテンショナプーリ33の下方に配置された平プーリのウォーターポンププーリ34と、テンショナプーリ33の左下方に配置されたクランクシャフトプーリ35と、そのクランクシャフトプーリ35の右下方に配置されたエアコンプーリ36と、により構成されている。これらのうち、平プーリであるテンショナプーリ33及びウォーターポンププーリ34以外は全てリブプーリである。そして、VリブドベルトBは、リブ13側が接触するようにパワーステアリングプーリ31に巻き掛けられ、次いで、ベルト背面が接触するようにテンショナプーリ33に巻き掛けられた後、リブ13側が接触するようにクランクシャフトプーリ35及びエアコンプーリ36に順に巻き掛けられ、さらに、ベルト背面が接触するようにウォーターポンププーリ34に巻き掛けられ、そして、リブ13側が接触するようにACジェネレータプーリ32に巻き掛けられ、最後にパワーステアリングプーリ31に戻るように設けられている。
【0031】
この補機駆動用ベルト伝動装置30では、VリブドベルトBが用いられているので、低発音性及び耐摩耗性が極めて優れる。
【0032】
(実施形態2)
図4は、実施形態2に係るローエッジタイプのVベルトCを示す。
【0033】
このVベルトCは、Vベルト本体40と、Vベルト本体40にベルト幅方向にピッチを有する螺旋を形成するように埋設された心線46と、Vベルト本体40の背面側を被覆するように設けられた背面補強布47と、を備えている。
【0034】
Vベルト本体40は、エチレンプロピレンジエンモノマーゴム(EPDM)をゴム成分とし、そのゴム成分を有機過酸化物で架橋したゴム組成物で形成されており、心線46が埋設された接着ゴム層41と、接着ゴム層41の下側の下ゴム層42と、接着ゴム層41の上側の上ゴム層43と、が積層されて一体となった構成となっている。下ゴム層42には、ベルト幅方向に配向したアラミド繊維やナイロン繊維等の短繊維44が混入されており、これによって下ゴム層42の補強が図られていると共に、ベルト表面から突出するように露出した短繊維44によってプーリとの接触部分表面の摩擦係数の低減が図られている。また、下ゴム層42には、粉状乃至粒状の超高分子量ポリエチレン樹脂45が混入されて分散しており、これによってもプーリとの接触部分表面の摩擦係数の低減が図られている。ポリエチレン樹脂45は、分子量が50万〜200万の超高分子量のものである。また、ポリエチレン樹脂45は、粒径が25〜120μmであり、ベルト本体を構成するゴム成分100質量部に対する含有量が5〜10質量部である。下ゴム層42を構成するゴム組成物のゴム成分であるEPDMはポリエチレン樹脂45に対して親和性が高いので、ポリエチレン樹脂45の下ゴム層42への極めて良好な分散状態が得られる。
【0035】
心線46は、アラミド繊維やポリエステル繊維等の撚り糸で構成されており、Vベルト本体40に対する接着性を付与するために、成形加工前にRFL水溶液に浸漬した後に加熱する処理及びゴム糊に浸漬した後に乾燥させる処理が施されている。
【0036】
背面補強布47は、経糸及び緯糸からなる平織り等の織布で構成されており、Vベルト本体40に対する接着性を付与するために、成形加工前にRFL水溶液に浸漬して加熱する処理及びVベルト本体40側となる表面にゴム糊をコーティングして乾燥させる処理が施されている。
【0037】
以上のような構成のVベルトCによれば、下ゴム層42に短繊維44が配合されていることに加えて、粉状乃至粒状のポリエチレン樹脂45が分散したゴム組成物でVベルト本体40のプーリ接触部分である下ゴム層42が形成されて、ベルト表面に露出したポリオレフィン樹脂45により摩擦係数の低減が図られ、しかも、下ゴム層42を構成するゴム組成物のゴム成分が低摩擦係数のEPDMであるので、低発音性及び耐摩耗性が極めて優れることとなる。
【0038】
(その他の実施形態)
上記実施形態1ではVリブドベルトB、上記実施形態2ではVベルトCとしたが、特にこれに限定されるものではなく、その他のVベルトや平ベルトなどの摩擦伝動ベルトであってもよい。
【0039】
上記実施形態1及び2では、Vリブドベルト本体10及びVベルト本体40を構成するEPDMを有機過酸化物で架橋したものとしたが、特にこれに限定されるものではなく、硫黄による加硫により架橋したものであってもよい。
【0040】
【実施例】
Vリブドベルトについて行った試験評価について説明する。
【0041】
(試験評価用ベルト)
以下の例1〜10のVリブドベルトを作成した。それぞれの構成は表1にも示す。
【0042】
<例1>
ベースのゴム成分としてEPDM(エチレン含量:66%、ジエン含量:ENB4.5%)を用い、このEPDM100質量部に対し、カーボンブラック75質量部(FEF:35質量部、HAF:40質量部)、パラフィン系オイルの軟化剤14質量部、酸化亜鉛5質量部、ステアリン酸1質量部、老化防止剤2.5質量部、架橋剤としての有機過酸化物2.5質量部及び長さ1mmのナイロン短繊維25質量部を配合してなるゴム組成物により圧縮ゴム層を形成した上記実施形態1と同様の構成のVリブドベルトを例1とした。なお、接着ゴム層もベースのゴム成分がEPDMであるゴム組成物で形成した。
【0043】
<例2>
圧縮ゴムを構成するゴム組成物に平均粒子径120μ、分子量200万のポリエチレン樹脂(1)(三井化学社製 商品名:ハイゼックスミリオン 240S)がEPDM100質量部に対して5質量部配合されていることを除いて例1と同一構成のVリブドベルトを例2とした。
【0044】
<例3>
ポリエチレン樹脂の含有量が10質量部であることを除いて例2と同一構成のVリブドベルトを例3とした。
【0045】
<例4>
ポリエチレン樹脂の含有量が40質量部であることを除いて例2と同一構成のVリブドベルトを例4とした。
【0046】
<例5>
ポリエチレン樹脂の含有量が50質量部であることを除いて例2と同一構成のVリブドベルトを例5とした。
【0047】
<例6>
圧縮ゴムを構成するゴム組成物に平均粒子径120μ、分子量50万のポリエチレン樹脂(2)(三井化学社製 商品名:ハイゼックスミリオン 030S)が配合されていることを除いて例3と同一構成のVリブドベルトを例6とした。
【0048】
<例7>
圧縮ゴムを構成するゴム組成物に平均粒子径25μ、分子量200万のポリエチレン樹脂(3)(三井化学社製 商品名:ミペロン XM−221U)が配合されていることを除いて例3と同一構成のVリブドベルトを例7とした。
【0049】
<例8>
圧縮ゴムを構成するゴム組成物に平均粒子径30μ、分子量200万のポリエチレン樹脂(4)(三井化学社製 商品名:ミペロン XM−220)が配合されていることを除いて例3と同一構成のVリブドベルトを例8とした。
【0050】
<例9>
圧縮ゴムを構成するゴム組成物に平均粒子径160μ、分子量240万のポリエチレン樹脂(5)(三井化学社製 商品名:ハイゼックスミリオン 240M)が配合されていることを除いて例3と同一構成のVリブドベルトを例9とした。
【0051】
<例10>
圧縮ゴムを構成するゴム組成物に平均粒子径165μ、分子量590万のポリエチレン樹脂(6)(三井化学社製 商品名:ハイゼックスミリオン 630M)が配合されていることを除いて例3と同一構成のVリブドベルトを例10とした。
【0052】
<例11>
有機過酸化物の代わりに架橋剤として硫黄が1.6質量部及び加硫促進剤が4質量部それぞれEPDM100質量部に対して配合されていることを除いて例3と同一構成のVリブドベルトを例11とした。
【0053】
<例12>
圧縮ゴムを構成するゴム組成物に分子量5000のポリエチレン樹脂(7)(三洋化成社製 商品名:サンワックス161−P)が配合されていることを除いて例3と同一構成のVリブドベルトを例10とした。
【0054】
<例13>
ベースのゴム成分としてクロロプレンゴム(CR)を用い、このCR100質量部に対し、カーボンブラック75質量部(FEF:35質量部、HAF:40質量部)、セバシン酸誘導体の可塑剤5質量部、酸化亜鉛5質量部、ステアリン酸1質量部、老化防止剤2.5質量部、酸化マグネシウム4質量部、長さ1mmのナイロン短繊維25質量部及び平均粒子径120μ、分子量200万のポリエチレン樹脂(1)(三井化学社製 商品名:ハイゼックスミリオン240S)10質量部を配合してなるゴム組成物により圧縮ゴム層を形成したVリブドベルトを例13とした。なお、接着ゴム層もベースのゴム成分がCRであるゴム組成物で形成した。
【0055】
<例14>
圧縮ゴムを構成するゴム組成物にポリプロピレン樹脂(三井化学社製 商品名:ハイワックス NP105)が配合されていることを除いて例3と同一構成のVリブドベルトを例14とした。
【0056】
【表1】
【0057】
(試験評価方法)
<ベルト屈曲寿命>
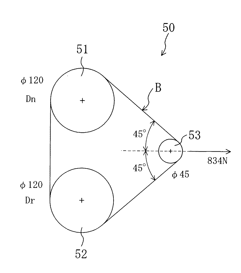
図5は、VリブドベルトBの耐久評価用のベルト走行試験機50のレイアウトを示す。このベルト走行試験機50は、上下に配設されたプーリ径120mmの大径のリブプーリ(上側が従動プーリ、下側が駆動プーリ)51,52と、それらの上下方向中間の右方に配されたプーリ径45mmの小径のリブプーリ53とからなる。小径のリブプーリ53は、ベルト巻き付け角度が90°となるように位置付けられている。
【0058】
例1〜14のそれぞれのVリブドベルトBについて、3つのリブプーリ51〜53に巻き掛け、且つ834Nのセットウェイトが負荷されるように小径のリブプーリ53を側方に引っ張り、雰囲気温度23℃の下で駆動プーリである下側のリブプーリ52を4900rpmの回転速度で回転させるベルト走行試験を実施した。そして、ベルトが破損するまでの時間を計測し、その時間をベルト屈曲寿命とした。
【0059】
<損失摩耗量>
例1〜14のそれぞれのVリブドベルトについて、上記のベルト走行試験において100時間走行後のベルトの質量を計測し、走行前の質量と比較することによりベルト摩耗量を体積として算出した。
【0060】
<音圧>
例1〜14のそれぞれのVリブドベルトについて、上記のベルト走行試験において300時間走行後にスリップ音の測定を行った。
【0061】
(試験評価結果)
試験結果を表1に示す。
【0062】
圧縮ゴム層のポリエチレン樹脂の含有の有無が異なる例1と例2〜12及び例14とを比較すると、ポリエチレン樹脂を含有した例2〜12及び例14のいずれもポリエチレン樹脂を含有しない例1より音圧が低いことが分かる。これは、ベルト表面に露出したポリエチレン樹脂により摩擦係数の低減が図られるためであると考えられる。ベースのゴム成分がCRである例13は、ポリエチレン樹脂を含有しているにも関わらず最も音圧が高く且つ損失摩耗量も多い。これは、CRの摩擦係数が著しく高いためであると考えられる。
【0063】
ポリエチレン樹脂の含有量が異なる例2〜5を比較すると、ポリエチレン樹脂の含有量が多いほど音圧が低く且つ損失摩耗量が少ない傾向となっているのが分かる。これは、ポリエチレン樹脂の含有量が多いほどベルト表面に露出するものが多くなり、摩擦係数の低減効果が高くなるためであると考えられる。一方、ポリエチレン樹脂の含有量が多いほどベルト屈曲寿命が短くなっているのが分かる。これは、Vリブドベルト本体にポリエチレン樹脂を核とした欠陥が多く含まれることとなるためであると考えられる。
【0064】
ポリエチレン樹脂の分子量及び平均粒子径が異なる例3、例6〜10及び例12を比較すると、ポリエチレン樹脂の分子量が5000と非常に小さい例12は他のものに比べて音圧が高く且つ損失摩耗量が多いことが分かる。また、ポリエチレン樹脂の分子量の大きい例9や例10は、他のものに比べて音圧が低く且つ損失摩耗量が少ないものの、ベルト屈曲寿命が短いのが分かる。従って、ポリエチレン樹脂の分子量が50万以上であれば、十分に高いベルト表面の摩擦係数の低減効果を得ることができると考えられる。また、ベルト耐久性をも考慮すると、ポリエチレン樹脂の分子量が高すぎないことも望まれる。
【0065】
架橋系の異なる例3と例11とを比較すると、有機過酸化物架橋系である例3は、硫黄架橋系の例11よりも音圧が低いことが分かる。従って、優れた低発音性を有するVリブドベルトを得るためには、架橋系として硫黄架橋系よりも有機過酸化物架橋系の方が好ましいと考えられる。
【0066】
配合されたポリオレフィン樹脂の種類が異なる例3、例6〜10及び例12と例14とを比較すると、ポリエチレン樹脂が配合された例3、例6〜10及び例12は、ポリプロピレン樹脂が配合された例14よりも音圧が低いことが分かる。従って、優れた低発音性を有するVリブドベルトを得るためには、ポリオレフィン樹脂としてポリプロピレン樹脂よりもポリエチレン樹脂の方が好ましいと考えられる。
【0067】
例3及び例6〜10では、ポリエチレン樹脂の平均粒子径が25〜165μmであるが、この範囲では粒子径によるベルト特性への影響は確認できない。つまり、少なくともポリエチレン樹脂の平均粒子径が25μm以上であれば、ベルト表面の摩擦係数の低減効果を得ることができると考えられる。
【0068】
【発明の効果】
以上説明したように、本発明によれば、EPDMに粉状乃至粒状のポリエチレン樹脂が分散したゴム組成物でVリブドベルト本体の少なくともプーリ接触部分が形成されているので、低発音性及び耐摩耗性が優れることとなる。
【図面の簡単な説明】
【図1】 実施形態1に係るVリブドベルトの斜視図である。
【図2】 Vリブドベルトの使用材料(a)及び全体構成(b)を併せて示す図である。
【図3】 実施形態1の補機駆動用ベルト伝動装置のレイアウトを示す図である。
【図4】 実施形態2に係るVベルトの斜視図である。
【図5】 ベルト耐久試験用のベルト走行試験機のレイアウトを示す図である。
【符号の説明】
B Vリブドベルト
C Vベルト
10 Vリブドベルト本体
11,41 接着ゴム層
11a 内面側部分
11b 背面側部分
11a’,11b’,12’ 未架橋ゴムシート
12 圧縮ゴム層
13 リブ
14,44 短繊維
15,45 ポリオレフィン樹脂
16,46 心線
16’ 撚り糸
17,47 背面補強布
17’ 織布
30 補機駆動用ベルト伝動装置
31 パワーステアリングプーリ
32 ACジェネレータプーリ
33 テンショナプーリ
34 ウォーターポンププーリ
35 クランクシャフトプーリ
36 エアコンプーリ
40 Vベルト本体
42 下ゴム層
43 上ゴム層
50 ベルト走行試験機
51〜53 リブプーリ
Claims (2)
- Vリブドベルト本体がプーリに接触するように巻き掛けられて動力を伝達するVリブドベルトであって、
上記Vリブドベルト本体の少なくともプーリ接触部分は、EPDMに、分子量50万〜200万で粒径25〜120μmの粉状乃至粒状のポリエチレン樹脂を、EPDM100質量部に対して5〜10質量部含有させたゴム組成物で形成されていることを特徴とするVリブドベルト。 - 請求項1に記載されたVリブドベルトにおいて、
上記ゴム組成物が有機過酸化物で架橋されていることを特徴とするVリブドベルト。
Priority Applications (4)
| Application Number | Priority Date | Filing Date | Title |
|---|---|---|---|
| JP2003122010A JP4448288B2 (ja) | 2003-04-25 | 2003-04-25 | Vリブドベルト |
| US10/813,000 US7244207B2 (en) | 2003-04-25 | 2004-03-31 | Frictional forced power transmission belt and belt drive system with the same |
| DE102004019631.1A DE102004019631B4 (de) | 2003-04-25 | 2004-04-22 | Reibschlüssiger Kraftübertragungsriemen und Riemenantriebsvorrichtung mit diesem |
| CNB2004100341661A CN100542796C (zh) | 2003-04-25 | 2004-04-23 | 摩擦传动皮带以及具有它的皮带传动装置 |
Applications Claiming Priority (1)
| Application Number | Priority Date | Filing Date | Title |
|---|---|---|---|
| JP2003122010A JP4448288B2 (ja) | 2003-04-25 | 2003-04-25 | Vリブドベルト |
Publications (2)
| Publication Number | Publication Date |
|---|---|
| JP2004324794A JP2004324794A (ja) | 2004-11-18 |
| JP4448288B2 true JP4448288B2 (ja) | 2010-04-07 |
Family
ID=33157112
Family Applications (1)
| Application Number | Title | Priority Date | Filing Date |
|---|---|---|---|
| JP2003122010A Expired - Fee Related JP4448288B2 (ja) | 2003-04-25 | 2003-04-25 | Vリブドベルト |
Country Status (4)
| Country | Link |
|---|---|
| US (1) | US7244207B2 (ja) |
| JP (1) | JP4448288B2 (ja) |
| CN (1) | CN100542796C (ja) |
| DE (1) | DE102004019631B4 (ja) |
Families Citing this family (26)
| Publication number | Priority date | Publication date | Assignee | Title |
|---|---|---|---|---|
| JP4837274B2 (ja) * | 2004-11-10 | 2011-12-14 | バンドー化学株式会社 | 伝動ベルト |
| DE102004062760A1 (de) * | 2004-12-21 | 2006-06-22 | Contitech Antriebssysteme Gmbh | Zahnriemen mit Zahnauflage aus Gewebe |
| JP4745789B2 (ja) * | 2004-12-27 | 2011-08-10 | 三ツ星ベルト株式会社 | Vリブドベルト及びvリブドベルトの製造方法 |
| JP4668677B2 (ja) * | 2005-05-10 | 2011-04-13 | バンドー化学株式会社 | 伝動ベルト |
| KR100972796B1 (ko) * | 2005-09-13 | 2010-07-29 | 오티스 엘리베이터 컴파니 | 엘리베이터 시스템 용 부하지지부재 제조방법 |
| US8142316B2 (en) * | 2006-12-05 | 2012-03-27 | Veyance Technologies, Inc. | Power transmission belts |
| EP2125594A2 (de) * | 2007-03-12 | 2009-12-02 | Inventio Ag | Aufzugsanlage, tragmittel für eine aufzugsanlage und verfahren zur herstellung eines tragmittels |
| CN101910675B (zh) * | 2008-01-25 | 2013-01-16 | 阪东化学株式会社 | 摩擦传动带 |
| US8863939B2 (en) * | 2009-12-14 | 2014-10-21 | Xerox Corporation | Surface roughness for improved vacuum pressure for efficient media hold-down performance |
| WO2012053176A1 (ja) * | 2010-10-21 | 2012-04-26 | バンドー化学株式会社 | 摩擦伝動ベルト |
| JP5090566B1 (ja) * | 2011-10-12 | 2012-12-05 | イチカワ株式会社 | 湿紙搬送用ベルト |
| EP2792904B1 (en) * | 2011-12-14 | 2016-08-10 | Bando Chemical Industries, Ltd. | Friction transmission belt and method for producing same |
| CN104126081B (zh) * | 2012-02-24 | 2016-03-30 | 阪东化学株式会社 | 摩擦传动带 |
| WO2014074242A1 (en) | 2012-09-28 | 2014-05-15 | Btu International, Inc. | High temperature conveyor belt |
| US9157503B2 (en) * | 2013-03-14 | 2015-10-13 | Dayco Ip Holdings, Llc | V-ribbed belt with spaced rib flank reinforcement |
| JP6055430B2 (ja) | 2013-03-29 | 2016-12-27 | 三ツ星ベルト株式会社 | 伝動用ベルト |
| CN106884942A (zh) * | 2015-01-29 | 2017-06-23 | 浙江精深实业有限公司 | 应用在斜切机的皮带传动装置 |
| JP6480392B2 (ja) * | 2015-09-29 | 2019-03-06 | 三ツ星ベルト株式会社 | Vリブドベルト及びその製造方法 |
| CN108603567B (zh) * | 2016-03-28 | 2019-05-07 | 阪东化学株式会社 | 摩擦传动带 |
| KR101992858B1 (ko) * | 2016-03-28 | 2019-06-25 | 반도 카가쿠 가부시키가이샤 | 마찰 전동 벨트 |
| JP6553687B2 (ja) * | 2016-08-29 | 2019-07-31 | 三ツ星ベルト株式会社 | Vリブドベルト及びその用途 |
| DE102016116558A1 (de) * | 2016-09-05 | 2018-03-08 | Arntz Beteiligungs Gmbh & Co. Kg | Kraftübertragungsriemen |
| JP6674061B2 (ja) * | 2018-04-27 | 2020-04-01 | 三ツ星ベルト株式会社 | Vリブドベルト及びその用途 |
| DE102018222481A1 (de) * | 2018-12-20 | 2020-06-25 | Contitech Antriebssysteme Gmbh | Zugmittel, vorzugsweise Riemen, für einen Schrägförderer eines Mähdreschers |
| US12123475B2 (en) * | 2020-01-16 | 2024-10-22 | Mitsuboshi Belting Ltd. | Core wire for drive belt, drive belt, and method for manufacturing core wire and drive belt |
| JP2023017253A (ja) * | 2021-07-26 | 2023-02-07 | 三井化学株式会社 | 伝動ベルト用組成物 |
Family Cites Families (12)
| Publication number | Priority date | Publication date | Assignee | Title |
|---|---|---|---|---|
| US5188882A (en) * | 1988-01-29 | 1993-02-23 | Mitsui Petrochemical Industries, Ltd. | Multilayered molding |
| JP2520343B2 (ja) | 1992-04-06 | 1996-07-31 | バンドー化学株式会社 | 伝動ベルト |
| JP2812425B2 (ja) | 1993-06-15 | 1998-10-22 | 三ツ星ベルト株式会社 | 動力伝動用vベルト |
| JPH0763242A (ja) * | 1993-06-17 | 1995-03-07 | Bando Chem Ind Ltd | Vリブドベルト |
| CA2127926C (en) * | 1993-07-14 | 1997-09-23 | Masaaki Kawasaki | Higher .alpha.-olefin copolymer, process for the preparation of the same, rubber composition comprising the same, and rubber molded product comprising the same |
| US5610217A (en) * | 1994-10-31 | 1997-03-11 | The Gates Corporation | Ethylene-alpha-olefin belting |
| WO2000004098A1 (en) * | 1998-07-16 | 2000-01-27 | Aktieselskabet Roulunds Fabriker | Elastomeric composition and the use thereof in an article subject to dynamic loading |
| JP2001165244A (ja) | 1999-09-30 | 2001-06-19 | Mitsuboshi Belting Ltd | Vリブドベルト |
| JP2002227934A (ja) * | 2001-01-31 | 2002-08-14 | Mitsuboshi Belting Ltd | 動力伝動用ベルト |
| JP4311517B2 (ja) | 2001-03-15 | 2009-08-12 | 株式会社リコー | カメラ |
| JP4257120B2 (ja) * | 2001-04-12 | 2009-04-22 | ザ ゲイツ コーポレイション | 熱可塑性樹脂ジャケットベルト |
| JP2003012871A (ja) | 2001-06-27 | 2003-01-15 | Mitsuboshi Belting Ltd | 短繊維含有ゴム組成物及びこれを用いた動力伝動用ベルト |
-
2003
- 2003-04-25 JP JP2003122010A patent/JP4448288B2/ja not_active Expired - Fee Related
-
2004
- 2004-03-31 US US10/813,000 patent/US7244207B2/en not_active Expired - Fee Related
- 2004-04-22 DE DE102004019631.1A patent/DE102004019631B4/de not_active Expired - Fee Related
- 2004-04-23 CN CNB2004100341661A patent/CN100542796C/zh not_active Expired - Fee Related
Also Published As
| Publication number | Publication date |
|---|---|
| US20040214676A1 (en) | 2004-10-28 |
| DE102004019631A1 (de) | 2004-11-11 |
| JP2004324794A (ja) | 2004-11-18 |
| CN1540184A (zh) | 2004-10-27 |
| CN100542796C (zh) | 2009-09-23 |
| DE102004019631B4 (de) | 2016-01-07 |
| US7244207B2 (en) | 2007-07-17 |
Similar Documents
| Publication | Publication Date | Title |
|---|---|---|
| JP4448288B2 (ja) | Vリブドベルト | |
| JP5704752B2 (ja) | 摩擦伝動ベルト | |
| JP4414673B2 (ja) | 摩擦伝動ベルト | |
| JP4768893B2 (ja) | 摩擦伝動ベルト | |
| JP5341870B2 (ja) | 摩擦伝動ベルト及びその製造方法 | |
| KR101735084B1 (ko) | 전동벨트 및 이를 구비한 벨트 전동장치 | |
| JP6192641B2 (ja) | 伝動ベルト | |
| JP2006144988A (ja) | Vリブドベルト及びそれを用いた自動車の補機駆動用ベルト伝動装置 | |
| JP6505335B1 (ja) | 伝動ベルト | |
| JP6588368B2 (ja) | 歯付ベルト | |
| JP2019007618A (ja) | Vリブドベルト及びその製造方法 | |
| JPWO2009150803A1 (ja) | 摩擦伝動ベルト及びそれを用いたベルト伝動装置 | |
| JP6748152B2 (ja) | Vリブドベルト | |
| JP2019100541A (ja) | 摩擦伝動ベルト、そのためのコード並びにそれらの製造方法 | |
| JP5750561B1 (ja) | 伝動ベルト及びそれを備えたベルト伝動装置 | |
| JPWO2007114052A1 (ja) | 伝動ベルト用心線及び伝動ベルト | |
| WO2019111639A1 (ja) | 摩擦伝動ベルト、そのためのコード並びにそれらの製造方法 | |
| JP2009299756A (ja) | 伝動ベルト | |
| JP2006349002A (ja) | 摩擦伝動ベルト及びそれを用いたベルト伝動装置 | |
| WO2019009339A1 (ja) | Vリブドベルト | |
| JP2004116720A (ja) | 伝動ベルト及びそれを用いたベルト伝動装置 | |
| JP2004257459A (ja) | 伝動ベルト | |
| JP2000274491A (ja) | Vリブドベルト | |
| JP2006282763A (ja) | エチレン・α−オレフィンエラストマー組成物と繊維との接着体の製造方法及び動力伝動ベルト |
Legal Events
| Date | Code | Title | Description |
|---|---|---|---|
| A621 | Written request for application examination |
Free format text: JAPANESE INTERMEDIATE CODE: A621 Effective date: 20060417 |
|
| A977 | Report on retrieval |
Free format text: JAPANESE INTERMEDIATE CODE: A971007 Effective date: 20081215 |
|
| A131 | Notification of reasons for refusal |
Free format text: JAPANESE INTERMEDIATE CODE: A131 Effective date: 20090113 |
|
| A521 | Request for written amendment filed |
Free format text: JAPANESE INTERMEDIATE CODE: A523 Effective date: 20090312 |
|
| A02 | Decision of refusal |
Free format text: JAPANESE INTERMEDIATE CODE: A02 Effective date: 20090825 |
|
| A521 | Request for written amendment filed |
Free format text: JAPANESE INTERMEDIATE CODE: A523 Effective date: 20091124 |
|
| A911 | Transfer to examiner for re-examination before appeal (zenchi) |
Free format text: JAPANESE INTERMEDIATE CODE: A911 Effective date: 20091202 |
|
| TRDD | Decision of grant or rejection written | ||
| A01 | Written decision to grant a patent or to grant a registration (utility model) |
Free format text: JAPANESE INTERMEDIATE CODE: A01 Effective date: 20100119 |
|
| A01 | Written decision to grant a patent or to grant a registration (utility model) |
Free format text: JAPANESE INTERMEDIATE CODE: A01 |
|
| A61 | First payment of annual fees (during grant procedure) |
Free format text: JAPANESE INTERMEDIATE CODE: A61 Effective date: 20100122 |
|
| FPAY | Renewal fee payment (event date is renewal date of database) |
Free format text: PAYMENT UNTIL: 20130129 Year of fee payment: 3 |
|
| R150 | Certificate of patent or registration of utility model |
Free format text: JAPANESE INTERMEDIATE CODE: R150 Ref document number: 4448288 Country of ref document: JP Free format text: JAPANESE INTERMEDIATE CODE: R150 |
|
| FPAY | Renewal fee payment (event date is renewal date of database) |
Free format text: PAYMENT UNTIL: 20130129 Year of fee payment: 3 |
|
| FPAY | Renewal fee payment (event date is renewal date of database) |
Free format text: PAYMENT UNTIL: 20140129 Year of fee payment: 4 |
|
| LAPS | Cancellation because of no payment of annual fees |
