JP4417536B2 - 圧電磁器および圧電素子 - Google Patents
圧電磁器および圧電素子 Download PDFInfo
- Publication number
- JP4417536B2 JP4417536B2 JP2000230914A JP2000230914A JP4417536B2 JP 4417536 B2 JP4417536 B2 JP 4417536B2 JP 2000230914 A JP2000230914 A JP 2000230914A JP 2000230914 A JP2000230914 A JP 2000230914A JP 4417536 B2 JP4417536 B2 JP 4417536B2
- Authority
- JP
- Japan
- Prior art keywords
- piezoelectric
- piezoelectric ceramic
- ceramic
- electrode
- weight
- Prior art date
- Legal status (The legal status is an assumption and is not a legal conclusion. Google has not performed a legal analysis and makes no representation as to the accuracy of the status listed.)
- Expired - Fee Related
Links
Images
Landscapes
- Compositions Of Oxide Ceramics (AREA)
Description
【発明の属する技術分野】
本発明は、圧電磁器および圧電素子に関し、特に、圧電共振子および発振子に好適に用いられる圧電磁器とそれを用いた圧電素子に関するものである。
【0002】
【従来技術】
近年、無線通信や電気回路に用いられる周波数の高周波化が進んでおり、これに伴って、共振子や発振子も高周波に対応したものが要求され、開発が行われている。最近は、特に、高周波に対応できる厚み縦振動モードや厚み滑り振動モードを利用した共振子や発振子用の圧電材料の開発が進められている。
【0003】
このような圧電共振子および発振子用材料の中で、鉛を含有せず、高い圧電性を示すセラミック材料として、近年、ニオブ酸アルカリ系の圧電磁器が注目されている。
【0004】
ニオブ酸アルカリ系の酸化物の中でも、ニオブ酸ナトリウム(NaNbO3)は、ぺロブスカイト(ABO3)型に分類される酸化物であるが、例えば、Japanese Journal of Applied Physics, p.322, vol.31, 1992に記載されているように、それ自身では、−133℃付近よりも低い温度下でのみ強誘電性を示し、圧電共振子および発振子用材料の一般的な使用温度である−20〜80℃の範囲においては圧電性を示さず、圧電材料としての利用ができない。
【0005】
この問題を解決した圧電磁器として、特開平9−165262号公報に開示されているようなものが知られている。この公報に開示された圧電磁器では、NaNbO3に対し、KNbO3、Ba0.5NbO3やSr0.5NbO3などの副成分を含有し、さらに、第一遷移金属であるV2O5を含有することによって、緻密で圧電性に優れた圧電磁器が得られている。
【0006】
【発明が解決しようとする課題】
しかしながら、従来のNaおよびNbを含むペロブスカイト型複合酸化物を主結晶相とする圧電磁器は、十分な圧電特性を得ようとすると、1300℃以上と焼成温度が高くなり、NaやKなどの成分が蒸発し、圧電磁器の特性バラツキが発生するという問題があった。
【0007】
従って、本発明は、NaおよびNbを含むペロブスカイト型複合酸化物を主結晶相とする圧電磁器の低温焼成を可能とする圧電磁器および圧電素子を提供することを目的とする。
【0008】
【課題を解決するための手段】
本発明の圧電磁器は、少なくともNaおよびNbを含むニオブ酸ナトリウムからなるペロブスカイト型複合酸化物を主結晶相とする圧電磁器であって、GeをGeO2換算で全量中0.05〜0.5重量%含有するとともに、VをV2O5換算で全量中0.05〜0.5重量%含有し、かつPbを含有してないことを特徴とする圧電磁器である。
【0009】
このような構成によれば、焼成温度1050℃以下にて、緻密化を図ることができ、これによりNa等の成分の蒸発を抑えることができることから、圧電特性の安定化を図ることができる。また、電気機械結合係数等の圧電特性を向上することができる。
【0011】
本発明の圧電素子は、上記圧電磁器の両面に電極を有することを特徴とするものである。このような構成によれば、圧電磁器の焼成温度を低下することができることから、銀比率を増加した電極と圧電磁器とを一体焼成できる。
【0012】
【発明の実施の形態】
本発明の圧電磁器は、少なくともNa、Nbを含むニオブ酸ナトリウムからなるペロブスカイト型複合酸化物を主結晶相とする圧電磁器であって、GeをGeO2換算で全量中0.05〜0.5重量%含有するとともに、VをV 2 O 5 換算で全量中0.05〜0.5重量%含有することを特徴とする圧電磁器である。
【0013】
即ち、Na、Nbを含むニオブ酸ナトリウムからなるペロブスカイト型複合酸化物を主結晶粒子とする圧電磁器の緻密化を促進し、圧電特性を向上させるために、GeをGeO2換算で全量中0.05〜0.5重量%の割合で含むことが重要である。GeがGeO2で全量中0.05重量%よりも少ない場合には、焼成温度の低下がほとんど認められず、一方、0.5重量%よりも多くなると圧電性が低下するからである。特に、GeO2の含有量は0.1〜0.5重量%であることが焼成温度を下げ、比誘電率を高めること無く、電気機械結合係数を維持する上で好ましい。
【0014】
また、本発明の圧電磁器は、VをV2O5換算で、さらに、全量中0.05〜0.5重量%の割合で含有することが重要である。特に、GeとともにVを含有させることにより、さらに焼成温度を1050℃以下、特には1000℃以下に下げることができるとともに、圧電磁器の緻密化を促進し、電気機械結合係数等の圧電特性を高く維持できる。GeはGeO2換算で0.1〜0.5重量%含有し、且つ、VをV2O5換算で0.05〜0.5重量%含有することが、特に望ましい。
【0015】
本発明の少なくともNaおよびNbを含むペロブスカイト型複合酸化物は、それ自身では室温で圧電性を示さないNaNbO3に対し、例えば、以下に示すようなABO3の化学式で表されるペロブスカイト型複合酸化物を副成分として含有させ、圧電性を付与させたものが用いられる。
【0016】
ここで、ABO3の化学式で表される副成分は全量中8モル%以下含有することが望ましい。即ち、磁器の全量中、主成分が92モル%以上で、副成分が8モル%以下であることが望ましい。この副成分は、圧電特性を改善し、特に機械的品質係数を高くするとともに、磁器の温度安定性を向上し、その耐熱性を顕著に向上するという点から、2〜5モル%含有することが特に望ましい。
【0017】
また、他の副成分として、MnをMnO2換算で全量中0.2〜1重量%含有することが望ましい。Mnが主結晶相に固溶することにより、さらに、圧電特性を高めることができる。
【0018】
ABO3の化学式で表されるペロブスカイト型複合酸化物の副成分として、上記のAは、KやLiなどの1価の元素、Ba、Srなどの2価の元素、Biなどの3価の元素、それらの2種以上で表される、例えば(K1/2Bi1/2)などにより構成されるが、特に、KとLiとBiからなることが望ましい。即ち、Aサイトとしては、(K1/3Li1/3Bi1/3)、(K1/2Bi1/2)、(K3/5Bi4/15Sr2/15)、(K3/15Li7/15Bi1/3)からなることが望ましい。Aサイトに、このような1〜3価の元素を複合した副成分を用いることにより、電気機械結合係数を高くし、耐熱性を向上できる。
【0019】
また、Bは、Tiなどの4価の元素、Nb、Taなどの5価の元素、Wなどの6価の元素、もしくはそれら2種以上、またはそれらのうちの1種を1価の元素で表される、例えば(Ti1/2Nb1/2)などの元素から構成されることが望ましい。即ち、Bサイトとして、(Li1/6Nb5/6)、Ti、(Li1/6Nb5/6)、(Li1/2Nb1/2)からなることが望ましい。Bサイトに、このような4〜6価の元素を複合した副成分を用いることにより、機械的品質係数を大きくすることができる。
【0020】
ABO3の化学式で表されるペロブスカイト型複合酸化物の副成分は、例えば、(K1/3Li1/3Bi1/3)(Li1/6Nb5/6)O3、(K1/2Bi1/2)TiO3、BaTiO3、(K3/5Bi4/15Sr2/15)(Li1/6Nb5/6)O3、(K3/15Li7/15Bi1/3)(Li1/2Nb1/2)O3などがある。このうち副成分としては、少量の添加でも電気機械結合係数を改善する点において、(K1/3Li1/3Bi1/3)(Li1/6Nb5/6)O3が望ましい。
【0021】
本発明の圧電磁器は、例えば、次のようにして製造することができる。まず、主成分の出発原料として、Na2CO3とNb2O5と、また、副成分の出発原料として、K、Li、Ba、Sr、Bi、Nb、Ti、Ta、Sb、Sc、Cr、Mn、Ni、Fe、Co、Cu、Zn、Wなどの金属元素の酸化物粉末とを所定の割合で混合し、850〜1100℃で2〜5時間仮焼した後、粉砕することによって所望の組成の基本粉末を作製する。
【0022】
この合成した基本粉末に対し、GeO2とV2O5の各粉末を所定の割合で混合し混合粉末を調製する。この混合粉末に有機バインダーを加え、金型プレス、静水圧プレス等により所望の形状に成形した後、これを大気中、950〜1050℃の温度で1〜4時間焼成して、本発明の圧電磁器を得ることができる。
【0023】
上記の混合粉末の平均粒径は、磁器の焼成温度を低下するという観点から、0.5〜0.8μmの範囲であることが望ましい。なお、GeO2とV2O5の各粉末は、所望の材料組成になるよう予め合成した仮焼粉体に対して混合するだけでなく、各原料の調合時に混合しても、同様な効果が得られる。さらに、GeO2とV2O5の各粉末は酸化物だけでなく、炭酸塩、酢酸塩または有機金属などの化合物のいずれであっても、焼成などの熱処理プロセスによって酸化物になるものであれば差し支えない。
【0024】
また、焼成温度を低下させるために添加するGeは、主として、NaNbO3のペロブスカイト型複合酸化物の主結晶相内に固溶するが、上記の含有量が増加すると、それらの一部が、第2相を形成し、主結晶相の粒界などに存在する場合があるものの、含有量が本発明の範囲内であれば何ら差し支えない。
【0025】
一方、Vはフラックスとして作用し、主に粒界に存在し、電気機械結合係数や機械的品質係数を保持したまま焼結温度を下げることができると考えられる。
【0026】
また、本発明の圧電磁器においては、原料粉末などに微量含まれるRbやHfなどの不可避不純物や混合粉砕に用いるジルコニアボールからの摩耗混入物、および成形金型からの摩耗した金属粉が混入する場合があるが、特性に影響のない範囲であれば何ら差し支えない。
【0027】
さらに、本発明の圧電磁器の結晶相はペロブスカイト型の結晶構造を主体とし、平均粒径は、優れた圧電特性と機械的強度を有する点から1〜20μmが好ましい。
【0028】
本発明の圧電磁器では、NaおよびNbを含むニオブ酸ナトリウムからなるペロブスカイト型複合酸化物を主結晶粒子とする圧電磁器の焼成温度を添加物を添加しない場合の約1300℃から1050℃以下に低下し、緻密化を図ることができ、Na等の成分の蒸発を抑えることができることから、圧電特性の安定化を図ることができる。
【0029】
また、VをV2O5換算で、さらに0.05〜0.5重量%含有することにより、焼成温度が950〜1000℃という低温での焼成が可能となり、従来、不可能であった銀を主成分とする電極との一体焼成が可能となり、以下に詳述するような、電極が内部に形成された積層型の圧電素子を形成することができる。
【0030】
本発明の圧電素子は、上記圧電磁器の両面に電極を形成してなることを特徴とするものである。
【0031】
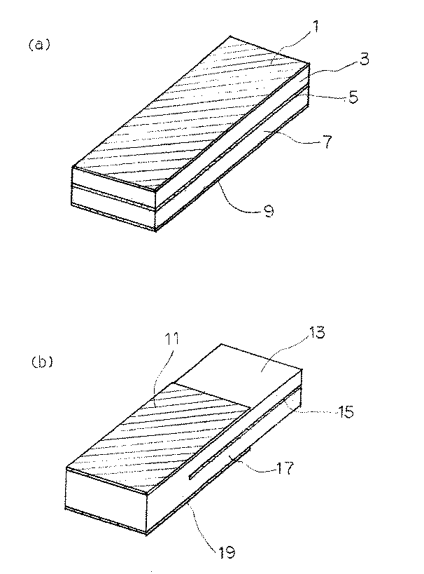
本発明の積層型圧電素子は、例えば図1(a)に示すように、電極1、圧電磁器3、電極5、圧電磁器7、電極9が順次積層されて構成されており、電極1、5、9は圧電磁器3、7の主面全面に形成されている。これにより、例えば、長辺方向伸び振動モードを利用した場合において、優れた特性を示す圧電共振子を得ることができる。
【0032】
また、例えば、図1(b)に示すように、電極11、圧電磁器13、電極15、圧電磁器17、電極19が順次積層されて構成されており、電極11、15、19は圧電磁器13、17の主面に部分的に形成されている。これにより、例えば、厚み縦振動モードの高調波を利用した場合において、優れた特性を示す圧電共振子を得ることができる。
【0033】
以上のように構成された圧電素子では、圧電磁器の焼成温度を低下することができることから、例えば、電極として、銀/パラジウム合金を用いた場合において、銀:パラジウム=9:1のように、銀比率を増加した電極を用いることができ、圧電磁器と電極とを一体焼成して圧電素子を形成することができる。このように圧電磁器と電極との一体焼成が可能であることから、圧電磁器と電極とを交互に積層した積層型の圧電素子を作製することができ、電極材料の低コスト化により圧電素子を低コストで提供することが可能となる。
【0034】
また、圧電磁器の厚みを薄層化して電極と積層することにより圧電素子を形成することができることから、インピーダンスを低減でき、高周波特性に優れた圧電素子を形成することができる。
【0035】
【実施例】
出発原料として、K2CO3、Na2CO3、Li2CO3、SrCO3、BaCO3、Bi2O3、Nb2O5、TiO2、MnO2粉末を混合した後、この混合粉体を1050℃の温度で3時間仮焼し、主成分および副成分の組成が表1に示す値となるような仮焼粉体を作製した。次いで、この仮焼粉体に対し、GeO2とV2O5の各粉末を表1に示す量だけ添加した後、この混合粉体をジルコニアボールミルで細かく粉砕した。
【0036】
次いで、この仮焼粉体の粉砕物に有機バインダーを混合して造粒し、得られた粉末を150MPaの圧力で直径20mm、厚さ1.5mmの円板に成形した後、この成形体を大気中において950〜1300℃で2時間焼成して円板状の圧電磁器を得た。
【0037】
得られた圧電磁器のX線回折パターンを測定した結果、本発明に係る試料はいずれも主結晶相がNaNbO3に特有なペロブスカイト型の結晶構造であった。次に、圧電磁器を0.5mmの厚みになるまで研磨することにより、特性評価用の圧電磁器を得、この圧電磁器の上下面に銀電極を形成して圧電素子を得た。そして、この圧電素子に対し、200℃のシリコンオイル中で3kV/mmの直流電界を30分間印加して分極処理を行った。
【0038】
そして、これらの圧電素子の静電容量、共振・反共振周波数、共振抵抗をインピーダンスアナライザを用いて測定し、比誘電率、電気機械結合係数を求めた。これらの結果を表1に示した。尚、表1において、試料No.3〜8、10、14、15は参考試料である。
【0039】
【表1】
【0040】
試料No.3〜8、No.10〜19では、GeO2とV2O5のいずれも添加しなかった試料No.1の焼成温度1300℃やV2O5のみ添加した試料No.2の場合の焼成温度1250℃に比較して、磁器の焼成温度を1200℃以下に下げることができた。
【0041】
そして、試料No.3〜8のうち、GeO2の添加量が0.1〜0.5重量%である試料No.4〜6は、焼成温度が1150℃以下に低下しても、電気機械結合係数が35%以上の高い値を示した。
【0042】
さらに、GeO2とV2O5を同時に添加した試料No.10〜19では、焼成温度を1100℃以下まで低下でき、特に、試料No.11〜13においては、焼成温度が1000℃以下となり、従来、不可能であった電極との一体焼成が可能となった。
【0043】
【発明の効果】
上述した通り、本発明によれば、少なくともNaおよびNbを含むニオブ酸ナトリウムからなるペロブスカイト型複合酸化物を主結晶相とする圧電磁器であって、GeをGeO2換算で全量中0.05〜0.5重量%含有するとともに、VをV 2 O 5 換算で全量中0.05〜0.5重量%含有することにより、低温焼成が可能となり、成分の揮発を抑制して圧電磁器を作製することができるとともに、圧電磁器の緻密化を促進し、電気機械結合係数等の圧電特性を高く維持できる。
【図面の簡単な説明】
【図1】本発明の圧電共振子の斜視図で、(a)は圧電磁器の全面に電極がある場合、(b)は圧電磁器の一部に電極がある場合である。
【符号の説明】
3、7、13、17 圧電磁器
1、5、9、11、15、19 電極
Claims (2)
- 少なくともNaおよびNbを含むニオブ酸ナトリウムからなるペロブスカイト型複合酸化物を主結晶相とする圧電磁器であって、GeをGeO2換算で全量中0.05〜0.5重量%含有するとともに、VをV2O5換算で全量中0.05〜0.5重量%含有し、かつPbを含有してないことを特徴とする圧電磁器。
- 請求項1記載の圧電磁器の両面に電極を有することを特徴とする圧電素子。
Priority Applications (1)
| Application Number | Priority Date | Filing Date | Title |
|---|---|---|---|
| JP2000230914A JP4417536B2 (ja) | 2000-07-31 | 2000-07-31 | 圧電磁器および圧電素子 |
Applications Claiming Priority (1)
| Application Number | Priority Date | Filing Date | Title |
|---|---|---|---|
| JP2000230914A JP4417536B2 (ja) | 2000-07-31 | 2000-07-31 | 圧電磁器および圧電素子 |
Publications (2)
| Publication Number | Publication Date |
|---|---|
| JP2002047064A JP2002047064A (ja) | 2002-02-12 |
| JP4417536B2 true JP4417536B2 (ja) | 2010-02-17 |
Family
ID=18723809
Family Applications (1)
| Application Number | Title | Priority Date | Filing Date |
|---|---|---|---|
| JP2000230914A Expired - Fee Related JP4417536B2 (ja) | 2000-07-31 | 2000-07-31 | 圧電磁器および圧電素子 |
Country Status (1)
| Country | Link |
|---|---|
| JP (1) | JP4417536B2 (ja) |
Families Citing this family (4)
| Publication number | Priority date | Publication date | Assignee | Title |
|---|---|---|---|---|
| US9537082B2 (en) * | 2010-12-24 | 2017-01-03 | Taiyo Yuden Co., Ltd. | Piezoelectric ceramic, piezoelectric ceramic component, and piezoelectric device using such piezoelectric ceramic component |
| JP6249669B2 (ja) | 2012-08-27 | 2017-12-20 | キヤノン株式会社 | 圧電材料、圧電素子、および電子機器 |
| KR20150115845A (ko) | 2013-01-29 | 2015-10-14 | 캐논 가부시끼가이샤 | 압전 재료, 압전 소자, 적층 압전 소자, 액체 토출 헤드, 액체 토출 장치, 초음파 모터, 광학 장치, 진동 장치, 먼지 제거 장치, 촬상 장치 및 전자 기기 |
| US9260348B2 (en) * | 2013-01-29 | 2016-02-16 | Canon Kabushiki Kaisha | Piezoelectric material, piezoelectric element, and electronic equipment |
-
2000
- 2000-07-31 JP JP2000230914A patent/JP4417536B2/ja not_active Expired - Fee Related
Also Published As
| Publication number | Publication date |
|---|---|
| JP2002047064A (ja) | 2002-02-12 |
Similar Documents
| Publication | Publication Date | Title |
|---|---|---|
| JP4355084B2 (ja) | 圧電磁器組成物および圧電共振子 | |
| JP3482394B2 (ja) | 圧電磁器組成物 | |
| JPH11228227A (ja) | 圧電磁器組成物 | |
| JP2001316182A (ja) | 圧電磁器および圧電共振子 | |
| JP4493226B2 (ja) | 圧電磁器および圧電素子 | |
| KR100305167B1 (ko) | 압전자기조성물및이를이용한압전소자 | |
| JP4466652B2 (ja) | 圧電磁器及び圧電セラミック素子 | |
| JP4417536B2 (ja) | 圧電磁器および圧電素子 | |
| JP4432969B2 (ja) | 圧電磁器組成物、及び圧電素子 | |
| JP3198906B2 (ja) | 圧電体磁器組成物 | |
| JPWO2008078487A1 (ja) | 圧電磁器組成物及び圧電素子 | |
| JP2007055867A (ja) | 圧電磁器組成物 | |
| TW200424146A (en) | Piezoelectric ceramic | |
| JP2009012997A (ja) | 無鉛圧電磁器組成物 | |
| JP4544712B2 (ja) | 圧電磁器および圧電素子 | |
| JP3613140B2 (ja) | 圧電磁器組成物およびそれを用いた圧電セラミック素子 | |
| JP2008156172A (ja) | 無鉛圧電磁器組成物 | |
| JP4361990B2 (ja) | 圧電体磁器組成物 | |
| JP4467168B2 (ja) | 圧電磁器および圧電素子 | |
| JP2004323325A (ja) | 圧電磁器およびそれを用いた圧電磁器素子 | |
| JP4355115B2 (ja) | 圧電磁器および圧電素子 | |
| JP4003920B2 (ja) | 圧電磁器組成物、圧電磁器焼結体および電子部品 | |
| JP2007055864A (ja) | 圧電磁器組成物 | |
| JP2007261864A (ja) | 圧電磁器組成物および圧電磁器 | |
| JP3771762B2 (ja) | 圧電磁器組成物 |
Legal Events
| Date | Code | Title | Description |
|---|---|---|---|
| A621 | Written request for application examination |
Free format text: JAPANESE INTERMEDIATE CODE: A621 Effective date: 20051214 |
|
| A977 | Report on retrieval |
Free format text: JAPANESE INTERMEDIATE CODE: A971007 Effective date: 20080613 |
|
| A131 | Notification of reasons for refusal |
Free format text: JAPANESE INTERMEDIATE CODE: A131 Effective date: 20081216 |
|
| A521 | Request for written amendment filed |
Free format text: JAPANESE INTERMEDIATE CODE: A523 Effective date: 20090216 |
|
| A131 | Notification of reasons for refusal |
Free format text: JAPANESE INTERMEDIATE CODE: A131 Effective date: 20090630 |
|
| A521 | Request for written amendment filed |
Free format text: JAPANESE INTERMEDIATE CODE: A523 Effective date: 20090821 |
|
| TRDD | Decision of grant or rejection written | ||
| A01 | Written decision to grant a patent or to grant a registration (utility model) |
Free format text: JAPANESE INTERMEDIATE CODE: A01 Effective date: 20091029 |
|
| A01 | Written decision to grant a patent or to grant a registration (utility model) |
Free format text: JAPANESE INTERMEDIATE CODE: A01 |
|
| A61 | First payment of annual fees (during grant procedure) |
Free format text: JAPANESE INTERMEDIATE CODE: A61 Effective date: 20091126 |
|
| R150 | Certificate of patent or registration of utility model |
Free format text: JAPANESE INTERMEDIATE CODE: R150 |
|
| FPAY | Renewal fee payment (event date is renewal date of database) |
Free format text: PAYMENT UNTIL: 20121204 Year of fee payment: 3 |
|
| FPAY | Renewal fee payment (event date is renewal date of database) |
Free format text: PAYMENT UNTIL: 20121204 Year of fee payment: 3 |
|
| FPAY | Renewal fee payment (event date is renewal date of database) |
Free format text: PAYMENT UNTIL: 20131204 Year of fee payment: 4 |
|
| LAPS | Cancellation because of no payment of annual fees |
