JP4354792B2 - 燃料電池発電装置 - Google Patents

燃料電池発電装置 Download PDF

Info

Publication number
JP4354792B2
JP4354792B2 JP2003414301A JP2003414301A JP4354792B2 JP 4354792 B2 JP4354792 B2 JP 4354792B2 JP 2003414301 A JP2003414301 A JP 2003414301A JP 2003414301 A JP2003414301 A JP 2003414301A JP 4354792 B2 JP4354792 B2 JP 4354792B2
Authority
JP
Japan
Prior art keywords
cathode
gas
fuel cell
flow path
power generation
Prior art date
Legal status (The legal status is an assumption and is not a legal conclusion. Google has not performed a legal analysis and makes no representation as to the accuracy of the status listed.)
Expired - Fee Related
Application number
JP2003414301A
Other languages
English (en)
Other versions
JP2005174782A (ja
Inventor
正高 尾関
彰成 中村
良和 田中
Current Assignee (The listed assignees may be inaccurate. Google has not performed a legal analysis and makes no representation or warranty as to the accuracy of the list.)
Panasonic Corp
Panasonic Holdings Corp
Original Assignee
Panasonic Corp
Matsushita Electric Industrial Co Ltd
Priority date (The priority date is an assumption and is not a legal conclusion. Google has not performed a legal analysis and makes no representation as to the accuracy of the date listed.)
Filing date
Publication date
Application filed by Panasonic Corp, Matsushita Electric Industrial Co Ltd filed Critical Panasonic Corp
Priority to JP2003414301A priority Critical patent/JP4354792B2/ja
Priority to EP04029352A priority patent/EP1542303B1/en
Priority to US11/010,125 priority patent/US20050129990A1/en
Priority to CNB2004101019957A priority patent/CN100444441C/zh
Publication of JP2005174782A publication Critical patent/JP2005174782A/ja
Priority to US12/502,263 priority patent/US8530104B2/en
Application granted granted Critical
Publication of JP4354792B2 publication Critical patent/JP4354792B2/ja
Anticipated expiration legal-status Critical
Expired - Fee Related legal-status Critical Current

Links

Images

Classifications

    • HELECTRICITY
    • H01ELECTRIC ELEMENTS
    • H01MPROCESSES OR MEANS, e.g. BATTERIES, FOR THE DIRECT CONVERSION OF CHEMICAL ENERGY INTO ELECTRICAL ENERGY
    • H01M8/00Fuel cells; Manufacture thereof
    • H01M8/06Combination of fuel cells with means for production of reactants or for treatment of residues
    • H01M8/0606Combination of fuel cells with means for production of reactants or for treatment of residues with means for production of gaseous reactants
    • H01M8/0612Combination of fuel cells with means for production of reactants or for treatment of residues with means for production of gaseous reactants from carbon-containing material
    • HELECTRICITY
    • H01ELECTRIC ELEMENTS
    • H01MPROCESSES OR MEANS, e.g. BATTERIES, FOR THE DIRECT CONVERSION OF CHEMICAL ENERGY INTO ELECTRICAL ENERGY
    • H01M8/00Fuel cells; Manufacture thereof
    • H01M8/04Auxiliary arrangements, e.g. for control of pressure or for circulation of fluids
    • H01M8/04223Auxiliary arrangements, e.g. for control of pressure or for circulation of fluids during start-up or shut-down; Depolarisation or activation, e.g. purging; Means for short-circuiting defective fuel cells
    • H01M8/04231Purging of the reactants
    • HELECTRICITY
    • H01ELECTRIC ELEMENTS
    • H01MPROCESSES OR MEANS, e.g. BATTERIES, FOR THE DIRECT CONVERSION OF CHEMICAL ENERGY INTO ELECTRICAL ENERGY
    • H01M8/00Fuel cells; Manufacture thereof
    • H01M8/04Auxiliary arrangements, e.g. for control of pressure or for circulation of fluids
    • H01M8/04298Processes for controlling fuel cells or fuel cell systems
    • H01M8/04694Processes for controlling fuel cells or fuel cell systems characterised by variables to be controlled
    • H01M8/04955Shut-off or shut-down of fuel cells
    • HELECTRICITY
    • H01ELECTRIC ELEMENTS
    • H01MPROCESSES OR MEANS, e.g. BATTERIES, FOR THE DIRECT CONVERSION OF CHEMICAL ENERGY INTO ELECTRICAL ENERGY
    • H01M8/00Fuel cells; Manufacture thereof
    • H01M8/06Combination of fuel cells with means for production of reactants or for treatment of residues
    • H01M8/0662Treatment of gaseous reactants or gaseous residues, e.g. cleaning
    • HELECTRICITY
    • H01ELECTRIC ELEMENTS
    • H01MPROCESSES OR MEANS, e.g. BATTERIES, FOR THE DIRECT CONVERSION OF CHEMICAL ENERGY INTO ELECTRICAL ENERGY
    • H01M8/00Fuel cells; Manufacture thereof
    • H01M8/04Auxiliary arrangements, e.g. for control of pressure or for circulation of fluids
    • H01M8/04007Auxiliary arrangements, e.g. for control of pressure or for circulation of fluids related to heat exchange
    • H01M8/04014Heat exchange using gaseous fluids; Heat exchange by combustion of reactants
    • H01M8/04022Heating by combustion
    • HELECTRICITY
    • H01ELECTRIC ELEMENTS
    • H01MPROCESSES OR MEANS, e.g. BATTERIES, FOR THE DIRECT CONVERSION OF CHEMICAL ENERGY INTO ELECTRICAL ENERGY
    • H01M8/00Fuel cells; Manufacture thereof
    • H01M8/04Auxiliary arrangements, e.g. for control of pressure or for circulation of fluids
    • H01M8/04082Arrangements for control of reactant parameters, e.g. pressure or concentration
    • H01M8/04089Arrangements for control of reactant parameters, e.g. pressure or concentration of gaseous reactants
    • H01M8/04104Regulation of differential pressures
    • HELECTRICITY
    • H01ELECTRIC ELEMENTS
    • H01MPROCESSES OR MEANS, e.g. BATTERIES, FOR THE DIRECT CONVERSION OF CHEMICAL ENERGY INTO ELECTRICAL ENERGY
    • H01M8/00Fuel cells; Manufacture thereof
    • H01M8/04Auxiliary arrangements, e.g. for control of pressure or for circulation of fluids
    • H01M8/04298Processes for controlling fuel cells or fuel cell systems
    • H01M8/04694Processes for controlling fuel cells or fuel cell systems characterised by variables to be controlled
    • H01M8/04746Pressure; Flow
    • HELECTRICITY
    • H01ELECTRIC ELEMENTS
    • H01MPROCESSES OR MEANS, e.g. BATTERIES, FOR THE DIRECT CONVERSION OF CHEMICAL ENERGY INTO ELECTRICAL ENERGY
    • H01M8/00Fuel cells; Manufacture thereof
    • H01M8/04Auxiliary arrangements, e.g. for control of pressure or for circulation of fluids
    • H01M8/04298Processes for controlling fuel cells or fuel cell systems
    • H01M8/04694Processes for controlling fuel cells or fuel cell systems characterised by variables to be controlled
    • H01M8/04791Concentration; Density
    • HELECTRICITY
    • H01ELECTRIC ELEMENTS
    • H01MPROCESSES OR MEANS, e.g. BATTERIES, FOR THE DIRECT CONVERSION OF CHEMICAL ENERGY INTO ELECTRICAL ENERGY
    • H01M8/00Fuel cells; Manufacture thereof
    • H01M8/06Combination of fuel cells with means for production of reactants or for treatment of residues
    • H01M8/0606Combination of fuel cells with means for production of reactants or for treatment of residues with means for production of gaseous reactants
    • YGENERAL TAGGING OF NEW TECHNOLOGICAL DEVELOPMENTS; GENERAL TAGGING OF CROSS-SECTIONAL TECHNOLOGIES SPANNING OVER SEVERAL SECTIONS OF THE IPC; TECHNICAL SUBJECTS COVERED BY FORMER USPC CROSS-REFERENCE ART COLLECTIONS [XRACs] AND DIGESTS
    • Y02TECHNOLOGIES OR APPLICATIONS FOR MITIGATION OR ADAPTATION AGAINST CLIMATE CHANGE
    • Y02EREDUCTION OF GREENHOUSE GAS [GHG] EMISSIONS, RELATED TO ENERGY GENERATION, TRANSMISSION OR DISTRIBUTION
    • Y02E60/00Enabling technologies; Technologies with a potential or indirect contribution to GHG emissions mitigation
    • Y02E60/30Hydrogen technology
    • Y02E60/50Fuel cells

Landscapes

  • Life Sciences & Earth Sciences (AREA)
  • Engineering & Computer Science (AREA)
  • Manufacturing & Machinery (AREA)
  • Sustainable Development (AREA)
  • Sustainable Energy (AREA)
  • Chemical & Material Sciences (AREA)
  • Chemical Kinetics & Catalysis (AREA)
  • Electrochemistry (AREA)
  • General Chemical & Material Sciences (AREA)
  • Fuel Cell (AREA)

Description

本発明は、燃料電池発電装置に関し、特に発電の停止後、燃料電池のカソードに充填した可燃ガスの処理に関するものである。
燃料電池発電装置39は主として、図9に示すように、アノード1aとカソード1cを備えた固体高分子電解質形の燃料電池1と、発電原料ガスとしての都市ガスや天然ガスに水を添加してこれを改質させて水素リッチな燃料ガスを生成する燃料処理器2と、燃料処理器2に水を供給する水供給手段3と、燃料処理器2に発電原料ガスを供給する原料ガス供給手段36と、燃料電池1のアノード1aで消費されずに排出された残余の燃料ガスを燃焼させる燃焼器4と、酸化剤ガス(空気)を燃料電池1に供給して燃料電池1の外部に排出する酸化剤ガス供給手段としてのブロア5と、燃料電池発電装置39の発電を停止させる際に燃料処理器2の内部をパージ処理する空気を供給するパージ用空気供給手段6から構成されている。
そしてこの燃料電池発電装置39は、燃料電池1のアノード1aに燃料ガスとして供給される水素リッチな燃料ガスと、それのカソード1cに酸化剤ガスとして供給される空気とを燃料電池1の内部で反応させることで発電させ、燃料電池発電装置39の停止の際には、最終的に空気によって燃料ガス経路のパージが行われる。なお、制御装置21によってブロア5、原料ガス供給手段36、水供給手段3、空気供給手段6等が適切に制御されて上記の発電と停止処理は行われる。
このような燃料電池発電装置39によれば、燃料電池発電装置39の発電を停止させる際、発電原料ガス供給経路から発電原料ガスの代わりに窒素ガスを流入せしめ、燃料処理器2および燃料電池1を経由してこれらの機器の内部に残留するガス(燃料ガス等)を燃焼器4に導いてこの燃焼器4で処理させるという従来のパージ処理法に比べて、窒素ガスの貯蔵装置を廃止できてコスト低減を図ることができる。
このような空気パージ技術を用いた燃料電池発電システムとして以下のものがある(特許文献1参照)。この燃料電池発電システムによれば、燃料電池の発電の停止時、燃料処理器に水供給手段から水を供給することで生成した水蒸気によって燃料ガス経路の内部に残留する水素ガス含有の燃料ガスを排除した後、パージ用空気供給手段から空気を流入せしめて燃料ガス経路の内部を最終的に空気パージする方法が示されている。こうして、この燃料電池発電システムでは、燃料電池の水素ガスを水蒸気によって排除させた後、燃料電池の内部に空気を供給することで、水蒸気に起因する経路の水滴腐食の防止が図られる。
WO01/97312号公報
ところが、固体高分子電解質形の燃料電池のアノードの電極には通常、白金とルテニウムの合金触媒が使用され、上記従来の燃料電池発電システムのようにアノードを空気に曝すと、酸化雰囲気によって触媒性能の劣化(酸化劣化)が懸念される。このため、燃料電池発電装置の発電の停止に際して、アノードを空気で充填させて保持することは燃料電池発電装置の耐久性維持の観点からは望ましくないと言える。
この問題を解消するため、例えば、発電の停止の際、燃料ガス(例えば水素リッチな燃料ガス)または発電原料ガス(例えば都市ガスや天然ガス)を燃料電池のアノードに充填して外部に排出させない処置を施して、アノードへの空気混入を防止して燃料電池の耐久性を維持させる方法もある。
この方法であれば一見、アノードの酸化劣化を防止できそうであるが、燃料電池発電装置の発電の停止後、仮にカソードに空気(酸素ガス)が残存すれば、多孔質の固体高分子電解質膜を通って空気(酸素ガス)がアノードに移動して、これによるアノード酸化劣化の可能性が懸念されており、本願発明者等は、アノードの酸化劣化を確実に回避するには、カソードも燃料ガスまたは発電原料ガスを充填させた状態に保持することが必要であると考察している。
しかし、発電の停止後、燃料電池のカソードに燃料ガスまたは発電原料ガスを充填させた状態に保持した場合には、次回の運転開始時に空気供給系から燃料電池のカソードに空気を供給すると、可燃性の発電原料ガスや燃料ガス等がそのまま大気中に排出されることになる。
本発明は、上記のような事情に鑑みてなされたものであり、燃料電池のカソードに充填された可燃ガスを適切に処理して排出できる燃料電池発電装置を提供することを目的とする。
本発明に係る燃料電池発電装置は、カソードに酸化剤ガスを供給して発電する燃料電池を備えており、前記発電の停止後、前記カソードに可燃ガスを充填させ保持し、その後、前記可燃ガスを大気に排出する際、前記可燃ガスと非可燃ガスによって希釈する。これによって燃料電池のカソードに充填された可燃ガスを排出する際、カソード充填ガスを適切に処理できる。
適切な処理例として、前記可燃ガスと前記非可燃ガスとの混合ガス中の可燃ガス濃度を燃焼下限濃度未満に希釈できるため、この状態で混合ガスを大気に排出できる。
例えば、前記酸化剤ガスを供給する酸化剤ガス供給手段と、前記酸化剤ガス供給手段から供給される酸化剤ガスを前記カソードに導きかつ前記カソードで消費されなかった酸化剤ガスを大気に放出するよう形成された酸化剤ガス流路と、前記カソードの上流および下流においてそれぞれその開閉により前記酸化剤ガス流路を開閉する第一及び第二の酸化剤ガス流路開閉手段と、前記酸化剤ガス流路の、前記第一の酸化剤ガス流路開閉手段と前記カソードとの間に位置する部分に前記可燃ガスを供給する可燃ガス供給手段と、前記酸化剤ガス流路の前記カソードより下流に位置する部分に該カソードから流出した前記可燃ガスを前記非可燃ガスによって希釈して大気に排出する希釈手段と、制御装置と、を備え、前記燃料電池による前記発電の停止動作時には、前記制御装置は、前記第一の酸化剤ガス流路開閉手段を閉じて前記可燃ガス供給手段から前記酸化剤ガス流路に可燃ガスを供給させることにより前記カソードに可燃ガスを充填させた後、前記第二の酸化剤ガス流路開閉手段を閉じて前記カソードに前記可燃ガスを保持させ、前記燃料電池による前記発電の開始動作時には、前記制御装置は、少なくとも前記第一の酸化剤ガス流路開閉手段を開いて前記酸化剤ガス供給手段から前記酸化剤ガス流路を通じて前記カソードに酸化剤ガスを供給させることにより、前記可燃ガスを前記酸化剤ガス流路の前記カソードより下流に位置する部分に流出させ、かつ前記流出した前記可燃ガスを前記希釈手段により希釈して大気に排出させる構成を採用しても良い。こうして、カソードに充填された可燃ガスを適切に希釈できる。なおこの場合、前記非可燃ガスとして前記酸化剤ガスを使用しても良い。
ここで希釈手段の一例として、前記酸化剤ガス流路の前記第一の酸化剤ガス流路開閉手段より上流に位置する部分と前記酸化剤ガス流路の前記第二の酸化剤ガス流路開閉手段より下流に位置する部分とを接続するカソードバイパス流路と、その開閉により前記カソードバイパス流路を開閉するカソードバイパス開閉手段とを備え、前記カソードに充填され保持された可燃ガスの排出時には、前記第一、第二の酸化剤ガス開閉手段を開くとともに前記カソードバイパス開閉手段を開き、これによって前記酸化剤ガス流路の前記カソードより下流に位置する部分に流出した前記可燃ガスを、前記カソードバイパス流路を流れる酸化剤ガスと混合しかつ希釈して大気に排出するように構成しても良い
なお、前記カソードバイパス流路の流路抵抗を調整することで前記カソードバイパス流路を流れる酸化剤ガスの流量を制御できる。流体抵抗の具体的調整例として、前記カソードバイパス流路の途中に配置された前記カソードバイパス開閉手段としてのカソードバイパス開閉弁の口径を調整すること前記カソードバイパス流路を流れる酸化剤ガスの流量を制御できる。
また、希釈手段の他の例として、前記酸化剤ガス流路の前記カソードより上流に位置する部分と前記酸化剤ガス流路の前記第二の酸化剤ガス流路開閉手段より下流に位置する部分とを接続するカソードバイパス流路と、前記上流に位置する部分と前記カソードバイパス流路の接続部に配置され、前記希釈手段および前記第一の酸化剤ガス流路開閉手段として前記酸化剤ガス流路を開閉させると共に、前記カソードバイパス流路を流れる酸化剤ガス流量の前記酸化剤ガス流路を流れる酸化剤ガス流量に対する分流比率を変える分流手段とを備え、前記カソードに充填され保持された可燃ガスの排出時には、前記第二の酸化剤ガス流路開閉手段を開くと共に、前記酸化剤ガス流路の前記カソードより下流に位置する部分に流出した可燃ガスを、前記分流手段の分流比率を調整して前記カソードバイパス流路を流れる酸化剤ガスと混合しかつ希釈して大気に排出するように構成しても良い。
更に、希釈手段の他の例として、燃焼器の火炎バーナに空気を供給する燃焼空気供給手段と、前記酸化剤ガス流路の、前記第二の酸化剤ガス流路開閉手段と前記カソードとの間に位置する部分から延びて前記火炎バーナに接続するカソード燃焼配管と、その開閉により前記カソード燃焼配管を開閉する燃焼配管開閉手段とを備え、前記カソードに充填され保持された可燃ガスの排出時には、前記第二の酸化剤ガス流路開閉手段を閉じると共に前記燃焼配管開閉手段を開き、それによって前記カソード燃焼配管を経由して前記火炎バーナに前記可燃ガスを導入させる際に、前記可燃ガスを前記燃焼空気供給手段から供給される空気と混合しかつ希釈して大気に排出するように構成しても良い。こうして既存の燃焼空気供給手段を活用して、カソードに充填された可燃ガスを適切に空気と混合しかつ希釈して大気に排出できる。
なおこの場合、前記燃焼器の燃焼の停止期間中に、前記火炎バーナに前記可燃ガスを導入する。可燃ガスの供給によって火炎バーナの燃焼状態を乱さないためである。
また、希釈手段の他の例として、燃焼器の燃焼によって生成された燃焼排ガスを大気に導く燃焼排気管と、前記酸化剤ガス流路の、前記第二の酸化剤ガス流路開閉手段と前記カソードとの間に位置する部分から延びて前記燃焼排気管に接続するカソード燃焼排気配管と、その開閉により前記カソード燃焼排気配管を開閉する燃焼排気配管開閉手段とを備え、
前記カソードに充填され保持された可燃ガスの排出時には、前記第二の酸化剤ガス流路開閉手段を閉じると共に前記燃焼排気配管開閉手段を開き、それによって前記カソード燃焼排気配管を経由して前記燃焼排気管に前記可燃ガスを導入させる際、前記可燃ガスを前記燃焼排ガスと混合しかつ希釈して大気に排出するように構成しても良い。
また更に、希釈手段の他の例として、燃焼器の燃焼によって生成された燃焼排ガスを大気に導く燃焼排気管を備え、前記酸化剤ガス流路の、前記第二の酸化剤ガス流路開閉手段の下流に位置する部分と前記燃焼排気管とを接続させた燃料電池発電装置であって、
前記カソードに充填され保持された可燃ガスの排出時には、前記第二の酸化剤ガス流路開閉手段を開き、それによって前記酸化剤ガス流路を経由して前記燃焼排気管に前記可燃ガスを導入させる際、前記可燃ガスを前記燃焼排ガスと混合しかつ希釈して大気に排出するように構成しても良い。
このように燃焼排気管にカソードに充填された可燃ガスを導入する場合、前記燃焼器の燃焼期間中に、前記燃焼排気管に前記可燃ガスを導入しても良い。これによって、火炎バーナの燃焼の有無に無関係に可燃ガスを導入できて処理プロセスの簡素化が図れる。
ここで、以上に述べた燃焼器は、前記燃料生成器を加熱するものであっても良い。
なおここで、発電原料ガスから燃料ガスを生成する燃料生成器を備え、前記発電のために前記燃料生成器から前記燃料ガスを前記燃料電池のアノードに供給し、前記可燃ガスとして前記発電原料ガスおよび前記燃料ガスの何れか一方を使用できる。
もしくは、水素ガスを供給する水素ガス供給手段を備え、前記発電のために前記水素ガス供給手段から前記水素ガスを前記燃料電池のアノードに供給し、前記可燃ガスとして前記水素ガスを使用できる。
本発明によれば、燃料電池のカソードに充填された可燃ガスを適切に処理して排出できる燃料電池発電装置を得ることができる。
(実施の形態1)
以下、実施の形態1について図面を参照して説明する。
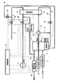
図1は、実施の形態1に係る燃料電池発電装置の構成の概要を示すブロック図である。
燃料電池発電装置39は主として、原料供給配管33を介して都市ガスや天然ガス等の発電原料ガスを燃料処理器2に供給する原料ガス供給手段36と、燃料ガスと酸化剤ガス(空気)を用いて発電を行う固体高分子電解質形の燃料電池1と、発電原料ガスに水を添加してこれを改質させて水素リッチな燃料ガスを生成する燃料処理器2と、燃料処理器2に水を供給する水供給手段3と、燃料電池1のアノード1aで消費されずに送出された残余の燃料ガスを燃焼させる燃焼器4と、燃料電池発電装置39の発電を停止させる際に燃料処理器2にパージ処理用の空気を供給するパージ用空気供給手段6と、燃料電池1のカソード1cに酸化剤ガスを供給すると共に、カソード1cから残余の酸化剤ガスを排出させ得る酸化剤ガス供給手段としてのブロア5から構成されている。
また、燃料電池発電装置39のガス配管系統は、ブロア5から燃料電池1のカソード1cに空気を導く酸化剤ガス流路としてのカソード供給配管7と、燃料電池1のカソード1cから送出された残余の空気を大気に放出する酸化剤ガス流路としてのカソード排出配管8と、カソード供給配管7とカソード排出配管8を接続することで燃料電池1を経由せずにブロア5から供給される空気をカソード排出配管8へ導き得るカソードバイパス流路としてのカソードバイパス配管9と、カソードバイパス配管9の途中に設けられカソードバイパス配管9を開閉するカソードバイパス開閉手段10と、燃料電池1のカソード1cの出入口をそれぞれ開閉する第一の出口側開閉弁12a(第二の酸化剤ガス流路開閉手段)および第一の入口側開閉弁12b(第一の酸化剤ガス流路開閉手段)からなるカソード閉止手段12と、原料ガス供給手段36から発電原料ガスを燃料処理器2に導く原料供給配管33と、燃料処理器2から送出される燃料ガスを、流路切換手段14を介し燃料電池1のアノード1aに導くアノード供給配管34と、燃料電池1のアノード1aから残余の燃料ガスを燃焼器4に排出させる燃料ガス還流配管35と、燃料ガス還流配管35の途中に設けられ、燃料ガス還流配管35を開閉する還流配管開閉手段15と、燃料処理器2から送出される燃料ガスを流路切換手段14によって還流配管開閉手段15の下流の燃料ガス還流配管35に導くアノードバイパス管13と、原料供給配管33と第一の入口側開閉弁12bの下流のカソード供給配管7を接続する原料カソード供給配管32と、原料カソード供給配管32の途中に配置され、発電原料ガスをカソード1cに導入させる原料カソード供給手段11(可燃ガス供給手段)がある。
なお、カソード供給配管7(酸化剤ガス流路)の第一の入口側開閉弁12b(第一の酸化剤ガス流路開閉手段)より上流に位置する部分とカソード排出配管8(酸化剤ガス流路)の第一の出口側開閉弁12a(第二の酸化剤ガス流路開閉手段)より下流に位置する部分とを接続するカソードバイパス配管9(カソードバイパス流路)およびこのカソードバイパス配管9を開閉するカソードバイパス開閉手段10によって可燃ガスの希釈手段が構成されている。
ここで、カソードバイパス開閉手段10、カソード閉止手段12の第一の出口側開閉弁12aと第一の入口側開閉弁12bおよび還流配管開閉手段15は何れも、例えば開閉用電磁弁で構成され、流路切換手段14は例えば三方弁で構成され、原料カソード供給手段11は、例えば開閉電磁弁またはポンプで構成されている。
なお、制御装置21は、ブロア5、原料ガス供給手段36、水供給手段3、パージ用空気供給手段6、原料カソード供給手段11および各種弁10、12a、12b、14、15を制御して燃料電池発電装置39のガス供給系の動作を司っている。なお、図中には、点線を付して制御装置の制御対象を示している。また、図示しないものの、制御装置21は各種センサ(温度センサや流量計等)から検知信号を受け取り、この検知信号に基づいて適切に燃料電池発電装置39の動作を制御している。
以下、燃料電池発電装置39の発電期間中、発電停止時および発電開始時(起動時)に分けて燃料電池発電装置39の動作を、図1を参照して説明する。
燃料電池発電装置の発電期間中、燃料処理器2の温度を約700℃程度に維持させた状態で、原料ガス供給手段36から供給された発電原料ガスと水供給手段3から供給された水を燃料処理器2の内部で改質反応させて水素リッチな燃料ガスを生成する。そして、燃料生成器2から送出された燃料ガスは、アノード供給配管34の途中に設けられた流路切換手段14を通過して(流路切換手段14によってアノード供給配管34とアノード1aを連通状態にする)、燃料電池1のアノード1aに送り込まれる。また、ブロア5から送出される空気は、カソード供給配管7を介して開栓状態の第一の入口側開閉弁12bを通過して、燃料電池1のカソード1cに送り込まれる。こうして燃料電池1の内部において、燃料ガス(水素ガス)と空気(酸素ガス)を消費して発電が行われる。燃料電池1の発電によって消費されなかった残余の燃料ガスは、燃料ガス還流配管35を介して開栓状態の還流配管開閉手段15を通過して燃焼器4へ送られた後、燃焼器4の内部で燃焼させられて燃料処理器2の温度維持の熱源として活用される。また、燃料電池1の発電によって消費されなかった残余の空気は、カソード排出配管8を介して開栓状態の第一の出口側開閉弁12aを通過して大気中に排出される。
続いて燃料電池発電装置39の発電停止の際、燃料電池1のカソード1cに対するガス供給は次のように制御される。
ブロア5の作動を停止することでブロア5からカソード1cに対する空気の供給を停止する。そして、原料カソード供給手段11の動作によって原料カソード供給配管32を通って可燃ガスである発電原料ガスを第一の入口側開閉弁12bの下流のカソード供給配管7に導いて、このカソード供給配管7を介して燃料電池1のカソード1cに供給する。なおこの時点においては、第一の入口側開閉弁12bを閉めておくと共に、第一の出口側開閉弁12aを開いておく。このカソード1cに対する発電原料ガスの供給によって燃料電池1のカソード1cに滞留する空気が、カソード1cからカソード排出配管8を経由して外部(大気中)に排出される。そして、このカソード1cに滞留する空気をほぼ全量排出できたと判断した時点で、カソード閉止手段12の第一の出口側開閉弁12aを閉栓状態にして、原料カソード供給手段11によって発電原料ガスを燃料電池1のカソード1cに供給することを止める。なお、カソード1cに滞留する空気量は事前に把握可能であるため、この滞留空気量に基づいて空気をほぼ完全に排出できる発電原料ガス供給量が決定される。
なおここで、原料ガス供給手段36の出口直後であって原料供給配管33の内部の発電原料ガス圧力は約2kPa程昇圧されている。このため、原料カソード供給配管32の一方端を原料ガス供給手段36の出口直後の原料供給配管33に接続させ、その他方端を第一の入口側開閉弁12bの下流のカソード供給配管7に接続させた状態で、原料カソード供給配管32の途中に配置された原料カソード供給手段11としての開閉弁を開けば、発電原料ガスの内圧を利用して発電原料ガスを第一の入口側開閉弁12bの下流のカソード供給配管7からカソード1cに流入させ得る。勿論、発電原料ガスを供給するための供給圧が不十分な場合には、原料カソード供給手段11として供給ポンプを使って、発電原料ガスをカソード1cにポンプ圧送しても構わない。
一方、燃料電池発電装置39の発電停止の際、燃料処理器2および燃料電池1のアノード1aのガス供給は次のように制御される。
流路切換手段14によってバイパス流路(アノード供給配管34とアノードバイパス配管13を連通する経路)が形成されると共に、開閉手段15を閉栓させる。こうして燃料電池1のアノード1aに滞留する燃料ガス(水素リッチガス)をアノード1aの内部に封止でき、この状態を保って燃料処理器2からアノード1aに対する燃料ガス供給を停止させる。
このような動作によって発電の停止後、燃料ガス(水素リッチガス)をアノード1aの内部に充填させた状態で保持すると共に、可燃ガス(発電原料ガス)をカソード1cの内部に充填させた状態で保持でき、アノード1aの酸化劣化を防止できる。
続いて、水供給手段3を作動させて、水供給手段3から水を燃料処理器2に供給し続ける。燃料処理器2に供給される水は燃料処理器2の熱によって水蒸気に蒸発されて、この水蒸気によって燃料処理器2の内部に残留する水素リッチな燃料ガスがアノード供給配管34に押し出され、燃料ガスおよび水蒸気は流路切換手段14によってアノードバイパス管13および燃料ガス還流配管35を介して燃焼器4に還流させられて燃焼器4の内部で燃焼処理される。この処理を継続することで、燃料ガスの可燃ガス濃度が次第に希釈されて燃焼器4の燃焼は停止するものの、燃料処理器2の余熱によって水蒸気の生成は依然として継続される。
燃料処理器2の内部で生成された水蒸気の供給量が燃料処理器2の内部の水素リッチな燃料ガスを押し出し得る十分な量に達して、しかも、燃料処理器2の内部温度が400℃程度まで降下した時点で、水供給手段3による水の供給を停止する。その後、パージ用空気供給手段6から空気を燃料処理器2の内部に供給して燃料生成器2の内部の水蒸気をアノード供給配管34に送出させると共に、流路切換手段14によってアノードバイパス管13および燃料ガス還流配管35を経由して燃焼器4に空気を還流させてこの燃焼器4から大気中に排出させる。燃料処理器2の内部や各部配管34、13、35の内部の水蒸気を完全に空気によって排除できた後、パージ用空気供給手段6の作動を停止して空気の供給を止めて、燃料電池発電装置の停止動作を終了させる。
なお前記の基準として採用した400℃という温度は、燃料処理器2においてルテニウム主成分の触媒使用を想定した場合、ルテニウム触媒が高温時に空気に曝されて酸化劣化による性能低下を引き起こさないよう所定の安全率を見込んで設定したものである。このため、安全率の決め方に応じてこの設定温度はシフトするものであり、また触媒自体が異なれば(例えばニッケル触媒等)、この設定温度は自ずと変化するものである。
次に、燃料電池発電装置39の発電開始(起動)の場合、燃料電池1のカソード1cのガス供給は次のように制御される。
カソード閉止手段12の第一の入口側および出口側開閉弁12b、12aおよびカソードバイパス開閉手段10のいずれも開栓状態にしておき、ブロア5からカソード供給配管7を介してカソード1cに空気の供給を開始する。これによりブロア5から供給される空気の経路として、カソード供給配管7から燃料電池1のカソード1cを経由してカソード排出配管8に順次供給される経路Aと、カソード供給配管7からカソードバイパス開閉手段10を通過するようにカソードバイパス配管9に供給される経路Bの2つの経路が形成される。
経路Aを流れる空気によってカソード1cに充填された可燃ガス含有の発電原料ガスを空気と共にカソード排出配管8に排出させ得る。こうして排出された可燃ガスは、カソード排出配管8の途中のカソードバイパス配管9との合流箇所において経路Bを流れる空気と合流し混合して、混合ガス中の可燃ガス濃度が燃焼下限未満に希釈され、最終的に燃料電池発電装置の外部(大気中)に排出される。
ここで、経路Aを流れる空気流量と経路Bを流れる空気流量は、燃料電池発電装置39の外部へ排出させる混合ガス中に含有する可燃ガスの濃度が燃焼下限濃度以下になるよう設定される。例えば発電原料ガスとして大都市圏内において使用される都市ガス13Aを使用する場合、この都市ガス13Aは空気との混合割合として約5〜15%の燃焼範囲を有するため、経路Bを流れる単位時間当たりの空気量を、経路Aを流れる単位時間当たりの空気量の20倍の量よりも多くになるように経路Aおよび経路Bの流路抵抗を設定すれば、最終的には排出される混合ガス中の可燃ガス濃度を5%未満にできる。なお、予め経路Aを流れる混合ガスの流路抵抗は予測できるため、例えばカソードバイパス開閉手段10としての開閉弁の口径を調整して経路Bの流路抵抗を制御することで、(経路Bの単位時間当たりの流量)/(経路Aの単位時間当たりの流量)>20に設定することが可能である。若しくは経路Aおよび経路Bの配管長を調整することで上記の流路抵抗を制御しても良い。
燃料電池1のカソード1cに充填された発電原料ガスを燃料電池発電装置39の外部へ排出できた後、カソードバイパス開閉手段10を閉栓状態にし、ブロア5の空気を燃料電池1のカソード1cのみに供給させて、燃料電池1のカソード1cに対するガス供給を発電開始可能な状態にする。
また、燃料電池発電装置39の発電開始(起動)の際、燃料電池1のアノード1aのガス供給は次のように制御される。
流路切換手段14のバイパス流路を形成させた状態で、原料供給配管33を介して原料ガス供給手段36から発電原料ガスを燃料処理器2に供給する。そして、燃料処理器2の内部を通って送出されたガスを流路切換手段14の切換動作によってアノードバイパス管13および燃料ガス還流配管35を経由して燃焼器4の火炎バーナ41(図4参照)に還流させて、この排出ガスを燃焼器4の火炎バーナ41で燃焼させる。併せて水供給手段3によって燃料処理器2に水を供給させる。そして、燃焼器4の燃料加熱によって燃料処理器2の温度を約700℃まで昇温させて、燃料処理器2を発電原料ガスおよび水蒸気から水素リッチな燃料ガスを生成できる状態に維持させる。
燃料処理器2に収納された一酸化炭素除去部(図示せず)の温度を反応安定温度に到達させて、燃料ガス中に含有する一酸化炭素の濃度を燃料電池1のアノード電極を劣化させない程度(約20ppm)まで除去できた時点で、燃料ガス還流配管35の途中に設けられた還流配管開閉手段15を開いて、流路切換手段14のアノード1aの供給流路を形成させた状態(アノード供給配管34とアノード1aを連通させた状態)で、燃料処理器2から送出される燃料ガスを、流路切換手段14を通って燃料電池1のアノード1aに導き、かつアノード1aで消費されなかった残余の燃料ガスを燃料ガス還流配管35および還流配管開閉手段15を介して燃焼器4に還流させて燃焼器4の内部で燃焼させて、燃料電池1のアノード1aに対するガス供給を発電開始可能な状態にする。
以上のように燃料電池発電装置39の発電開始の場合、ブロア5から供給される非可燃性の酸化剤ガス(例えば、空気)の経路として、カソード供給配管7から燃料電池1を経てカソード排出配管8に順次供給される経路Aおよびカソードバイパス開閉手段10を途中に配置したカソードバイパス配管9に供給される経路Bの2つの経路があって、これらの経路Aおよび経路Bをそれぞれ、所定の流路抵抗に設定して通流させておく。
こうしてカソード1cに充填した可燃性の発電原料ガス(例えば、都市ガス13A)を、ブロア5から供給され、経路Aを流れる空気によって押し出すことで空気と共に発電原料ガスをカソード排出配管8に排出する際、経路Bを流れる空気を発電原料ガスと合流させて混合させ、この混合ガス中の可燃ガス濃度を燃焼下限濃度未満に希釈して大気に排出できる。これによってカソード1cに充填された可燃ガスを適切に後処理し得る。
また、燃料電池発電装置39の発電の停止期間中、燃料電池1のカソード1cに発電原料ガスを充填させた状態で保持できるため、アノード1aに可燃ガス(燃料ガス)を封入することと相俟って、燃料電池1のアノード1aの触媒を酸化させる要因を根本から排除できて燃料電池発電装置39のアノード1aの耐久性低下を招くことを未然に防止できる。
更には、カソード閉止手段12の第一の入口側および出口側開閉弁12b、12aを閉止状態にして燃料電池発電装置39の停止保管動作を実行するため、原料カソード供給手段11によって燃料電池1のカソード1cに供給した発電原料ガスを燃料電池1の内部に確実に封止せしめて、仮に燃料電池1を停止させた状態で長期間保管しても外部から空気が燃料電池1のカソード1cに混入することがなく、燃料電池発電装置39の耐久性低下を防ぎ得る。
(実施の形態2)
図2は、実施の形態2に係る燃料電池発電装置の概要を示すブロック図である。本実施の形態は、実施の形態1においてカソードバイパス経路を変形したものである。なお、図1に記載された構成要素と同じものには、同じ番号を付与して、その説明を省略する。
図2によれば、実施の形態1と比較して、カソードバイパス流路としてのカソードバイパス配管9の途中のカソードバイパス開閉手段10(図1参照)に代えて、カソードバイパス配管9とカソード供給配管7の接続部17に分流手段16が配置されている。この分流手段16によって上流側カソードバイパス配管7uを流れる空気を、下流側カソード供給配管7dに流れる空気とカソードバイパス配管9を流れる空気に分流できる。また、カソード開閉手段12のうちの第一の入口側開閉弁12b(図1参照)の代用として分流手段16を用いる一方、カソード出口閉止手段として第一の出口側開閉弁12aはそのまま残している。
なお、カソード供給配管7(酸化剤ガス流路のカソード1cより上流に位置する部分)とカソード排出配管8(酸化剤ガス流路)の第一の出口側開閉弁12a(第二の酸化剤ガス流路開閉手段)より下流に位置する部分とを接続するカソードバイパス配管9(カソードバイパス流路)および、前記上流に位置する部分と前記カソードバイパス流路の接続部17に配置され、第一の入口側開閉弁12bの代用(第一の酸化剤ガス流路開閉手段)としてカソード供給配管7を開閉させると共に、酸化剤ガス流路を流れる酸化剤ガス流量に対するカソードバイパス配管9を流れる酸化剤ガス流量の分流比率を変える分流手段によって可燃ガスの希釈手段が構成されている。
分流手段16として、例えば分流比を任意に設定できる三方弁を用いることができ、この分流手段16によって接続部17の下流側カソード供給配管7dを流れる空気流量とカソードバイパス配管9を流れる空気流量の比率が調整される。なお、分流手段16による分流比率の調整は制御装置21によって制御されている。
以下、燃料電池発電装置39の発電期間中、発電停止時および発電開始時(起動時)に分けて燃料電池発電装置39の動作を、図2を参照して説明する。但し、実施の形態1と同様の動作については簡略化して述べる。
燃料電池発電装置39の発電期間において、燃料生成器2から送出された燃料ガスは、アノード供給配管34の途中に設けられた流路切換手段14を通過して、燃料電池1のアノード1aに送り込まれる。また、ブロア5から送出された空気が、接続部17の下流側カソード供給配管7dに全量流れるように分流手段16を動作させて、この空気を燃料電池1のカソード1cに送り込む。こうして燃料電池1の内部において、燃料ガス(水素ガス)と空気(酸素ガス)を消費して発電が行われる。
一方、燃料電池発電装置39の発電停止の際には、燃料電池1のカソード1cのガス供給は次のように制御される。
ブロア5の作動を停止してブロア5からカソード1cに対する空気の供給を止める。そして、原料カソード供給配管32を介して原料カソード供給手段11としての開閉バルブを開くことで可燃性の発電原料ガスを接続部17の下流側カソード供給配管7dに導いて、この下流側カソード配管7dを介して燃料電池1のカソード1cに供給させる。なおこの時点においては、第一の出口側開閉弁12aを開いておく。また、分流手段16を動作させてカソードバイパス配管9の、接続部17の上流側カソード供給配管7uを流れる空気に対する分流比率を1に設定する一方、接続部17の下流側カソード供給配管7dの、上流側カソード供給配管7uを流れる空気に対する分流比率を0に設定しておく。続いて、発電原料ガスのカソード1cに対する供給(既に述べた実施の形態1の原料カソード供給手段11の動作による供給)によって燃料電池1のカソード1cに滞留する空気をほぼ全量排出できたと判断した時点で、第一の出口側開閉弁12aを閉止状態にして、原料カソード供給手段11によって発電原料ガスを燃料電池1のカソード1cに供給することを止める。
なお、発電停止の際の燃料電池1のアノード1aのガス供給は実施の形態1のそれと同様である。
以上のような動作によって発電の停止後、燃料ガス(水素リッチガス)をアノード1aの内部に充填させた状態で保持すると共に、可燃ガス(発電原料ガス)をカソード1cの内部に充填させた状態で保持でき、アノード1aの酸化劣化を防止できる。
また、燃料電池発電装置39の発電開始(起動)の際、燃料電池1のカソード1cのガス供給は次のように制御される。
第一の出口側開閉弁12aを開栓にして、ブロア5からカソード供給配管7を介してカソード1cに対して空気供給を開始する。このとき、ブロア5から供給される空気の経路として、上流側カソード供給配管7uを通流する空気を分流手段16によって分流させて接続部17の下流の下流側カソード供給配管7dに流した後、カソード1cを経由させて空気をカソード排出配管8に排出させる経路Aと、上流側カソード供給配管7uを通流する空気を分流手段16によって分流させて接続部17の下流のカソードバイパス配管9に流した後、この空気をカソード排出配管8に排出させる経路Bの2つの経路を形成させる。
こうして経路Aを流れる空気によってカソード1cに充填された発電原料ガスを空気と共にカソード排出配管8に排出させる。そして排出された発電原料ガスは、カソード排出配管8の途中のカソードバイパス配管9との合流箇所において経路Bを流れる空気と合流して混合され、混合ガス中の可燃ガス濃度が燃焼下限未満に希釈され、最終的に燃料電池発電装置の外部(大気中)に排出される。
ここで、経路Aを流れる空気流量および経路Bを流れる空気流量は分流手段16によって調整され、両者の流量の分流比率は、燃料電池発電装置39の外部へ排出させる混合ガス中に含有する可燃ガス濃度が燃焼下限濃度以下になるよう設定される。
例えば発電原料ガスとして大都市圏内において使用される都市ガス13Aを使用する場合、この都市ガス13Aは、空気との混合割合として約5〜15%の燃焼範囲を有するため、経路Bを流れる単位時間当たりの空気量を、経路Aを流れる単位時間当たりの空気量の20倍の量よりも多くになるように分流手段16の分流比率を設定すれば、最終的には排出される混合ガス中の可燃ガス濃度を5%未満にできる。
こうして燃料電池1のカソード1cに充填された発電原料ガスを燃料電池発電装置39の外部に全量排出できた後、ブロア5から送出される空気を接続部17の下流のカソード供給配管7dに全量流入させるよう、分流手段16の分流比率を設定して、燃料電池1のカソード1cに対するブロア5からのガス供給を発電開始可能な状態にする。
なお、発電開始の際の燃料電池1のアノード1aに対するガス供給は実施の形態1のそれと同様である。
以上のように燃料電池発電装置39の発電開始の場合、ブロア5から供給される非可燃性の酸化剤ガス(例えば、空気)は、接続部17に配置された分流手段16によってカソード供給配管7から燃料電池1のカソード1cを経てカソード排出配管8に排出される経路Aと、カソードバイパス配管9からカソード排出配管8に排出される経路Bの2つの経路に分流される。そして、経路Aおよび経路Bを流れる空気の流量の比率を、分流手段16によって調整しておく。
こうしてカソード1cに充填させた可燃性の発電原料ガス(例えば、都市ガス13A)を、経路Aを流れる空気によって押し出して空気と共に発電原料ガスをカソード排出配管8に排出させる際、経路Bを流れる空気とこの発電原料ガスとを合流させて混合させ、混合ガス中の可燃ガス濃度を燃焼下限濃度未満に希釈して、この状態で混合ガスを大気に排出できる。これによってカソード1cに充填された可燃ガスを適切に後処理し得る。
また、燃料電池発電装置39の発電の停止期間中、燃料電池1のカソード1cに発電原料ガスを充填させた状態で保持できるため、アノード1aに可燃ガス(燃料ガス)を封入することと相俟って、燃料電池1のアノード1aの触媒を酸化させる要因を根本から排除できて燃料電池発電装置39のアノード1aの耐久性低下を招くことを未然に防止できる。
更には、カソード閉止手段12の第一の出口側開閉弁12aを閉止すると共に上流側カソード供給配管7uと下流側カソード供給配管7dの間を全閉にした状態で、燃料電池発電装置39の停止保管動作を実行するため、原料カソード供給手段11によって燃料電池1のカソード1cに供給した発電原料ガスを燃料電池1の内部に確実に封止せしめて、仮に燃料電池1を停止させた状態で長期間保管しても外部から空気が燃料電池1のカソード1cに混入することがなく、燃料電池発電装置39の耐久性低下を防ぎ得る。
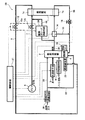
(実施の形態3)
図3は、実施の形態3に係る燃料電池発電装置の構成の概要を示すブロック図であり、実施の形態1の構成に対してカソード1cに充填された発電原料ガスの後処理に絡む配管構成および弁構成を変更している。なお、図1に記載された構成要素と同じものには、同じ番号を付して、その説明を省略する。
図3によれば、実施の形態1と比較して、カソードバイパス配管9およびカソードバイパス開閉手段10(図1参照)に代えて、第一の出口側開閉弁12aの上流側のカソード排出配管8の途中から分岐して延びて燃焼器4(より詳しくは図4に示す燃焼器4の火炎バーナ41)に接続するカソード燃焼配管19を設けると共に、このカソード燃焼配管19の途中に、カソード燃焼配管19に空気供給を開始および停止するための燃焼配管開閉手段としての燃焼配管開閉弁20を配置している。燃焼配管開閉弁20は、例えば開閉用の電磁弁を用いてこれを制御装置21によって制御させる。
また、図3に示された燃焼ファン18(燃焼空気供給手段)は、燃焼器4に接続されて燃焼器4の火炎バーナ41に燃料処理器2の加熱用の空気を供給するものである。
なお、燃焼器4の火炎バーナ41に空気を供給する燃焼ファン18(燃焼空気供給手段)と、カソード排出配管8(酸化剤ガス流路)の第一の出口側開閉弁12a(第二の酸化剤ガス流路開閉手段)とカソード1cとの間に位置する部分から延びて火炎バーナに接続するカソード燃焼配管19と、カソード燃焼配管19を開閉する燃焼配管開閉弁20(燃焼配管開閉手段)によって可燃ガスの希釈手段は構成されている。
以下、燃料電池発電装置39の発電停止時および発電開始時(起動時)に区分けして燃料電池発電装置39の動作を説明する。なお、燃料電池発電装置39の発電期間中の動作については実施の形態1と同様の動作であり、これに関連する記載事項は省略する。
燃料電池発電装置39の発電停止の際、燃料電池1のカソード1cに対するガス供給は次のように制御される。
ブロア5の作動を停止して燃料電池1のカソード1cに対する空気供給を止める。そして、原料カソード供給配管32を介して原料カソード供給手段11によって可燃ガス含有の発電原料ガスを第一の入口側開閉弁12bの下流のカソード供給配管7に導いて、このカソード供給配管7を介して燃料電池1のカソード1cに発電原料ガスを供給する(既に述べた実施の形態1の原料カソード供給手段11の動作による供給)。なおこの時点においては、第一の入口側および出口側開閉弁12a、12bを閉めておき、燃焼配管開閉弁20を開いておく。続いて、発電原料ガスのカソード1cに対する供給によって燃料電池1のカソード1cに滞留する空気を、燃焼配管開閉弁20を通ってカソード燃焼配管19を経由して燃焼器4から外部に排出する。そして、滞留する空気をほぼ全量排出できたと判断した時点で、燃焼配管開閉弁20を閉止状態にして、原料カソード供給手段11によって発電原料ガスを燃料電池1のカソード1cに供給することを止める。
なお、発電停止の際の燃料電池1のアノード1aに対するガス供給は実施の形態1のそれと同様である。
以上のような動作によって発電の停止後、燃料ガス(水素リッチガス)をアノード1aの内部に充填させた状態に保持すると共に、可燃ガス(発電原料ガス)をカソード1cの内部に充填させた状態で保持でき、アノード1aの酸化劣化を防止できる。
また、燃料電池発電装置39の発電開始(起動)の場合、燃料電池1のカソード1cのガス供給は次のように制御される。
第一の入口側開閉弁12bおよび燃焼配管開閉弁20を開栓すると共に第一の出口側開閉弁12aを閉栓する。この状態でブロア5からカソード供給配管7を介してカソード1cに空気供給を開始する。ブロア5から供給される空気はカソード1cに充填された可燃性の発電原料ガスを押し出す。即ち、カソード供給配管7から燃料電池1のカソード1cを経由してカソード排出配管8に排出する空気と共に発電原料ガスはカソード排出配管8に一旦排出される。続いて、排出された発電原料ガスは、燃焼配管開閉弁20を通ってカソード燃焼配管19を経由して燃焼器4の火炎バーナ41に流入する。
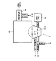
ここで、図4に示す燃焼器4とその周辺構造の模式断面図を参照して、燃焼器4の内部の構成を述べたうえで、カソード1cに充填された可燃ガス(発電原料ガス)の燃焼器4の内部における後処理の動作を説明する。
カソード燃焼配管19を流れるガスを、燃焼器4の火炎バーナ41に導き得るように燃焼器4の第一の接続ポート44にカソード燃焼配管19は接続される。燃焼ファン18も同様に、空気を燃焼器4の火炎バーナ41に導き得るように燃焼器4に第二の接続ポート45において接続される。また、火炎バーナ41を覆うように筒状の燃焼筒40が設けられており、この燃焼筒40の側面に燃焼排気管23が設けられ、この燃焼排気管23を介して火炎バーナ41の燃焼で生成する燃焼排ガス(窒素ガス主成分のガス)が外部(大気)に排出される。なお、原料供給配管33から分岐する予備原料供給配管22(図5参照)および燃料ガス還流配管35が燃焼器4の第三の接続ポート46に接続されており、これによってこれらの配管22、35を通流する発電原料ガスまたは/および燃料ガスが火炎バーナ41に導かれ燃焼されて燃料処理器2の加熱に利用される。
もっとも、実施の形態3においては、カソード1cに充填された発電原料ガスを火炎バーナ41に供給するよう構成されているため、この発電原料ガスの後処理を終了する前に、火炎バーナ41の燃焼を開始してしまうと、火炎バーナ41に対する発電原料ガスの供給によってその燃焼状態が乱されて好ましくない。よって発電原料ガスの火炎バーナ41に対する供給は、火炎バーナ41の燃焼前に開始される。その後、カソード1cに充填された発電原料ガスを全て燃焼器4に送出してこれを処理して外部に排出した後に、火炎バーナ41の燃焼が開始される。なお、燃焼中に炎の中を流れるイオン電流を検知できるフレームロッド42もしくは熱電対43を火炎バーナに設置しておき、火炎バーナ41において燃焼継続中か否かは、この検知信号に基づいて制御装置21によってモニタされる。
以上のような燃焼器4において、カソード1cに充填された発電原料ガスは次のようにして処理される。
カソード1cに充填された発電原料ガスは、ブロア5から供給される空気に押し出され、カソード燃焼配管19に排出され、燃焼器4の第一の接続ポート44を介して火炎バーナ41に供給される。同時に、燃焼ファン18から供給される空気も第二の接続ポート45を介して火炎バーナ41に供給される。こうして、カソード燃焼配管19を通流する発電原料ガスと燃焼ファン18の空気は互いに、燃焼器4の火炎バーナ41で混合されて、混合ガス中に含有する可燃ガス濃度が燃焼下限濃度未満に希釈された後、燃焼排気管23を介して燃料電池発電装置39の外部に排出される。
この際、ブロア5の空気量と燃焼ファン18の空気量は共に、火炎バーナ41の内部の可燃ガス濃度を燃焼下限濃度未満になるように制御装置21によって調整される。例えば発電原料ガスとして大都市圏内において使用される都市ガス13Aを使用する場合、この都市ガス13Aは空気との混合割合として約5〜15%の燃焼範囲を有するため、燃焼ファン18から供給される空気量を、ブロア5から供給される空気量の20倍の量よりも多くになるように両者の空気供給出力を設定すれば、最終的には排出される混合ガス中の可燃ガス濃度を5%未満にできる。そして燃料電池1のカソード1cに充填された発電原料ガスを全量、可燃ガス濃度を燃焼下限濃度未満に希釈しながら燃料電池発電装置39の外部に排出させた後、燃焼配管開閉弁20を閉栓させる。
その後、発電を開始するための燃料電池発電装置39の一連の動作を実行する。なお、この動作は実施の形態1と同様である。
以上のように燃料電池発電装置39の発電開始の場合、ブロア5から供給される非可燃性の酸化剤ガス(例えば、空気)によってカソード1cに充填された可燃性の発電原料ガス(例えば、都市ガス13A)を押し出して、これらのガスを燃焼器4の火炎バーナ41に排出させると共に、燃焼ファン18から供給される非可燃性の酸化剤ガス(例えば、空気)を燃焼器4の火炎バーナ41に供給して両者を燃焼器4の内部で混合させる際、ブロア5および燃焼ファン18の供給出力を調整することで、混合ガス中の可燃ガス濃度を燃焼下限濃度未満に希釈できて、この状態で混合ガスを大気に排出できる。こうしてカソード1cに充填された可燃ガスを適切に後処理し得る。
また、燃料電池発電装置39の発電の停止期間中、燃料電池1のカソード1cに発電原料ガスを封入できるため、アノード1aに可燃ガス(燃料ガス)を封入することと相俟って、燃料電池1のアノード1aの触媒を酸化させる要因を根本から排除できて燃料電池発電装置39のアノード1cの耐久性低下を招くことを未然に防止できる。
更には、カソード閉止手段12の第一の入口側および出口側開閉弁12b、12aおよび燃焼配管開閉弁20を閉栓して燃料電池発電装置39の停止保管動作を実行するため、原料カソード供給手段11によって燃料電池1のカソード1cに供給した発電原料ガスを燃料電池1の内部に確実に封止せしめて、仮に燃料電池1を停止させた状態で長期間保管しても外部から空気が燃料電池1のカソード1cに混入することがなく、燃料電池発電装置39の耐久性低下を防ぎ得る。
(実施の形態4)
図5は、実施の形態4に係る燃料電池発電装置の構成の概要を示すブロック図である。本実施の形態は、実施の形態3に記載された配管配置の変形例である。なお、図3に記載された構成要素と同じものには、同じ番号を付して、その説明を省略する。
図5によれば実施の形態3と比較して、第一の出口側開閉弁12aの上流のカソード排出配管8と燃焼器4を接続するカソード燃焼配管19(図3参照)に代えて、第一の出口側開閉弁12aの上流側のカソード排出配管8(酸化剤ガス流路)の途中から分岐して延び、燃焼排気管23(図4参照)に接続するカソード燃焼排気配管25を設けると共に、このカソード燃焼排気配管25の途中に、空気供給の開始および停止を制御する燃焼排気配管開閉手段としての燃焼排気配管開閉弁26を配置している。また、原料ガス供給手段36の出口直後の原料供給配管33と第一の入口側開閉弁12bの下流のカソード供給配管7を接続する原料カソード供給配管32(図3参照)に代えて、燃料処理器2の出口直後のアノード供給配管34と第一の入口側開閉弁12bの下流のカソード供給配管7を接続する燃料カソード供給配管49を設ける。また、原料カソード供給配管32の途中の原料カソード供給手段11(図3参照)に代えて、燃料カソード供給配管49の途中に燃料カソード供給手段24(可燃ガス供給手段)を配置する。更にまた、原料供給配管33から分岐して燃焼器4の火炎バーナ41に発電原料ガスを導く予備原料供給配管22が設けられている。
なお、燃焼器4の燃焼によって生成された燃焼排ガスを大気に導く燃焼排気管23と、酸化剤ガス流路としてのカソード排出配管8(酸化剤ガス流路)の第一の出口側開閉弁12a(第二の酸化剤ガス流路開閉手段)とカソード1cとの間に位置する部分から延びて火炎バーナに接続するカソード燃焼排気配管25と、カソード燃焼排気配管25を開閉する燃焼排気配管開閉弁26(燃焼排気配管開閉手段)によって可燃ガスの希釈手段は構成されている。
以下、燃料電池発電装置39の発電期間中、発電停止時および発電開始時(起動時)に分けて燃料電池発電装置39の動作を、図4および図5を参照して説明する。但し、実施の形態3と共通する動作は簡略化して説明する。
燃料電池発電装置39の発電期間中、燃料処理器2の温度を約700℃程度に維持させた状態で、原料ガス供給手段36から供給された発電原料ガスと水供給手段3から供給された水を燃料処理器2の内部で改質反応させて水素リッチな燃料ガスを生成する。そして、燃料生成器2から送出された燃料ガスは、アノード供給配管34の途中に設けられた流路切換手段14を通過して(流路切換手段14によってアノード供給配管34とアノード1aを連通状態)、燃料電池1のアノード1aに送り込まれる。また、ブロア5から送出される空気は、カソード供給配管7を介して開栓状態の第一の入口側開閉弁12bを通過して、燃料電池1のカソード1cに送り込まれる。こうして燃料電池1の内部において、燃料ガス(水素ガス)と空気(酸素ガス)を消費して発電が行われる。燃料電池1の発電によって消費されなかった残余の燃料ガスは、燃料ガス還流配管35を介して開栓状態の還流配管開閉手段15を通過して燃焼器4へ送られた後、燃焼器4の内部で燃焼させて燃料処理器2の温度維持の熱源として活用される。ここで、残余の燃料ガスのみの燃料では、燃料処理器2の温度を適切に維持できない場合には、予備原料供給配管22を通して発電原料ガスを燃焼器4の火炎バーナ41に付加的に供給させると共に、この追加の発電原料ガスを安定して燃焼させ得るよう、空気供給量を調整しながら燃焼ファン18から空気を火炎バーナ41に供給する。一方、燃料電池1の発電によって消費されなかった残余の空気は、カソード排出配管8を介して開栓状態の第一の出口側開閉弁12aを通過して大気中に排出される。
続いて、燃料電池発電装置39の発電停止の際、燃料電池1のカソード1cのガス供給動作は次のように制御される。
ブロア5の作動を停止して燃料電池1のカソード1cに対する空気供給を止める。そして、燃料カソード供給配管49を介して燃料カソード供給手段24によって可燃ガスを含む燃料ガスを第一の入口側開閉弁12bの下流のカソード供給配管7に導いて、このカソード供給配管7を介して燃料電池1のカソード1cに燃料ガスを供給する。なお、この時点においては、第一の入口側および出口側開閉弁12a、12bを閉めておき、燃焼排気配管開閉弁26を開いておく。続いて、燃料ガスのカソード1cに対する供給によって燃料電池1のカソード1cに滞留する空気を、燃焼排気配管開閉弁26を通ってカソード燃焼排気配管25を経由して燃焼排気管23から外部に排出する。そして、滞留する空気を全量排出できたと判断した時点で、燃焼排気配管開閉弁26を閉栓して、燃料カソード供給手段24によって燃料ガスを燃料電池1のカソード1cに供給することを止める。
なお、燃料生成器2の出口直後の燃料ガス圧力は昇圧されており、燃料カソード供給配管49の一方端を燃料生成器2の出口直後のアノード供給配管34に接続させ、その他方端を第一の入口側開閉弁12bの下流のカソード供給配管7に接続させた状態で、燃料カソード供給配管49の途中の燃料カソード供給手段24としての開閉弁を開けば、燃料ガスの内圧を利用して燃料ガスを第一の入口側開閉弁12bの下流のカソード供給配管7に導くことができカソード1cに流入させ得る。もっとも燃料ガスの供給圧が不足する場合には、燃料カソード供給手段24として供給ポンプを使って、燃料ガスをカソード1cにポンプ圧送しても構わない。
なおここでは、カソード1cに充填する燃料ガスとして、例えば水素リッチなガス(例えば、水素ガス含有率が80%のガス)が用いられる。
なお、発電停止の際の燃料電池1のアノード1aに対するガス供給は、実施の形態1と同様である。
以上のような動作によって発電の停止後、燃料ガス(水素リッチガス)をアノード1aの内部に充填させた状態で保持すると共に、可燃ガス(水素リッチな燃料ガス)をカソード1cの内部に充填させた状態に保持でき、アノード1aの酸化劣化を防止できる。
また燃料電池発電装置39の発電開始(起動)の場合、燃料電池1のカソード1cに対するガス供給は次のように制御される。
第一の入口側開閉弁12bおよび燃焼排気配管開閉弁26を開栓すると共に第一の出口側開閉弁12aを閉栓する。この状態でブロア5からカソード供給配管7を介してカソード1cに空気供給を開始する。ブロア5から供給される酸化剤ガス(空気)はカソード1cに充填された可燃性の燃料ガスを押し出す。そして、カソード供給配管7から燃料電池1のカソード1cを経由してカソード排出配管8に排出させた空気と共に燃料ガスは一旦カソード排出配管8に排出される。排出された燃料ガスは、燃焼排気配管開閉弁26を通ってカソード燃焼排気配管25を経由して燃焼排気管23に流入する。
図4を参照して、カソード1cに充填された可燃ガス(燃料ガス)の燃焼排気管23の内部における後処理の動作を説明する。なお、実施の形態3において既に説明した事項は省略する。
実施の形態4においては、カソード1cに充填した燃料ガスを燃焼排気管23に導くように構成されている。こうすることで、火炎バーナ41の燃焼期間中に燃焼排気管23に燃料ガスを供給することができ、この燃料ガスを、非可燃性の窒素ガス主成分の燃焼排ガスと燃焼排気管23において混合させて、この混合ガス中に含有する可燃ガスの濃度が燃焼下限濃度未満に希釈されて燃焼排気管23から大気に排出できる。よって燃料ガスの燃焼排気管23における後処理においては、実施の形態3に比較して火炎バーナ41の燃焼開始時期を遅らせる必要がなくなり、燃料ガス後処理のプロセスの簡素化を図り得る。
なおこの際、ブロア5から供給される酸化剤ガス(空気)および火炎バーナ41にて生成される燃焼排ガスの供給量は互いに、燃焼排気管23の内部の可燃ガス濃度を燃焼下限濃度未満になるように制御装置21によって調整される。例えば燃料ガスの主成分の水素ガスの場合、水素ガスは、空気との混合割合として約4〜75%の燃焼範囲を有するため、ブロア5から供給される空気量を、火炎バーナ41の燃焼で生成される燃焼排ガス量の1/25未満にするようブロア5の空気供給出力を設定すれば、最終的には排出される混合ガス中の可燃ガス濃度を4%未満にできる。
そしてカソード1cに充填された発電原料ガスを全量、可燃ガス濃度を燃焼下限濃度未満に希釈しながら燃料電池発電装置39の外部に排出させた後、燃焼排気配管開閉弁26を閉栓させる。
その後、発電を開始するため、燃料電池発電装置39の一連の動作を実行する。なお、この動作は実施の形態1と同様である。
以上のように燃料電池発電装置39の発電開始の場合、ブロア5から供給される非可燃の酸化剤ガス(例えば、空気)によってカソード1cに充填された可燃性の燃料ガス(例えば、水素リッチなガス)を押し出して、燃料ガスを燃焼排気管23に排出させると共に、燃焼器4の火炎バーナ41の燃焼で生成される窒素ガス主成分の燃焼排ガスを燃焼排気管23に導いて両者を燃焼排気管23の内部で混合させる。そして、ブロア5の供給出力を調整することで、混合ガス中の可燃ガス濃度を燃焼下限濃度未満に希釈できて、この状態で混合ガスを大気に排出できる。こうしてカソード1cに充填された可燃ガスを適切に後処理し得る。
また、燃料電池発電装置39の発電の停止期間中、燃料電池1のカソード1cに燃料ガスを封入できるため、アノード1aに可燃ガス(燃料ガス)を封入することと相俟って、燃料電池1のアノード1aの触媒を酸化させる要因を根本から排除できて燃料電池発電装置39のアノード1aの耐久性低下を招くことを未然に防止できる。
更には、カソード閉止手段12の第一の入口側および出口側開閉弁12b、12aおよび燃焼排気配管開閉弁26を閉止状態にして燃料電池発電装置39の停止保管動作を実行するため、原料カソード供給手段11によって燃料電池1のカソード1cに供給した燃料ガスを燃料電池1の内部に確実に封止せしめて、仮に燃料電池1を停止させた状態で長期間保管しても外部から空気が燃料電池1のカソード1cに混入することがなく、燃料電池発電装置39の耐久性低下を防ぎ得る。
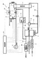
(実施の形態5)
図6は、実施の形態5に係る燃料電池発電装置の構成の概要を示すブロック図である。本実施の形態は、実施の形態4に記載されたカソード燃焼排気配管の配置の変形例である。なお、図5に記載された構成要素と同じものには、同じ番号を付して、その説明を省略する。
図6によれば、実施の形態4と比較して、第一の出口側開閉弁12aの上流側のカソード排出配管8の途中から分岐して延びて、燃焼排気管23に接続するカソード燃焼排気配管25(図5参照)に代えて、酸化剤ガス流路としてのカソード排出配管8を直接、燃焼排気管23に接続させる。また、カソード燃焼排気配管25の途中に配置され、カソード燃焼排気配管25に空気供給の開始および停止を制御する燃焼排気配管開閉弁26を取り除く。こうすることで、実施の形態4に比較して燃焼排気配管開閉弁26やカソード燃焼排気配管25を無くすことができ、ガス供給配管系の簡素化を図れる。
なお、燃焼器4の燃焼によって生成された燃焼排ガスを大気に導く燃焼排気管23と、カソード排出配管8(酸化剤ガス流路)の第一の出口側開閉弁12a(第二の酸化剤ガス流路開閉手段)の下流に位置する部分とこの燃焼排気管23とを接続させることによって可燃ガスの希釈手段は構成されている。
以下、燃料電池発電装置39の発電停止時および発電開始時(起動時)に分けて燃料電池発電装置39の動作を、図6を参照して説明する。但し、発電期間中の動作は実施の形態4および実施の形態1のそれと共通するため、これに関する説明は省略する。
燃料電池発電装置39の発電停止の際、燃料電池1のカソード1cに対するガス供給は次のように制御される。
ブロア5の作動を停止させて燃料電池1のカソード1cに対する空気供給を止める。そして、燃料カソード供給配管49を介して燃料カソード供給手段24によって可燃ガスを含む燃料ガスを第一の入口側開閉弁12bの下流のカソード供給配管7に導いて、このカソード供給配管7を介して燃料電池1のカソード1cに供給する(既に述べた実施の形態4の燃料カソード供給手段24と同様な動作による供給)。なおこの時点においては、第一の入口側開閉弁12bを閉めておき、第一の出口側開閉弁12aを開いておく。その後、燃料ガスのカソード1cへの供給によって燃料電池1のカソード1cに滞留する空気を、第一の出口側開閉弁12bを通ってカソード排出配管8を経由して燃焼排気管23から外部に排出する。そして、滞留する空気を全量排出できたと判断した時点で、第一の出口側開閉弁12aを閉止状態にして、原料カソード供給手段11によって発電原料ガスを燃料電池1のカソード1cに供給することを止める。
この実施の形態5においては、燃料ガスとして、例えば水素リッチなガス(例えば、水素ガス含有率が80%のガス)が用いられる。
なお、発電停止の際の燃料電池1のアノード1aのガス供給は実施の形態1のそれと同様である。
以上のような動作によって発電の停止後、燃料ガス(水素リッチガス)をアノード1aの内部に充填させた状態で保持すると共に、可燃ガス(水素リッチな燃料ガス)をカソード1cの内部に充填させて保持でき、アノード1aの酸化劣化を防止できる。
また燃料電池発電装置39の発電開始(起動)の場合、燃料電池1のカソード1cのガス供給は次のように制御される。
第一の入口側開閉弁12bおよび第一の出口側開閉弁12aを開栓する。この状態でブロア5からカソード供給配管7を介してカソード1cに空気供給を開始する。ブロア5から供給される酸化剤ガス(空気)はカソード1cに充填された可燃性の燃料ガスをカソード排出配管8に押し出す。カソード供給配管7から燃料電池1のカソード1cを経由してカソード排出配管8に排出させた空気と共に燃料ガスを、カソード排出配管8を介して燃焼排気管23に流入させる。
カソード1cに充填された可燃ガス(燃料ガス)の燃焼排気管23の内部における処理の動作においては、実施の形態4において既に説明した事項と同様である。
以上のように燃料電池発電装置39の発電開始の場合、ブロア5から供給される非可燃の酸化剤ガス(例えば、空気)によってカソード1cに充填された可燃性の燃料ガス(例えば、水素リッチなガス)を押し出して、燃料ガスを燃焼排気管23に排出させると共に、燃焼器4の火炎バーナ41の燃焼で生成される窒素ガス主成分の燃焼排ガスを燃焼排気管23に導いて両者を燃焼排気管23の内部で混合させる際、ブロア5の供給出力を調整することで、混合ガス中の可燃ガス濃度を燃焼下限濃度未満に希釈できて、この状態で混合ガスを大気に排出できる。こうしてカソード1cに充填された可燃ガスを適切に後処理し得る。
また、燃料電池発電装置39の発電の停止期間中、燃料電池1のカソード1cに燃料ガスを充填させた状態で保持できるため、アノード1aに可燃ガス(燃料ガス)を封入することと相俟って、燃料電池1のアノード1aの触媒を酸化させる要因を根本から排除できて燃料電池発電装置39のアノード1aの耐久性低下を招くことを未然に防止できる。
更には、カソード閉止手段12の第一の入口側および出口側開閉弁12b、12aを閉栓にして燃料電池発電装置39の停止保管動作を実行するため、原料カソード供給手段11によって燃料電池1のカソード1cに供給した燃料ガスを燃料電池1の内部に確実に封止せしめて、仮に燃料電池1を停止させた状態で長期間保管しても外部から空気が燃料電池1のカソード1cに混入することがなく、燃料電池発電装置39の耐久性低下を防ぎ得る。
(実施の形態6)
図7は、実施の形態6に係る燃料電池発電装置の構成の概要を示すブロック図である。本実施の形態では、実施の形態1に記載された燃料電池発電装置39のガス供給系を変更している。なお、図1に記載された構成要素と同じものには、同じ番号を付与して、その説明を省略する。
燃料電池発電装置39は、水素ガスと酸化剤ガス(空気)を用いて発電を行う固体高分子電解質形の燃料電池1と、燃料ガスとして水素ガスを貯留する水素タンク27および水素供給配管37を介して水素タンク27から燃料電池1のアノード1aに水素ガスを送出する水素供給ポンプ28からなる水素ガス供給手段47と、燃料電池1のアノード1aから水素排出配管38に排出される残余の水素ガスを再度燃料電池1へ送出する水素還流ポンプ29と、燃料電池1のアノード1aの出入口を開閉する第二の入口側開閉弁30aおよび第二の出口側開閉弁30bからなるアノード閉止手段30と、酸化剤ガスとして空気を、酸化剤ガス流路としてのカソード供給配管7を経由して燃料電池1のカソード1cに供給すると共に、カソード1cから残余の空気を、酸化剤ガス流路としてのカソード排出配管8に排出する酸化剤ガス供給手段としてのブロア5と、ブロア5から送出される空気を、燃料電池1を経由することなくカソード排出配管8に導入するソードバイパス配管9(カソードバイパス流路)と、カソードバイパス配管9の途中に設けられ、この配管9の開閉させるカソードバイパス開閉手段10と、燃料電池1のカソードの出入口を開閉する第一の入口側開閉弁12b(第一の酸化剤ガス流路開閉手段)および第一の出口側開閉弁12a(第二の酸化剤ガス流路開閉手段)からなるカソード閉止手段12と、燃料電池1のカソード1cに水素カソード供給配管48を介して水素ガスを供給する水素カソード供給手段31(可燃ガス供給手段)を有している。
なお、カソード供給配管7の第一の入口側開閉弁12b(第一の酸化剤ガス流路開閉手段)より上流に位置する部分とカソード排出配管8(酸化剤ガス流路)の第一の出口側開閉弁12a(第二の酸化剤ガス流路開閉手段)より下流に位置する部分とを接続するカソードバイパス配管9(カソードバイパス流路)およびこのカソードバイパス配管9を開閉するカソードバイパス開閉手段10によって可燃ガスの希釈手段が構成されている。
ここで、カソードバイパス開閉手段10、カソード閉止手段12の第一の出口側開閉弁12aと第一の入口側開閉弁12bおよびアノード閉止手段30の第二の入口側開閉弁30aと第二の出口側開閉弁30bは例えば、開閉用電磁弁で構成され、水素カソード供給手段31は、例えば開閉弁またはポンプで構成されている。
また、制御装置21は、ブロア5、水素ガス供給ポンプ28、水素ガス還流ポンプ29、水素カソード供給手段31および各種弁10、12a、12b、30a、30bを制御して燃料電池発電装置39の動作を適切に司っている。なお、図中に点線を付して制御装置21の制御対象を示している。
以下、燃料電池発電装置39の発電期間中、発電停止時および発電開始時(起動時)に分けて燃料電池発電装置39の動作を、図7を参照して説明する。
燃料電池発電装置39の発電期間中、水素タンク27に貯蔵された水素ガスを、水素供給ポンプ28によって水素供給配管37を介して燃料電池1のアノード1aに送出させると共に、燃料電池1のアノード1aにおいて発電で消費されなかった残余の水素ガスは一旦、水素排出配管38に排出されて、この水素排出配管38の途中に配置された水素還流ポンプ29によって再度、燃料電池1のアノード1aに還流される。なお、第二の入口側開閉弁30aおよび第二の出口側開閉弁30bは共に開栓されている。
また一方、ブロア5から供給される空気は、カソード供給配管7を介して燃料電池1のカソード1cに供給されると共に、カソード1cにおいて発電で消費されなかった残余の空気は、カソード排出配管8を介して大気中に排出される。なお、第一の出口側開閉弁12aおよび第一の入口側開閉弁12bは共に開栓されている。
一方、燃料電池発電装置39の発電停止の際、燃料電池1のカソード1cのガス供給動作は次のように制御される。
ブロア5の作動を停止させ燃料電池1のカソード1cに対する空気供給を止める。これにより燃料電池1の発電が停止する。そして、水素カソード供給手段31によって水素カソード供給配管48を通って可燃性の水素ガスを第一の入口側開閉弁12bの下流のカソード供給配管7に導いて、このカソード供給配管7を介して燃料電池1のカソード1cに供給する。なおこの時点においては、第一の入口側開閉弁12bを閉めておき、第一の出口側開閉弁12aを開いておく。その後、水素ガスのカソード1cへの供給によって燃料電池1のカソード1cの内部に滞留する空気をほぼ全量、カソード1cからカソード排出配管8を経て外部(大気中)に排出できたと判断した時点で、カソード閉止手段12の第一の出口側開閉弁12aを閉栓にして、水素カソード供給手段11によって水素ガスを燃料電池1のカソード1cに供給することを止める。
なお、水素供給ポンプ28の出口直後の水素ガス圧力は昇圧されており、水素カソード供給配管48の一方端を水素供給ポンプ28の出口直後の水素供給配管37に接続させ、その他方端を第一の入口側開閉弁12bの下流のカソード供給配管7に接続させた状態で、水素カソード供給配管48の途中の水素カソード供給手段31としての開閉弁を開けば、水素ガスの内圧を利用して水素ガスを第一の入口側開閉弁12bの下流のカソード供給配管7に導くことができカソード1cに流入させ得る。もっとも水素ガスの供給圧が不足する場合には、水素カソード供給手段31として供給ポンプを使って、水素ガスをカソード1cにポンプ圧送しても構わない。
なお、カソード1cに滞留する空気量は事前に把握可能であるため、この滞留空気量に基づいて空気をほぼ完全に排出できる水素ガス供給量が制御装置21によって決定される。
燃料電池発電装置39の発電停止の動作においては、アノード閉止手段30の第二の出口側および入口側の開閉弁30b、30aを共に閉めることで、燃料電池1のアノード1aに滞留する水素ガスを封入させた後、水素供給ポンプ28および水素還流ポンプ29の作動を停止させることで終了できる。
以上のような動作によって発電の停止後、水素ガスをアノード1aの内部に充填させた状態で保持すると共に、可燃ガス(水素ガス)をカソード1cの内部に充填させた状態に保持でき、アノード1aの酸化劣化を防止できる。
また、燃料電池発電装置39の発電開始(起動)の場合、燃料電池1のカソード1cに対するガス供給は次のように制御される。
カソード閉止手段12の第一の入口側および出口側開閉弁12a、12bおよびカソードバイパス開閉手段10のいずれも開栓状態にしておき、ブロア5からカソード供給配管7を介してカソード1cに空気供給を開始する。これによりブロア5から供給される空気の経路として、カソード供給配管7から燃料電池1のカソード1cを経てカソード排出配管8に順次供給される経路Aと、カソード供給配管7からカソードバイパス開閉手段10を通過するようにカソードバイパス配管9に供給される経路Bの2つの経路が形成される。こうして、経路Aを流れる空気によってカソード1cに充填された水素ガスを空気と共にカソード排出配管8に排出させる。そしてこの水素ガスは、カソード排出配管8の途中のカソードバイパス配管9との合流箇所において経路Bを流れる空気と合流して混合され、混合ガス中の可燃ガス濃度を燃焼下限未満に希釈され、最終的に燃料電池発電装置の外部(大気中)に排出される。
ここで、経路Aを流れる空気流量と経路Bを流れる空気流量は以下に述べる流路抵抗によって互いに調整されており、両者の流量は、燃料電池発電装置39の外部へ排出させる混合ガス中に含有する可燃ガスの濃度が燃焼下限濃度以下になるよう設定される。具体的には、水素ガスは、空気との混合割合として約4〜75%の燃焼範囲を有するため、経路Bを流れる単位時間当たりの空気量を、経路Aを流れる単位時間当たりの空気量の25倍の量よりも多くになるように経路Aおよび経路Bの流路抵抗を設定すれば、最終的には排出される混合ガス中の可燃ガス濃度を4%未満にできる。なお、予め経路Aを流れる混合ガスの流路抵抗は予測できるため、例えばカソードバイパス開閉手段10としての開閉弁の口径を調整して経路Bの流路抵抗を制御することで、(経路Bの単位時間当たりの流量)/(経路Aの単位時間当たりの流量)>25に設定することが可能である。
こうして燃料電池1のカソード1cに充填された水素ガスを燃料電池発電装置39の外部へ排出できた後、カソードバイパス開閉手段10を閉栓状態にし、ブロア5の空気を燃料電池1のカソード1cのみに供給させて、燃料電池1のカソード1cに対するガス供給を発電開始可能な状態にする。
なお、本実施の形態では、カソード排出配管8を流れる可燃ガスにカソード供給配管7を流れる空気を混合する手段として、カソードバイパス開閉手段を例に説明しているが、実施の形態2で述べた分流手段を用いても構わない。すなわち図7の一点さ線で囲った部分に示しているように、カソードバイパス配管9の途中のカソードバイパス開閉手段10に代えて、カソードバイパス配管9とカソード供給配管7の接続部17に分流手段16を配置する。この分流手段16によって上流側カソードバイパス配管7uを流れるガスを、下流側カソード供給配管7dに流れるガスとカソードバイパス配管9を流れるガスに分流できる。また、カソード開閉手段12のうちの第一の入口側開閉弁12bを分流手段16で代用する一方、カソード出口閉止手段として第一の出口側開閉弁12aはそのまま残す。これにより、分流手段16によって接続部17の下流側カソード供給配管7dを流れるガス流量と接続部17の下流のカソードバイパス配管9を流れるガス流量の比率が調整される。なお、分流手段16による分流比率の調整は制御装置21によって制御される。
更にまた、実施の形態3、4、5の欄に記載の動作と同様にして燃焼器4または燃焼排気管23を使用して、カソード充填ガス(水素ガス)と空気または燃焼排ガスとの混合および希釈の処理を行っても良い。例えば、図8に図示した各変形例に示すように、カソード排出配管8の途中から分岐して延びるカソード燃焼配管19を燃焼器4の火炎バーナ41に接続させて、このカソード燃焼配管19の途中に燃焼配管開閉弁20を配置させた構成(実施の形態3に相当の構成)、カソード排出配管8の途中から分岐して延びるカソード燃焼排気配管25を燃焼排気管23と接続させて、このカソード燃焼排気配管25の途中に燃焼排気配管開閉弁26を配置させた構成(実施の形態4に相当の構成)またはカソード排出配管8を直接、燃焼排気管23に接続させた構成(実施の形態5に相当の構成)を採用して、カソード1cに充填された水素ガスを燃焼器4または燃焼排気管23において非可燃ガスと混合して希釈させたうえで大気に放出しても構わない。
また一方、燃料電池発電装置39の発電開始(起動)の動作においては、アノード閉止手段30の第二の出口側および入口側の開閉弁30a、30bを共に開栓させた後、水素供給ポンプ28および水素還流ポンプ29の作動を開始させることで準備が整う。
以上のように燃料電池発電装置39の発電開始の場合、ブロア5から供給される非可燃性の酸化剤ガス(例えば、空気)の経路として、カソード供給配管7から燃料電池1を経てカソード排出配管8に順次供給される経路Aおよびカソードバイパス開閉手段10を途中に配置したカソードバイパス配管9に供給される経路Bの2つの経路があって、これらの経路Aおよび経路Bをそれぞれ、所定の流路抵抗に設定して通流させておく。
こうしてカソード1cに充填させた可燃性の水素ガスを、経路Aを流れる空気によって押し出してカソード排出配管8に排出する際、経路Bを流れる空気と排出された水素ガスを混合させる。そして、混合ガス中の可燃ガス濃度を燃焼下限濃度未満に希釈して、この状態で混合ガスを大気に排出できる。これによってカソード1cに充填された可燃ガスを適切に後処理し得る。
なお、燃料電池発電装置39の発電の停止期間中、燃料電池1のカソード1cに水素ガスを充填させた状態で保持できるため、アノード1aに可燃ガス(水素ガス)を封入することと相俟って、燃料電池1のアノード1aの触媒を酸化させる要因を根本から排除できて燃料電池発電装置39のアノード1aの耐久性低下を招くことを未然に防止できる。
更には、カソード閉止手段12の第一の入口側および出口側開閉弁12b、12aを閉止状態にして燃料電池発電装置39の停止保管動作を実行するため、水素カソード供給手段31によって燃料電池1のカソード1cに供給した水素ガスを燃料電池1の内部に確実に封止せしめて、仮に燃料電池1を停止させた状態で長期間保管しても外部から空気が燃料電池1のカソード1cに混入することがなく、燃料電池発電装置39の耐久性低下を防ぎ得る。
なおここまで、燃料電池発電装置39の発電停止の際、実施の形態1(図1)および実施の形態2(図2)並びに実施の形態3(図3)においてはカソード1cに充填する可燃ガスとして原料ガス供給系36からアノード1aに供給される発電原料ガスが流用され、実施の形態4(図5)および実施の形態5(図6)においてはカソード1cに充填される可燃ガスとして燃料生成器2で発電原料ガスから製造された燃料ガス(水素ガス含有率が約80%の水素リッチなガス)が流用され、実施の形態6(図7)においては水素ガス供給手段47からアノード1aに供給される水素ガス(水素ガス含有率が約100%の純水素ガス)が流用されている。
しかし、水素ガスを使用した実施の形態6を除き実施の形態1〜5においては、所定の配管配置の変更によって可燃ガスとして発電原料ガスおよび燃料ガスのうちのいずれも適宜選択することが可能である。もっとも水素ガス濃度を高めた状態で充填して保持させた方が、白金触媒の耐久性の観点から好ましいと考えられている。もちろん反面、水素ガスの燃焼濃度範囲が、他の可燃ガスのそれよりも広くて、水素ガスを大気に排出させる際にはより慎重に取り扱う必要があると言える。
本発明に係る燃料電池発電装置は、燃料電池のアノードの酸化劣化を防止して耐久性の向上が図れると共に、カソードに充填した可燃ガスを適切に処置できて、例えば、家庭用の発電システム等として有用である。
実施の形態1に係る燃料電池発電装置の構成の概要を示すブロック図である。 実施の形態2に係る燃料電池発電装置の構成の概要を示すブロック図である。 実施の形態3に係る燃料電池発電装置の構成の概要を示すブロック図である。 燃焼器およびその周辺構造の模式断面図である。 実施の形態4に係る燃料電池発電装置の構成の概要を示すブロック図である。 実施の形態5に係る燃料電池発電装置の構成の概要を示すブロック図である。 実施の形態6に係る燃料電池発電装置の構成の概要を示すブロック図である。 実施の形態6に係る燃料電池発電装置の構成の変形例を示すブロック図である。 従来の燃料電池発電装置の構成の概要を示すブロック図である。
符号の説明
1 燃料電池
2 燃料処理器
3 水供給手段
4 燃焼器
5 ブロア
6 パージ用空気供給手段
7 カソード供給配管
7u 上流側カソード供給配管
7d 下流側カソード供給配管
8 カソード排出配管
9 カソードバイパス配管
10 カソードバイパス開閉手段
11 原料カソード供給手段
12 カソード閉止手段
12a 第一の出口側開閉弁
12b 第一の入口側開閉弁
13 アノードバイパス配管
14 流路切換手段
15 還流配管開閉手段
16 分流手段
17 接続部
18 燃焼ファン
19 カソード燃焼配管
20 燃焼配管開閉弁
21 制御装置
22 予備原料供給配管
23 燃焼排気管
24 燃料カソード供給手段
25 カソード燃焼排気配管
26 燃焼排気配管開閉弁
27 水素タンク
28 水素供給ポンプ
29 水素還流ポンプ
30 アノード閉止手段
30a 第二の入口側開閉弁
30b 第二の出口側開閉弁
31 水素カソード供給手段
32 原料カソード供給配管
33 原料供給配管
34 アノード供給配管
35 燃料ガス還流配管
36 原料ガス供給手段
37 水素供給配管
38 水素排出配管
39 燃料電池発電装置
40 燃焼筒
41 火炎バーナ
42 フレームロッド
43 熱電対
44 第一の接続ポート
45 第二の接続ポート
46 第三の接続ポート
47 水素ガス供給手段
48 水素カソード供給配管
49 燃料カソード供給配管

Claims (15)

  1. カソードに酸化剤ガスを供給して発電する燃料電池を備え、前記発電の停止後、前記カソードに可燃ガスを充填させ保持し、その後、前記可燃ガスを大気に排出する際、前記可燃ガスを非可燃ガスによって希釈する燃料電池発電装置であって
    前記酸化剤ガスを供給する酸化剤ガス供給手段と、前記酸化剤ガス供給手段から供給される酸化剤ガスを前記カソードに導きかつ前記カソードで消費されなかった酸化剤ガスを大気に放出するよう形成された酸化剤ガス流路と、前記カソードの上流および下流においてそれぞれその開閉により前記酸化剤ガス流路を開閉する第一及び第二の酸化剤ガス流路開閉手段と、前記酸化剤ガス流路の、前記第一の酸化剤ガス流路開閉手段と前記カソードとの間に位置する部分に前記可燃ガスを供給する可燃ガス供給手段と、前記酸化剤ガス流路の前記カソードより下流に位置する部分に該カソードから流出した前記可燃ガスを前記非可燃ガスによって希釈して大気に排出する希釈手段と、制御装置と、を備え、
    前記燃料電池による発電の停止動作時には、前記制御装置は、前記第一の酸化剤ガス流路開閉手段を閉じて前記可燃ガス供給手段から前記酸化剤ガス流路に可燃ガスを供給させることにより前記カソードに可燃ガスを充填させた後、前記第二の酸化剤ガス流路開閉手段を閉じて前記カソードに前記可燃ガスを保持させ、
    前記燃料電池による前記発電の開始動作時には、前記制御装置は、少なくとも前記第一の酸化剤ガス流路開閉手段を開いて前記酸化剤ガス供給手段から前記酸化剤ガス流路を通じて前記カソードに酸化剤ガスを供給させることにより、前記可燃ガスを前記酸化剤ガス流路の前記カソードより下流に位置する部分に流出させ、かつ前記流出した前記可燃ガスを前記希釈手段により希釈して大気に排出させる燃料電池発電装置。
  2. 前記可燃ガスと前記非可燃ガスとの混合ガス中の可燃ガス濃度を燃焼下限濃度未満に希釈してこれを大気に排出する請求項1記載の燃料電池発電装置。
  3. 前記非可燃ガスが前記酸化剤ガスである請求項記載の燃料電池発電装置。
  4. 前記希釈手段として、前記酸化剤ガス流路の前記第一の酸化剤ガス流路開閉手段より上流に位置する部分と前記酸化剤ガス流路の前記第二の酸化剤ガス流路開閉手段より下流に位置する部分とを接続するカソードバイパス流路と、その開閉により前記カソードバイパス流路を開閉するカソードバイパス開閉手段とを備え、
    前記カソードに充填され保持された可燃ガスの排出時には、前記第一、第二の酸化剤ガス開閉手段を開くとともに前記カソードバイパス開閉手段を開き、これによって前記酸化剤ガス流路の前記カソードより下流に位置する部分に流出した前記可燃ガスを、前記カソードバイパス流路を流れる酸化剤ガスと混合しかつ希釈して大気に排出する請求項記載の燃料電池発電装置。
  5. 前記カソードバイパス流路の流路抵抗を調整することで前記カソードバイパス流路を流れる酸化剤ガスの流量を制御する請求項記載の燃料電池発電装置。
  6. 前記カソードバイパス流路の途中に配置された前記カソードバイパス開閉手段としてのカソードバイパス開閉弁の口径を調整することで前記カソードバイパス流路を流れる酸化剤ガスの流量を制御する請求項記載の燃料電池発電装置。
  7. 前記希釈手段として、前記酸化剤ガス流路の前記カソードより上流に位置する部分と前記酸化剤ガス流路の前記第二の酸化剤ガス流路開閉手段より下流に位置する部分とを接続するカソードバイパス流路と、前記上流に位置する部分と前記カソードバイパス流路の接続部に配置され、前記希釈手段および前記第一の酸化剤ガス流路開閉手段として前記酸化剤ガス流路を開閉させると共に、前記酸化剤ガス流路を流れる酸化剤ガス流量に対する前記カソードバイパス流路を流れる酸化剤ガス流量の分流比率を変える分流手段とを備え、
    前記カソードに充填され保持された可燃ガスの排出時には、前記第二の酸化剤ガス流路開閉手段を開くと共に、前記酸化剤ガス流路の前記カソードより下流に位置する部分に流出した可燃ガスを、前記分流手段の分流比率を調整して前記カソードバイパス流路を流れる酸化剤ガスと混合しかつ希釈して大気に排出する請求項記載の燃料電池発電装置。
  8. 前記希釈手段として、燃焼器の火炎バーナに空気を供給する燃焼空気供給手段と、前記酸化剤ガス流路の、前記第二の酸化剤ガス流路開閉手段と前記カソードとの間に位置する部分から延びて前記火炎バーナに接続するカソード燃焼配管と、その開閉により前記カソード燃焼配管を開閉する燃焼配管開閉手段とを備え、
    前記カソードに充填され保持された可燃ガスの排出時には、前記第二の酸化剤ガス流路開閉手段を閉じると共に前記燃焼配管開閉手段を開き、これによって前記カソード燃焼配管を経由して前記火炎バーナに前記可燃ガスを導入させる際、前記可燃ガスを前記燃焼空気供給手段から供給される空気と混合しかつ希釈して大気に排出する請求項記載の燃料電池発電装置。
  9. 前記燃焼器の燃焼の停止期間中に、前記火炎バーナに前記可燃ガスを導入する請求項記載の燃料電池発電装置。
  10. 前記希釈手段として、燃焼器の燃焼によって生成された燃焼排ガスを大気に導く燃焼排気管と、前記酸化剤ガス流路の、前記第二の酸化剤ガス流路開閉手段と前記カソードとの間に位置する部分から延びて前記燃焼排気管に接続するカソード燃焼排気配管と、その開閉により前記カソード燃焼排気配管を開閉する燃焼排気配管開閉手段とを備え、
    前記カソードに充填され保持された可燃ガスの排出時には、前記第二の酸化剤ガス流路開閉手段を閉じると共に前記燃焼排気配管開閉手段を開き、それによって前記カソード燃焼排気配管を経由して前記燃焼排気管に前記可燃ガスを導入させる際、前記可燃ガスを前記燃焼排ガスと混合しかつ希釈して大気に排出する請求項記載の燃料電池発電装置。
  11. 前記希釈手段として、燃焼器の燃焼によって生成された燃焼排ガスを大気に導く燃焼排気管を備え、前記酸化剤ガス流路の、前記第二の酸化剤ガス流路開閉手段の下流に位置する部分と前記燃焼排気管とを接続させた燃料電池発電装置であって、
    前記カソードに充填され保持された可燃ガスの排出時には、前記第二の酸化剤ガス流路開閉手段を開き、それによって前記酸化剤ガス流路を経由して前記燃焼排気管に前記可燃ガスを導入させる際、前記可燃ガスを前記燃焼排ガスと混合しかつ希釈して大気に排出する請求項記載の燃料電池発電装置。
  12. 前記燃焼器の燃焼期間中に、前記燃焼排気管に前記可燃ガスを導入する請求項1または1記載の燃料電池発電装置。
  13. 前記燃焼器によって前記燃料生成器を加熱する請求項乃至1の何れかに記載の燃料電池発電装置。
  14. 発電原料ガスから燃料ガスを生成する燃料生成器を備え、前記発電のために前記燃料生成器から前記燃料ガスを前記燃料電池のアノードに供給し、前記可燃ガスが前記発電原料ガスおよび前記燃料ガスの何れか一方である請求項1乃至1の何れかに記載の燃料電池発電装置。
  15. 水素ガスを供給する水素ガス供給手段を備え、前記発電のために前記水素ガス供給手段から前記水素ガスを前記燃料電池のアノードに供給し、前記可燃ガスが前記水素ガスである請求項1乃至1の何れかに記載の燃料電池発電装置。
JP2003414301A 2003-12-12 2003-12-12 燃料電池発電装置 Expired - Fee Related JP4354792B2 (ja)

Priority Applications (5)

Application Number Priority Date Filing Date Title
JP2003414301A JP4354792B2 (ja) 2003-12-12 2003-12-12 燃料電池発電装置
EP04029352A EP1542303B1 (en) 2003-12-12 2004-12-09 Fuel cell system
US11/010,125 US20050129990A1 (en) 2003-12-12 2004-12-10 Fuel cell system
CNB2004101019957A CN100444441C (zh) 2003-12-12 2004-12-13 燃料电池发电装置
US12/502,263 US8530104B2 (en) 2003-12-12 2009-07-14 Method of operating a fuel cell system

Applications Claiming Priority (1)

Application Number Priority Date Filing Date Title
JP2003414301A JP4354792B2 (ja) 2003-12-12 2003-12-12 燃料電池発電装置

Publications (2)

Publication Number Publication Date
JP2005174782A JP2005174782A (ja) 2005-06-30
JP4354792B2 true JP4354792B2 (ja) 2009-10-28

Family

ID=34510557

Family Applications (1)

Application Number Title Priority Date Filing Date
JP2003414301A Expired - Fee Related JP4354792B2 (ja) 2003-12-12 2003-12-12 燃料電池発電装置

Country Status (4)

Country Link
US (2) US20050129990A1 (ja)
EP (1) EP1542303B1 (ja)
JP (1) JP4354792B2 (ja)
CN (1) CN100444441C (ja)

Families Citing this family (23)

* Cited by examiner, † Cited by third party
Publication number Priority date Publication date Assignee Title
JP4354792B2 (ja) * 2003-12-12 2009-10-28 パナソニック株式会社 燃料電池発電装置
CN100524925C (zh) 2004-11-08 2009-08-05 松下电器产业株式会社 燃料电池系统
US8597848B2 (en) * 2005-10-21 2013-12-03 Toyota Jidosha Kabushiki Kaisha Fuel cell system, estimation device of amount of anode gas to be generated and estimation method of amount of anode gas to be generated
JP5044969B2 (ja) * 2006-04-07 2012-10-10 トヨタ自動車株式会社 燃料電池運転システム及び燃料電池運転システムにおける弁の凍結防止方法
CN101632196B (zh) * 2007-03-14 2012-07-18 松下电器产业株式会社 燃料电池系统以及燃料电池系统的运转方法
US7955744B2 (en) * 2007-06-14 2011-06-07 GM Global Technology Operations LLC Method for fuel cell start-up with uniform hydrogen flow
US20090246566A1 (en) * 2008-04-01 2009-10-01 Craft Jr Thomas F Fuel cell cabinet heat management and thermal control system
KR101181839B1 (ko) * 2010-06-29 2012-09-11 삼성에스디아이 주식회사 연료 전지 시스템 및 그 구동 방법
US9553322B2 (en) * 2011-03-30 2017-01-24 Panasonic Intellectual Property Management Co., Ltd. Fuel cell system and operation method thereof
WO2012140741A1 (ja) * 2011-04-12 2012-10-18 株式会社Eneosセルテック 燃料電池システムおよびその停止方法
JP5783974B2 (ja) * 2012-08-28 2015-09-24 本田技研工業株式会社 燃料電池システムの起動方法および燃料電池システム
EP2969934B1 (en) * 2013-03-15 2019-02-27 ExxonMobil Research and Engineering Company Integration of molten carbonate fuel cells with fermentation processes
CA2902861A1 (en) * 2013-03-15 2014-09-25 Exxonmobil Research And Engineering Company Integrated power generation using molten carbonate fuel cells
CA2920288A1 (en) * 2013-09-30 2015-04-02 Exxonmobil Research And Engineering Company Cathode combustion for enhanced fuel cell syngas production
JP6349710B2 (ja) * 2013-12-12 2018-07-04 株式会社デンソー 燃料電池システム
DE102014205031A1 (de) * 2014-03-18 2015-09-24 Volkswagen Ag Brennstoffzellenvorrichtung mit Spülgaspfad
GB2533270B (en) 2014-12-03 2021-07-14 Intelligent Energy Ltd Control Valve
DE102015223039A1 (de) * 2015-11-23 2017-05-24 Robert Bosch Gmbh Brennstoffzelle
EP3852177B1 (en) * 2018-09-12 2022-04-20 Nissan Motor Co., Ltd. Fuel cell system
FR3087136B1 (fr) * 2018-10-12 2021-12-31 Suez Groupe Procede et dispositif de gestion d'un dispositif de traitement de gaz vicie
CN109950577B (zh) * 2019-03-18 2020-12-11 东莞众创新能源科技有限公司 供氧系统的计算方法及应用方法
FR3123511B1 (fr) * 2021-05-28 2024-02-09 Symbio Pile a combustible et procede de purge
DE102022128711A1 (de) * 2022-10-28 2024-05-08 MTU Aero Engines AG Flugzeug-Brennstoffzellen-Antrieb

Family Cites Families (45)

* Cited by examiner, † Cited by third party
Publication number Priority date Publication date Assignee Title
US3539395A (en) * 1966-02-25 1970-11-10 Gen Electric System and process for the indirect electrochemical combination of air and a reformable fuel
JPS54144936A (en) 1978-05-04 1979-11-12 Fuji Electric Co Ltd Method of resting fuel battery
JPS61233976A (ja) * 1985-04-10 1986-10-18 Fuji Electric Co Ltd 燃料電池設備
JPS62190660A (ja) * 1986-02-17 1987-08-20 Mitsubishi Electric Corp 燃料電池発電プラントの休止方法
JPS63259971A (ja) 1987-04-17 1988-10-27 Fuji Electric Co Ltd 燃料電池設備
JPS63259972A (ja) 1987-04-17 1988-10-27 Fuji Electric Co Ltd 燃料電池設備
US4743517A (en) * 1987-08-27 1988-05-10 International Fuel Cells Corporation Fuel cell power plant with increased reactant pressures
CA1312648C (en) * 1988-12-22 1993-01-12 Richard F. Buswell Fuel cell power plant
JPH03400A (ja) 1989-05-26 1991-01-07 Ishikawajima Harima Heavy Ind Co Ltd 安全弁の保護装置
JPH05307970A (ja) * 1992-04-30 1993-11-19 Aqueous Res:Kk 液体燃料電池
JPH06140065A (ja) * 1992-09-08 1994-05-20 Toshiba Corp 燃料電池発電システム
JP3192517B2 (ja) 1993-03-17 2001-07-30 東京瓦斯株式会社 燃料電池発電装置
JPH0729589A (ja) * 1993-07-09 1995-01-31 Ishikawajima Harima Heavy Ind Co Ltd 燃料電池発電装置におけるプレート型改質器の差圧制御方法
JPH09298065A (ja) 1996-05-01 1997-11-18 Nippon Telegr & Teleph Corp <Ntt> 燃料電池発電装置
JPH09306522A (ja) 1996-05-08 1997-11-28 Kansai Electric Power Co Inc:The 燃料電池発電装置用窒素製造設備
US6007931A (en) 1998-06-24 1999-12-28 International Fuel Cells Corporation Mass and heat recovery system for a fuel cell power plant
EP0985635B1 (en) * 1998-09-09 2005-04-13 Matsushita Electric Industrial Co., Ltd. Hydrogen generating apparatus
AU763965B2 (en) * 1998-09-14 2003-08-07 Air Products And Chemicals, Inc. Electrical current generation system
US6124054A (en) * 1998-12-23 2000-09-26 International Fuel Cells, Llc Purged anode low effluent fuel cell
US6331366B1 (en) * 1999-06-23 2001-12-18 International Fuel Cells Llc Operating system for a fuel cell power plant
WO2001047801A1 (en) 1999-12-28 2001-07-05 Daikin Industries, Ltd. Modifying device
JP2001189165A (ja) 2000-01-05 2001-07-10 Daikin Ind Ltd 燃料電池システム、該燃料電池システムの停止方法及び立ち上げ方法
CN1255892C (zh) * 2000-06-14 2006-05-10 松下电器产业株式会社 燃料电池发电系统和停止燃料电池发电的方法
US6368737B1 (en) * 2000-07-13 2002-04-09 Utc Fuel Cells, Llc Subambient pressure coolant loop for a fuel cell power plant
US6521204B1 (en) 2000-07-27 2003-02-18 General Motors Corporation Method for operating a combination partial oxidation and steam reforming fuel processor
JP4632501B2 (ja) 2000-09-11 2011-02-16 大阪瓦斯株式会社 燃料電池の停止保管方法
JP2002124278A (ja) 2000-10-17 2002-04-26 Honda Motor Co Ltd 燃料電池システム
JP3975672B2 (ja) 2000-11-17 2007-09-12 松下電器産業株式会社 燃料電池発電装置
US6821658B2 (en) * 2001-03-02 2004-11-23 Mti Microfuel Cells Inc. Cold start and temperature control method and apparatus for fuel cell system
DE10115336B4 (de) * 2001-03-28 2012-09-27 General Motors Corporation - Intellectual Property Group Legal Staff Brennstoffzellensystem sowie Verfahren zum Betrieb eines Brennstoffzellensystems
EP1296402A1 (en) * 2001-09-25 2003-03-26 Ballard Power Systems AG Fuel cell system and method for operating the same
EP1298751A3 (en) * 2001-09-27 2006-04-26 Matsushita Electric Industrial Co., Ltd. Polymer electrolyte fuel cell and production method thereof
JP3904191B2 (ja) * 2001-10-23 2007-04-11 本田技研工業株式会社 排出燃料希釈器および排出燃料希釈式燃料電池システム
JP2003282114A (ja) 2002-03-26 2003-10-03 Fuji Electric Co Ltd 燃料電池発電装置の停止方法
US7018732B2 (en) * 2002-04-15 2006-03-28 Hydrogenics Corporation System and method for management of gas and water in fuel cell system
US6896982B2 (en) * 2002-05-30 2005-05-24 Ballard Power Systems Inc. Conditioning method for fuel cells
US6835479B2 (en) 2002-06-26 2004-12-28 Utc Fuel Cells, Llc System and method for shutting down a fuel cell power plant
JP2004067407A (ja) 2002-08-02 2004-03-04 Nissan Motor Co Ltd 改質反応器
JP2004172049A (ja) 2002-11-22 2004-06-17 Honda Motor Co Ltd 発電システムと燃料電池の運転方法
JP2004172027A (ja) 2002-11-22 2004-06-17 Toyota Motor Corp 燃料電池システム
US6838199B2 (en) * 2002-12-26 2005-01-04 Utc Fuel Cells, Llc Start up system and method for a fuel cell power plant using a cathode electrode fuel purge
US6984464B2 (en) * 2003-08-06 2006-01-10 Utc Fuel Cells, Llc Hydrogen passivation shut down system for a fuel cell power plant
JP4613482B2 (ja) 2003-08-28 2011-01-19 パナソニック株式会社 燃料電池発電装置とその運転方法
JP2005093115A (ja) 2003-09-12 2005-04-07 Matsushita Electric Ind Co Ltd 燃料電池発電装置とその運転方法
JP4354792B2 (ja) 2003-12-12 2009-10-28 パナソニック株式会社 燃料電池発電装置

Also Published As

Publication number Publication date
CN1627552A (zh) 2005-06-15
EP1542303B1 (en) 2012-02-08
US20050129990A1 (en) 2005-06-16
EP1542303A2 (en) 2005-06-15
JP2005174782A (ja) 2005-06-30
US8530104B2 (en) 2013-09-10
EP1542303A3 (en) 2009-03-04
CN100444441C (zh) 2008-12-17
US20090291339A1 (en) 2009-11-26

Similar Documents

Publication Publication Date Title
JP4354792B2 (ja) 燃料電池発電装置
US8728675B2 (en) Fuel cell system
JP4028787B2 (ja) 燃料電池発電システムおよびその運転方法
US8486572B2 (en) System and method of fuel cell power generation
JP4884773B2 (ja) 燃料電池発電システム
KR20030025209A (ko) 연료전지 발전 시스템 및 연료전지 발전 시스템의 제어방법
WO2005057705A1 (ja) 燃料電池システムの運転方法及び燃料電池システム
JP2003217632A (ja) 燃料電池発電システム
JP5340933B2 (ja) 水素生成装置、これを備えた燃料電池発電システム、および水素生成装置の停止方法
JP5065678B2 (ja) 燃料電池システム及びその運転方法
JP5480684B2 (ja) 水素含有ガス生成装置の起動時運転方法
JPH08180895A (ja) 燃料電池発電装置
JP2007200609A (ja) 燃料電池システム
US20060057444A1 (en) Fuel processing apparatus and method and fuel cell power generation system
JP4442163B2 (ja) 燃料電池システム
JP4713547B2 (ja) 燃料電池発電システムおよびその運転方法
JP2014116069A (ja) 燃料電池システム
US20130122384A1 (en) Hydrogen generator, method of operation thereof and fuel cell system
JP2007051063A (ja) 改質装置及びその運転方法
JP2005332834A (ja) 燃料電池発電システムおよび燃料電池発電システムの制御方法
JP2006079928A (ja) 燃料電池システムおよびその運転停止方法
JP2008100912A (ja) 改質装置及びその運転方法

Legal Events

Date Code Title Description
A621 Written request for application examination

Free format text: JAPANESE INTERMEDIATE CODE: A621

Effective date: 20060724

A977 Report on retrieval

Free format text: JAPANESE INTERMEDIATE CODE: A971007

Effective date: 20090323

A131 Notification of reasons for refusal

Free format text: JAPANESE INTERMEDIATE CODE: A131

Effective date: 20090421

A521 Request for written amendment filed

Free format text: JAPANESE INTERMEDIATE CODE: A523

Effective date: 20090609

TRDD Decision of grant or rejection written
A01 Written decision to grant a patent or to grant a registration (utility model)

Free format text: JAPANESE INTERMEDIATE CODE: A01

Effective date: 20090707

A01 Written decision to grant a patent or to grant a registration (utility model)

Free format text: JAPANESE INTERMEDIATE CODE: A01

A61 First payment of annual fees (during grant procedure)

Free format text: JAPANESE INTERMEDIATE CODE: A61

Effective date: 20090730

R150 Certificate of patent or registration of utility model

Free format text: JAPANESE INTERMEDIATE CODE: R150

FPAY Renewal fee payment (event date is renewal date of database)

Free format text: PAYMENT UNTIL: 20120807

Year of fee payment: 3

FPAY Renewal fee payment (event date is renewal date of database)

Free format text: PAYMENT UNTIL: 20130807

Year of fee payment: 4

LAPS Cancellation because of no payment of annual fees