JP4303840B2 - 乗客コンベヤ装置 - Google Patents

乗客コンベヤ装置 Download PDF

Info

Publication number
JP4303840B2
JP4303840B2 JP20361399A JP20361399A JP4303840B2 JP 4303840 B2 JP4303840 B2 JP 4303840B2 JP 20361399 A JP20361399 A JP 20361399A JP 20361399 A JP20361399 A JP 20361399A JP 4303840 B2 JP4303840 B2 JP 4303840B2
Authority
JP
Japan
Prior art keywords
roller
guide rail
passenger conveyor
auxiliary
roller support
Prior art date
Legal status (The legal status is an assumption and is not a legal conclusion. Google has not performed a legal analysis and makes no representation as to the accuracy of the status listed.)
Expired - Fee Related
Application number
JP20361399A
Other languages
English (en)
Other versions
JP2001031355A (ja
Inventor
村 佳 男 荻
井 正 昭 平
Current Assignee (The listed assignees may be inaccurate. Google has not performed a legal analysis and makes no representation or warranty as to the accuracy of the list.)
Toshiba Elevator and Building Systems Corp
Original Assignee
Toshiba Elevator Co Ltd
Priority date (The priority date is an assumption and is not a legal conclusion. Google has not performed a legal analysis and makes no representation as to the accuracy of the date listed.)
Filing date
Publication date
Application filed by Toshiba Elevator Co Ltd filed Critical Toshiba Elevator Co Ltd
Priority to JP20361399A priority Critical patent/JP4303840B2/ja
Publication of JP2001031355A publication Critical patent/JP2001031355A/ja
Application granted granted Critical
Publication of JP4303840B2 publication Critical patent/JP4303840B2/ja
Anticipated expiration legal-status Critical
Expired - Fee Related legal-status Critical Current

Links

Images

Landscapes

  • Escalators And Moving Walkways (AREA)

Description

【0001】
【発明の属する技術分野】
本発明は、無端状に連結された複数の踏段(本明細書では、いわゆるパレットも含む広義の意味で用いる)によって輸送を行う乗客コンベヤ装置に係り、とりわけ、建物の床面下に収納される主枠部分の深さ寸法が低減された乗客コンベヤ装置に関する。
【0002】
【従来の技術】
近年、高齢化社会の到来を背景に、様々な施設において、エスカレータ(上下階間に設置され、踏段相互が段差を有する乗客コンベヤ装置)や動く歩道(パレットが連続して略平面を構成する乗客コンベヤ装置)の設置が検討されている。
【0003】
特に、鉄道の駅舎などの公共交通機関では、不特定の人の利用が前提となっているため、このような乗客コンベヤ装置の設置がより急ピッチで進められている。多くの駅舎の場合、建物構造の機能的関係上、車輌と人の動線が交差した状況での輸送が必要なため、主としてエスカレータの設置が進められている。
【0004】
図11は、従来構造のエスカレータの側面図である。
【0005】
エスカレータ51は、主枠52を備えている。主枠52は、上部主枠52a、下部主枠52b及び中間部主枠52cを有しており、両端に支持金具53a,53bが設けられて、建物54に懸架されている。
【0006】
図11において、Aは上部主枠52aの深さ寸法を示し,Bは下部主枠52bの深さ寸法を示し、Cは中間部主枠52cの深さ寸法を示している。
【0007】
一般に、既存の駅舎等にエスカレータ51を設置する場合には、人の動線に既に階段55が設置されており、階段55とは別の場所にエスカレータ51を設置するスペースが取れなかったりスペースはあっても人の動線になり難いなどの理由から、既存の階段55及びプラットホーム57あるいはコンコースなどの一部を解体あるいは改造して、階段55に併設する態様でエスカレータ51を設けることが多い。
【0008】
さらに、既存の階段55が設けられている部分には、上方に屋根56が設けられているケースが多い。エスカレータ51を設置する場合、屋根56に対する所定のクリアランスKを確保する必要があるため、既存の階段55およびプラットホーム57に前記主枠52を収納するための開口部を穿設して、その開口部に主枠52部分を落とし込む形で設置するのが通例である。図11のハッチング部分が、撤去部分(開口部穿設工事部分)である。
【0009】
前述の上部主枠52a及び下部主枠52bの深さ寸法A及びBは、主に踏段やパレットの折返し機構の収納スペースの深さに依存している。図12は、上部主枠52aの側断面図である。図12を用いて、従来の上部主枠52aの構造について詳細に説明する。
【0010】
図12に示すように、踏段60は、踏段鎖61によって相互に連結される共に、牽引駆動されるようになっている。また、踏段60は、第1ガイドローラ62及び第2ガイドローラ63を有しており、これらのガイドローラ62、63は、第1ガイドレール65及び第2ガイドレール66によって、それぞれ案内されている。
【0011】
踏段60の両側部には、踏段鎖61が巻き掛けられて踏段60を反転させる踏段スプロケット64が配置されている。左右一対の踏段スプロケット64は、踏段スプロケット軸64aによって連結されている。
【0012】
踏段60は、踏段スプロケット64によって反転する運動を行うが、反転運動の際に、隣接する踏段60が互いに近づく動きをする。踏段60の衝突を回避するためには、図12にDとして示す所定のクリアランスを確保する必要があり、そのために踏段スプロケット64の回転半径を所定寸法以下にすることができない。このことが、上部主枠52aの深さ寸法Aの決定因子となっている。
【0013】
また、踏段60の第2ガイドローラ63は、踏段の蹴上げ部のさらに下方に配置されている。このため、踏段60の高さ寸法は、少なくとも蹴上げの高さと第2ガイドローラ63の直径の合計以上となっている。
【0014】
さらに第2ガイドローラ63は、第2ガイドレール66に案内されて踏段スプロケット軸64aの廻りを回動するため、上面側(往路)と下面側(復路)との間には少なくとも第2ガイドレール66の厚みと踏段スプロケット軸64aの直径の合計以上の寸法が必要である。
【0015】
一方、下部主枠52bについては、概ね上部主枠52aと同じ構造となっており、下部主枠52bの深さ寸法Bは、上部主枠52aの深さ寸法Aと略同様に決定されている。
【0016】
また、中間部主枠52cの深さ寸法Cは、図13に示すように、主に往復案内機構の構造体の収納スペースの深さに依存している。図13は、中間部主枠52cの側断面図である。より詳細に説明すれば、中間部主枠52cの深さ寸法Cは、踏段60の蹴上げ寸法、第2ガイドローラ63の直径、中間部主枠52cの左右に渡された梁部材67の寸法などによって決定されている。
【0017】
【発明が解決しようとする課題】
前述のように、旧来より営業している既存の駅舎等に新たにエスカレータ51を設置する場合、建造物の一部の大幅な改造や、資材搬入のための一時的な解体などのために、莫大な費用と工期とが必要である。
【0018】
特に、階段55にエスカレータ51を併設する場合、階段55およびプラットホーム57などの床面部分に、エスカレータ51の主枠52を落とし込むための大きな開口部を穿設する工事が必要であるが、このことが建物側の工事負担を非常に大きくしている。
【0019】
また、階段55の下部に強度部材などが存在する場合は、その強度部材を除去すると共に他の強度部材を新たに設ける改造が必要となり、費用の増大につながるケースが多い。さらに、これらの建物側の改造工事の大規模化は、工事期間の長期化を招くこととなり、営業中の駅舎等では、工事範囲の囲いや養生等の安全対策等の拡大、利用客に対して不便を強いる期間の拡大など、業務上の損失が大きくなるという問題もある。
【0020】
本件発明者は、本発明に先立って、主枠の深さ寸法を小さくするため、第2ガイドローラ63を踏段の側部下方寄りに設けることを試みた。このような構成を図14に示す。
【0021】
図14に示すように、この構成によれば、踏段全体の上下方向寸法は小さくなる。しかしながらこの構成では、踏段の折返し部分において以下のような問題が生じる。
【0022】
すなわち、図14に示すように、踏段60が時計回り方向に進行している場合を考える。この場合、図中60aで示す折返し中の踏段の第1ガイドローラ62aは、踏段スプロケット64と係合した状態で図中Fで示す力を受けて時計回りの移動を継続しようとする。
【0023】
一方、当該踏段60aの第2ガイドローラ63aは、折返し領域に到達する前に第2ガイドレール66に沿ってもうしばらく右方向に進行する必要があり、右方向への移動力fが必要である。
【0024】
ところが、第2ガイドローラ63aは、第1ガイドローラ62aが受ける移動力によって従属的に移動するのみである。従って、図中Fで示す移動力から右方向の移動力fは得られないため、結局、踏段60aはこの位置の近傍で停止してしまう(つっかえてしまう)。
【0025】
本発明は、このような点を考慮してなされたものであり、主枠の深さ寸法を小さくして、設置時の建物側の工事負担を低減することが可能な乗客コンベヤ装置を提供することを目的とする。
【0026】
【課題を解決するための手段】
本発明は、無端状に連結され往路と復路とを循環移動する複数の踏段と、前記踏段の前位側に設けられた前位側ローラ支持部と、前記前位側ローラ支持部に軸支された前位側ローラと、前記踏段の後位側に設けられた後位側ローラ支持部と、前記後位側ローラ支持部に軸支された後位側ローラと、前記踏段の前記往路と前記復路との間の折返し区間に設けられ、前記踏段の姿勢を反転させて前記踏段の移動方向を変化させる踏段折返し機構と、前記踏段の折返し区間において、前記後位側ローラ支持部及び前記後位側ローラを拘束しないで前記踏段の姿勢を制御する踏段姿勢制御機構を備えており、前記踏段姿勢制御機構は、前記踏段の側部に設けられた補助ローラ支持部と、前記補助ローラ支持部に軸支された補助ローラと、前記折返し区間に設けられ、前記補助ローラを案内する補助ガイドレールと、を有していることを特徴とする乗客コンベヤ装置である。
【0027】
本発明によれば、踏段の後位側ローラ支持部及び後位側ローラを拘束しない一方で、踏段姿勢制御機構が踏段の姿勢を制御することにより、後位側ローラ支持部及び後位側ローラを最適な軌道に導くことが可能で、結果的に踏段折返し機構の深さを低減することができる。
【0030】
【発明の実施の形態】
以下、図面を参照して本発明の実施の形態について説明する。
【0031】
図1は、本発明の第1の実施の形態による乗客コンベヤ装置の上部主枠部分を示す側断面図であり、図2は、図1のX−X線断面図であり、図3は、図1のY−Y線断面図であり、図4は、図1のZ−Z線断面図である。
【0032】
図1乃至図4に示すように、本発明の第1の実施の形態の乗客コンベヤ装置1は、無端状に連結され往路と復路とを循環移動する複数の踏段10を備えている。踏段10の最下部の左右には、支持板40が取付けられている。
【0033】
支持板40には、踏段10の前位側の位置に前位側ローラ支持部42が設けられ、踏段10の後位側の位置に後位側ローラ支持部43が設けられている。前位側ローラ支持部42には、前位側ローラ12が回転可能に軸支されており、後位側ローラ支持部43には、後位側ローラ13が回転可能に軸支されている。後位側ローラ13は、支持板40の近傍に設けられているが、前位側ローラ12は、支持板40から離れた位置に設けられ、前位側ローラ12と後位側ローラ13とは段差配置になっている。また、前位側ローラ支持部42は、前位側ローラ12の内側部分において、踏段鎖11を構成する2枚のリンクプレート11a、11bを回動可能に貫通している。
【0034】
また、図1乃至図4に示すように、踏段10の往路には、前位側ローラ12をガイドする前位側ローラ往路ガイドレール15aと、後位側ローラ13をガイドする後位側ローラ往路ガイドレール16aとが設けられており、踏段10の復路には、前位側ローラ12をガイドする前位側ローラ復路ガイドレール15bと、後位側ローラ13をガイドする後位側ローラ復路ガイドレール16bとが設けられている。
【0035】
前位側ローラ往路ガイドレール15aと後位側ローラ往路ガイドレール16aは、前位側ローラ12及び後位側ローラ13に対応して、踏段10の循環軌道の左右両側に配置されている。また、前位側ローラ復路ガイドレール15bと後位側ローラ復路ガイドレール16bも、前位側ローラ12及び後位側ローラ13に対応して、踏段10の循環軌道の左右両側に配置されている。
【0036】
踏段10の往路と復路との間の折返し区間には、前位側ローラ支持部42をガイドして(前位側ローラ12自体をガイドする態様でもよい)踏段10の姿勢を反転させて踏段10の移動方向を変化させる踏段折返し機構8が設けられている。
【0037】
具体的には、踏段折返し機構8は、図1及び図4に示すように、ピッチ円上に前位側ローラ支持部42を支持した状態で回動する回動ホイール14を有している。本実施の形態の回動ホイール14は、円盤状であって、その外周上に、踏段鎖を構成する2枚のリンクプレート11a、11bの間の部分の前位側ローラ支持部42を嵌合できる係合溝14aが加工されている。回動ホイール14の具体的な態様は、踏段鎖を直接駆動するスプロケット状であっても、または踏段鎖の連結軸を駆動する歯付きホイール状であってもよい。
【0038】
回動ホイール14のピッチ円周は、それぞれ、折返し動作(反転動作)をする踏段10の前位側ローラ支持部42のピッチ(前位側ローラ12のピッチと同じ)の整数倍となっている。これにより、踏段スプロケット14の回動によって踏段鎖11が複数の踏段10(踏段列)を牽引して、踏段10を循環移動させるようになっている。
【0039】
回動ホイール14は、前位側ローラ支持部42に対応して、踏段10の循環軌道の左右両側に配置されている。
【0040】
図5は、本実施の形態による乗客コンベヤ装置1の駆動機構30を示す概略斜視図である。図5に示すように、回動ホイール14が、駆動機構30に接続されている。駆動機構30は、原動機36と、原動機36に接続された減速装置37と、減速装置37の出力軸に設けられた駆動平歯車35と、駆動平歯車35に伝達平歯車34、34’を介して設けられた平歯車33、33’と、を有している。平歯車33、33’は、それぞれの回動ホイール14に同軸に設けられ、各平歯車33、33’と係合する伝達平歯車34、34’は、連結軸34aによって連結されている。従って、各平歯車34、34’は同時に回転するので、これらと噛み合っている各平歯車33、33’も同期回転する。
【0041】
また、踏段10の折返し区間においては、従来のように第2ガイドローラを案内する半円状の第2ガイドレール(反転レール)を設けておらず、従って、後位側ローラ支持部43及び後位側ローラ13は踏段10の折返し動作中に拘束されないようになっている。後位側ローラ支持部43及び後位側ローラ13が拘束されないことによって、踏段10は自重によって回動ホイール14の係合溝14aと係合する前位側ローラ支持部を中心として回転モーメントが生じ傾こうとするが、この踏段10の傾きは踏段姿勢制御機構によって制御される。
【0042】
本実施の形態の踏段姿勢制御機構は、踏段10の側部に設けられた補助ローラ支持部20aと、補助ローラ支持部20aに軸支された補助ローラ20と、折返し区間に設けられ、補助ローラ20を案内する補助ガイドレール21とからなっている。補助ガイドレール21は、断面コ字状の略半円状軌道のレールで構成され、図3及び図4に示すように、補助ローラ20の上面側と下面側の両方で補助ローラ20を案内するようになっている。
【0043】
補助ローラ支持部20aは、前位側ローラ支持部42及び後位側ローラ支持部43と同様に、支持板40に取付けられている。図1乃至図4に示すように、前位側ローラ12、後位側ローラ13及び補助ローラ20の配置関係は、踏段10の上面から近い順に、前位側ローラ12、補助ローラ20、後位側ローラ13となっている。
【0044】
また、本実施の形態では、踏段10の往路の折返し区間側端部(図1のLで示す部分)に、補助ローラ20をガイドする補助ローラ往路遷移ガイドレール22aが設けられ、踏段10の復路の折返し区間側端部に、同様に補助ローラ20をガイドする補助ローラ復路遷移ガイドレール22bが設けられている。補助ローラ往路遷移ガイドレール22a及び補助ローラ復路遷移ガイドレール22bの長さは、略50mm程度である。この場合、補助ローラ往路遷移ガイドレール22aと補助ガイドレール21と補助ローラ復路遷移ガイドレール22bとは、連続に一体に構成され、両端に面取り部23が形成されている。面取り部23は、補助ローラ20の進入及び離脱の際に、振動や騒音を抑制する効果がある。
【0045】
その他、前位側ローラ往路ガイドレール15a、前位側ローラ復路ガイドレール15b、後位側ローラ往路ガイドレール16a及び後位側ローラ復路ガイドレール16bの各々の両端にも、振動や騒音の抑制のために、面取り部が形成されている。
【0046】
次に、このような構成よりなる本実施の形態の作用について説明する。
【0047】
循環移動する踏段10は、前位側ローラ12及び後位側ローラ13がガイドされることによって、1循環で1回転するような態様で循環する。すなわち、往路では、前位側ローラ往路ガイドレール15aと後位側ローラ往路ガイドレール16aとによって各ローラ12、13がガイドされ、復路では、前位側ローラ復路ガイドレール15bと後位側ローラ復路ガイドレール16bとによって各ローラ12、13がガイドされ、踏段折返し部分では、踏段折返し機構8によって、前位側ローラ支持部42(前位側ローラ12)が駆動される。
【0048】
ここで、踏段折返し部分について詳述する。踏段折返し機構8は、駆動機構30の原動機36の回転力が平歯車33、33’に伝達され、平歯車33、33’が回転することにより回動ホイール14が回転し、回動ホイール14の係合溝14aに保持される前位側ローラ支持部42が、回動ホイール14の回転に伴って回転する。
【0049】
この踏段10の折返し動作において、後位側ローラ支持部43及び後位側ローラ13には拘束されないが、踏段スプロケット14の係合溝14aと係合する前位側ローラ支持部42と、補助ローラ20及び補助ガイドレール21とによってその姿勢が制御される。すなわち、補助ローラ20が補助ガイドレール21に案内されることで、踏段10の姿勢が決定される。
【0050】
補助ローラ20が補助ガイドレール21に案内されることによって、踏段10は最適な姿勢を保持して反転する。具体的には、後位側ローラ13を、後位側ローラ往路ガイドレール16aの水平軌道から一旦上方位置に移動させてから略弧状に移動するような、非半円状の移動軌跡を描くように踏段10の姿勢を制御させ得ることによって、踏段折返し機構8の深さ寸法を従来と比べて小さくしても、階段10の円滑な折返し動作を実現させることができる。
【0051】
この場合、図1に示すように、前位側ローラ支持部42が受ける移動力Fの分力が、常に補助ローラ支持部20aの補助ガイドレール21に沿う方向の移動力fとなり、しかも後位側ローラ13に拘束されないので、踏段10が踏段折返し部分で停止してしまうことはない。
【0052】
踏段鎖11は、回動ホイール14の回動力を他の踏段10に伝達し、結果として全体の踏段列が牽引される。これにより、踏段10は循環移動する。
【0053】
なお、補助ガイドレール21には、補助ローラ往路遷移ガイドレール22aと補助ローラ復路遷移ガイドレール22bが一体に設けられ、端部には面取り部23が形成されているため、補助ローラ20の進入及び離脱の際の振動及び騒音の発生が効果的に抑制される。
【0054】
以上のように、本実施の形態によれば、踏段10の折返し区間において後位側ローラ支持部43及び後位側ローラ13を拘束しない一方で、補助ローラ20と補助ガイドレール21とが踏段10の姿勢を制御することにより、踏段10を最適な軌道に導くことができる。従って、結果的に踏段折返し機構8の深さを低減することができる。
【0055】
また、本実施の形態では、各回動ホイール14を踏段10の循環軌道の左右両側部に配置し、左右の回動ホイール14を独立に同期駆動させているので、左右の回動ホイール14自体を軸で接続する必要が無く、その分だけ踏段折返し機構8の深さの増大を抑制することができる。
【0056】
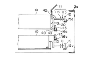
具体的には、既存の駅舎などに本実施の形態の乗客コンベヤ装置1を設置する場合、例えば図6に示すように、屋根6に対する所定のクリアランスKを確保しても、主枠2の深さ、具体的には上部主枠2aの深さ寸法A、下部主枠2bの深さ寸法及び中間部主枠2cの深さ寸法Cが小さいため、主枠2の下方寄りの寸法Yの部分のみ階段5及びプラットホーム7に開口部を設ける工事を行えば良く、建物4側の工事の負担を大幅に軽減でき、また、工事期間の短縮が可能となるため、利用者にかける不便も低減できる。なお、図6において、3a、3bは主枠2を建物4に懸架する支持金具である。
【0057】
なお、本実施の形態では、補助ローラ20を後位側ローラ13の直上に配置しているが、その配置位置は、踏段10の上面から近い順に、前位側ローラ12、補助ローラ20、後位側ローラ13となっていればよく、例えば後位側ローラ13の斜め上方であってもよい。具体的な配置位置は、踏段10の形状、寸法等を考慮して、適宜に決定される。
【0058】
また、回動ホイール14に駆動力を伝達する駆動機構30は、歯車系による構成の他、鎖及び鎖歯車を用いた機構によって構成されてもよい。
【0059】
次に、本発明の第2の実施の形態の乗客コンベヤ装置について図7乃至図9を用いて説明する。図7は、本実施の形態による乗客コンベヤ装置の上部主枠部分を示す側断面図であり、図8は、図7のP−P線断面図であり、図9は、図7の前位側ローラ支持部と係合溝との係合部分を示す図である。
【0060】
図7乃至図9に示すように、本実施の形態の乗客コンベヤ装置は、踏段鎖11の左右のリンクプレート11a、11bが、前位側ローラ12に対して踏段側(内側)に設けられる代わりに、前位側ローラ12の両側に前位側ローラ12を挟むようにして設けられている。回動ホイール24の係合溝24aは、踏段鎖11の踏段側で前位側ローラ支持部42と係合するようになっている。そして、踏段折返し機構8は、ピッチ円上に前位側ローラ12を案内する略半円状の反転ガイドレール26、27を有している。
【0061】
その他の構成は、図1乃至図5に示す第1の実施の形態の乗客コンベヤ装置と略同様の構成である。第2の実施の形態において、図1乃至図5に示す第1の実施の形態と同一の部分には同一の符号を付して詳細な説明は省略する。
【0062】
反転ガイドレール26、27は、前位側ローラ12の外側案内面及び内側案内面を構成するように配置されている。この場合、反転ガイドレール26は、前位側ローラ往路ガイドレール15aに連続して配置され、反転ガイドレール27は、前位側ローラ復路ガイドレール15bに連続して配置されている。
【0063】
本実施の形態によれば、後位側ローラ支持部及び後位側ローラ13を拘束しない一方で、前位側ローラ支持部42が回動ホイール24によって支持、案内され、補助ローラ20が補助ガイドレール21によって案内されるだけでなく、前位側ローラ12が反転ガイドレール26、27によって支持、案内されることによって、踏段10の円滑な反転が実現される。
【0064】
なお、本実施の形態の場合、回動ホイール24は、前位側ローラ支持部42に対して進行方向の移動力を付与するだけでよく、進行方向と直行する方向の位置決めは反転ガイドレール26、27が担う。このため、回動ホイール24の係合溝24aは半径方向に長く形成されて、前位側ローラ12が反転ガイドレール26、27に案内される際に不要な法線力が発生しないようになっている。
【0065】
なお、以上の2つの実施の形態において、補助ローラ20を後位側ローラ13の代わりに使用することはできない。この理由を以下に説明する。
【0066】
図10に示すように、往路では、踏段10の上面が常に上を向く姿勢を保持するように踏段10が案内されるため、補助ローラ20で踏段10の後位側を支持しようとすると、補助ローラ20の軌道が軌道21cのようになり、前位側ローラ往路ガイドレール15aよりも上方に位置することとなる。すなわち、前位側ローラ支持部42の移動軌跡が、補助ローラ20の移動軌跡21cと交差する部分Qが存在する。
【0067】
このことは、前位側ローラ支持部42が補助ローラ20のためのガイドレール(軌道21c)を横切ることを意味するものであり、現実の構成を実現することが不可能なことを意味している。
【0068】
なお、上記の条件から、補助ローラ20は、踏段折返し部分において使用される部材であるため、乗客の荷重を考慮する必要がなく、前位側ローラ12及び後位側ローラ13に比べて耐荷重容量の小さいローラで足りる。
【0069】
【発明の効果】
以上説明したように、本発明によれば、踏段の折返し区間において、後位側ローラ支持部及び後位側ローラを拘束しないで、踏段姿勢制御機構が踏段の姿勢を制御することにより、踏段の反転動作を最適な軌道に導くことが可能で、結果的に踏段折返し機構の深さを低減することができる。このため、設置時の建物側の工事負担を低減することが可能となる。
【図面の簡単な説明】
【図1】本発明の第1の実施の形態による乗客コンベヤ装置の上部主枠部分を示す側断面図。
【図2】図1のX−X線断面図。
【図3】図1のY−Y線断面図。
【図4】図1のZ−Z線断面図。
【図5】図1の乗客コンベヤ装置の上部主枠部分を示す概略斜視図。
【図6】図1の乗客コンベヤ装置を駅舎に設置する場合の撤去部分を説明する図。
【図7】本発明の第2の実施の形態による乗客コンベヤ装置の上部主枠部分を示す側断面図。
【図8】図7のP−P線断面図。
【図9】図7の前位側ローラ支持部と係合溝との係合部分を示す図。
【図10】補助ローラ復路遷移ガイドレールを復路の全領域にまで延長した状態を示す概略側面図。
【図11】従来のエスカレータの概略側面図。
【図12】従来のエスカレータの上部主枠部分を示す側断面図。
【図13】従来のエスカレータの中間部主枠部分を示す側断面図。
【図14】従来のエスカレータにおいて、第2ガイドローラの位置を変更した場合について説明する図。
【符号の説明】
1 乗客コンベヤ装置
2 主枠
2a 上部主枠
2b 下部主枠
2c 中間部主枠
3a,3b 支持金具
4 建物
5 階段
6 屋根
7 プラットホーム
8 踏段折返し機構
10 踏段
11 踏段鎖
11a、11b リンクプレート
12 前位側ローラ
13 後位側ローラ
14 回動ホイール
14a 係合溝
15a 前位側ローラ往路ガイドレール
15b 前位側ローラ復路ガイドレール
16a 後位側ローラ往路ガイドレール
16b 後位側ローラ復路ガイドレール
20 補助ローラ
20a 補助ローラ支持部
21 補助ガイドレール
22a 補助ローラ往路遷移ガイドレール
22b 補助ローラ復路遷移ガイドレール
23 面取り部
24 回動ホイール
24a 係合溝
30 駆動機構
33、33’ 平歯車
34、34’ 伝達平歯車
34a 連結軸
35 駆動平歯車
36 原動機
37 減速装置
40 支持板
42 前位側ローラ支持部
43 後位側ローラ支持部

Claims (8)

  1. 無端状に連結され往路と復路とを循環移動する複数の踏段と、
    前記踏段の前位側に設けられた前位側ローラ支持部と、
    前記前位側ローラ支持部に軸支された前位側ローラと、
    前記踏段の後位側に設けられた後位側ローラ支持部と、
    前記後位側ローラ支持部に軸支された後位側ローラと、
    前記踏段の前記往路と前記復路との間の折返し区間に設けられ、前記踏段の姿勢を反転させて前記踏段の移動方向を変化させる踏段折返し機構と、
    前記踏段の折返し区間において、前記後位側ローラ支持部及び前記後位側ローラを拘束しないで前記踏段の姿勢を制御する踏段姿勢制御機構と、
    を備えており、
    前記踏段姿勢制御機構は、
    前記踏段の側部に設けられた補助ローラ支持部と、
    前記補助ローラ支持部に軸支された補助ローラと、
    前記折返し区間に設けられ、前記補助ローラを案内する補助ガイドレールと、
    を有している
    ことを特徴とする乗客コンベヤ装置。
  2. 前記前位側ローラ支持部及び前記後位側ローラ支持部は、それぞれ前記踏段の側部に設けられ、
    前記前位側ローラ、前記後位側ローラ及び前記補助ローラの配置関係は、前記踏段の上面から近い順に、前記前位側ローラ、前記補助ローラ、前記後位側ローラとなっている
    ことを特徴とする請求項に記載の乗客コンベヤ装置。
  3. 前記踏段の前記往路に、前記前位側ローラをガイドする前位側ローラ往路ガイドレールが設けられ、
    前記踏段の前記往路に、前記後位側ローラをガイドする後位側ローラ往路ガイドレールが設けられ、
    前記踏段の前記復路に、前記前位側ローラをガイドする前位側ローラ復路ガイドレールが設けられ、
    前記踏段の前記復路に、前記後位側ローラをガイドする後位側ローラ復路ガイドレールが設けられ、
    ていることを特徴とする請求項1または2に記載の乗客コンベヤ装置。
  4. 前記踏段の前記往路の折返し区間側端部に、前記補助ローラをガイドする補助ローラ往路遷移ガイドレールが設けられ、
    前記踏段の前記復路の折返し区間側端部に、前記補助ローラをガイドする補助ローラ復路遷移ガイドレールが設けられ、
    ていることを特徴とする請求項に記載の乗客コンベヤ装置。
  5. 前記踏段折返し機構は、ピッチ円上に前記前位側ローラ支持部または前記前位側ローラを支持した状態で回動する回動ホイールを有している
    ことを特徴とする請求項1乃至4のいずれかに記載の乗客コンベヤ装置。
  6. 前記回動ホイールは、踏段の両側部に一対が独立に設けられ、
    各回動ホイールは、同期駆動する駆動手段によって独立に駆動されるようになっている
    ことを特徴とする請求項に記載の乗客コンベヤ装置。
  7. 前記踏段折返し機構は、ピッチ円上に前記前位側ローラを案内する略半円状の反転ガイドレールを有している
    ことを特徴とする請求項1乃至6のいずれかに記載の乗客コンベヤ装置。
  8. 側面部に前位側ローラ及び後位側ローラを有する複数の踏段を無端状に連結して循環移動させる乗客コンベア装置において、前記踏段の折返し区間における後位側ローラの移動軌跡が非半円状となるように前記踏段の姿勢を制御する踏段姿勢制御機構を設けたことを特徴とする請求項1に記載の乗客コンベア装置。
JP20361399A 1999-07-16 1999-07-16 乗客コンベヤ装置 Expired - Fee Related JP4303840B2 (ja)

Priority Applications (1)

Application Number Priority Date Filing Date Title
JP20361399A JP4303840B2 (ja) 1999-07-16 1999-07-16 乗客コンベヤ装置

Applications Claiming Priority (1)

Application Number Priority Date Filing Date Title
JP20361399A JP4303840B2 (ja) 1999-07-16 1999-07-16 乗客コンベヤ装置

Publications (2)

Publication Number Publication Date
JP2001031355A JP2001031355A (ja) 2001-02-06
JP4303840B2 true JP4303840B2 (ja) 2009-07-29

Family

ID=16476951

Family Applications (1)

Application Number Title Priority Date Filing Date
JP20361399A Expired - Fee Related JP4303840B2 (ja) 1999-07-16 1999-07-16 乗客コンベヤ装置

Country Status (1)

Country Link
JP (1) JP4303840B2 (ja)

Families Citing this family (4)

* Cited by examiner, † Cited by third party
Publication number Priority date Publication date Assignee Title
JP4810030B2 (ja) * 2001-09-26 2011-11-09 三菱電機株式会社 傾斜部高速エスカレータ
KR100522064B1 (ko) * 2003-11-29 2005-10-18 오티스 엘리베이터 컴파니 에스컬레이터의 스텝롤러 상승억제장치
JP5470813B2 (ja) 2008-11-20 2014-04-16 ソニー株式会社 反射板、表示装置およびその製造方法
JP5217949B2 (ja) 2008-11-20 2013-06-19 ソニー株式会社 反射板の製造方法および表示装置の製造方法

Also Published As

Publication number Publication date
JP2001031355A (ja) 2001-02-06

Similar Documents

Publication Publication Date Title
KR100485970B1 (ko) 승객 컨베이어 장치
JP2001192194A (ja) 乗客コンベヤ装置
JP4303840B2 (ja) 乗客コンベヤ装置
JP3972143B2 (ja) エスカレーター装置
JP4122369B1 (ja) エスカレータ装置
JP2001192195A (ja) 乗客コンベヤ装置
JP4982063B2 (ja) 乗客コンベア
JP2001316066A (ja) 乗客搬送コンベア装置
JP5017167B2 (ja) エスカレータ装置
JP2000335862A (ja) 乗客コンベヤ装置
CN100497150C (zh) 人员输送设备
JP3978032B2 (ja) 乗客コンベア
JP2000203781A (ja) エスカレ―タの設置構造
JP3978030B2 (ja) 乗客コンベア
JP3978031B2 (ja) 乗客コンベア装置
JP3371623B2 (ja) 車椅子用踏段付エスカレータ装置
WO2006064675A1 (ja) 中間加速型エスカレータ
CN115571750A (zh) 直立式扁圆螺旋形双轨道楼梯走道电梯
WO2003074412A1 (fr) Dispositif de transport de passagers
JP2000313581A (ja) エスカレータ
JP2000034075A (ja) エレベータ装置
HK1060554B (en) Passenger conveyer
JPH05338977A (ja) 複数台連動式エスカレーター
JP2000280892A (ja) 壁面移動機構
JP2000264562A (ja) エスカレータの設置構造

Legal Events

Date Code Title Description
A621 Written request for application examination

Free format text: JAPANESE INTERMEDIATE CODE: A621

Effective date: 20060407

A977 Report on retrieval

Free format text: JAPANESE INTERMEDIATE CODE: A971007

Effective date: 20090121

A131 Notification of reasons for refusal

Free format text: JAPANESE INTERMEDIATE CODE: A131

Effective date: 20090127

A521 Written amendment

Free format text: JAPANESE INTERMEDIATE CODE: A523

Effective date: 20090306

TRDD Decision of grant or rejection written
A01 Written decision to grant a patent or to grant a registration (utility model)

Free format text: JAPANESE INTERMEDIATE CODE: A01

Effective date: 20090407

A01 Written decision to grant a patent or to grant a registration (utility model)

Free format text: JAPANESE INTERMEDIATE CODE: A01

A61 First payment of annual fees (during grant procedure)

Free format text: JAPANESE INTERMEDIATE CODE: A61

Effective date: 20090427

FPAY Renewal fee payment (event date is renewal date of database)

Free format text: PAYMENT UNTIL: 20120501

Year of fee payment: 3

R150 Certificate of patent or registration of utility model

Free format text: JAPANESE INTERMEDIATE CODE: R150

FPAY Renewal fee payment (event date is renewal date of database)

Free format text: PAYMENT UNTIL: 20120501

Year of fee payment: 3

FPAY Renewal fee payment (event date is renewal date of database)

Free format text: PAYMENT UNTIL: 20130501

Year of fee payment: 4

FPAY Renewal fee payment (event date is renewal date of database)

Free format text: PAYMENT UNTIL: 20140501

Year of fee payment: 5

S531 Written request for registration of change of domicile

Free format text: JAPANESE INTERMEDIATE CODE: R313531

R350 Written notification of registration of transfer

Free format text: JAPANESE INTERMEDIATE CODE: R350

LAPS Cancellation because of no payment of annual fees