JP4239166B2 - 多層観察型光学顕微鏡及び多層観察ユニット - Google Patents

多層観察型光学顕微鏡及び多層観察ユニット Download PDF

Info

Publication number
JP4239166B2
JP4239166B2 JP2003337105A JP2003337105A JP4239166B2 JP 4239166 B2 JP4239166 B2 JP 4239166B2 JP 2003337105 A JP2003337105 A JP 2003337105A JP 2003337105 A JP2003337105 A JP 2003337105A JP 4239166 B2 JP4239166 B2 JP 4239166B2
Authority
JP
Japan
Prior art keywords
phase
observation
sample
optical
observed
Prior art date
Legal status (The legal status is an assumption and is not a legal conclusion. Google has not performed a legal analysis and makes no representation as to the accuracy of the status listed.)
Expired - Fee Related
Application number
JP2003337105A
Other languages
English (en)
Other versions
JP2004219987A (ja
Inventor
哲郎 高松
克昌 藤田
Current Assignee (The listed assignees may be inaccurate. Google has not performed a legal analysis and makes no representation or warranty as to the accuracy of the list.)
Kansai Technology Licensing Organization Co Ltd
Original Assignee
Kansai Technology Licensing Organization Co Ltd
Priority date (The priority date is an assumption and is not a legal conclusion. Google has not performed a legal analysis and makes no representation as to the accuracy of the date listed.)
Filing date
Publication date
Application filed by Kansai Technology Licensing Organization Co Ltd filed Critical Kansai Technology Licensing Organization Co Ltd
Priority to JP2003337105A priority Critical patent/JP4239166B2/ja
Priority to US10/540,600 priority patent/US7366394B2/en
Priority to PCT/JP2003/016641 priority patent/WO2004061515A1/ja
Priority to AU2003296100A priority patent/AU2003296100A1/en
Publication of JP2004219987A publication Critical patent/JP2004219987A/ja
Application granted granted Critical
Publication of JP4239166B2 publication Critical patent/JP4239166B2/ja
Anticipated expiration legal-status Critical
Expired - Fee Related legal-status Critical Current

Links

Images

Classifications

    • GPHYSICS
    • G02OPTICS
    • G02BOPTICAL ELEMENTS, SYSTEMS OR APPARATUS
    • G02B21/00Microscopes
    • G02B21/06Means for illuminating specimens
    • G02B21/08Condensers
    • G02B21/14Condensers affording illumination for phase-contrast observation
    • GPHYSICS
    • G02OPTICS
    • G02BOPTICAL ELEMENTS, SYSTEMS OR APPARATUS
    • G02B21/00Microscopes
    • G02B21/36Microscopes arranged for photographic purposes or projection purposes or digital imaging or video purposes including associated control and data processing arrangements
    • GPHYSICS
    • G02OPTICS
    • G02BOPTICAL ELEMENTS, SYSTEMS OR APPARATUS
    • G02B26/00Optical devices or arrangements for the control of light using movable or deformable optical elements
    • G02B26/06Optical devices or arrangements for the control of light using movable or deformable optical elements for controlling the phase of light

Landscapes

  • Physics & Mathematics (AREA)
  • General Physics & Mathematics (AREA)
  • Optics & Photonics (AREA)
  • Chemical & Material Sciences (AREA)
  • Analytical Chemistry (AREA)
  • Engineering & Computer Science (AREA)
  • Multimedia (AREA)
  • Microscoopes, Condenser (AREA)

Description

本発明は光学顕微鏡、特にリアルタイムにおいて三次元的に被観察試料の動態を観察することが可能な多層観察型光学顕微鏡、及びこれらの顕微鏡に使用可能な多層観察ユニットに関するものである。
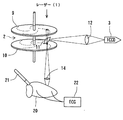
顕微鏡一般は焦点整合により被観察試料面の深さに対応するものであり、特に共焦点顕微鏡は光軸方向に優れた分解能をもち、三次元構造を有する標本の光学的切片像を観察できるため、医学及び生物学の分野において近年急速に普及した光学的観察手段である。その原理的構成は、図5に示すように、レーザー光源1から出たレーザービームを、例えば、二重回転板2 (後に詳述する)におけるレンズアレーディスク9のマイクロレンズで収束し、ダイクロイックミラー11を透過させて、もう一方の回転板であるニポウディスク10のピンホール中に合焦・出射し、更に対物レンズ14を介して被観察体に照射し、それにより励起発光した蛍光を観測用光線として折り返し経路に乗せ、同一のピンホールを通して(所謂、共焦点で)計測するものである。
この計測はピンホール通過後の蛍光を、ダイクロイックミラー11で反射し、凸レンズ12で収束させて高速CCDカメラ3に入射させることにより行われる。このような共焦点顕微鏡により生態組織を観察する場合、被観察体がマウス等であれば、その摘出心20等をカニューレ21を用いて灌流し、心電図計測装置22でモニターしながら被観察部位にレーザービームを照射して行うことも、ある程度は効果的に実施される。
しかしながら、共焦点顕微鏡はその光軸方向の高分解能性の故に、生きた細胞や組織の三次元像をリアルタイムで捕らえるには、深さの異なるレベルを多層的に観察する必要があり、これまでは標本ステージや対物レンズといった重量のあるものを動かさなければ成らなかったため(例えば、特許文献1、及び非特許文献1参照)、リアルタイムでの三次元観察は不可能であった。
特開平06−341955号公報 オリンパス光学工業(株)カタログ、「走査型レーザ顕微鏡」2002年9月30日検索、インターネットURL:http://www.nagano-it.go.jp/seimitu/setubi/se-shuuseki10/se-04laser.html (仕様の欄)
本発明の基本目的は、上記のような従来の共焦点レーザ顕微鏡を含む光学顕微鏡システムにおける三次元走査の困難性を光学的に解決した光学系構造を提供することにある。
本発明の更なる目的は、生きた組織細胞の三次元的な動態をも高速に蛍光顕微鏡観察できる光学系構造を提供することにある。
上記の目的を達成するため、本発明は、光源と、前記光源からの照射光を被観察試料内に集光する対物レンズと、前記光源から前記対物レンズに対し照射光線を入射させる光軸中に配置された収束/視準化レンズ対と、前記収束/視準化レンズ対の間に配置され、透過光の位相を光軸横断面の所定範囲内で変化させることによって、前記対物レンズの観察面を段階的に深度調節するための位相変更手段と、前記光源および前記収束/視準化レンズ対の間の光軸中に共焦点スキャナーと、を備え、前記共焦点スキャナーは、前記光源側に配置されたマイクロレンズアレーディスクと、前記収束/視準化ディスク側に、前記マイクロレンズアレーディスクと同軸にこれに対向配置された複数のピンホールを有するニポウディスクと、前記マイクロレンズアレーディスクおよび前記ニポウディスクの間に配置され、光源からの照射光を透過する一方、前記被観察試料から返ってきた蛍光を反射するダイクロイックミラーと、を備え、前記位相変更手段が段階的に光学的特性の異なる複数の位相板セグメントを配列し、各セグメントが順次光軸を横切るように設置された回転板からなることを特徴とする多層観察型光学顕微鏡を構成したものである。
上記の基本構成によれば、位相変更手段を経て視準化レンズを出た照射光線の波面は、視準化レンズに向かう位相変更手段の状態ごとに、光軸からその光軸を横断する面内における周辺にかけて生ずる位相変位の度合が相違し、その位相変位度が大きければ、更に対物レンズに入射して結ばれる焦点の深度がそれに応じて深くなる。この深度変化の幅は、照射光線の波長に応じて広くできるが、本発明では可視波長域で100μm程度まで可能である(使用する対物レンズのNA,倍率に依存する)。
観測用光線とは、被観察試料の情報を含んだ光線であり、照射光線により励起された蛍光線あるいは反射光である。
本発明の好ましい実施例によれば、前記位相変更手段が、各位相板セグメントの要素をなす等方性透明膜の厚さを段階的に変化させたことにより、それらの光学的特性を異ならしめることができる。
本発明の別の好ましい実施例によれば、前記位相変更手段が、各位相板セグメントの要素をなす等方性透明膜の屈折率を段階的に変化させたことにより、それらの光学的特性を異ならしめることができる。
本発明のさらに別の好ましい実施例によれば、本発明を適用する光学顕微鏡の試料台の二次元走査と、前記位相変更手段の位相走査とを同期させることにより、被観察試料の三次元動態を観察できる。これにより、蛍光観察光路の終端に配置されたCCDカメラ、例えば、既存の撮像速度1000フレーム/秒の、インテンシファイド高速CCDカメラ等によれば、生きた組織の三次元的動態などをも、高速に観察することが可能となる。
更に、標本ステージあるいは対物レンズの移動による第1の光軸方向観察位置制御手段と、対物レンズに対しそのレンズから被観察試料に入射すべき照射光線を入射させる光軸中に配置された収束/視準化レンズ対と、それらのレンズ間に透過光の位相を光軸横断面の所定範囲内で変化させるための位相変更手段とからなる第2の光軸方向観察位置制御手段とを設けることにより、深い光軸方向の被観察試料の観察を可能にすると共に、光軸方向の観察を早い時間で詳細に観測することができる。更に、光学顕微鏡の試料台への試料光線の二次元走査と第1の光軸方向観察位置制御手段と第2の光軸方向観察位置制御手段とを同期させることにより、被観察試料の三次元観察を深く且つ特定領域を局部的に詳細に観察することができる。同期して得られた情報を三次元画像にするためには、事前に第1の光軸方向観察位置制御手段と第2の光軸方向観察位置制御手段との各々の制御長を規格化しておくことにより可能になる。また、第1及び第2の光軸方向観察位置制御手段の各々の制御長を規格化しておくことにより、第2の光軸方向観察位置制御手段によって光軸方向の長さを早い時間で計測できる。即ち、対物レンズに対し、そのレンズから被観察試料に照射光線を入射させる光軸中に、収束/視準化レンズ対を配置し、それらのレンズ間に透過光の位相を光軸横断面の所定範囲内で変化させるための位相変更手段を設けたことにより、対物レンズに入射する照射光線の波面の位相に応じた深度において、前記試料を合焦点照射するように構成した多層観察型光学顕微鏡を用いて、前記位相変更手段の第1の設定値により得られる第1の観察面を観察する工程と、前記位相変更手段の第2の設定値により得られる第2の観察面を観察する工程と、前記第1の観察面と第2の観察面との光軸方向の距離を前記位相変更手段の第1の設定値と前記位相変更手段の第2の設定値との差から測定することができる。
また、医学生物分野の試料及びエレクトロニクス分野の試料等の三次元検査方法が可能になる。即ち、光学的に三次元構造を有する被観察試料を作成する工程と、その被観察試料を標本ステージに設置する工程と、第6の発明の光学顕微鏡の構成を用いてその被観察試料の三次元デジタルデータを測定する工程と、試料が正常な三次元形状と判断できる三次元の検査判定基準デジタルデータを設定する工程と、その測定された被観察試料の三次元デジタルデータと検査判定基準デジタルデータとを比較する工程とから、被観察試料が正常かどうかを判断することができる。繰り返し三次元データを測定することにより動態の検査も可能になる。
医学生物分野の試料の作製は、蛍光材料を試料に混入することにより光学的に鮮明に観察できる被観察試料を準備できる。エレクトロニクス分野の試料作成は、製造する基体表面に凹凸を形成する工程となる。
二次元データの判断のみならず、深さ方向のデータも含んだ三次元データによる検査が可能になる。半導体集積回路においてはますます表面構造が三次元化していくが、本発明の三次元検査方法により高速で検査できるようになる。
本発明のさらに別の好ましい実施例によれば、前記位相変更手段は、表面上に複数の位相板セグメントを備えた回転板からなり、前記複数の位相板セグメントは、それぞれ、段階的に互いに異なる光学的特性を有するとともに、前記回転板の円周方向に順次隣接するように配列されている。
本発明の多層観察型リアルタイム光学顕微鏡、特に共焦点顕微鏡によれば、細胞や生体組織の三次元構造を、そのままの状態で高精度に観察することができる。すなわち、多層的に観察できない従来の方法では、本来三次元的な生体組織の営みを、シャーレ内での細胞培養等により二次元平面に置き換えることで可視化しているに過ぎず、生体の自然な姿を捉えているとは言いがたいものであったのに対し、本発明では、生体の営みを高速且つ立体的に可視化したものだからである。
本発明は、細胞組織等の三次元動態の高速観察を可能とする多層観察ユニットを構成したものである。顕微鏡全体の構成としては、すでに実用化されている二次元(x-y)平面を高速に観察する顕微鏡と、それに使用する光源 (レーザー)との間に、前記多層観察ユニット (観察深さ: z方向を多層的に変えて観察するユニット)を構成する位相変更手段としての光学位相板配列ディスクを挿入する形をとる。このユニットは順次異なった光学特性をもつ光学位相板のセグメント (円弧状片)をディスク状に配列構成し、回転することにより各セグメントが順次光軸を横切るように設置され、かくして高速に観察深さを変更し、各深さ(層)における二次元スライス像を得て組織細胞の三次元画像を構築・再現することができる。
適用可能な光学顕微鏡としては、共焦点顕微鏡のほか一般的な蛍光顕微鏡や二光子顕微鏡、その他対物レンズを用いて被観察試料に光照射する光学顕微鏡を用いることができ、以下の好ましい実施例においては最も効果的な共焦点顕微鏡について説明する。
本発明の多層観察型リアルタイム共焦点顕微鏡の好ましい実施例は、図1に示すとおりである。図1の光学系において、1はレーザー光源、2は二重回転円板式高速共焦点スキャナー、3はインテンシファイド高速CCDカメラ、4は高速共焦点スキャナー2のピンホールを出たレーザー光をコリメート、すなわち視準化する凸レンズ、5は収束レンズ、6は収束レンズ5から出て反転像化したレーザー光を視準化する第2の凸レンズであり、このレンズ5,6間に本発明の多層観察ユニット7を構成する位相変更手段としての光学位相板の配列ディスクが配置される。レンズ6から出た視準レーザー光は蛍光位相差顕微鏡ユニット8に入射するようになっている。
高速共焦点スキャナー2は、レーザー光源1側にマイクロレンズアレーディスク9を、コリメートレンズ4側に多数のピンホールが渦巻き状に配置された所謂ニポウディスク10を同軸・対向的に設置したものであり (図5参照)、当然ながらディスク9のマイクロレンズアレーも、ピンホールアレーに対応した渦巻き状であり、両ディスク9,10の高速回転により、例えば、最速で1000フレーム/秒で光軸をx−y走査することができる。
両ディスク9,10間には励起用レーザー光を透過し、観察試料から返ってきた蛍光を反射するダイクロイックミラー11が配置され、その蛍光反射光路中には凸レンズ12が配置され、CCDカメラ3の受光面に結像するようになっている。CCDカメラ3は高速共焦点スキャナー2に対応して最速で1000フレーム/秒で光軸をx−y走査画像を撮影することができる。
本発明の多層観察ユニット7は、図1の光学系内においては駆動用モーター13と共に、側面でのみ示しているが、その具体的構成例としては、図の上方に取出して斜視図で示すように、光学特性の異なる複数の位相板セグメントa, b, c ・・・・をディスク状に配列したものである。光学特性がセグメントごとに段階的に異なる態様としては、各位相板セグメントの要素をなす等方性透明膜(当該斜視図においては区分図示していない)が同一膜物質から成る場合において、斜視図で拡大して示すように、その厚さを段階的に変化させるか、厚さは不変にして屈折率を段階的に変えるか、あるいはその両方の組み合わせを採用する。
多層観察ユニット7を通り、視準化レンズ6から出たレーザービームは、蛍光位相差顕微鏡ユニット8内の対物レンズ14に入射し、可変の深度において、ここでは模式的に示した通り、シャーレ等に収容された細胞・組織試料15内に焦点を結ぶようになっている。また、この場合は光学系構成の便宜上、顕微鏡ユニット8内には、対物レンズ14の前に平面ミラーからなる光路折り曲げ鏡16が配置される(図1参照)。
図2は、上述の光路折り曲げ鏡16を省略して、収束/視準化レンズ対5,6間に配置された多層観察ユニット7の位相板により、対物レンズ14により結ばれる焦点が効果的に深度調整される手順を示す模式図である。ここに(a)は、多層観察ユニット7の光路中セグメントの位相板要素が最も薄いものであるとき、(b),(c)は順次それより厚くなった場合であり、レンズ5,6間の基準中間結像面と各中間レベルを整合させて描いたものである。
図2(a)では、位相板要素が薄いため、収束レンズ5の周縁部から出て位相板要素7(a)内に入り、光軸と交差してから同要素7(a)を出るまでの距離が比較的短くなり (したがって光軸通過部との距離差も短くなり)、その部分と光軸出射部との位相差 (前者の位相遅れ)は比較的小さい。したがって、これらの光波が対物レンズ14により合焦するレベルは、試料15内の最上位Z1となる。
図2(b)では、位相板要素が(a)より少し厚いため、収束レンズ5の周縁部から出て位相板要素7(b)内に入り、光軸と交差してから同要素7(b)を出るまでの距離がやや長くなり (したがって光軸通過部との距離差もやや長くなり)、その部分と光軸出射部との位相差 (前者の位相遅れ)もやや長くなる。したがって、これらの光波が対物レンズ14により合焦するレベルは、試料15内の次のレベル(ここでは中間位)Z2となる。
図2(c)では、位相板要素が(b)より更に厚いため、収束レンズ5の周縁部から出て位相板要素7(c)内に入り、光軸と交差してから同要素7(c)を出るまでの距離が更に長くなり (したがって光軸通過部との距離差も更に長くなり)、その部分と光軸出射部との位相差 (前者の位相遅れ)も更に長くなる。したがって、これらの光波が対物レンズ14により合焦するレベルは、試料15内の更に次のレベル(ここでは最下位)Z3となる。
以上のことから、本発明の実施例においては、多層観察ユニット7の位相板要素がセグメントa、b,c,・・・と変位するごとに厚くなるため、対物レンズ14の対物面における光軸点から周縁部にかけて出射する波面の合焦点の深度は、効果的に十分な距離を変位することが理解できるであろう。また、この深度変位は、前述の実施例のごとく、多層観察ユニット7における各位相板セグメント要素(等方性透明膜)の厚さが段階的に変化する場合のほか、厚さは不変にして屈折率を段階的に変える場合、あるいはその両方の組み合わせを採用する場合にも生ずることは明らかである。
図3は、本発明の高速共焦点顕微鏡により観察深度を順次変更しながら、光学断層像を計測し、これらを合成する画像処理により、リアルタイム三次元像を得る手順原理を示す模式図である。図3(a)では、図2(a)の位相板セグメント要素により確立した焦点レベルZ1において観察試料を二次元走査し、図3(b)では、図2(b)の位相板セグメント要素により確立した焦点レベルZ2において観察試料を二次元走査し,更に図3(C)では、図2(C)の位相板セグメント要素により確立した焦点レベルZ3において観察試料を二次元走査したものである。
各レベルにおいて描いた複数の線18は、図1に示した高速共焦点スキャナー2の二重板9、10におけるマイクロレンズ/ピンホールアレイの本数に応じて形成される走査線であり、19はその走査線上においてレーザービーム17が結ぶ焦点である。かくして、これらの合焦点レーザービームによりその試料点から励起・発光した蛍光のうち、往路のレーザービームと同様の経路を逆にたどる蛍光が、多層観察ユニット7により、同じく波面位相を調整され、高速共焦点スキャナー2のニポウディスク10における光軸位置のピンホールを通り、ダイクロイックミラー11によって反射され、凸レンズ12を通って高速CCDカメラ3により受光及び撮像処理されることは前述した通りである。
実施例において、図3(a)〜(c)の過程は、好ましくは1/30秒程度で行われ、高速CCDカメラ3で画像取得後三次元像として合成される。例えば、1秒間1000フレームの高速CCDカメラを用いて3層の三次元観察を行う場合、1秒間に1000/3=333.3の立体像が得られる。
図4は、生体の左心室23及び左冠状動脈組織における心筋梗塞巣24の細胞を、本発明のリアルタイム共焦点顕微鏡によりリアルタイムで観察するため、カテーテル等、何らかの方法でレーザー励起した場合の模式図である。共焦点顕微鏡のレーザー光路先端(対物レンズ)25から出たレーザービーム17は前述の態様にしたがって多層的に二次元走査され、この領域24の細胞が三次元画像によりリアルタイムで観察され、例えば、壊疽を生じていること等が容易に発見できるようになる。なお、26は心房、27は大動脈である。
また、標本ステージあるいは対物レンズを光軸方向に移動することによって左心室23全体も観察できる。標本ステージあるいは対物レンズの光軸方向の移動距離と多層観察ユニットによる焦点移動距離を規格化すると共に、同期化して観察することにより、図4のように広範囲な観察と局所的な詳細観察とを重ねて三次元観察することができる。
標本ステージあるいは対物レンズの光軸方向の移動距離と多層観察ユニットによる焦点移動距離を規格化することにより、早い時間で被観察試料の光軸方向の深さを測定することもできる。移動距離を規格化する別な方法としては、すでに深さ方向の距離が測定済みの基準試料を事前に観察することにより、多層観察ユニットによる焦点移動距離を規格化することもできる。観察できる観察面と多層観察ユニットによる焦点移動距離の差を測定することにより、その異なる観察面の深さを測定できる。深さを測る場合には、多層観察ユニットとしてアナログ的に光軸方向の焦点移動距離を制御できる位相変更手段が好ましい。位相変更手段として印可電界によって制御できるポッケルス効果あるいはカー効果を持った電気光学結晶デバイスを用いることによりアナログ的に光軸方向の焦点移動距離を制御することができる。ポッケルス効果を有する材料としては例えばLiNbO3(ニオブ酸リチウム)結晶がある。カー効果を示す材料としては液体であるがCS2がある。本発明の顕微鏡は、三次元観察及び測長を早い時間で同時にできる。従って、実験用だけではなくマイクロデバイス等の生産段階での検査工程に最適である。
また、多層観察ユニットの収束/視準化レンズの倍率を変えることにより光軸方向の移動距離範囲を広くできる。被観察試料の大きさに応じて多層観察ユニットの収束/視準化レンズの倍率を変えることにより、被観察試料を1回の走査で三次元観察することができる。収束/視準化レンズの倍率を変える構造を設けたことにより、位相変更手段の少ない位相変化でも効果的に移動距離範囲を光学的移動距離範囲を広くできる。言い換えれば、多層観察ユニットを小型化することができる。この位相変更手段の小型化は位相変更の高速化を容易にする。
更に、高速に三次元観察ができるので、医学生物分野の試料及びエレクトロニクス分野の試料の三次元検査が可能になる。即ち、まず、光学的に三次元構造を有する被観察試料を作製する。例えば、医学生物分野の試料の作製は、蛍光材料を試料に混入することにより光学的に鮮明に観察できる被観察試料を準備する。半導体集積回路等のエレクトロニクス分野の試料作製において、製造されるシリコンウエハ表面は一般的にエッチング等で凹凸が形成される。凹凸の深さの絶対値を含めて正常かどうかを判断したいという、その被観察試料を標本ステージに設置する。本発明の光学顕微鏡の構成を用いて、その被観察試料の三次元デジタルデータを測定する。被観察試料が正常な三次元形状であるか否か判断するために、別途正常な三次元形状の試料を観察して得られたデジタルデータを検査判定基準デジタルデータとして設定しておく。測定された検査用の被観察試料の三次元デジタルデータと検査判定基準デジタルデータとを比較することにより、被観察試料が正常かどうかの判定をすることができる。繰り返し三次元デジタルデータを測定することにより、時間的に変化する動態の検査も可能になる。この動態検査の場合には、三次元データ走査を正確な時間で同期して評価することにより可能になる。動態の検査は、時間と共に変化する検査判定基準三次元デジタルデータを検査前に設定しておく必要がある。
従来のシリコンウエハの集積回路のパターン検査は、二次元的デジタルデータの判断が一般的であった。本発明の検査方法によれば、深さ方向のデジタルデータも含んだ三次元デジタルデータによる検査が可能になる。半導体集積回路においては、ますます表面構造が三次元化していくが、本発明の顕微鏡を用いて三次元検査を高速でできるようになる。医療分野においても、多くの試料を早く検査する必要がある健康診断のような用途に用いることが可能になる。
以上述べたとおり、本発明の多層観察型リアルタイム光学顕微鏡、特に共焦点顕微鏡によれば、細胞や生体組織の三次元構造を、そのままの状態で高精度に観察することができる。すなわち、多層的に観察できない従来の方法では、本来三次元的な生体組織の営みを、シャーレ内での細胞培養等により二次元平面に置き換えることで可視化しているに過ぎず、生体の自然な姿を捉えているとは言いがたいものであったのに対し、本発明では、生体の営みを高速且つ立体的に可視化したものだからである。
上記のような本発明の技術的効果は、その観察結果から、これまでは見えなかった多くの情報をもたらすであろう。それはまた医学・生物学、並びに関連諸分野において、きわめて有用であるものと期待される。
更に、本発明のリアルタイム光学顕微鏡の製作に当たっては、従来の光学顕微鏡の対物レンズ直前光路中に、前述した多層観察ユニットを挿入するだけでよいため、比較的低コストで実施可能であり、その産業上の利点もまた極めて大きいものがある。
本発明の多層観察型リアルタイム共焦点顕微鏡の好ましい実施例を示す光学系構成図である。 図1の実施例の要部をなす多層観察ユニットの構成図であり(a),(b),(c)の順に焦点深度が深まっていく態様を示している。 実施例の多層観察型リアルタイム共焦点顕微鏡において、(a)最も浅いZ1レベル、(b)中間Z2レベル、(c)最も深いZ3レベルにおいて、順次に二次元走査(光学断層像の撮影)を行い、三次元像を合成する手順を示す模式図である。 本発明の多層観察型リアルタイム共焦点顕微鏡により、実際の生体組織を観察する状態を示す模式図である。 従来の共焦点顕微鏡により、ラットの心臓組織を観察する状態を示す略図である。
符号の説明
1 レーザー光源
2 二重回転円板式高速共焦点スキャナー
3 高速CCDカメラ
4、6 視準化レンズ
5 収束レンズ
7 多層観察ユニット (位相変更手段)
8 蛍光位相差顕微鏡ユニット
9 マイクロレンズアレーディスク
10 ニポウディスク
11 ダイクロイックミラー
12 凸レンズ
13 駆動用モーター
14 対物レンズ
15 細胞・組織試料
16 光路折り曲げ鏡
17 レーザービーム
18 走査線
19 焦点

Claims (5)

  1. 光源と、
    前記光源からの照射光を被観察試料内に集光する対物レンズと、
    前記光源から前記対物レンズに対し照射光線を入射させる光軸中に配置された収束/視準化レンズ対と、
    前記収束/視準化レンズ対の間に配置され、透過光の位相を光軸横断面の所定範囲内で変化させることによって、前記対物レンズの観察面を段階的に深度調節するための位相変更手段と、
    前記光源および前記収束/視準化レンズ対の間の光軸中に共焦点スキャナーと、を備え、
    前記共焦点スキャナーは、
    前記光源側に配置されたマイクロレンズアレーディスクと、
    前記収束/視準化ディスク側に、前記マイクロレンズアレーディスクと同軸にこれに対向配置された複数のピンホールを有するニポウディスクと、
    前記マイクロレンズアレーディスクおよび前記ニポウディスクの間に配置され、光源からの照射光を透過する一方、前記被観察試料から返ってきた蛍光を反射するダイクロイックミラーと、を備え、
    前記位相変更手段が段階的に光学的特性の異なる複数の位相板セグメントを配列し、各セグメントが順次光軸を横切るように設置された回転板からなることを特徴とする多層観察型光学顕微鏡。
  2. 前記位相変更手段が各位相板セグメントの要素をなす等方性透明膜の厚さを段階的に変化させたことにより、それらの光学的特性を異ならしめたことを特徴とする請求項1に記載の多層観察型光学顕微鏡。
  3. 前記位相変更手段が各位相板セグメントの要素をなす等方性透明膜の屈折率を段階的に変化させたことにより、それらの光学的特性を異ならしめたことを特徴とする請求項1に記載の多層観察型光学顕微鏡。
  4. 光学顕微鏡の試料台の二次元走査と、前記位相変更手段の位相走査とを同期させることにより、被観察試料の三次元動態を観察できるようにしたことを特徴とする請求項1に記載の多層観察型光学顕微鏡。
  5. 前記位相変更手段は、表面上に複数の位相板セグメントを備えた回転板からなり、前記複数の位相板セグメントは、それぞれ、段階的に互いに異なる光学的特性を有するとともに、前記回転板の円周方向に順次隣接するように配列されていることを特徴とする請求項1に記載の多層観察型光学顕微鏡。
JP2003337105A 2002-12-27 2003-09-29 多層観察型光学顕微鏡及び多層観察ユニット Expired - Fee Related JP4239166B2 (ja)

Priority Applications (4)

Application Number Priority Date Filing Date Title
JP2003337105A JP4239166B2 (ja) 2002-12-27 2003-09-29 多層観察型光学顕微鏡及び多層観察ユニット
US10/540,600 US7366394B2 (en) 2002-12-27 2003-12-24 Multilayer observation optical microscope and multilayer observation unit
PCT/JP2003/016641 WO2004061515A1 (ja) 2002-12-27 2003-12-24 多層観察型光学顕微鏡及び多層観察ユニット
AU2003296100A AU2003296100A1 (en) 2002-12-27 2003-12-24 Multilayer observation optical microscope and multilayer observation unit

Applications Claiming Priority (2)

Application Number Priority Date Filing Date Title
JP2002379869 2002-12-27
JP2003337105A JP4239166B2 (ja) 2002-12-27 2003-09-29 多層観察型光学顕微鏡及び多層観察ユニット

Publications (2)

Publication Number Publication Date
JP2004219987A JP2004219987A (ja) 2004-08-05
JP4239166B2 true JP4239166B2 (ja) 2009-03-18

Family

ID=32716315

Family Applications (1)

Application Number Title Priority Date Filing Date
JP2003337105A Expired - Fee Related JP4239166B2 (ja) 2002-12-27 2003-09-29 多層観察型光学顕微鏡及び多層観察ユニット

Country Status (4)

Country Link
US (1) US7366394B2 (ja)
JP (1) JP4239166B2 (ja)
AU (1) AU2003296100A1 (ja)
WO (1) WO2004061515A1 (ja)

Families Citing this family (23)

* Cited by examiner, † Cited by third party
Publication number Priority date Publication date Assignee Title
JP4797425B2 (ja) * 2005-04-12 2011-10-19 カシオ計算機株式会社 光源ユニット及び投影装置
EP1889111A2 (en) * 2005-05-25 2008-02-20 Massachusetts Institute of Technology Multifocal imaging systems and methods
DE102005036486A1 (de) * 2005-07-20 2007-01-25 Leica Microsystems (Schweiz) Ag Optisches Gerät mit erhöhter Schärfentiefe
JP2007079278A (ja) * 2005-09-15 2007-03-29 Univ Of Tokyo 物質状態測定装置
WO2007043314A1 (ja) * 2005-10-13 2007-04-19 Nikon Corporation 顕微鏡装置
US8537461B2 (en) * 2007-11-26 2013-09-17 Carl Zeiss Microimaging Gmbh Method and configuration for the optical detection of an illuminated specimen
CN101903761B (zh) * 2007-12-19 2015-04-22 皇家飞利浦电子股份有限公司 检测系统和方法
JP5242304B2 (ja) * 2008-09-04 2013-07-24 オリンパスメディカルシステムズ株式会社 観測システム
JP5504881B2 (ja) * 2009-12-25 2014-05-28 ソニー株式会社 演算装置、演算方法、演算プログラム及び顕微鏡
JP5056871B2 (ja) * 2010-03-02 2012-10-24 横河電機株式会社 共焦点顕微鏡システム
JP5221614B2 (ja) * 2010-09-17 2013-06-26 独立行政法人科学技術振興機構 3次元共焦点観察用装置及び観察焦点面変位・補正ユニット
ITTO20110298A1 (it) * 2011-04-01 2012-10-02 St Microelectronics Srl Rilevatore ottico confocale, schiera di rilevatori e relativo procedimento di fabbricazione
US9104027B2 (en) * 2012-04-27 2015-08-11 Manufacturing Techniques, Inc. Optical instrument for the simulation of atmospheric turbulence
US9696264B2 (en) * 2013-04-03 2017-07-04 Kla-Tencor Corporation Apparatus and methods for determining defect depths in vertical stack memory
JP6318358B2 (ja) * 2013-04-08 2018-05-09 株式会社ニューフレアテクノロジー 照明装置および検査装置
WO2015164844A1 (en) * 2014-04-24 2015-10-29 Vutara, Inc. Super resolution microscopy
CN104101993B (zh) * 2014-07-10 2017-04-19 深圳职业技术学院 傅立叶显微镜装置及信息共享系统及其信息共享方法
US10317597B2 (en) * 2014-08-26 2019-06-11 The Board Of Trustees Of The Leland Stanford Junior University Light-field microscopy with phase masking
EP3268715B1 (en) 2015-03-11 2024-09-25 TissueVision, Inc. System and methods for serial staining and imaging
US10495446B2 (en) * 2015-06-29 2019-12-03 Kla-Tencor Corporation Methods and apparatus for measuring height on a semiconductor wafer
EP3542142A1 (en) 2016-11-18 2019-09-25 Tissuevision, Inc. Automated tissue section capture, indexing and storage system and methods
KR101900254B1 (ko) * 2017-04-25 2018-09-19 충북대학교 산학협력단 홀로그램 광학소자 마이크로 렌즈 어레이를 이용한 집적영상 현미경 시스템
CN115437134A (zh) * 2022-08-30 2022-12-06 宁波礼达先导生物技术有限公司 一种全自动智能显微镜及图像处理方法

Family Cites Families (6)

* Cited by examiner, † Cited by third party
Publication number Priority date Publication date Assignee Title
JPH08136810A (ja) 1994-11-08 1996-05-31 Hamamatsu Photonics Kk 共焦点顕微鏡
US5952562A (en) * 1995-11-22 1999-09-14 Olympus Optical Co., Ltd. Scanning probe microscope incorporating an optical microscope
JP3917731B2 (ja) * 1996-11-21 2007-05-23 オリンパス株式会社 レーザ走査顕微鏡
JPH1138324A (ja) 1997-07-23 1999-02-12 Nikon Corp レーザ走査顕微鏡
JP4481397B2 (ja) * 1999-09-07 2010-06-16 オリンパス株式会社 光学装置及び顕微鏡
DE10105391B4 (de) 2001-02-06 2004-11-25 Leica Microsystems Heidelberg Gmbh Scanmikroskop und Modul für ein Scanmikroskop

Also Published As

Publication number Publication date
WO2004061515A1 (ja) 2004-07-22
AU2003296100A1 (en) 2004-07-29
JP2004219987A (ja) 2004-08-05
US20060147176A1 (en) 2006-07-06
US7366394B2 (en) 2008-04-29

Similar Documents

Publication Publication Date Title
JP4239166B2 (ja) 多層観察型光学顕微鏡及び多層観察ユニット
US9885859B2 (en) Structured illumination microscopy apparatus and method
CN103743714B (zh) 一种倾斜宽场光切片扫描成像显微系统及其成像方法
JP5097247B2 (ja) 共焦点顕微鏡装置及び共焦点顕微鏡装置を用いた観察方法
EP2041613B1 (en) Device and method for wide- field and high resolution imaging of tissue
KR100721414B1 (ko) 공초점 현미경, 공초점 현미경을 사용한 형광 측정 방법 및편광 측정 방법
US11609186B2 (en) Systems and methods for in-operating-theatre imaging of fresh tissue resected during surgery for pathology assessment
US9383568B2 (en) Objective-coupled selective plane illumination microscopy
EP2618197B1 (en) 3-dimensional confocal microscopy apparatus and focal plane scanning and aberration correction unit
US10352819B2 (en) Method of measuring transmission characteristics of optical transfer medium and image acquisition device using the same
JP2000126116A (ja) 光診断システム
CN101375786A (zh) 一种荧光内窥成像方法及装置
CN103054554B (zh) 一种沿轴向进行深度扫描的光学成像装置、方法及其应用
CN110062603A (zh) 用于垂直横截面成像的多光子内窥显微镜
JP2005121796A (ja) レーザー顕微鏡
NL2008873C2 (en) Method and apparatus for multiple points of view three-dimensional microscopy.
US20070091425A1 (en) Microscope examination apparatus and microscope examination method
JP2021519438A (ja) 被験体を非侵襲的に検査するためのマルチモード撮像システムおよび方法
JP2000126115A (ja) 光走査プローブ装置
CN105043988A (zh) 基于扫描振镜的单点去卷积显微系统与成像方法
CN111855582A (zh) 一种基于光纤延时的并行多尺度光声显微成像方法
Rangrez et al. Fluorescence in vivo endomicroscopy: High-resolution, 3-dimensional confocal laser endomicroscopy (part 1)
JP2024500089A (ja) 光子の再割り当てを行う共焦点顕微鏡
JP2006510932A (ja) コヒーレンス顕微鏡
JP2002301018A (ja) 光走査プローブ装置

Legal Events

Date Code Title Description
A621 Written request for application examination

Free format text: JAPANESE INTERMEDIATE CODE: A621

Effective date: 20050513

A131 Notification of reasons for refusal

Free format text: JAPANESE INTERMEDIATE CODE: A131

Effective date: 20080618

A521 Written amendment

Free format text: JAPANESE INTERMEDIATE CODE: A523

Effective date: 20080813

RD02 Notification of acceptance of power of attorney

Free format text: JAPANESE INTERMEDIATE CODE: A7422

Effective date: 20080813

A131 Notification of reasons for refusal

Free format text: JAPANESE INTERMEDIATE CODE: A131

Effective date: 20080903

A521 Written amendment

Free format text: JAPANESE INTERMEDIATE CODE: A523

Effective date: 20081029

TRDD Decision of grant or rejection written
A01 Written decision to grant a patent or to grant a registration (utility model)

Free format text: JAPANESE INTERMEDIATE CODE: A01

Effective date: 20081125

A01 Written decision to grant a patent or to grant a registration (utility model)

Free format text: JAPANESE INTERMEDIATE CODE: A01

A61 First payment of annual fees (during grant procedure)

Free format text: JAPANESE INTERMEDIATE CODE: A61

Effective date: 20081211

FPAY Renewal fee payment (event date is renewal date of database)

Free format text: PAYMENT UNTIL: 20120109

Year of fee payment: 3

R150 Certificate of patent or registration of utility model

Free format text: JAPANESE INTERMEDIATE CODE: R150

FPAY Renewal fee payment (event date is renewal date of database)

Free format text: PAYMENT UNTIL: 20120109

Year of fee payment: 3

S111 Request for change of ownership or part of ownership

Free format text: JAPANESE INTERMEDIATE CODE: R313113

FPAY Renewal fee payment (event date is renewal date of database)

Free format text: PAYMENT UNTIL: 20120109

Year of fee payment: 3

R350 Written notification of registration of transfer

Free format text: JAPANESE INTERMEDIATE CODE: R350

FPAY Renewal fee payment (event date is renewal date of database)

Free format text: PAYMENT UNTIL: 20130109

Year of fee payment: 4

FPAY Renewal fee payment (event date is renewal date of database)

Free format text: PAYMENT UNTIL: 20140109

Year of fee payment: 5

R250 Receipt of annual fees

Free format text: JAPANESE INTERMEDIATE CODE: R250

R250 Receipt of annual fees

Free format text: JAPANESE INTERMEDIATE CODE: R250

R250 Receipt of annual fees

Free format text: JAPANESE INTERMEDIATE CODE: R250

LAPS Cancellation because of no payment of annual fees