JP4207828B2 - 電子部品 - Google Patents

電子部品 Download PDF

Info

Publication number
JP4207828B2
JP4207828B2 JP2004112860A JP2004112860A JP4207828B2 JP 4207828 B2 JP4207828 B2 JP 4207828B2 JP 2004112860 A JP2004112860 A JP 2004112860A JP 2004112860 A JP2004112860 A JP 2004112860A JP 4207828 B2 JP4207828 B2 JP 4207828B2
Authority
JP
Japan
Prior art keywords
resin
lead
circuit board
lead wire
case
Prior art date
Legal status (The legal status is an assumption and is not a legal conclusion. Google has not performed a legal analysis and makes no representation as to the accuracy of the status listed.)
Expired - Lifetime
Application number
JP2004112860A
Other languages
English (en)
Other versions
JP2005019959A (ja
Inventor
成友 高畠
寛 中村
Current Assignee (The listed assignees may be inaccurate. Google has not performed a legal analysis and makes no representation or warranty as to the accuracy of the list.)
Victor Company of Japan Ltd
Original Assignee
Victor Company of Japan Ltd
Priority date (The priority date is an assumption and is not a legal conclusion. Google has not performed a legal analysis and makes no representation as to the accuracy of the date listed.)
Filing date
Publication date
Application filed by Victor Company of Japan Ltd filed Critical Victor Company of Japan Ltd
Priority to JP2004112860A priority Critical patent/JP4207828B2/ja
Priority to US10/853,125 priority patent/US7002807B2/en
Publication of JP2005019959A publication Critical patent/JP2005019959A/ja
Application granted granted Critical
Publication of JP4207828B2 publication Critical patent/JP4207828B2/ja
Anticipated expiration legal-status Critical
Expired - Lifetime legal-status Critical Current

Links

Images

Classifications

    • HELECTRICITY
    • H05ELECTRIC TECHNIQUES NOT OTHERWISE PROVIDED FOR
    • H05KPRINTED CIRCUITS; CASINGS OR CONSTRUCTIONAL DETAILS OF ELECTRIC APPARATUS; MANUFACTURE OF ASSEMBLAGES OF ELECTRICAL COMPONENTS
    • H05K3/00Apparatus or processes for manufacturing printed circuits
    • H05K3/30Assembling printed circuits with electric components, e.g. with resistor
    • H05K3/32Assembling printed circuits with electric components, e.g. with resistor electrically connecting electric components or wires to printed circuits
    • H05K3/34Assembling printed circuits with electric components, e.g. with resistor electrically connecting electric components or wires to printed circuits by soldering
    • H05K3/3405Edge mounted components, e.g. terminals
    • HELECTRICITY
    • H01ELECTRIC ELEMENTS
    • H01RELECTRICALLY-CONDUCTIVE CONNECTIONS; STRUCTURAL ASSOCIATIONS OF A PLURALITY OF MUTUALLY-INSULATED ELECTRICAL CONNECTING ELEMENTS; COUPLING DEVICES; CURRENT COLLECTORS
    • H01R13/00Details of coupling devices of the kinds covered by groups H01R12/70 or H01R24/00 - H01R33/00
    • H01R13/46Bases; Cases
    • H01R13/52Dustproof, splashproof, drip-proof, waterproof, or flameproof cases
    • H01R13/5216Dustproof, splashproof, drip-proof, waterproof, or flameproof cases characterised by the sealing material, e.g. gels or resins
    • HELECTRICITY
    • H05ELECTRIC TECHNIQUES NOT OTHERWISE PROVIDED FOR
    • H05KPRINTED CIRCUITS; CASINGS OR CONSTRUCTIONAL DETAILS OF ELECTRIC APPARATUS; MANUFACTURE OF ASSEMBLAGES OF ELECTRICAL COMPONENTS
    • H05K5/00Casings, cabinets or drawers for electric apparatus
    • H05K5/0091Housing specially adapted for small components
    • HELECTRICITY
    • H01ELECTRIC ELEMENTS
    • H01RELECTRICALLY-CONDUCTIVE CONNECTIONS; STRUCTURAL ASSOCIATIONS OF A PLURALITY OF MUTUALLY-INSULATED ELECTRICAL CONNECTING ELEMENTS; COUPLING DEVICES; CURRENT COLLECTORS
    • H01R13/00Details of coupling devices of the kinds covered by groups H01R12/70 or H01R24/00 - H01R33/00
    • H01R13/40Securing contact members in or to a base or case; Insulating of contact members
    • H01R13/405Securing in non-demountable manner, e.g. moulding, riveting
    • HELECTRICITY
    • H01ELECTRIC ELEMENTS
    • H01RELECTRICALLY-CONDUCTIVE CONNECTIONS; STRUCTURAL ASSOCIATIONS OF A PLURALITY OF MUTUALLY-INSULATED ELECTRICAL CONNECTING ELEMENTS; COUPLING DEVICES; CURRENT COLLECTORS
    • H01R43/00Apparatus or processes specially adapted for manufacturing, assembling, maintaining, or repairing of line connectors or current collectors or for joining electric conductors
    • H01R43/20Apparatus or processes specially adapted for manufacturing, assembling, maintaining, or repairing of line connectors or current collectors or for joining electric conductors for assembling or disassembling contact members with insulating base, case or sleeve
    • H01R43/24Assembling by moulding on contact members
    • HELECTRICITY
    • H05ELECTRIC TECHNIQUES NOT OTHERWISE PROVIDED FOR
    • H05KPRINTED CIRCUITS; CASINGS OR CONSTRUCTIONAL DETAILS OF ELECTRIC APPARATUS; MANUFACTURE OF ASSEMBLAGES OF ELECTRICAL COMPONENTS
    • H05K2201/00Indexing scheme relating to printed circuits covered by H05K1/00
    • H05K2201/10Details of components or other objects attached to or integrated in a printed circuit board
    • H05K2201/10227Other objects, e.g. metallic pieces
    • H05K2201/10287Metal wires as connectors or conductors
    • HELECTRICITY
    • H05ELECTRIC TECHNIQUES NOT OTHERWISE PROVIDED FOR
    • H05KPRINTED CIRCUITS; CASINGS OR CONSTRUCTIONAL DETAILS OF ELECTRIC APPARATUS; MANUFACTURE OF ASSEMBLAGES OF ELECTRICAL COMPONENTS
    • H05K2201/00Indexing scheme relating to printed circuits covered by H05K1/00
    • H05K2201/10Details of components or other objects attached to or integrated in a printed circuit board
    • H05K2201/10227Other objects, e.g. metallic pieces
    • H05K2201/10386Clip leads; Terminals gripping the edge of a substrate
    • HELECTRICITY
    • H05ELECTRIC TECHNIQUES NOT OTHERWISE PROVIDED FOR
    • H05KPRINTED CIRCUITS; CASINGS OR CONSTRUCTIONAL DETAILS OF ELECTRIC APPARATUS; MANUFACTURE OF ASSEMBLAGES OF ELECTRICAL COMPONENTS
    • H05K2201/00Indexing scheme relating to printed circuits covered by H05K1/00
    • H05K2201/10Details of components or other objects attached to or integrated in a printed circuit board
    • H05K2201/10613Details of electrical connections of non-printed components, e.g. special leads
    • H05K2201/10954Other details of electrical connections
    • H05K2201/10962Component not directly connected to the PCB
    • HELECTRICITY
    • H05ELECTRIC TECHNIQUES NOT OTHERWISE PROVIDED FOR
    • H05KPRINTED CIRCUITS; CASINGS OR CONSTRUCTIONAL DETAILS OF ELECTRIC APPARATUS; MANUFACTURE OF ASSEMBLAGES OF ELECTRICAL COMPONENTS
    • H05K2201/00Indexing scheme relating to printed circuits covered by H05K1/00
    • H05K2201/10Details of components or other objects attached to or integrated in a printed circuit board
    • H05K2201/10613Details of electrical connections of non-printed components, e.g. special leads
    • H05K2201/10954Other details of electrical connections
    • H05K2201/10977Encapsulated connections

Landscapes

  • Engineering & Computer Science (AREA)
  • Microelectronics & Electronic Packaging (AREA)
  • Chemical & Material Sciences (AREA)
  • Dispersion Chemistry (AREA)
  • Manufacturing & Machinery (AREA)
  • Connector Housings Or Holding Contact Members (AREA)
  • Casings For Electric Apparatus (AREA)

Description

本発明は、回路基板とこれを収納するケースと入出力用のリード線とを備えた電子部品係り、特に、樹脂の充填により、ケースにリード線を固定する構成を有する電子部品に関する。
回路基板をケースに収納し、外部との電気的接続を行うリード線を備えた電子部品の一例として、特許文献1に記載されたものがある。
この電子部品は、電線に流れる電流を検出する電流センサであり、ケース内に収納された回路基板に直接はんだ付けされた屈曲性を有する所謂リード線をケース外に引き出し、外部の機器等に接続できるようにしたものである。
この例では、リード線と回路基板との接続作業において、基板に設けた端子にリードをからげたり、基板に設けた貫通孔にリード線のリードを挿通する必要があって、作業性が良いものではなかった。
そのため、作業性向上のため、回路基板にまずクリップタイプのリード(以下クリップリードと称する)を接続し、このクリップリードの一方の端部にリード線のリードを圧着接続した電子部品がある。回路基板にクリップリードを接続した一例として、特許文献2に記載されたものがある。
実開平7−36071号公報 特開平5−55432号公報
ところで、電子部品に対しては、より安価で小型化したものが求められている。
また、電気を動力として利用した小型輸送車両(例えばハイブリッドカー)が普及するに伴い、耐振動性や耐衝撃性により優れ、信頼性の高い電子部品が要望されている。これは上述の電流センサについてももちろん同様である。
そのため、電子部品を外部機器等に接続するために引き出したリード線に対して、振動や衝撃等により引張り方向の外力が加わった場合に、基板とクリップリードとの接続部や、クリップリードとリード線との接続部に応力が集中して接続不良を発生する場合があった。
特に、後者は前者より接続強度が弱く、不良が発生する頻度が高かった。
そこで、図のように、このクリップリード102とリード線103との接続部106をエポキシ等の充填樹脂107で被覆してケース104に固着する構造が考えられたが、この方法では、エポキシ樹脂107を被覆する際に必要以外の部分にエポキシ樹脂107が流れ、この樹脂の硬化後に残留応力が残存したり、残留応力の分布が一様にならないことから、歪みや割れが生じて不良となる場合があった。
また、被覆量が制御できずに必要以上の多量の樹脂で被覆してしまうという問題があった。
さらに、被覆態様がばらつき、その結果、接続部の強度がばらつき、高い信頼性が得られないという問題があった。
そこで本発明が解決しようとする課題は、リード線を被覆する樹脂が不要部分に流れて発生する不良がなく、適量の樹脂で確実に被覆可能で、高い信頼性が得られる電子部品を提供することにある。
上記の課題を解決するために、本願発明は手段として次の構成を有する。
即ち、請求項1に係る発明は、回路基板(3)と、一端が前記回路基板(3)に接続するリード端子(9)と、一端が前記リード端子(9)の他端側に接続するリード線(8)とを順次配列し、前記回路基板(3)と前記リード端子(9)とをケース(6)内に収納すると共に、前記リード線(8)の他端側を前記ケース外に引き出して成る電子部品であって、
前記ケース(6)に、該ケース(6)内に収納される前記リード端子(9)の他端側と前記リード線(8)の一端側との接続部(8e)を固定する樹脂(10)を充填する樹脂充填部(6B)を形成し、前記リード端子(9)を、前記樹脂充填部(6B)の壁(6b3)を跨いで配置すると共に、前記接続部(8e)及びその近傍を前記樹脂(10)中に固定して成ることを特徴とする電子部品(50)である。
また、請求項2に係る発明は、回路基板(3)と、一端が前記回路基板(3)に接続するリード端子と、一端が前記リード端子の他端側に接続するリード線とを順次配列し、前記回路基板(3)と前記リード端子(9)とをケース(6)内に収納すると共に、前記リード線の他端側を前記ケース(6)外に引き出して成る電子部品であって、
前記ケース(6)に、該ケース(6)内に収納される前記リード端子(9)の他端側と前記リード線の一端側との接続部(8e)を固定する樹脂(10)を充填する樹脂充填部(6B)を形成し、前記リード端子(9)を、前記樹脂充填部(6B)の壁(6b3)に設けた貫通孔(6f)に挿通させると共に、前記接続部(8e)及びその近傍を前記樹脂(10)中に固定して成ることを特徴とする電子部品である。
本願発明によれば、リード線を被覆する樹脂が不要部分に流れて不良が発生することがなく、リード線の被覆が適量の樹脂で確実に行え、高い信頼性が得られるという効果を奏する。
本発明の実施の形態を、好ましい実施例により図1〜図8を用いて説明する。
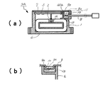
図1は、本発明の電子部品の第1実施例を示す図であり、図1(a)は断面図、図1(b)は斜視図である。
図2は、本発明の電子部品の第1実施例における組立方法を説明する組立図であり
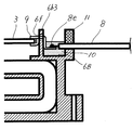
図3は、本発明の電子部品の第1実施例における要部を説明する部分拡大図であり、
図4は、本発明の電子部品の第1実施例における変形例を説明する断面図であり、
図5は、本発明の電子部品の第1実施例における他の変形例を説明する断面図であり、
図6は、本発明の電子部品の第1実施例における別の変形例を説明する断面図であり、
図7は、本発明の電子部品の第2実施例を示す断面図であり、
図8は、本発明の電子部品の第2実施例における変形例を説明する断面図である。
以下に詳述する本発明の電子部品の実施例は電流センサであり、図1(a),図1(b),図2,図3及び図4を用いて説明する。
図1(a)は、図2におけるA−A断面図である。
図3は、本発明の実施例の要部を一部破断した部分拡大図である。充填した樹脂10については、理解容易のために、断面のみを斑点で指示し、この樹脂10に没した部分がわかるように示している。
この電流センサは、大電流の流れる電流路に負荷を与えずに正確な電流値を測定できるセンサであり、具体的には、図1(a)に示すように、磁気ギャップ1Aを有する略環状の磁気コア1の磁気ギャップ1間に、回路基板3に実装したホール素子2を配置し、磁気コア1の内部4に、被検出体である導線(図示せず)を貫通させ、この導線を流れる電流をホール素子2で検出する方式の電流センサ50である。
この電流センサ50の第1実施例について説明する。
電流センサ50は、回路が形成されて実装部品やホール素子2を実装した回路基板3と磁気コア1とを収納する、天面(図1(a)の上側)及び正面(図1(a)の手前側)が開放した略箱状の収納ケース6と、この収納ケース6にその開放面を覆うように装着される略L字状の蓋部7とを備えている。
収納ケース6及び蓋部7は、PBT(ポリブチレンテレフタレート)等の樹脂で形成することができる。
収納ケース6の対向する側面6s1,6s3の下方側には、この電流センサを図示しない外部機器にねじ等で装着するための装着部6a,6bが設けられている。
一方、右側面6s3の上方側には、外部との電気的入出力を行うリード線の引き出し部6Cが突出して形成されており、この引き出し部6Cから、先端がコネクタ8dに接続された3本のリード線8が引き出されている。
収納ケース6の内部には、背面6s4から略矩形で環状の磁気コアガイド6Aが図1(a)の手前側に突出するように形成されている。そして、この磁気コアガイド6Aの外側には、磁気コア1が磁気ギャップ1Aを上側に向けて挿着されている。この磁気コア1は、パーマロイの薄板を所定形状に打ち抜いたものを積層して形成される。
磁気コアガイド6Aの内面の形状にほぼ対応するように、蓋部7には開口部7aが設けられている。この開口部7aと磁気コアガイド6Aとで形成された空洞部4中に被検出体である電線等が挿通される。
収納ケース6の内部の上方には、収納ケース6の左側面6s1の内面に凹部として形成された基板保持部6d等の保持手段により、回路基板3が保持されている。図1(a)において、基板保持部6d以外の保持手段は省略されている。
この回路基板3の保持位置は、実装されたホール素子2が磁気ギャップ1A内に配置されるように設定されている。
回路基板3の一方の端部3a近傍の両面には3対のランド3bが設けられており、それぞれにクリップリード9がはんだ付けにより接続されている(図2も参照)。
クリップリード9は、銅―ニッケル合金,鉄−ニッケル合金あるいは真鍮等の金属により形成され、一方の先端に回路基板3と強嵌合が可能なように二股に分かれた挟持部9aを有しており、その挟持部9aに回路基板3を挟持させることでランド3bとの接続が強固に確実に行えるものである。
また、クリップリード9の中間部分には、略コ字状に折り曲げられた屈曲部9bが形成され、挟持部9aの反対側端部は、リード線8のリードがはんだ付けにより接続されている。この部分を接続部8eと称する。
収納ケース6の内部の、側面6s3側の上方には、背面6s4の一部を含んで壁部6b1〜6b4と底部6b5が形成されており、これらの壁部6b1〜6b4と底部6b5とで囲まれた空間として樹脂充填部6Bが形成される。
この樹脂充填部6Bにおける回路基板3側の壁部6b3の上端部6b3aに、クリップリード9の屈曲部9bの内面が係合し、クリップリード9は、この壁部6b3を乗り越えて跨ぐように配置される。
この状態で、クリップリード9とリード線8とが接続する接続部8eは、樹脂充填部6B内に配置される。
そして、この樹脂充填部6Bにエポキシ系の樹脂10が充填硬化しており、接続部8eとその近傍は、この樹脂10中に完全に没して被覆されると共に収納ケース6と一体化されている。
樹脂充填部6Bのリード線引き出し部6c側の壁部6b1には、リード線8のそれぞれをガイドする半円状の凹部6eが形成されており、リード線8が略強嵌合状態で係合する。
一方、樹脂充填部6Bの上方側には、リード線8を挟み込んで押さえるための略コ字状の押さえフレーム11が装着されている。
この押さえフレーム11は、壁部6b3,6b2に形成された切り欠き部6b3b,6b2bと強嵌合し、この嵌合状態で、壁部6b1の凹部6eと、これに対向するように押さえフレーム11に設けられた凹部11eとでリード線8は挟み込まれて保持される。
リード線8は弾力性のある絶縁被覆で覆われ屈曲自在な柔軟性を有するものである。そして、この弾力性のある絶縁被覆が挟持されているので、凹部6e,11eとの隙間はなく、樹脂充填時に樹脂10がここから漏れることはない。
蓋部7は、図示しない係合手段により収納ケース6と係合し、これに装着されている。
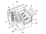
次に、上述した電流センサ50の組立工程について図2を用いて詳述する。
組立は次の一連の工程により行われるが、これは一例であり、この一連の工程に限るものではない。
(工程1)ホール素子2が実装された回路基板3に屈曲部9bが形成されたクリップリード9をはんだ付けし、クリップリード9にリード線8をはんだ付けして3者を電気的に接続する。
(工程2)磁気ギャップ1Aを有する略環状の磁気コア1を収納ケース6の磁気コアガイド6Aに当図の矢印方向から挿着する。さらに、この磁気コア1と収納ケース6とを接着剤により固定してもよい。
(工程3)図の上方から回路基板3を回路基板保持部6d等の保持手段を介して装着する。その際、クリップリード9の屈曲部9bの内面を樹脂充填部6Bの壁部6b3に係合させ、リード線8の絶縁被覆部を壁部6b1の凹部6eに係合させる。
(工程4)図の上方から押さえフレーム11を樹脂充填部6Bに、切り欠き部6b3a,6b2aと強嵌合させるようにして装着する。これによりリード線8は、壁部6b1と押さえフレーム11とで隙間無く挟持される。
(工程5)樹脂充填部6Bに樹脂10を充填して硬化させる。これにより、クリップリード9とリード線8との接続部8e近傍が樹脂10内に完全に没して被覆され、収納ケース6と一体化する。充填に使用する樹脂としてエポキシ系が使用できるが、これに限るものではない。
(工程6)収納ケース6に蓋部7を装着する。
以上の工程により、電流センサ50が組み立てられる。
上述した実施例の回路部品は、略箱状の充填部6Bに樹脂10が充填されるので、他の部分に樹脂が流れて不良を発生させることがなく、所定の樹脂充填量で確実にリード線8の被覆が可能である。
また、クリップリード9を、充填部6Bの壁6b3を乗り越えるように屈曲部9bを設けて装着しているので、樹脂10が壁6b3側から漏れることがない。
また、屈曲部9bの屈曲形状を、回路基板3の図1(a)の上下方向保持位置に応じて最適な形状に形成することで、各部品の形状や内部のレイアウトを最適化することができる。
特に、回路部品が電流センサである場合、磁気コア1が回路基板3に対して大きいのが一般的であるから、図1(a)に示したように、磁気ギャップ1Aを上方に向けて磁気コア1を配置し、その上方に回路基板3と充填部6Bとを並列配置する構成が最も小型化が可能で好ましい形態である。
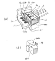
この形態で、クリップリード9の、上述の実施例で略コ字状に屈曲させた屈曲部9bを、L字状に形成したクリップリード90として充填部6Bの壁6b3に係合させた電流センサ50Aとしてもよい。これを図4(a)に示す。
この場合は、回路基板3と磁気コア1との間隔を広くできるので、基板に搭載する部品の高さが高い場合に好適である。また、搭載する部品の高さが低い場合には、より小型化が可能な屈曲部9bをコ字状にする形態が好ましい。
また、壁6b3の上端部6b3aに、クリップリード9の屈曲部9bの幅と厚さに合わせて凹部6b3cを形成し、その凹部6b3cに屈曲部9bを嵌合させるようにしてもよい。図5(A)はその斜視図であり、図5(B)は、屈曲部9bを部分的に切断して凹部6b3cをより明らかにした部分拡大斜視図である。
これにより、クリップリード9の位置が精度よく簡単に決まり、組み立てが容易になると共に位置のばらつきが無くなり、電子部品の品質が向上する。
次に、電流センサの第2実施例について説明する。
この第2実施例は、第1実施例においてクリップリード9が壁部6b3の上端部6b3aを乗り越えて跨ぐように配置したのに対して、クリップリード9が壁部6b3に設けた貫通孔を挿通するように構成したものである。
この詳細を図7,図8を用いて説明する。ただし、第1実施例と同じ部分については、重複するので説明を省略する。
図7において、樹脂充填部6Bの壁部6b3には貫通孔6fが形成され、この貫通孔6fにクリップリード9が挿通されている。
貫通孔6fを挿通したクリップリード9は、充填部6B内でその底面に向かって折れ曲がり、リード線8と接続部8eで接続されている。
充填部6Bには、接続部8eとその近傍を完全に没して被覆するものの貫通孔6fには達しない量の樹脂10が充填硬化される。
また、この第2実施例の変形例を図8に示す。
図8に示すように、この変形例は、樹脂充填部6Bの壁部6b3に貫通孔6fが形成され、この貫通孔6fにクリップリード9が挿通されているところは第2実施例と同様であるが、充填部6B内で折れ曲がることなくリード線8と接続部8eで接続されているものである。
充填部6Bには、接続部8eとその近傍を完全に没して被覆するように樹脂10が充填硬化されている。
ところで、貫通孔6fは円形であり、クリップリード9の断面は通常矩形であるので、両者間には隙間が生じる。
そこで、樹脂充填時にこの隙間から樹脂10が洩れ出さないように、その充填前に隙間を封止剤12で封止してある。
この封止剤として粘度の比較的高いUV硬化型接着剤を用いることができる。その場合、UV硬化型接着剤を塗布し紫外線を所定量照射してこれを硬化させた後、樹脂10を充填部6Bに充填すればよい。
封止剤はこれに限定されるものではなく、その硬化システムもUV照射に限るものではない。もちろん、充填する樹脂10を用いてもよい。
これにより、基板3の位置とリード8の位置をほぼ同一平面上に配置することができ、その位置を充填部6の底部6b5に接近させることで、充填部6Bに充填する樹脂10の量を極めて少なくすることができると共に、充填部6Bの深さをより浅くすることができ、電子部品の更なる小型化が可能となる。
これは、隙間を封止剤12で封止する工程と、充填部6Bに樹脂10を充填する工程とを分離することで実現するものである。
さて、本発明の各実施例は、上述した構成に限定されるものではなく、本発明の要旨を逸脱しない範囲において例えば下記のような変形例としてもよいものである。
リード線8の引き出しは、凹部6e,11eで挟持する形態でなくてもよい。
収納ケースの側面6s3の上端を充填する樹脂10の表面よりも高くなるように延長して形成し、それを乗り越えるようにリード線8を略コ字状に屈曲させて引き出してもよい。この場合は、フレーム11が不要となる〔図4(b)参照〕。
クリップリードの替わりにクリップ機能のない周知のリード端子を基板のランドに半田により接続して用いてもよい。
クリップリード9における屈曲部9bから基板3のランド3bに達するまでの部分は、壁6b3の面に沿った自由な形状にすることができる。
各実施例では水平に配置した基板を説明しているが、例えば垂直に配置した場合は、図6に示すように、方向変換部9dを設け、壁6b3に沿って折れ曲がる形状にしてもよい。
本発明は、上述した各実施例で説明した電流センサ50に限って適用可能なものではなく、電力センサや光センサ等の電子部品に適用可能である。
即ち、回路基板とこれを収納するケースと入出力のためのリード線とを備えた電子部品に適用可能なものである。
本発明の電子部品の第1実施例を示す図であり、図1(a)は断面図、図1 (b)は斜視図である。 本発明の電子部品の第1実施例における組立方法を説明する組立図である。 本発明の電子部品の第1実施例における要部を説明する部分拡大図である。 本発明の電子部品の第1実施例における変形例を説明する断面図である。 本発明の電子部品の第1実施例における他の変形例を説明する断面図である。 本発明の電子部品の第1実施例における別の変形例を説明する断面図である。 本発明の電子部品の第2実施例を示す断面図である。 本発明の電子部品の第2実施例における変形例を説明する断面図である。 従来の電子部品を説明する断面図である。
符号の説明
1 磁気コア
1A 磁気ギャップ
2 ホール素子
3 回路基板
3a 端部
3b ランド
4 空洞
6 収納ケース
6A 磁気コアガイド
6B (樹脂)充填部
6s1〜6s4 側面
6a,6b 取り付け部
6c リード線引き出し部
6d 基板保持部
6b1〜6b4 (充填部6Bの)壁部
6b5 (充填部6Bの)底部
6b3a (壁部6b3の)上端部
6b3b,6b2b 切り欠き部
6e,11e 凹部
6f 貫通
7 蓋部
7a 開口部
8 リード線
8d コネクタ
8e 接続部
9 クリップリード
9a 挟持部
9b 屈曲部
9d 方向変換部
10 樹脂
11 押さえフレーム
12 封止剤(UV接着剤)
50,50A 電子部品(電流センサ)

Claims (2)

  1. 回路基板と、一端が前記回路基板に接続するリード端子と、一端が前記リード端子の他端側に接続するリード線とを順次配列し、
    前記回路基板と前記リード端子とをケース内に収納すると共に、前記リード線の他端側を前記ケース外に引き出して成る電子部品であって、
    前記ケースに、該ケース内に収納される前記リード端子の他端側と前記リード線の一端側との接続部を固定する樹脂を充填する樹脂充填部を形成し、
    前記リード端子を、前記樹脂充填部の壁を跨いで配置すると共に、前記接続部及びその近傍を前記樹脂中に固定して成ることを特徴とする電子部品。
  2. 回路基板と、一端が前記回路基板に接続するリード端子と、一端が前記リード端子の他端側に接続するリード線とを順次配列し、
    前記回路基板と前記リード端子とをケース内に収納すると共に、前記リード線の他端側を前記ケース外に引き出して成る電子部品であって、
    前記ケースに、該ケース内に収納される前記リード端子の他端側と前記リード線の一端側との接続部を固定する樹脂を充填する樹脂充填部を形成し、
    前記リード端子を、前記樹脂充填部の壁に設けた貫通孔に挿通させると共に、前記接続部及びその近傍を前記樹脂中に固定して成ることを特徴とする電子部品。
JP2004112860A 2003-05-30 2004-04-07 電子部品 Expired - Lifetime JP4207828B2 (ja)

Priority Applications (2)

Application Number Priority Date Filing Date Title
JP2004112860A JP4207828B2 (ja) 2003-05-30 2004-04-07 電子部品
US10/853,125 US7002807B2 (en) 2003-05-30 2004-05-26 Electronic component

Applications Claiming Priority (2)

Application Number Priority Date Filing Date Title
JP2003154299 2003-05-30
JP2004112860A JP4207828B2 (ja) 2003-05-30 2004-04-07 電子部品

Publications (2)

Publication Number Publication Date
JP2005019959A JP2005019959A (ja) 2005-01-20
JP4207828B2 true JP4207828B2 (ja) 2009-01-14

Family

ID=33455576

Family Applications (1)

Application Number Title Priority Date Filing Date
JP2004112860A Expired - Lifetime JP4207828B2 (ja) 2003-05-30 2004-04-07 電子部品

Country Status (2)

Country Link
US (1) US7002807B2 (ja)
JP (1) JP4207828B2 (ja)

Families Citing this family (13)

* Cited by examiner, † Cited by third party
Publication number Priority date Publication date Assignee Title
US7573159B1 (en) 2001-10-22 2009-08-11 Apple Inc. Power adapters for powering and/or charging peripheral devices
JP4877455B2 (ja) * 2005-03-28 2012-02-15 ミツミ電機株式会社 二次電池保護モジュールおよびリード実装方法
JP4929659B2 (ja) * 2005-09-26 2012-05-09 株式会社ジェイテクト 電子制御装置
ATE397310T1 (de) * 2005-11-01 2008-06-15 Black & Decker Inc Kodiereinheit mit widerständen für einen kabelbaum
DE102007031727A1 (de) * 2006-08-31 2008-03-20 Zf Friedrichshafen Ag Verbindungselement zum Verbinden von elektrischen Leitern
JP5202172B2 (ja) * 2008-08-06 2013-06-05 富士通コンポーネント株式会社 メモリカード用コネクタ
US8815439B2 (en) * 2010-04-13 2014-08-26 Samsung Sdi Co., Ltd. Secondary battery pack
US20130081845A1 (en) * 2011-09-30 2013-04-04 Edward Siahaan Housing for electronic components
JP5966154B2 (ja) * 2012-12-21 2016-08-10 パナソニックIpマネジメント株式会社 電動送風機及びそれを用いた電気掃除機
US10136533B2 (en) * 2014-02-18 2018-11-20 Continental Teves Ag & Co. Ohg Method of producing a potted electronic module
ITUB20159751A1 (it) * 2015-12-30 2017-06-30 Johnson Electric Asti S R L Cablaggio con connettore integrato, particolarmente per autoveicoli.
JP6974381B2 (ja) * 2019-03-25 2021-12-01 矢崎総業株式会社 コネクタ
JP6978711B1 (ja) 2020-09-09 2021-12-08 ダイキン工業株式会社 樹脂モールドステータ、アウターロータ型モータ、送風装置、空気調和装置

Family Cites Families (10)

* Cited by examiner, † Cited by third party
Publication number Priority date Publication date Assignee Title
US4335932A (en) * 1980-02-29 1982-06-22 Amp Incorporated Elastomeric potting shell
JP2705368B2 (ja) * 1991-05-31 1998-01-28 株式会社デンソー 電子装置
US5586388A (en) * 1991-05-31 1996-12-24 Nippondenso Co., Ltd. Method for producing multi-board electronic device
US5646827A (en) * 1991-05-31 1997-07-08 Nippondenso Co., Ltd. Electronic device having a plurality of circuit boards arranged therein
EP0516149B1 (en) * 1991-05-31 1998-09-23 Denso Corporation Electronic device
JPH0555432A (ja) 1991-08-21 1993-03-05 Mitsubishi Electric Corp 集積回路基板へのクリツプリードの接続構造
JPH0736071A (ja) 1993-07-15 1995-02-07 Sony Corp 波長変換装置
DE69508911T2 (de) * 1994-11-28 1999-10-07 Kabushiki Kaisha Toshiba, Kawasaki Gehäuse mit elektromagnetischer Abschirmung
JP2794558B2 (ja) * 1996-06-27 1998-09-10 日本航空電子工業株式会社 電子機器
JP4234259B2 (ja) * 1999-05-14 2009-03-04 富士通テン株式会社 電子機器の組合せ構造

Also Published As

Publication number Publication date
US20040240187A1 (en) 2004-12-02
JP2005019959A (ja) 2005-01-20
US7002807B2 (en) 2006-02-21

Similar Documents

Publication Publication Date Title
JP4207828B2 (ja) 電子部品
JP5894735B2 (ja) 積層磁気コアを有する電流センサー
JP4424412B2 (ja) 電流センサ
JP4475160B2 (ja) 電子装置の製造方法
JP4301048B2 (ja) 圧力センサおよびその製造方法
CN108605420A (zh) 电路结构体以及电连接箱
CN1957261A (zh) 电流传感器
CN108054456A (zh) 电池状态检测装置
JP4382546B2 (ja) キャパシタの実装構造
JP2019036528A (ja) 電気接続構造及びその製造方法
JP2007281127A (ja) コンデンサを備える回路装置及びコンデンサモジュール
JP5590699B2 (ja) 電流検出装置の組付け構造
CN109036815A (zh) 电抗器
JP2009150653A (ja) 電流センサ
JP2010071724A (ja) 樹脂モールド半導体センサ及び製造方法
CN104620100B (zh) 电位传感器元件及其生产方法
US20180370460A1 (en) Electronic component unit, wire harness, and connector fixing structure
JP2015159224A (ja) センサ構造
CN1983484A (zh) 带开关件和电子部件的开关设备及该设备的辅助电子电路
CN118647569A (zh) 用于壳体的装配装置以及制造方法
JP2019095387A (ja) 流量計
JP2005308526A (ja) 電流センサ
JP2023068290A (ja) 電気装置
JP5720450B2 (ja) 圧力センサおよび圧力センサの取り付け構造
CN114079188B (zh) 内壳组装时的基板保护结构

Legal Events

Date Code Title Description
A621 Written request for application examination

Free format text: JAPANESE INTERMEDIATE CODE: A621

Effective date: 20060630

A131 Notification of reasons for refusal

Free format text: JAPANESE INTERMEDIATE CODE: A131

Effective date: 20080627

A521 Request for written amendment filed

Free format text: JAPANESE INTERMEDIATE CODE: A523

Effective date: 20080819

TRDD Decision of grant or rejection written
A01 Written decision to grant a patent or to grant a registration (utility model)

Free format text: JAPANESE INTERMEDIATE CODE: A01

Effective date: 20080930

A01 Written decision to grant a patent or to grant a registration (utility model)

Free format text: JAPANESE INTERMEDIATE CODE: A01

A61 First payment of annual fees (during grant procedure)

Free format text: JAPANESE INTERMEDIATE CODE: A61

Effective date: 20081013

R151 Written notification of patent or utility model registration

Ref document number: 4207828

Country of ref document: JP

Free format text: JAPANESE INTERMEDIATE CODE: R151

FPAY Renewal fee payment (event date is renewal date of database)

Free format text: PAYMENT UNTIL: 20111031

Year of fee payment: 3

FPAY Renewal fee payment (event date is renewal date of database)

Free format text: PAYMENT UNTIL: 20121031

Year of fee payment: 4

FPAY Renewal fee payment (event date is renewal date of database)

Free format text: PAYMENT UNTIL: 20121031

Year of fee payment: 4

S111 Request for change of ownership or part of ownership

Free format text: JAPANESE INTERMEDIATE CODE: R313111

FPAY Renewal fee payment (event date is renewal date of database)

Free format text: PAYMENT UNTIL: 20121031

Year of fee payment: 4

R350 Written notification of registration of transfer

Free format text: JAPANESE INTERMEDIATE CODE: R350

FPAY Renewal fee payment (event date is renewal date of database)

Free format text: PAYMENT UNTIL: 20131031

Year of fee payment: 5

EXPY Cancellation because of completion of term