JP4166982B2 - セーバソー - Google Patents

セーバソー Download PDF

Info

Publication number
JP4166982B2
JP4166982B2 JP2002005495A JP2002005495A JP4166982B2 JP 4166982 B2 JP4166982 B2 JP 4166982B2 JP 2002005495 A JP2002005495 A JP 2002005495A JP 2002005495 A JP2002005495 A JP 2002005495A JP 4166982 B2 JP4166982 B2 JP 4166982B2
Authority
JP
Japan
Prior art keywords
knob
plunger
blade
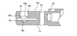
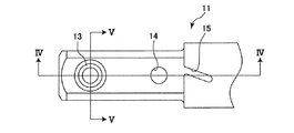
saver saw
locking member
Prior art date
Legal status (The legal status is an assumption and is not a legal conclusion. Google has not performed a legal analysis and makes no representation as to the accuracy of the status listed.)
Expired - Fee Related
Application number
JP2002005495A
Other languages
English (en)
Japanese (ja)
Other versions
JP2003205423A (ja
JP2003205423A5 (enExample
Inventor
和信 吉村
友一 佐藤
俊彦 立花
Current Assignee (The listed assignees may be inaccurate. Google has not performed a legal analysis and makes no representation or warranty as to the accuracy of the list.)
Koki Holdings Co Ltd
Original Assignee
Hitachi Koki Co Ltd
Priority date (The priority date is an assumption and is not a legal conclusion. Google has not performed a legal analysis and makes no representation as to the accuracy of the date listed.)
Filing date
Publication date
Application filed by Hitachi Koki Co Ltd filed Critical Hitachi Koki Co Ltd
Priority to JP2002005495A priority Critical patent/JP4166982B2/ja
Priority to US10/338,674 priority patent/US6893026B2/en
Publication of JP2003205423A publication Critical patent/JP2003205423A/ja
Publication of JP2003205423A5 publication Critical patent/JP2003205423A5/ja
Application granted granted Critical
Publication of JP4166982B2 publication Critical patent/JP4166982B2/ja
Anticipated expiration legal-status Critical
Expired - Fee Related legal-status Critical Current

Links

Images

Classifications

    • BPERFORMING OPERATIONS; TRANSPORTING
    • B23MACHINE TOOLS; METAL-WORKING NOT OTHERWISE PROVIDED FOR
    • B23DPLANING; SLOTTING; SHEARING; BROACHING; SAWING; FILING; SCRAPING; LIKE OPERATIONS FOR WORKING METAL BY REMOVING MATERIAL, NOT OTHERWISE PROVIDED FOR
    • B23D51/00Sawing machines or sawing devices working with straight blades, characterised only by constructional features of particular parts; Carrying or attaching means for tools, covered by this subclass, which are connected to a carrier at both ends
    • B23D51/08Sawing machines or sawing devices working with straight blades, characterised only by constructional features of particular parts; Carrying or attaching means for tools, covered by this subclass, which are connected to a carrier at both ends of devices for mounting straight saw blades or other tools
    • B23D51/10Sawing machines or sawing devices working with straight blades, characterised only by constructional features of particular parts; Carrying or attaching means for tools, covered by this subclass, which are connected to a carrier at both ends of devices for mounting straight saw blades or other tools for hand-held or hand-operated devices
    • YGENERAL TAGGING OF NEW TECHNOLOGICAL DEVELOPMENTS; GENERAL TAGGING OF CROSS-SECTIONAL TECHNOLOGIES SPANNING OVER SEVERAL SECTIONS OF THE IPC; TECHNICAL SUBJECTS COVERED BY FORMER USPC CROSS-REFERENCE ART COLLECTIONS [XRACs] AND DIGESTS
    • Y10TECHNICAL SUBJECTS COVERED BY FORMER USPC
    • Y10STECHNICAL SUBJECTS COVERED BY FORMER USPC CROSS-REFERENCE ART COLLECTIONS [XRACs] AND DIGESTS
    • Y10S279/00Chucks or sockets
    • Y10S279/906Self grasping socket
    • YGENERAL TAGGING OF NEW TECHNOLOGICAL DEVELOPMENTS; GENERAL TAGGING OF CROSS-SECTIONAL TECHNOLOGIES SPANNING OVER SEVERAL SECTIONS OF THE IPC; TECHNICAL SUBJECTS COVERED BY FORMER USPC CROSS-REFERENCE ART COLLECTIONS [XRACs] AND DIGESTS
    • Y10TECHNICAL SUBJECTS COVERED BY FORMER USPC
    • Y10TTECHNICAL SUBJECTS COVERED BY FORMER US CLASSIFICATION
    • Y10T279/00Chucks or sockets
    • Y10T279/17Socket type
    • Y10T279/17128Self-grasping
    • Y10T279/17171One-way-clutch type
    • Y10T279/17188Side detent
    • YGENERAL TAGGING OF NEW TECHNOLOGICAL DEVELOPMENTS; GENERAL TAGGING OF CROSS-SECTIONAL TECHNOLOGIES SPANNING OVER SEVERAL SECTIONS OF THE IPC; TECHNICAL SUBJECTS COVERED BY FORMER USPC CROSS-REFERENCE ART COLLECTIONS [XRACs] AND DIGESTS
    • Y10TECHNICAL SUBJECTS COVERED BY FORMER USPC
    • Y10TTECHNICAL SUBJECTS COVERED BY FORMER US CLASSIFICATION
    • Y10T279/00Chucks or sockets
    • Y10T279/17Socket type
    • Y10T279/17761Side detent
    • YGENERAL TAGGING OF NEW TECHNOLOGICAL DEVELOPMENTS; GENERAL TAGGING OF CROSS-SECTIONAL TECHNOLOGIES SPANNING OVER SEVERAL SECTIONS OF THE IPC; TECHNICAL SUBJECTS COVERED BY FORMER USPC CROSS-REFERENCE ART COLLECTIONS [XRACs] AND DIGESTS
    • Y10TECHNICAL SUBJECTS COVERED BY FORMER USPC
    • Y10TTECHNICAL SUBJECTS COVERED BY FORMER US CLASSIFICATION
    • Y10T279/00Chucks or sockets
    • Y10T279/17Socket type
    • Y10T279/17761Side detent
    • Y10T279/17803Rotary cam sleeve
    • YGENERAL TAGGING OF NEW TECHNOLOGICAL DEVELOPMENTS; GENERAL TAGGING OF CROSS-SECTIONAL TECHNOLOGIES SPANNING OVER SEVERAL SECTIONS OF THE IPC; TECHNICAL SUBJECTS COVERED BY FORMER USPC CROSS-REFERENCE ART COLLECTIONS [XRACs] AND DIGESTS
    • Y10TECHNICAL SUBJECTS COVERED BY FORMER USPC
    • Y10TTECHNICAL SUBJECTS COVERED BY FORMER US CLASSIFICATION
    • Y10T83/00Cutting
    • Y10T83/929Tool or tool with support
    • Y10T83/9457Joint or connection
    • Y10T83/9461Resiliently biased connection

Landscapes

  • Engineering & Computer Science (AREA)
  • Mechanical Engineering (AREA)
  • Sawing (AREA)
JP2002005495A 2002-01-15 2002-01-15 セーバソー Expired - Fee Related JP4166982B2 (ja)

Priority Applications (2)

Application Number Priority Date Filing Date Title
JP2002005495A JP4166982B2 (ja) 2002-01-15 2002-01-15 セーバソー
US10/338,674 US6893026B2 (en) 2002-01-15 2003-01-09 Blade attaching and detaching mechanism

Applications Claiming Priority (1)

Application Number Priority Date Filing Date Title
JP2002005495A JP4166982B2 (ja) 2002-01-15 2002-01-15 セーバソー

Publications (3)

Publication Number Publication Date
JP2003205423A JP2003205423A (ja) 2003-07-22
JP2003205423A5 JP2003205423A5 (enExample) 2005-07-07
JP4166982B2 true JP4166982B2 (ja) 2008-10-15

Family

ID=19191114

Family Applications (1)

Application Number Title Priority Date Filing Date
JP2002005495A Expired - Fee Related JP4166982B2 (ja) 2002-01-15 2002-01-15 セーバソー

Country Status (2)

Country Link
US (1) US6893026B2 (enExample)
JP (1) JP4166982B2 (enExample)

Families Citing this family (19)

* Cited by examiner, † Cited by third party
Publication number Priority date Publication date Assignee Title
GB2407532A (en) * 2003-10-28 2005-05-04 Black & Decker Inc Clamp assembly for removably mounting a working member
US20050092156A1 (en) * 2003-10-29 2005-05-05 Credo Technology Corporation Scroll collar for reciprocating saw
US7437824B2 (en) * 2005-06-27 2008-10-21 Black & Decker Inc. Adjustable shoe assembly for a reciprocating saw
GB2431613A (en) * 2005-10-28 2007-05-02 Black & Decker Inc Blade clamp for a reciprocating saw
US8813372B2 (en) 2007-09-14 2014-08-26 Milwaukee Electric Tool Corporation Blade clamp mechanism
US8230607B2 (en) 2008-05-09 2012-07-31 Milwaukee Electric Tool Corporation Keyless blade clamp for a power tool
JP5201469B2 (ja) * 2008-09-29 2013-06-05 日立工機株式会社 セーバソー
WO2010091284A1 (en) * 2009-02-05 2010-08-12 Milwaukee Electric Tool Corporation Hand saw
US8261456B2 (en) * 2009-06-23 2012-09-11 Milwaukee Electric Tool Corporation Hand saw
JP5489070B2 (ja) * 2010-02-10 2014-05-14 日立工機株式会社 往復動工具
US8292150B2 (en) 2010-11-02 2012-10-23 Tyco Healthcare Group Lp Adapter for powered surgical devices
US9156097B2 (en) * 2012-03-20 2015-10-13 Milwaukee Electric Tool Corporation Reciprocating saw blade clamp
US10661365B2 (en) * 2016-10-11 2020-05-26 Stanley Black & Decker, Inc. Folding multi saw
US20180126470A1 (en) * 2016-11-10 2018-05-10 Milwaukee Electric Tool Corporation Blade clamp for a reciprocating power tool
KR102631964B1 (ko) * 2016-11-23 2024-01-31 엘지이노텍 주식회사 차량 주행 정보를 이용한 이미지 분석 방법, 장치, 시스템, 프로그램 및 저장 매체
JP6857536B2 (ja) * 2017-04-06 2021-04-14 株式会社やまびこ 携帯型切断機
US11065698B2 (en) 2018-06-14 2021-07-20 Milwaukee Electric Tool Corporation Blade clamp for reciprocating saw
US20240051044A1 (en) * 2022-08-11 2024-02-15 Techtronic Cordless Gp Hacksaw
CN116038023B (zh) * 2023-02-14 2024-03-19 乐清市乾丰工具有限公司 一种多功能手持式工具

Family Cites Families (11)

* Cited by examiner, † Cited by third party
Publication number Priority date Publication date Assignee Title
US316031A (en) * 1885-04-21 Connection for windmill and piston rods
US1179476A (en) * 1914-06-29 1916-04-18 George Paul Thomas Metal-punching machinery.
US4106181A (en) * 1976-08-09 1978-08-15 American Safety Equipment Corporation Quick release mechanism for oscillating saw blade
US4294013A (en) * 1980-02-25 1981-10-13 Widder Corporation Portable hacksaw
NL9201371A (nl) * 1992-07-29 1994-02-16 Emerson Electric Co Zaagbladfixatie-inrichting.
US5575071A (en) 1994-01-19 1996-11-19 Porter-Cable Corporation Toolless quickchange blade clamp for reciprocating saws
US5443276A (en) 1994-07-22 1995-08-22 S-B Power Tool Company Self-locking blade holder
US5647133A (en) 1995-06-09 1997-07-15 Black & Decker Inc. Saw blade clamping arrangement for a power tool
DE19737236A1 (de) * 1997-08-27 1999-03-11 Scintilla Ag Einspannvorrichtung für Sägeblätter
JP3858529B2 (ja) 1998-10-23 2006-12-13 日立工機株式会社 セーバソーのブレード着脱機構
US6112420A (en) * 1999-08-10 2000-09-05 S-B Power Tool Company Blade clamp for reciprocating saw

Also Published As

Publication number Publication date
US20030132581A1 (en) 2003-07-17
US6893026B2 (en) 2005-05-17
JP2003205423A (ja) 2003-07-22

Similar Documents

Publication Publication Date Title
JP4166982B2 (ja) セーバソー
US7040023B2 (en) Toolless blade holder for a reciprocating tool
US10179400B2 (en) Power tool
CA2850613C (en) Accessory clamp for a power tool
US7344054B2 (en) Power tool
US6276065B1 (en) Blade attaching and detaching mechanism for a saber saw
US8827004B2 (en) Power tool having off-lock member
JP4287829B2 (ja) ターニングセンターの工具取付装置を用いた工具取付方法
CN118577870A (zh) 电动工具
JP2011143526A (ja) 切断作業工具
CA2546135A1 (en) Saw blade clamping mechanism for a power tool
CN114643380B (zh) 压力器件控制的具有刀具定心的锪孔工具
JP4051895B2 (ja) セーバソー
CN117620978A (zh) 冲击工具用辅助手柄和冲击工具
CN212420799U (zh) 一种可旋转式角磨机
JP5311284B2 (ja) セーバソー
JP5381173B2 (ja) 携帯用切断機
JP5489070B2 (ja) 往復動工具
JP2004098664A (ja) 切断工具
JP2011143525A (ja) 切断作業工具
JP4621489B2 (ja) 工具保持装置
JP2005161461A (ja) 面取り刃付きドリル
JP2018016014A (ja) 切断機
JP2024141955A (ja) 携帯用加工機
CN120861929A (zh) 手持式电动工具

Legal Events

Date Code Title Description
A521 Request for written amendment filed

Free format text: JAPANESE INTERMEDIATE CODE: A523

Effective date: 20041027

A621 Written request for application examination

Free format text: JAPANESE INTERMEDIATE CODE: A621

Effective date: 20041027

A977 Report on retrieval

Free format text: JAPANESE INTERMEDIATE CODE: A971007

Effective date: 20061220

A131 Notification of reasons for refusal

Free format text: JAPANESE INTERMEDIATE CODE: A131

Effective date: 20070116

A521 Request for written amendment filed

Free format text: JAPANESE INTERMEDIATE CODE: A523

Effective date: 20070315

A02 Decision of refusal

Free format text: JAPANESE INTERMEDIATE CODE: A02

Effective date: 20070515

A521 Request for written amendment filed

Free format text: JAPANESE INTERMEDIATE CODE: A523

Effective date: 20080624

A01 Written decision to grant a patent or to grant a registration (utility model)

Free format text: JAPANESE INTERMEDIATE CODE: A01

A61 First payment of annual fees (during grant procedure)

Free format text: JAPANESE INTERMEDIATE CODE: A61

Effective date: 20080731

R150 Certificate of patent or registration of utility model

Free format text: JAPANESE INTERMEDIATE CODE: R150

Ref document number: 4166982

Country of ref document: JP

Free format text: JAPANESE INTERMEDIATE CODE: R150

FPAY Renewal fee payment (event date is renewal date of database)

Free format text: PAYMENT UNTIL: 20110808

Year of fee payment: 3

FPAY Renewal fee payment (event date is renewal date of database)

Free format text: PAYMENT UNTIL: 20110808

Year of fee payment: 3

FPAY Renewal fee payment (event date is renewal date of database)

Free format text: PAYMENT UNTIL: 20120808

Year of fee payment: 4

FPAY Renewal fee payment (event date is renewal date of database)

Free format text: PAYMENT UNTIL: 20130808

Year of fee payment: 5

FPAY Renewal fee payment (event date is renewal date of database)

Free format text: PAYMENT UNTIL: 20140808

Year of fee payment: 6

S533 Written request for registration of change of name

Free format text: JAPANESE INTERMEDIATE CODE: R313533

R350 Written notification of registration of transfer

Free format text: JAPANESE INTERMEDIATE CODE: R350

LAPS Cancellation because of no payment of annual fees