JP4101323B2 - 医療用チューブ - Google Patents

医療用チューブ Download PDF

Info

Publication number
JP4101323B2
JP4101323B2 JP09708497A JP9708497A JP4101323B2 JP 4101323 B2 JP4101323 B2 JP 4101323B2 JP 09708497 A JP09708497 A JP 09708497A JP 9708497 A JP9708497 A JP 9708497A JP 4101323 B2 JP4101323 B2 JP 4101323B2
Authority
JP
Japan
Prior art keywords
balloon
shaft tube
cylindrical
medical
circumferential direction
Prior art date
Legal status (The legal status is an assumption and is not a legal conclusion. Google has not performed a legal analysis and makes no representation as to the accuracy of the status listed.)
Expired - Fee Related
Application number
JP09708497A
Other languages
English (en)
Japanese (ja)
Other versions
JPH10286309A (ja
JPH10286309A5 (enExample
Inventor
伸 牧
Current Assignee (The listed assignees may be inaccurate. Google has not performed a legal analysis and makes no representation or warranty as to the accuracy of the list.)
Terumo Corp
Original Assignee
Terumo Corp
Priority date (The priority date is an assumption and is not a legal conclusion. Google has not performed a legal analysis and makes no representation as to the accuracy of the date listed.)
Filing date
Publication date
Application filed by Terumo Corp filed Critical Terumo Corp
Priority to JP09708497A priority Critical patent/JP4101323B2/ja
Priority to US09/059,402 priority patent/US6261260B1/en
Priority to DE69806533T priority patent/DE69806533T2/de
Priority to EP98400929A priority patent/EP0872258B1/en
Publication of JPH10286309A publication Critical patent/JPH10286309A/ja
Priority to US09/803,021 priority patent/US6478772B2/en
Priority to US09/855,709 priority patent/US6579260B2/en
Publication of JPH10286309A5 publication Critical patent/JPH10286309A5/ja
Application granted granted Critical
Publication of JP4101323B2 publication Critical patent/JP4101323B2/ja
Anticipated expiration legal-status Critical
Expired - Fee Related legal-status Critical Current

Links

Images

Landscapes

  • Media Introduction/Drainage Providing Device (AREA)
JP09708497A 1997-04-15 1997-04-15 医療用チューブ Expired - Fee Related JP4101323B2 (ja)

Priority Applications (6)

Application Number Priority Date Filing Date Title
JP09708497A JP4101323B2 (ja) 1997-04-15 1997-04-15 医療用チューブ
US09/059,402 US6261260B1 (en) 1997-04-15 1998-04-14 Balloon for medical tube and medical tube equipped with the same
DE69806533T DE69806533T2 (de) 1997-04-15 1998-04-15 Ballon für medizinischen Schlauch
EP98400929A EP0872258B1 (en) 1997-04-15 1998-04-15 Balloon for medical tube and medical tube equipped with the same
US09/803,021 US6478772B2 (en) 1997-04-15 2001-03-12 Method of inducing bending in a medical tube
US09/855,709 US6579260B2 (en) 1997-04-15 2001-05-16 Balloon for medical tube and medical tube equipped with the same

Applications Claiming Priority (1)

Application Number Priority Date Filing Date Title
JP09708497A JP4101323B2 (ja) 1997-04-15 1997-04-15 医療用チューブ

Publications (3)

Publication Number Publication Date
JPH10286309A JPH10286309A (ja) 1998-10-27
JPH10286309A5 JPH10286309A5 (enExample) 2005-02-17
JP4101323B2 true JP4101323B2 (ja) 2008-06-18

Family

ID=14182784

Family Applications (1)

Application Number Title Priority Date Filing Date
JP09708497A Expired - Fee Related JP4101323B2 (ja) 1997-04-15 1997-04-15 医療用チューブ

Country Status (1)

Country Link
JP (1) JP4101323B2 (enExample)

Families Citing this family (12)

* Cited by examiner, † Cited by third party
Publication number Priority date Publication date Assignee Title
JP2001095923A (ja) * 1999-09-28 2001-04-10 Terumo Corp カテーテル
JP5015772B2 (ja) 2005-06-14 2012-08-29 株式会社ヴァーユ バルーンカテーテル
JP2007181544A (ja) * 2006-01-06 2007-07-19 Nipro Corp カテーテルセット及びそのバルーンの成形方法。
US10052014B2 (en) * 2010-03-09 2018-08-21 Smart Medical Systems Ltd. Balloon endoscope and methods of manufacture and use thereof
EP3998099A1 (en) 2011-03-07 2022-05-18 Smart Medical Systems Ltd. Balloon-equipped endoscopic devices and methods thereof
EP2999552B1 (en) 2013-05-21 2018-09-26 Smart Medical Systems Ltd. Endoscope reprocessing system and method
CN104902951B (zh) * 2013-07-31 2017-09-19 奥林巴斯株式会社 导管
ES2875345T3 (es) 2014-12-22 2021-11-10 Smart Medical Systems Ltd Sistema y método de reprocesamiento de endoscopio de balón
EP3277149B1 (en) 2015-04-03 2021-01-06 Smart Medical Systems Ltd. Endoscope electro-pneumatic adaptor
CN112121242B (zh) * 2020-08-24 2024-01-23 复旦大学附属华山医院 微型负压胸腔引流瓶及微型负压胸腔引流装置
JP2022046869A (ja) * 2020-09-11 2022-03-24 テルモ株式会社 バルーンカテーテル及びカテーテルシステム
WO2022118559A1 (ja) * 2020-12-01 2022-06-09 株式会社カネカ 光照射医療装置

Also Published As

Publication number Publication date
JPH10286309A (ja) 1998-10-27

Similar Documents

Publication Publication Date Title
EP0872258B1 (en) Balloon for medical tube and medical tube equipped with the same
CN103096964B (zh) 弯曲导管
JP5107931B2 (ja) 改良された超音波画像を生成するように構成されたエコー源性針カテーテル
US6589164B1 (en) Sterility barriers for insertion of non-sterile apparatus into catheters or other medical devices
US20090287087A1 (en) Devices for creating passages and sensing for blood vessels
US20050228286A1 (en) Medical system having a rotatable ultrasound source and a piercing tip
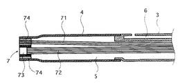
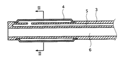
JP4101323B2 (ja) 医療用チューブ
US20100274085A1 (en) Exchangeable guide-wire with balloon for foreign body extraction
JP6166799B2 (ja) 非エコー源性のガイドワイヤ先端
JP2012513286A (ja) 超音波視覚化内視鏡用アクセス装置
JP2004097286A (ja) カテーテル
JPH10328306A (ja) 医療用チューブ
JP3775831B2 (ja) カテーテルチューブ
JP3628385B2 (ja) カテーテルチューブ
JP3780066B2 (ja) 医療用チューブ
JP3727407B2 (ja) カテーテルチューブ
WO2021029169A1 (ja) 内視鏡用処置具およびその作動方法
JP3998291B2 (ja) 医療用チューブ
CN114652946A (zh) 一种可调弯高扭矩球囊微导管
JPH11405A (ja) 医療チューブ用バルーン
JP2004097718A (ja) 拡張バルーンカテーテル
JPH09154950A (ja) カテーテルチューブ
JP2004357872A (ja) 体腔内拡張用カテーテル
CN115253031A (zh) 单腔道球囊导管
WO2025244010A1 (ja) カテーテル

Legal Events

Date Code Title Description
A521 Written amendment

Free format text: JAPANESE INTERMEDIATE CODE: A523

Effective date: 20040315

A621 Written request for application examination

Free format text: JAPANESE INTERMEDIATE CODE: A621

Effective date: 20040315

A977 Report on retrieval

Free format text: JAPANESE INTERMEDIATE CODE: A971007

Effective date: 20061101

A131 Notification of reasons for refusal

Free format text: JAPANESE INTERMEDIATE CODE: A131

Effective date: 20070213

A131 Notification of reasons for refusal

Free format text: JAPANESE INTERMEDIATE CODE: A131

Effective date: 20070925

A521 Written amendment

Free format text: JAPANESE INTERMEDIATE CODE: A523

Effective date: 20071121

TRDD Decision of grant or rejection written
A01 Written decision to grant a patent or to grant a registration (utility model)

Free format text: JAPANESE INTERMEDIATE CODE: A01

Effective date: 20080226

A61 First payment of annual fees (during grant procedure)

Free format text: JAPANESE INTERMEDIATE CODE: A61

Effective date: 20080319

FPAY Renewal fee payment (event date is renewal date of database)

Free format text: PAYMENT UNTIL: 20110328

Year of fee payment: 3

R150 Certificate of patent or registration of utility model

Free format text: JAPANESE INTERMEDIATE CODE: R150

LAPS Cancellation because of no payment of annual fees