JP4100404B2 - 接点支持機構、接点開閉器、計測装置及び無線機 - Google Patents

接点支持機構、接点開閉器、計測装置及び無線機 Download PDF

Info

Publication number
JP4100404B2
JP4100404B2 JP2005068633A JP2005068633A JP4100404B2 JP 4100404 B2 JP4100404 B2 JP 4100404B2 JP 2005068633 A JP2005068633 A JP 2005068633A JP 2005068633 A JP2005068633 A JP 2005068633A JP 4100404 B2 JP4100404 B2 JP 4100404B2
Authority
JP
Japan
Prior art keywords
contact
movable
elastic support
fixed
movable contact
Prior art date
Legal status (The legal status is an assumption and is not a legal conclusion. Google has not performed a legal analysis and makes no representation as to the accuracy of the status listed.)
Expired - Fee Related
Application number
JP2005068633A
Other languages
English (en)
Other versions
JP2005197265A (ja
Inventor
裕 宇野
知範 積
貴弘 増田
Current Assignee (The listed assignees may be inaccurate. Google has not performed a legal analysis and makes no representation or warranty as to the accuracy of the list.)
Omron Corp
Original Assignee
Omron Corp
Priority date (The priority date is an assumption and is not a legal conclusion. Google has not performed a legal analysis and makes no representation as to the accuracy of the date listed.)
Filing date
Publication date
Application filed by Omron Corp filed Critical Omron Corp
Priority to JP2005068633A priority Critical patent/JP4100404B2/ja
Publication of JP2005197265A publication Critical patent/JP2005197265A/ja
Application granted granted Critical
Publication of JP4100404B2 publication Critical patent/JP4100404B2/ja
Anticipated expiration legal-status Critical
Expired - Fee Related legal-status Critical Current

Links

Images

Landscapes

  • Micromachines (AREA)
  • Contacts (AREA)

Description

本発明は、接点支持機構、それを用いた接点開閉器に関し、例えば、ICテスタ、半導体製造装置等の計測装置、無線機等に用いられるものである。
従来、接点支持機構が適用された一例としての静電マイクロリレーとして、図14に示す構成(特開2000−113792に掲載)のものがある。
この静電マイクロリレー101では、固定基板102の上面に設けた接続パッド102aの上側に可動基板103が弾性支持され、固定基板102の上面に形成した固定電極102bと、可動基板103の下面に形成した可動電極103aとが対向している。なお、可動基板103と可動電極103aは同一部材からなっていてもよい。
そして、高周波特性を向上させるため、可動基板103は中央部に支持部104で支持された可動接点部105を持っており、固定基板102上面にある配線102c上の対向する部分にある可動基板103は、支持部104及び可動接点部105以外のところで切り取られている。
そして、前記両電極102b,103a間に電圧を印加して静電引力を発生させ、可動電極103aを固定電極102bに吸引することにより、可動基板103を撓ませて可動接点105aを固定接点102dに閉成するようになっている。可動接点105aは支持部104に揺動支持された可動接点部105の下面に、固定接点102dは配線102cの対向する端部に予め形成されている。
図14に示す構成の接点構造の場合、可動接点部105を支える両側の支持部104は可動接点部105の中央部の接点重心を通過する同一直線上に配置されていた。この場合、いわゆるダブルブレイク接点両側である一対の固定接点102dに対して力は均等に配分されるものの、支持部104が一対の固定接点102dのどちらからも遠いため接点の接触力・開離力にロスが生じていた。
特開2000−113792号公報
上記の静電マイクロリレーでは、接点閉成時においては接触力の不足から接触抵抗の増加、接点開成時においては粘着や溶着等が発生するなど、接触信頼性及び耐溶着性に課題がある。
接触信頼性及び耐溶着性を向上させるためには、確実に接点を閉成・開成できるように、吸着力及び弾性復帰力を大きくしなければならない。
このためには、両電極間に発生させる静電引力を増大させる必要が生じ、駆動電圧(電極間に印加する電圧)や対向する電極面積の拡大、電極の間隙寸法の狭ギャップ化、あるいは、エレクトレットを用いる等により対処しなければならない。この結果、占有体積の増大、接点耐圧の低下、構造及び加工工程の複雑化及びコストアップを招来していた。
本発明は、上記従来技術の課題を解決するためになされたもので、その目的とするところは、簡単な構造で、大型化を招くことなく、安価で簡単に製作できる接点の接触信頼性
・耐溶着性に優れた接点支持機構、接点開閉器、計測装置及び無線機を提供することにある。
上記目的を達成するために、本発明の接点支持機構にあっては、固定基板に対向配設した可動基板の、長方形板状であり、2つの固定接点に対向する位置をまたぐ可動接点部を、前記固定基板の固定接点に接離可能に支持する接点支持機構であって、
前記可動接点部の左右両側に設けられた夫々の第1弾性支持部とこの第1弾性支持部によって弾性支持された左右同じ大きさの長方形状の可動電極とをもつ可動基板を設け、前記可動電極は前記可動接点部を両側から第2弾性支持部で弾性支持し、前記可動接点部を開離するときに前記可動接点部の可動接点部重心からずれた位置が第2弾性支持部により支持されていて、前記第2弾性支持部は、前記可動接点部を中央にした左右非対称形状であり、かつ、前記可動接点部の各固定接点に当接する接触部である端部に接続されていることを特徴とする。
これによると、可動接点部の固定接点に対する接触部近傍を第2弾性支持部が支持することで、接点閉成時には第2弾性支持部から接触力を十分に伝達すると共に、接点開成時には第2弾性支持部から引きはがし力を伝達することが可能になり接触信頼性・耐溶着性が向上する。
本発明の接点開閉器にあっては、上記の接点支持機構を備え、前記可動接点部を前記固定接点に接離することにより、前記可動接点部及び前記固定接点間を電気的に開閉することを特徴とする。
これによると、電気的な開閉が良好に行える。ここで、接点開閉器としては、有接点のマイクロリレーやスイッチを示す。例えば、マイクロリレーとしては、その駆動方式により静電マイクロリレー、圧電マイクロリレー、熱駆動マイクロリレー、形状記憶合金マイクロリレー、磁気マイクロリレー等が挙げられる。
本発明の計測装置にあっては、上記の接点支持機構を備えることを特徴とする。
これによると、上記の接点支持機構を有するマイクロリレー等は、例えば、ICテスタ、半導体製造装置等の計測装置に用いられ、測定対象物と計測装置間の信号を開閉することができる。
本発明の無線機にあっては、上記の接点支持機構を備えることを特徴とする。
これによると、上記の接点支持機構を有するマイクロリレー等は、無線機等に用いられ、無線電波信号を開閉することができる。
本発明によれば、簡単な構造で、大型化を招くことなく、安価で簡単に製作できる接点の接触信頼性・耐溶着性に優れた接点支持機構、接点開閉器、計測装置及び無線機を提供することができる。
以下に図面を参照して、この発明の好適な実施形態を例示的に詳しく説明する。ただし、この実施の形態に記載されている構成部品の寸法、材質、形状、その相対配置などは、特に特定的な記載がない限りは、この発明の範囲をそれらのみに限定する趣旨のものではない。
なお、実施形態では、静電マイクロリレー又はスイッチに本発明の接点支持機構を適用した例を説明するが、その他、例えば、圧電マイクロリレー、熱駆動マイクロリレー、形状記憶合金マイクロリレー、磁気マイクロリレー等の有接点の接点開閉器に適用しても同様の効果を発揮する。
(第1実施形態)図1、図2は本実施形態に係る静電マイクロリレー1を示す。この静電マイクロリレー1は、固定基板2の上面に可動基板3を一体化した構成である。図1では固定基板2と可動基板3とを分離して示しており、図2では固定基板2と可動基板3とが一体化した状態を示している。
固定基板2は、ガラス基板の上面に、固定電極2aと、2本の信号線2bと、が設けられている。固定電極2aは、信号線2bよりも低い位置に形成されている。
固定電極2aの表面は絶縁膜で被覆され、配線を介して接続パッドにそれぞれ接続されている。
2本の信号線2bは、同一直線上に配置されている。各信号線2bの所定間隔を有して対向する端部は固定接点2cとなっている。一方、固定接点2cへ引き出される信号線2bの引き出し部は接続パッドに接続されている。この固定接点2cは、引き出し部よりも幅狭形状となっており、第2弾性支持部4と信号線2bのオーバーラップ面積を削減するようにし、良好な高周波特性を確保することができるようになっている。
固定電極2aは、信号線2bの両側に同一距離を有して形成されると共に、高周波GND電極と兼用されることにより、コプレナ構造を構成している。また、信号線2bの両側に位置する固定電極2a同士は、固定接点2cの間で互いに接続されている。これにより、開閉信号の発生する電気力線は、固定接点2c間の高周波GND電極で終端されるので、アイソレーション特性が向上する。
ここで、アイソレーション特性は、接点開放時、信号線2b間における信号の漏れがどの程度存在するかを示すものであり、特性が向上することにより信号の漏れが低減される。
一方、可動基板3は、略矩形板状のシリコン基板を、アンカにより第1弾性支持部3aを介して可動電極3bを弾性支持し、その中央部に支持部としての第2弾性支持部4を介して可動接点部5を弾性支持する構成としたものである。
アンカ3cは、可動基板3の下面に2箇所立設され、1つのアンカ3cは固定基板2の上面に設けた配線を介して接続パッドに電気接続されている。
第1弾性支持部3aは、可動基板3の両側縁部に沿って設けたスリットにより形成され、端部下面に各アンカ3cが一体化されている。
可動電極3bは、固定電極2aに対向しており、両電極2a,3b間に電圧を印加することにより発生する静電引力によって固定電極2aに吸引される。また、可動電極3bは、信号線2bに対向する部分が除去されている。したがって、可動電極3bを介した信号線2b間の容量結合が存在しないため、アイソレーション特性が向上する。
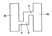
次に、本発明の特徴部分である第2弾性支持部4及び可動接点部5の構成について説明する。第2弾性支持部4及び可動接点部5の構成の概略を図4に示した。第2弾性支持部4及び可動接点部5は、可動電極3bの間に可動基板3を切欠いて形成される。
可動接点部5は、長方形板状であり、2つの固定接点2cに対向する位置をまたぐ形状である。可動接点部5の下面には、絶縁膜を介して不図示の可動接点が設けられている。可動接点は、2つの固定接点2cと閉成することにより、信号線2bを電気的に接続するようになっている。
第2弾性支持部4は、可動電極3bと可動接点部5とを連結する幅狭の梁である。この第2弾性支持部4は、2つの可動電極3bから可動接点部5の中心からはずれた図4の図示上下端部に接続され、それぞれの位置の相対関係は可動接点部5の中心から点対称な配置である。つまり、2つの第2弾性支持部4は、中心線が一致しない配置構成をとっている。
したがって、可動接点部5を揺動支持する第2弾性支持部4の延びる方向の延長線上に、可動接点部5の接点重心が非存在である。このため、第2弾性支持部4によって可動接点を開離するときの力の作用点が、接点重心からずれ、可動接点が固定接点2cに接触する接触部(図4の可動接点部5の上下端部)の隣接位置となる。
続いて、上記の構成からなる静電マイクロリレー1の製造方法を説明する。静電マイクロリレー1は、後述するような半導体製造工程を用いて製造することで、容易に製造が可能となる。
まず、パイレックス(登録商標)等のガラス基板に固定電極2a、信号線2b及び固定接点2c等を形成する。そして、固定電極2aの表面を絶縁膜で被覆することにより、固定基板2を完成する。
一方、Si層、SiO2層及びSi層からなるSOIウエハの下面に接点間ギャップを
形成するため、例えばシリコン酸化膜をマスクとするTMAHによるウエットエッチングを行い、下方側に突出するアンカ3cを形成する。そして、ウエットエッチングにより除去された部分の中央部に絶縁層を介して可動接点を形成する。
そして、固定基板2のガラス基板に先のSOIウエハのアンカ3cを陽極接合で接合一体化する。その後、SOIウエハの上面をTMAH、KOH等のアルカリエッチング液で酸化膜までエッチングして薄くする。さらに、フッ素エッチング液で酸化膜を除去して可動電極3bとなるSi層を露出させる。そして、RIE等を用いたドライエッチングで型抜きエッチングを行い、スリット及び切欠きを形成して第1弾性支持部3a、第2弾性支持部4及び可動接点部5を形成し、可動基板3の完成と同時に静電マイクロリレー1を完成する。
次に、上記の構成からなる静電マイクロリレーの動作を図3を参照して説明する。
固定電極2aと可動電極3bとの間に電圧を印加していない初期状態では、図3(a)に示すように、固定基板2と可動基板3とは平行を保持し、可動接点が固定接点2cから開離している。
そして、可動電極3bと固定電極2aとの間に電圧を印加すると、両電極2a,3b間には静電引力が発生する。この結果、図3(b)に示すように、可動基板3が第1弾性支持部3aの弾性力に抗して固定基板2に接近し、可動接点が固定接点に当接する。
可動基板3は、その後、図3(c)に示すように、可動接点が固定接点に当接した後も可動電極3bが固定電極2aに当接するまで移動を続ける。
この時、2つの第2弾性支持部4が可動接点部5の各固定接点2cに当接する接触部である端部に接続されていることから、第2弾性支持部4によって接触圧を高めることができる。したがって、接点閉成時、所望の接触信頼性が得られる。
また、印加電圧を除去すると、第1弾性支持部3a及び第2弾性支持部4の両方の弾性力により、可動基板3は固定基板2から離間する。この時、図3(d)に示すように、可動接点の固定接点2cに対する粘着や溶着等が発生する。
この場合、図3(e)に示すように、第2弾性支持部4が可動接点部5の各固定接点2cに当接する接触部である端部に接続されて、各第2弾性支持部4が接続された端部をそれぞれ逆側に持ち上げようとして、接点に意図的にねじり力を発生させ、真上の方向の引きはがし力だけでなく、真横方向からの引きはがし力を付加することにより、可動接点の各固定接点2cに対する粘着や溶着等を容易に引きはがす。したがって、接点開成時、耐溶着性を向上することができる。
その後、第1弾性支持部3aのみの弾性力によって可動基板3は上動を続けて、可動接点が固定接点から開離した初期状態(図3(a))に復帰する。
(その他の実施形態)以下に、本発明の特徴部分である第2弾性支持部4及び可動接点部5の他の構成について説明する。なお、図5〜図11の構成については第1実施形態と同様に可動接点部5の両側に可動電極3bが備えられるものであり、図4と同様に第2弾性支持部4及び可動接点部5の概略を示す。
図5の構成は、第1実施形態と同様に、2つの可動電極3bから各1つの第2弾性支持部4を延ばし、可動接点部5を支持する構成である。第2弾性支持部4は、可動接点部5のそれぞれ異なる端部に接続されており、可動接点部5の中心から点対称となる配置をとっている。すなわち、第1実施形態とは第2弾性支持部4の配置位置が逆となった構成である。
図6の構成は、第1実施形態及び図5と同様に、2つの可動電極3bから各1つの第2弾性支持部4を延ばし、可動接点部5を支持する構成である。しかし、第2弾性支持部4は、可動電極3bと可動接点部5との間に直交するように延びるのではなく、可動接点部5の第2弾性支持部4が接続される端部間の略中心線上の可動電極3b位置から延び、可動接点部5の端部に接続されており、可動接点部5の中心から点対称となる配置をとっている。なお、第2弾性支持部4の配置を図4と図5の関係のように逆にすることもできる。
図7の構成は、2つの可動電極3bから各2つの第2弾性支持部4を延ばし、可動接点部5を支持する構成である。つまり、第2弾性支持部4を全部で4つ有する構成である。1つの可動電極3bから延びる第2弾性支持部4は、可動接点部5の各端部に接続されており、一方が幅広で他方が幅狭で断面積を異ならせている。そして、4つの第2弾性支持部4は、可動接点部5の中心から点対称となる配置をとっている。また、2つの可動電極3bから延びる第2弾性支持部4の中心線が接続される可動接点部5の各端部ごとに一致しており、この中心線が一致する2つの第2弾性支持部4の断面積が異なる。なお、第2弾性支持部4の配置を図4と図5の関係のように逆にすることもできる。
図8の構成は、図7と同様であるが、2つの可動電極3bから延びる第2弾性支持部4の中心線が接続される可動接点部5の各端部ごとに一致させないようにしたものである。このように、図7の構成を変形することもできる。なお、第2弾性支持部4の配置を図4
と図5の関係のように逆にすることもできる。
図9の構成は、図7、図8と同様に、2つの可動電極3bから各2つの第2弾性支持部4を延ばし、可動接点部5を支持する構成である。つまり、第2弾性支持部4を全部で4つ有する構成である。一方の可動電極3bから延びる2つの第2弾性支持部4は、他方の可動電極3bから延びる2つの第2弾性支持部4よりも幅広で断面積が異なっている。そして、図7と同様に、2つの可動電極3bから延びる第2弾性支持部4の中心線が接続される可動接点部5の各端部ごとに一致しており、この中心線が一致する2つの第2弾性支持部4の断面積が異なる。なお、第2弾性支持部4の配置を図4と図5の関係のように逆にすることもできる。
なお、4つの第2弾性支持部4の幅が等しく断面積が同じような構成をとることもできる。この場合には、可動電極3bと固定電極2aの間に発生する力をより直接的に可動接点部5に伝えることができるので、接触力、開離力ともに向上する。
図10の構成は、図9と同様であるが、2つの可動電極3bから延びる第2弾性支持部4の中心線が接続される可動接点部5の各端部ごとに一致させないようにしたものである。このように、図9の構成を変形することもできる。なお、第2弾性支持部4の配置を図4と図5の関係のように逆にすることもできる。
図11の構成は、一方の可動電極3bからは1つの第2弾性支持部4を延ばし、他方の可動電極3bからは2つの第2弾性支持部4を延ばし、可動接点部5を支持する構成である。一方の可動電極3bからは1つの第2弾性支持部4を可動接点部5の両端部の中間へ接続し、他方の可動電極3bからは2つの第2弾性支持部4を可動接点部5の両端部へ接続している。このようにしても、意図的にねじり力を発生させることができる。なお、第2弾性支持部4の配置を図4と図5の関係のように逆にすることもできる。
なお、3つの第2弾性支持部4の断面積は、必ずしも同じ断面積である必要はない。
以上説明した他の実施形態の構成であっても、第1実施形態と同様の効果を発揮することができる。
(種々の装置への適用)次に、上記実施形態を用いたマイクロリレーやスイッチを種々の装置に適用した場合について説明する。
(計測装置への適用)上記実施形態のマイクロリレーやスイッチを計測装置に適用した場合について説明する。
このような計測装置として、例えばICテスタや半導体製造装置がある。ICテスタとしては、これはICの特性を計測する装置である。
ICテスタは、オシロスコープやマルチメータをさらにアレイ化した大型の設備であり、床面積も畳2、3畳ほどになる。
ICテスタに使用されるリレーの数も5000〜10000個と大量になる。
また半導体製造装置は、その装置内において計測部への使用が想定されることから、計測装置に分類される。
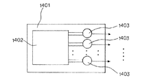
ここで、本発明に係る静電マイクロリレーの一実施形態を用いた計測装置の内部構成に
ついて図12を参照して説明する。図12は、本発明に係る静電マイクロリレーの一実施形態を用いた計測装置の内部構成のブロック図である。
図12に示される計測装置1401は、静電マイクロリレー1403が、内部回路1402から測定対象物(図示せず)にいたる各信号線との途中に接続されており、各静電マイクロリレー1403をオンオフすることにより測定対象を切り替えることができる。
前述のように、上記実施形態のマイクロリレーやスイッチにおいては、接点の接触信頼性・耐溶着性に優れ、その特性を向上させることができる。
したがって、上記実施形態のマイクロリレーやスイッチを計測装置に使用した場合は、これら上記実施形態を用いたマイクロリレーやスイッチの特性の向上に応じて計測装置自体の特性も向上させることができる。
(無線機への適用)上記実施形態のマイクロリレーやスイッチを無線機に適用した場合について説明する。
このような無線機として、例えば携帯電話やPDAを挙げることができる。
前述のように、上記実施形態のマイクロリレーやスイッチにおいては、接点の接触信頼性・耐溶着性に優れ、その特性を向上させることができる。
したがって、上記実施形態のマイクロリレーやスイッチを無線機に使用した場合は、これら上記実施形態のマイクロリレーやスイッチの特性の向上に応じて無線機自体の特性も向上させることができる。
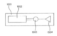
ここで、本発明に係る静電マイクロリレーの一実施形態を用いた無線機の内部構成について図13を参照して説明する。図13は、前述の本発明に係る静電マイクロリレーの一実施形態を用いた無線機の内部構成のブロック図である。
この無線機では、静電マイクロリレー1503が、内部回路1501とアンテナ1504との間に接続されており、静電マイクロリレー1504をオンオフすることによって、内部回路1501がアンテナ1504を通じて送受信可能な状態と、送受信できない状態との切り替えられる。
図1は第1実施形態に係る静電マイクロリレーの構成を示す図である。 図2は第1実施形態に係る静電マイクロリレーの構成を示す図である。 図3は第1実施形態に係る静電マイクロリレーの動作を示す説明図である。 図4は第1実施形態に係る静電マイクロリレーの要部を示す図である。 図5は他の実施形態に係る静電マイクロリレーの要部を示す図である。 図6は他の実施形態に係る静電マイクロリレーの要部を示す図である。 図7は他の実施形態に係る静電マイクロリレーの要部を示す図である。 図8は他の実施形態に係る静電マイクロリレーの要部を示す図である。 図9は他の実施形態に係る静電マイクロリレーの要部を示す図である。 図10は他の実施形態に係る静電マイクロリレーの要部を示す図である。 図11は他の実施形態に係る静電マイクロリレーの要部を示す図である。 図12は静電マイクロリレーの一実施形態を用いた計測装置の内部構成のブロック図である。 図13は静電マイクロリレーの一実施形態を用いた無線機の内部構成のブロック図である。 図14は従来技術に係る静電マイクロリレーを示す図である。
符号の説明
1 静電マイクロリレー
2 固定基板
2a 固定電極
2b 信号線
2c 固定接点
3 可動基板
3a 第1弾性支持部
3b 可動電極
3c アンカ
4 第2弾性支持部
5 可動接点部

Claims (4)

  1. 固定基板に対向配設した可動基板の、長方形板状であり、2つの固定接点に対向する位置をまたぐ可動接点部を、前記固定基板の固定接点に接離可能に支持する接点支持機構であって、
    前記可動接点部の左右両側に設けられた夫々の第1弾性支持部とこの第1弾性支持部によって弾性支持された左右同じ大きさの長方形状の可動電極とをもつ可動基板を設け、
    前記可動電極は前記可動接点部を両側から第2弾性支持部で弾性支持し、
    前記可動接点部を開離するときに前記可動接点部の可動接点部重心からずれた位置が第2弾性支持部により支持されていて、
    前記第2弾性支持部は、前記可動接点部を中央にした左右非対称形状であり、かつ、前記可動接点部の各固定接点に当接する接触部である端部に接続されていることを特徴とする接点支持機構。
  2. 請求項1に記載の接点支持機構を備え、前記可動接点部を前記固定接点に接離することにより、前記可動接点部及び前記固定接点間を電気的に開閉することを特徴とする接点開閉器。
  3. 請求項1に記載の接点支持機構を備えることを特徴とする計測装置。
  4. 請求項1に記載の接点支持機構を備えることを特徴とする無線機。
JP2005068633A 2005-03-11 2005-03-11 接点支持機構、接点開閉器、計測装置及び無線機 Expired - Fee Related JP4100404B2 (ja)

Priority Applications (1)

Application Number Priority Date Filing Date Title
JP2005068633A JP4100404B2 (ja) 2005-03-11 2005-03-11 接点支持機構、接点開閉器、計測装置及び無線機

Applications Claiming Priority (1)

Application Number Priority Date Filing Date Title
JP2005068633A JP4100404B2 (ja) 2005-03-11 2005-03-11 接点支持機構、接点開閉器、計測装置及び無線機

Related Parent Applications (1)

Application Number Title Priority Date Filing Date
JP2001381793A Division JP2003181799A (ja) 2001-12-14 2001-12-14 接点支持機構、接点開閉器、計測装置及び無線機

Publications (2)

Publication Number Publication Date
JP2005197265A JP2005197265A (ja) 2005-07-21
JP4100404B2 true JP4100404B2 (ja) 2008-06-11

Family

ID=34824837

Family Applications (1)

Application Number Title Priority Date Filing Date
JP2005068633A Expired - Fee Related JP4100404B2 (ja) 2005-03-11 2005-03-11 接点支持機構、接点開閉器、計測装置及び無線機

Country Status (1)

Country Link
JP (1) JP4100404B2 (ja)

Families Citing this family (1)

* Cited by examiner, † Cited by third party
Publication number Priority date Publication date Assignee Title
JP2014130767A (ja) * 2012-12-28 2014-07-10 Omron Corp 静電マイクロリレーおよびその製造方法

Also Published As

Publication number Publication date
JP2005197265A (ja) 2005-07-21

Similar Documents

Publication Publication Date Title
JP3918559B2 (ja) 静電型リレー及び当該リレーを用いた通信用機器
JP4447940B2 (ja) マイクロスイッチング素子製造方法およびマイクロスイッチング素子
KR100485787B1 (ko) 마이크로 스위치
KR101745722B1 (ko) 마이크로 전기기계 시스템 스위치
JP4879760B2 (ja) マイクロスイッチング素子およびマイクロスイッチング素子製造方法
JP2007159389A (ja) 圧電型rf―mems素子及びその製造方法
WO1999021204A1 (en) Electrostatic micro-relay
KR100661176B1 (ko) Mems 스위치 및 그 제조 방법
JP4182861B2 (ja) 接点開閉器および接点開閉器を備えた装置
JP4792994B2 (ja) 静電マイクロ接点開閉器およびその製造方法、ならびに静電マイクロ接点開閉器を用いた装置
JP2007035635A (ja) Memsスイッチ及びその製造方法
JP2005251549A (ja) マイクロスイッチ及びマイクロスイッチの駆動方法
JP4100404B2 (ja) 接点支持機構、接点開閉器、計測装置及び無線機
JP4739173B2 (ja) マイクロスイッチング素子
JP3669207B2 (ja) マイクロリレー
JP3651404B2 (ja) 静電マイクロリレー、並びに、該静電マイクロリレーを利用した無線装置及び計測装置
JP2003181799A (ja) 接点支持機構、接点開閉器、計測装置及び無線機
JP2007259691A (ja) Memsの静電駆動法、静電アクチュエーター、及びマイクロスイッチ
KR100554468B1 (ko) 자기유지 중앙지지대를 갖는 미세 전자기계적 스위치 및그의 제조방법
JP4443438B2 (ja) エレクトロメカニカルスイッチ
JP2000113792A (ja) 静電マイクロリレー
JP3368304B2 (ja) 静電マイクロリレー
JP2001023497A (ja) 静電マイクロリレー
JP2004214135A (ja) マイクロリレーおよびマイクロリレーを備えた装置
JP2004281412A (ja) 静電マイクロリレー

Legal Events

Date Code Title Description
A131 Notification of reasons for refusal

Free format text: JAPANESE INTERMEDIATE CODE: A131

Effective date: 20071218

A521 Written amendment

Free format text: JAPANESE INTERMEDIATE CODE: A523

Effective date: 20080121

TRDD Decision of grant or rejection written
A01 Written decision to grant a patent or to grant a registration (utility model)

Free format text: JAPANESE INTERMEDIATE CODE: A01

Effective date: 20080226

A61 First payment of annual fees (during grant procedure)

Free format text: JAPANESE INTERMEDIATE CODE: A61

Effective date: 20080310

FPAY Renewal fee payment (event date is renewal date of database)

Free format text: PAYMENT UNTIL: 20110328

Year of fee payment: 3

R150 Certificate of patent or registration of utility model

Free format text: JAPANESE INTERMEDIATE CODE: R150

FPAY Renewal fee payment (event date is renewal date of database)

Free format text: PAYMENT UNTIL: 20110328

Year of fee payment: 3

FPAY Renewal fee payment (event date is renewal date of database)

Free format text: PAYMENT UNTIL: 20120328

Year of fee payment: 4

FPAY Renewal fee payment (event date is renewal date of database)

Free format text: PAYMENT UNTIL: 20120328

Year of fee payment: 4

FPAY Renewal fee payment (event date is renewal date of database)

Free format text: PAYMENT UNTIL: 20130328

Year of fee payment: 5

FPAY Renewal fee payment (event date is renewal date of database)

Free format text: PAYMENT UNTIL: 20140328

Year of fee payment: 6

LAPS Cancellation because of no payment of annual fees