JP4098140B2 - 押出成形セメント板の取付金具及び取付方法 - Google Patents

押出成形セメント板の取付金具及び取付方法 Download PDF

Info

Publication number
JP4098140B2
JP4098140B2 JP2003103731A JP2003103731A JP4098140B2 JP 4098140 B2 JP4098140 B2 JP 4098140B2 JP 2003103731 A JP2003103731 A JP 2003103731A JP 2003103731 A JP2003103731 A JP 2003103731A JP 4098140 B2 JP4098140 B2 JP 4098140B2
Authority
JP
Japan
Prior art keywords
piece
cement board
extruded cement
extruded
plate
Prior art date
Legal status (The legal status is an assumption and is not a legal conclusion. Google has not performed a legal analysis and makes no representation as to the accuracy of the status listed.)
Expired - Fee Related
Application number
JP2003103731A
Other languages
English (en)
Other versions
JP2004308259A (ja
Inventor
吉大 細田
将男 邑橋
Current Assignee (The listed assignees may be inaccurate. Google has not performed a legal analysis and makes no representation or warranty as to the accuracy of the list.)
Nozawa Corp
Original Assignee
Nozawa Corp
Priority date (The priority date is an assumption and is not a legal conclusion. Google has not performed a legal analysis and makes no representation as to the accuracy of the date listed.)
Filing date
Publication date
Application filed by Nozawa Corp filed Critical Nozawa Corp
Priority to JP2003103731A priority Critical patent/JP4098140B2/ja
Publication of JP2004308259A publication Critical patent/JP2004308259A/ja
Application granted granted Critical
Publication of JP4098140B2 publication Critical patent/JP4098140B2/ja
Anticipated expiration legal-status Critical
Expired - Fee Related legal-status Critical Current

Links

Images

Landscapes

  • Load-Bearing And Curtain Walls (AREA)
  • Finishing Walls (AREA)

Description

【0001】
【発明の属する技術分野】
本発明は、押出成形セメント板等を躯体に取付けるための押出成形セメント板の取付金具及び取付方法に関し、特に、躯体が鉄骨構造(S造)や鉄筋コンクリート構造(RC造)の場合、手の届き難い範囲や、リフォーム等の既存の外壁材の外側に新たに壁面を設けるのに好適な技術に関する。
【0002】
【従来の技術】
従来、躯体に押出成形セメント板等の外壁パネルを取付けるためには、短冊金物の中央部を段違いに折り曲げた所謂Z金物(Zクリップとも称す。)を用い、押出成形セメント板の裏面側からボルトで躯体に取付けていた。
【0003】
この出願の発明に関連する先行技術文献情報としては次のものがある。
【特許文献1】
特開平8−253990号公報
【特許文献2】
特開平8−253993号公報
【0004】
また、上記特許文献1に記載されるパネル連結部の取付構造は、図8に示すように、山形鋼材1を一片1aが躯体外壁面と平行となるように配置して鉛直方向に躯体に固設する。下パネル3aの上部裏面にL型板状の回転防止Zクリップ5を縦片5bが縦方向、横片5aが横方向となる姿勢で固定する。上パネル3bの下部裏面に短冊状のZクリップ7を取り付ける。下パネル3aの裏面と回転防止Zクリップ5の横片5aとで山形鋼材1の一片1aを挟持し、Zクリップ7の先端片7aを回転防止Zクリップ5の縦片5bに掛止することで、下パネル3aと上パネル3bとを山形鋼材1に連結固定していた。
【0005】
更に、上記特許文献2に記載されるパネル連結部の取付構造は、図9に示すように、一次ファスナ11を一片11aが水平となる姿勢で躯体壁面に固設する。二次ファスナ13bを一片15aが水平となる姿勢で下段パネル17の上部裏面に固設する。スタッドボルト19を二次ファスナ13bに立設する。受けファスナ21bを一片23aが水平となる姿勢で上段パネル25の下部裏面に固設する。受けファスナ21bの一片23aに係合穴27を穿設する。二次ファスナ13bの一片15aを、一次ファスナ11の一片11aに載置した状態で連結ボルト29で固定する。二次ファスナ13bから突出したスタッドボルト19に、受けファスナ21bの係合穴27を挿入して、上段パネル下部を位置規制していた。
【0006】
【発明が解決しようとする課題】
しかしながら、従来のZ金物を用いた押出成形セメント板の取付けは、押出成形セメント板の最終固定を、裏面側からボルト締めすることによって行っていたため、押出成形セメント板の下部側において、柱や内装材等の障害物が存在すると、作業範囲が狭かったり、手が届かなかったりして、作業性を著しく低下させ、ボルト締めが困難となることがあった。
また、図8に示した取付構造において、最後の押出成形セメント板を取付ける場合には、図10に示すように、コアドリルで穴31を開け、押出成形セメント板の正面側から、特殊ボルト33の先端に形成した溝33aをマイナスドライバ等の工具で締め付けする必要もあった。
更に、リフォーム等では、既存の壁面と新しい壁面の間に殆ど隙間がない(手の入るだけの余裕がない)ことが多く、このような場合には例えば図9に示したスタッドボルト(所謂ダボピン)19を用いた構造が採用されたが、金物が複雑になって製品コストが増大するとともに、下地の取付構造が押出成形セメント板表面の不陸に影響するため、高い施工精度が求められる欠点があった。
そして、押出成形セメント板がボルト締め等によって剛固定された場合には、地震等によって層間変位が生じると、押出成形セメント板に応力が集中し、押出成形セメント板に強度低下を生じさせる虞があった。
本発明は上記状況に鑑みてなされたもので、手の届かない範囲であっても、押出成形セメント板の固定が容易に行えるとともに、製品コストを安価にすることができ、しかも、押出成形セメント板への応力集中を防止できる押出成形セメント板の取付金具及び取付方法を提供し、もって、押出成形セメント板取付けの施工性及び信頼性の向上を図ることを目的とする。
【0007】
【課題を解決するための手段】
上記目的を達成するための本発明に係る請求項1記載の押出成形セメント板の取付金具は、押出成形セメント板の下部を躯体に取付ける押出成形セメント板の取付金具であって、前記躯体に沿って水平方向に延在して固定され前記押出成形セメント板の下端面を載置する重量受けプレートと、上片、下片が起立片で連続する断面C字形状を有し前記下片が前記重量受けプレートに固定されるとともに前記起立片が前記押出成形セメント板の裏面に当接するC型鋼と、前記押出成形セメント板の裏面に固定され前記裏面との間に間隙を形成して下向きに突出する係合片を有し前記間隙に前記C型鋼の上片及び起立片を挟入するZ金物とを具備したことを特徴とする。
【0008】
この押出成形セメント板の取付金具では、押出成形セメント板の下端面が重量受けプレートに支持されると、同時にZ金物と裏面との間隙にC型鋼が挟入され、押出成形セメント板下部の躯体からの離反方向の移動が規制され、押出成形セメント板の下部が躯体に固定される。これにより、Z金物の固定された押出成形セメント板の下部を重量受けプレートへ向けて落とし込むことで、押出成形セメント板の下部を躯体へ固定することが可能となる。また、重量受けプレート、C型鋼及びZ金物のそれぞれが簡単な形状となり、製造が容易となって、製品コストが安価になる。更に、地震等によって層間変位が生じると、Z金物及びC型鋼自身の弾性変形や、Z金物と押出成形セメント板との固定構造によって変位が吸収され、押出成形セメント板への応力集中が緩和される。
【0009】
請求項2記載の押出成形セメント板の取付金具は、請求項1記載の押出成形セメント板の取付金具であって、前記Z金物が複数のボルトで前記押出成形セメント板の裏面に固定されることを特徴とする。
【0010】
この押出成形セメント板の取付金具では、ボルトの締め付けトルクに依存することなく、構造的に、裏面に垂直な軸回りでのZ金物の回転が規制され、押出成形セメント板の落とし込み時におけるZ金物の回転が防止され、良好な施工性が確保される。また、地震等による層間変位によってもZ金物が回転しなくなり、C型鋼からのZ金物の外れが防止されて、固定構造の信頼性が高められる。
【0011】
請求項3記載の押出成形セメント板の取付金具は、請求項1又は請求項2記載の押出成形セメント板の取付金具であって、前記C型鋼は、前記起立片が前記下片と鈍角を成すように傾斜していることを特徴とする。
【0012】
この押出成形セメント板の取付金具では、C型鋼の起立片が傾斜して前傾姿勢となっていることで、上片及び起立片を間隙に差し入れる際、押出成形セメント板を起立片と平行な前傾姿勢で落とし込むことが可能となる。また、押出成形セメント板は、斜めから落とし込まれた後、上部が躯体側へ接近する方向に移動されて立て起こされるが、C型鋼が躯体に対面して開口しているので、立て起こしに際しても係合片がこの開口内へと進入し、係合片がC型鋼と干渉して、立て起こし不能となる事態が回避される。
【0013】
請求項4記載の押出成形セメント板の取付方法は、押出成形セメント板の下部を躯体に取付ける押出成形セメント板の取付方法であって、水平な重量受けプレートを前記躯体に沿って固定する工程と、上片、下片が起立片で連続する断面C字形状を有するC型鋼の前記下片を、前記重量受けプレートに固定する工程と、前記裏面との間に間隙を形成して下向きに突出する係合片を有したZ金物を、前記押出成形セメント板の裏面に固定する工程と、前記押出成形セメント板の下端面を前記重量受けプレートに載置するとともに、前記Z金物の間隙に前記C型鋼の上片及び起立片を挟入する工程とを含むことを特徴とする。
【0014】
この押出成形セメント板の取付方法では、Z金物の固定された押出成形セメント板の下部が、重量受けプレートへ向けて落とし込まれることで、押出成形セメント板の下部が躯体に固定される。これにより、手の届かない範囲での押出成形セメント板下部の固定が可能となり、押出成形セメント板の裏面側或いは正面側からのボルトの締め付けも不要となり、施工性が向上する。
【0015】
請求項5記載の押出成形セメント板の取付方法は、請求項4記載の押出成形セメント板の取付方法であって、前記起立片が前記下片と鈍角を成すように傾斜した前記C型鋼を前記重量受けプレートに固定し、前記押出成形セメント板を前傾姿勢にして、前記下端面を前記重量受けプレートに載置するとともに、前記Z金物の間隙に前記C型鋼の上片及び起立片を挟入した後、該押出成形セメント板を垂直に立て起こすことを特徴とする。
【0016】
この押出成形セメント板の取付方法では、押出成形セメント板の前傾姿勢での落とし込みが可能となり、押出成形セメント板取り付け部の上方にバルコニー、窓枠等の障害物が存在し、真上からの落とし込みができない場合であっても、C型鋼への固定が可能となる。
【0017】
【発明の実施の形態】
以下、本発明に係る押出成形セメント板の取付金具及び取付方法の好適な実施の形態を図面を参照して詳細に説明する。
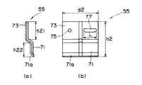
図1は本発明に係る取付金具を用いた押出成形セメント板取付け前後の状況を(a)(b)で表した説明図、図2は図1に示したC型鋼の断面図、図3は図1に示したZ金物の側面視、正面視を(a)(b)で表した説明図、図4はZ金物の固定された押出成形セメント板の下部裏面の斜視図である。
【0018】
この実施の形態では、押出成形セメント板の取付金具が鉄骨構造(S造)の躯体に用いられる場合を例に説明する。
押出成形セメント板の取付金具(以下、単に「取付金具」と称す。)41は、押出成形セメント板43の下部45を躯体47側に取付けるのに好適に用いられる。ここで、躯体47は、上部に水平片49aを有する例えば断面T字又はH字形状の鉄骨梁49である。
【0019】
取付金具41は、基本的に重量受けプレート51と、C型鋼53と、Z金物55とからなる。重量受けプレート51は、鉄骨梁49に沿って水平方向に延在して固定され、押出成形セメント板43の下端面57を載置する。重量受けプレート51と鉄骨梁49との固定は、例えばボルト59によって行われる他、溶接によって行うこともできる。なお、C型鋼53は、押出成形セメント板43の幅方向の全てに延在させずに、Z金物55に対応する箇所のみに短尺のものが配設されてもよい。
【0020】
C型鋼53は、図2に示すように、上片61、下片63が起立片65で連続する断面C字形状を有する。このC型鋼53は、下片63が重量受けプレート51に溶接等によって固定される。重量受けプレート51に固設されたC型鋼53は、起立片65が押出成形セメント板43の裏面67に当接する。このC型鋼53は、例えば厚みが3.2mm以上、上片61の幅d1が15mm程度、起立片65の高さh1が45mmで形成される。
【0021】
図3に示すZ金物55は、押出成形セメント板43の裏面67に固定される。Z金物は、裏面67との間に間隙69を形成して、下向きに突出する係合片71を有している。この間隙69には、図1に示すように、C型鋼53の上片61及び起立片65が挟入されるようになっている。係合片71の先端には、間隙69の隙間を徐々に広げた案内片71aが延設され、案内片71aはC型鋼53に対する係合片71の係止を容易にしている。
【0022】
Z金物55の基部73には複数(本実施の形態では二箇所)のボルト取付穴75、77が穿設され、一方のボルト取付穴75が丸穴で、他方のボルト取付穴77が幅d2方向に長い長穴(ルーズホール)となっている。ボルト取付穴77は、長さLが40mm程度の長穴となる。ボルト取付穴75、77を、丸穴とルーズホールとによって構成することで、図4に示すように、例えば押出成形セメント板43の中空部81の間隔が変わっても、任意の位置で両方のボルトが取付けできるようになっている。即ち、両者の穴が丸孔であれば、その何れかが隔壁83と干渉した場合、取付けが行えなくなるが、ルーズホールであることによりこのような事態が回避可能となる。
【0023】
Z金物55は、ボルト取付穴75、77に挿通したボルト85、85が、中空部81に配置したプレートナット87(図1参照)に螺合することで押出成形セメント板43に固定される。また、Z金物55は、二箇所のボルト取付穴75、77で固定されることで、ボルトの締め付けトルクに依存することなく、構造的に、裏面67に垂直な軸回りでの回転が規制され、押出成形セメント板43の落とし込み時における回転が防止され、良好な施工性が確保される。また、地震等による層間変位によってもZ金物55が回転しなくなるので、C型鋼53からのZ金物55の外れが防止されて、固定構造の信頼性が高められる。
【0024】
このZ金物55は、例えば押出成形セメント板43の幅方向に二つ程度が取付けられる。このZ金物55は、例えば厚みが3.2mm以上、幅d2が110mm程度、高さh2が110mm程度で形成され、基部73の高さh21が55mm程度、係合片71の高さh22が45mm程度で形成される。
【0025】
次に、上記の取付金具41を用いた押出成形セメント板43の取付方法を説明する。
押出成形セメント板43を躯体47に取付けるには、先ず、重量受けプレート51を躯体47の鉄骨梁49に沿って固定する。次いで、C型鋼53の下片63を、重量受けプレート51に固定しておく。また、押出成形セメント板43の裏面67にはZ金物55を固定しておく。そして、図1(b)に示すように、押出成形セメント板43の下端面57を重量受けプレート51に載置するとともに、Z金物55の間隙69に、C型鋼53の上片61及び基部73を挟入する。
【0026】
これにより、押出成形セメント板43の下部45が躯体47に固定される。下部45が固定された押出成形セメント板43は、上部が正面側からボルト締めされて、取付けが完了する。なお、この場合のボルト締めは、押出成形セメント板43の荷重を担持するものではなく、Z金物55のC型鋼53からの外れを阻止できる程度のものであればよい。つまり、剛固定する必要はない。
【0027】
上記の取付金具41によれば、押出成形セメント板43の下端面57が重量受けプレート51に支持されると、同時にZ金物55と裏面67との間隙69にC型鋼53が挟入され、押出成形セメント板43下部45の躯体47からの離反方向の移動が規制され、押出成形セメント板43の下部45が躯体47に固定される。これにより、Z金物55の固定された押出成形セメント板43の下部45を重量受けプレート51へ向けて落とし込むことで、押出成形セメント板43の下部45を躯体47へ固定することが可能となる。また、重量受けプレート51、C型鋼53及びZ金物55のそれぞれが簡単な形状となり、製造が容易となって、製品コストが安価になる。更に、地震等によって層間変位が生じると、Z金物55及びC型鋼53自身の弾性変形や、Z金物55と押出成形セメント板43との固定構造(ボルト締結構造等)によって変位が吸収され、押出成形セメント板43への応力集中が緩和される。
【0028】
また、押出成形セメント板43の取付方法によれば、Z金物55の固定された押出成形セメント板43の下部45が、重量受けプレート51へ向けて落とし込まれることで、押出成形セメント板43の下部45が躯体47に固定される。これにより、手の届かない範囲での押出成形セメント板43下部45の固定が可能となり、押出成形セメント板43の裏面67側或いは正面側からのボルトの締め付けも不要となり、施工性が向上する。
【0029】
次に、本発明に係る取付金具を用いた他の取付方法を説明する。
図5は本発明に係る取付金具を用いた他の取付方法による押出成形セメント板取付け前後の状況を(a)(b)で表した説明図である。なお、図1〜図4に示した部材と同一の部材には同一の符号を付し、重複する説明は省略するものとする。
この実施の形態では、押出成形セメント板の取付金具が鉄筋コンクリート構造(RC造)の躯体91に用いられる場合を例に説明する。
躯体91には、押出成形セメント板43を取付けるための段部93が形成されており、この段部93には、C型鋼53がアンカー95によって固定される。
【0030】
この実施の形態では、C型鋼53は、起立片65が係合片71に当接する向きで固定される。つまり、C字の開口96が正面を向くことになる。また、下片63の上部には硬質パッキン97が敷設され、硬質パッキン97は段部93からの反力によって生じる押出成形セメント板43の応力集中を緩和させている。
【0031】
このようなRC造の場合において、押出成形セメント板43を躯体91に取付けるには、先ず、C型鋼53を躯体91の段部93に固定する。また、押出成形セメント板43の裏面67にはZ金物55を固定しておく。また、C型鋼53の下片63に硬質パッキン97を敷設しておく。そして、図5(b)に示すように、押出成形セメント板43の下端面57を硬質パッキン97に載置するとともに、Z金物55の間隙69に、C型鋼53の上片61及び起立片65を挟入する。これにより、押出成形セメント板43の下部45が躯体91に固定される。下部45が固定された押出成形セメント板43は、上部が正面側からボルト締めされて、取付けが完了する。
【0032】
次に、本発明に係る取付金具及び取付方法の変形例を説明する。
図6は変形例に係る取付金具を用いた取付方法による押出成形セメント板取付け前後の状況を(a)(b)で表した説明図、図7は変形例に係るC型鋼の断面図である。
この変形例は、S造、RC造の何れにも採用される。図6にはS造の場合を例示する。図7に示すように、C型鋼101は、起立片65が下片63と鈍角αを成すように傾斜している。この鈍角αは、95度以上が好ましい。また、C型鋼101は、上片61の幅d3が15mm程度、起立片65の高さh3が45mm程度に形成される。
【0033】
この変形例では、C型鋼101を重量受けプレート51に固定し、図6(a)に示すように、押出成形セメント板43を前傾姿勢にして、下端面57を重量受けプレート51に載置するとともに、Z金物55の間隙69にC型鋼101の上片61及び起立片65を挟入する。その後、図6(b)に示すように、押出成形セメント板43を垂直に立て起こす。次いで、押出成形セメント板43の上部が正面側からボルト締めされて、取付けが完了する。
【0034】
この変形例によれば、C型鋼101の起立片65が傾斜して前傾姿勢となっていることで、上片61及び起立片65を間隙69に差し入れる際、押出成形セメント板43を起立片65と平行な前傾姿勢で落とし込むことが可能となる。また、押出成形セメント板43は、斜めから落とし込まれた後、上部が躯体47側へ接近する方向に移動されて立て起こされるが、C型鋼101が躯体47に対面して開口しているので、立て起こしに際しても係合片71がこの開口96内へと進入し、係合片71がC型鋼101と干渉して、立て起こし不能となる事態が回避される。
【0035】
従って、この変形例による取付方法によれば、押出成形セメント板43の前傾姿勢での落とし込みが可能となり、押出成形セメント板43取り付け部の上方にバルコニー、窓枠等の障害物が存在し、真上からの落とし込みができない場合であっても、C型鋼101への固定が可能となる。
【0036】
【発明の効果】
以上詳細に説明したように、本発明に係る押出成形セメント板の取付金具によれば、躯体に固定される重量受けプレートと、この重量受けプレートに固定されるC型鋼と、押出成形セメント板の裏面に固定されるZ金物とを具備したので、押出成形セメント板の下端面が重量受けプレートに支持されると、同時にZ金物と裏面との間隙にC型鋼が挟入され、押出成形セメント板下部の躯体からの離反方向の移動が規制され、押出成形セメント板の下部が躯体に固定される。この結果、Z金物の固定された押出成形セメント板の下部を、重量受けプレートへ向けて落とし込むことで、押出成形セメント板の下部を躯体へ固定することができ、手の届かない範囲であっても、押出成形セメント板の固定が容易に行えるようになり、施工性を向上させることができる。また、重量受けプレート、C型鋼及びZ金物のそれぞれが簡単な形状で形成できるので、製品コストを安価にすることができる。更に、地震等によって層間変位が生じた場合であっても、Z金物とC型鋼とによって変位を吸収できるので、押出成形セメント板への応力集中を防止して、押出成形セメント板の損傷を防止することができる。
【0037】
本発明に係る押出成形セメント板の取付方法によれば、水平な重量受けプレートを躯体に固定し、C型鋼をこの重量受けプレートに固定し、Z金物を押出成形セメント板の裏面に固定し、押出成形セメント板の下端面を重量受けプレートに載置するとともに、Z金物と裏面との間隙にC型鋼の上片及び起立片を挟入するので、Z金物の固定された押出成形セメント板の下部を、重量受けプレートへ向けて落とし込むことで、押出成形セメント板の下部を躯体に固定でき、手の届かない範囲での押出成形セメント板下部の固定を可能にでき、押出成形セメント板の裏面側或いは正面側からのボルトの締め付けも必要なく、施工性を向上させることができる。
【図面の簡単な説明】
【図1】本発明に係る取付金具を用いた押出成形セメント板取付け前後の状況を(a)(b)で表した説明図である。
【図2】図1に示したC型鋼の断面図である。
【図3】図1に示したZ金物の側面視、正面視を(a)(b)で表した説明図である。
【図4】Z金物の固定された押出成形セメント板の下部裏面の斜視図である。
【図5】本発明に係る取付金具を用いた他の取付方法による押出成形セメント板取付け前後の状況を(a)(b)で表した説明図である。
【図6】変形例に係る取付金具を用いた取付方法による押出成形セメント板取付け前後の状況を(a)(b)で表した説明図である。
【図7】変形例に係るC型鋼の断面図である。
【図8】従来のボルト締めによる取付構造の斜視図である。
【図9】従来のダボピンによる取付構造の縦断面図である。
【図10】図8に示した取付構造の側面図である。
【符号の説明】
41…押出成形セメント板の取付金具、43…押出成形セメント板、45…下部、47、91…躯体、51…重量受けプレート、53…C型鋼、55…Z金物、57…下端面、61…上片、63…下片、65…起立片、67…裏面、69…間隙、71…係合片、85…ボルト

Claims (8)

  1. 押出成形セメント板の下部を躯体に取付ける押出成形セメント板の取付金具であって、
    前記躯体に沿って水平方向に延在して固定され前記押出成形セメント板の下端面を載置する重量受けプレートと、
    上片、下片が起立片で連続する断面C字形状を有し前記下片が前記重量受けプレートに固定されるとともに前記起立片が前記押出成形セメント板の裏面に当接するC型鋼と、
    前記押出成形セメント板の裏面に固定され前記裏面との間に間隙を形成して下向きに突出する係合片を有し前記間隙に前記C型鋼の上片及び起立片を挟入することにより当該押出成形セメント板の下部を前記躯体に固定するZ金物と
    を具備したことを特徴とする押出成形セメント板の取付金具。
  2. 請求項1に記載の押出成形セメント板の取付金具において、
    前記C型鋼は、前記起立片が前記下片と鈍角を成すように傾斜していることを特徴とする押出成形セメント板の取付金具。
  3. 押出成形セメント板の下部を躯体に取付ける押出成形セメント板の取付金具であって、
    上片、下片が起立片で連続する断面C字形状を有し前記下片が前記躯体の水平面に固定されるとともに前記起立片が前記押出成形セメント板の裏面に当接するC型鋼と、
    前記押出成形セメント板の裏面に固定され前記裏面との間に間隙を形成して下向きに突出する係合片を有し前記間隙に前記C型鋼の上片及び起立片を挟入することにより当該押出成形セメント板の下部を前記躯体に固定するZ金物と
    を具備したことを特徴とする押出成形セメント板の取付金具。
  4. 請求項1〜3の何れか1項に記載の押出成形セメント板の取付金具において、
    前記Z金物には、前記係合片の先端に前記隙間を徐々に広げる案内片が延設されている
    ことを特徴とする押出成形セメント板の取付金具。
  5. 押出成形セメント板の下部を躯体に取付ける押出成形セメント板の取付方法であって、
    水平な重量受けプレートを前記躯体に沿って固定する工程と、
    上片、下片が起立片で連続する断面C字形状を有するC型鋼の前記下片を、前記重量受けプレートに固定する工程と、
    前記裏面との間に間隙を形成して下向きに突出する係合片を有したZ金物を、前記押出成形セメント板の裏面に固定する工程と、
    前記押出成形セメント板の下端面を前記重量受けプレートに載置するとともに、前記Z金物の間隙に前記C型鋼の上片及び起立片を挟入することにより当該押出成形セメント板の下部を前記躯体に固定する工程と
    を含むことを特徴とする押出成形セメント板の取付方法。
  6. 請求項5に記載の押出成形セメント板の取付方法において、
    前記起立片が前記下片と鈍角を成すように傾斜した前記C型鋼を前記重量受けプレートに固定し、
    前記押出成形セメント板を前傾姿勢にして、前記下端面を前記重量受けプレートに載置するとともに、前記Z金物の間隙に前記C型鋼の上片及び起立片を挟入した後、
    該押出成形セメント板を垂直に立て起こすことを特徴とする押出成形セメント板の取付方法。
  7. 押出成形セメント板の下部を躯体に取付ける押出成形セメント板の取付方法であって、
    上片、下片が起立片で連続する断面C字形状を有するC型鋼の前記下片を、前記躯体の水平面に固定する工程と、
    前記裏面との間に間隙を形成して下向きに突出する係合片を有したZ金物を、前記押出成形セメント板の裏面に固定する工程と、
    前記押出成形セメント板の下端面を前記躯体の水平面に載置するとともに、前記Z金物の間隙に前記C型鋼の上片及び起立片を挟入することにより当該押出成形セメント板の下部を前記躯体に固定する工程と
    を含むことを特徴とする押出成形セメント板の取付方法。
  8. 請求項5〜7の何れか1項に記載の押出成形セメント板の取付方法において、
    前記Z金物には、前記係合片の先端に前記隙間を徐々に広げる案内片が延設されている
    ことを特徴とする押出成形セメント板の取付方法。
JP2003103731A 2003-04-08 2003-04-08 押出成形セメント板の取付金具及び取付方法 Expired - Fee Related JP4098140B2 (ja)

Priority Applications (1)

Application Number Priority Date Filing Date Title
JP2003103731A JP4098140B2 (ja) 2003-04-08 2003-04-08 押出成形セメント板の取付金具及び取付方法

Applications Claiming Priority (1)

Application Number Priority Date Filing Date Title
JP2003103731A JP4098140B2 (ja) 2003-04-08 2003-04-08 押出成形セメント板の取付金具及び取付方法

Publications (2)

Publication Number Publication Date
JP2004308259A JP2004308259A (ja) 2004-11-04
JP4098140B2 true JP4098140B2 (ja) 2008-06-11

Family

ID=33466749

Family Applications (1)

Application Number Title Priority Date Filing Date
JP2003103731A Expired - Fee Related JP4098140B2 (ja) 2003-04-08 2003-04-08 押出成形セメント板の取付金具及び取付方法

Country Status (1)

Country Link
JP (1) JP4098140B2 (ja)

Families Citing this family (3)

* Cited by examiner, † Cited by third party
Publication number Priority date Publication date Assignee Title
CN104563346B (zh) * 2014-12-23 2017-06-16 周述文 背挂式石材或瓷板幕墙板块连接及调整装置
JP6544785B1 (ja) * 2018-12-17 2019-07-17 株式会社ヒロコーポレーション タイルパネル支持構造
WO2020129113A1 (ja) * 2018-12-17 2020-06-25 株式会社ヒロコーポレーション タイルパネル支持構造

Also Published As

Publication number Publication date
JP2004308259A (ja) 2004-11-04

Similar Documents

Publication Publication Date Title
US20050005561A1 (en) Lateral and uplift resistance apparatus and methods for use in structural framing
JP4098140B2 (ja) 押出成形セメント板の取付金具及び取付方法
JPH10115006A (ja) 軸組建築物用接続装置
KR102788848B1 (ko) 외벽타일 및 단열재 설치용 긴결재 및 이를 이용하는 외벽타일 및 단열재 시스템
RU2430222C1 (ru) Кронштейн навесной фасадной системы с воздушным зазором (варианты)
JP6670183B2 (ja) 方立取付構造およびサッシ
JP2014070357A (ja) 木造住宅の耐力壁
JP4974179B2 (ja) 建物用建具
JP4684886B2 (ja) 外壁リフォーム構造およびリフォーム用外壁の施工方法
JP5015110B2 (ja) 引寄せ金物
JP3894372B2 (ja) 内壁パネル固定金具及び内壁パネルの固定構造
JP4440041B2 (ja) 金属製内壁枠の金属製縦桟と開口部用金属製縦桟の連結構造
JPH0649724Y2 (ja) 外壁材用留付け金具
JP3260289B2 (ja) 内壁パネルの取付構造および内壁材の取付構造
WO2021260801A1 (ja) 木造住宅の耐力壁
JP2007262803A (ja) 門形枠体の取付け構造
JP3888448B2 (ja) 簡易開口部補強構造
AU2007202364B2 (en) Construction mount
JP2000096838A (ja) 押出成形セメント板の取付構造
JP4818741B2 (ja) 設備取付用下地及び界壁下地、並びに界壁パネル
JP2001107460A (ja) 建築用金物
JP5432326B2 (ja) 木造建築物用補強金具、補強構造及び補強方法
JP2005146718A (ja) 挟み金物ビス締め接合木造軸組工法
NZ555371A (en) Construction mount with upright that inserts into engagement member of hollow section
JP2001032418A (ja) 間仕切り開口パネルとその設置構造

Legal Events

Date Code Title Description
A621 Written request for application examination

Free format text: JAPANESE INTERMEDIATE CODE: A621

Effective date: 20051201

A977 Report on retrieval

Free format text: JAPANESE INTERMEDIATE CODE: A971007

Effective date: 20071017

A131 Notification of reasons for refusal

Free format text: JAPANESE INTERMEDIATE CODE: A131

Effective date: 20071023

A521 Written amendment

Free format text: JAPANESE INTERMEDIATE CODE: A523

Effective date: 20071221

TRDD Decision of grant or rejection written
A01 Written decision to grant a patent or to grant a registration (utility model)

Free format text: JAPANESE INTERMEDIATE CODE: A01

Effective date: 20080311

A61 First payment of annual fees (during grant procedure)

Free format text: JAPANESE INTERMEDIATE CODE: A61

Effective date: 20080312

R150 Certificate of patent or registration of utility model

Free format text: JAPANESE INTERMEDIATE CODE: R150

FPAY Renewal fee payment (event date is renewal date of database)

Free format text: PAYMENT UNTIL: 20110321

Year of fee payment: 3

FPAY Renewal fee payment (event date is renewal date of database)

Free format text: PAYMENT UNTIL: 20110321

Year of fee payment: 3

FPAY Renewal fee payment (event date is renewal date of database)

Free format text: PAYMENT UNTIL: 20120321

Year of fee payment: 4

FPAY Renewal fee payment (event date is renewal date of database)

Free format text: PAYMENT UNTIL: 20120321

Year of fee payment: 4

FPAY Renewal fee payment (event date is renewal date of database)

Free format text: PAYMENT UNTIL: 20120321

Year of fee payment: 4

FPAY Renewal fee payment (event date is renewal date of database)

Free format text: PAYMENT UNTIL: 20120321

Year of fee payment: 4

FPAY Renewal fee payment (event date is renewal date of database)

Free format text: PAYMENT UNTIL: 20130321

Year of fee payment: 5

FPAY Renewal fee payment (event date is renewal date of database)

Free format text: PAYMENT UNTIL: 20130321

Year of fee payment: 5

FPAY Renewal fee payment (event date is renewal date of database)

Free format text: PAYMENT UNTIL: 20140321

Year of fee payment: 6

LAPS Cancellation because of no payment of annual fees