JP4091712B2 - 画像読取装置 - Google Patents
画像読取装置 Download PDFInfo
- Publication number
- JP4091712B2 JP4091712B2 JP16321999A JP16321999A JP4091712B2 JP 4091712 B2 JP4091712 B2 JP 4091712B2 JP 16321999 A JP16321999 A JP 16321999A JP 16321999 A JP16321999 A JP 16321999A JP 4091712 B2 JP4091712 B2 JP 4091712B2
- Authority
- JP
- Japan
- Prior art keywords
- light
- light source
- document
- color
- image reading
- Prior art date
- Legal status (The legal status is an assumption and is not a legal conclusion. Google has not performed a legal analysis and makes no representation as to the accuracy of the status listed.)
- Expired - Lifetime
Links
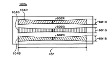
- 239000000758 substrate Substances 0.000 claims description 26
- 238000005401 electroluminescence Methods 0.000 claims description 14
- 239000003086 colorant Substances 0.000 claims description 11
- 239000011521 glass Substances 0.000 description 16
- 238000010586 diagram Methods 0.000 description 13
- 230000004048 modification Effects 0.000 description 13
- 238000012986 modification Methods 0.000 description 13
- 238000000034 method Methods 0.000 description 11
- 230000001678 irradiating effect Effects 0.000 description 6
- 230000003287 optical effect Effects 0.000 description 6
- 230000005525 hole transport Effects 0.000 description 4
- 239000000463 material Substances 0.000 description 4
- 230000009467 reduction Effects 0.000 description 4
- 229910002601 GaN Inorganic materials 0.000 description 3
- JMASRVWKEDWRBT-UHFFFAOYSA-N Gallium nitride Chemical compound [Ga]#N JMASRVWKEDWRBT-UHFFFAOYSA-N 0.000 description 3
- 238000006243 chemical reaction Methods 0.000 description 2
- 238000005286 illumination Methods 0.000 description 2
- 238000003384 imaging method Methods 0.000 description 2
- 239000011777 magnesium Substances 0.000 description 2
- 230000008569 process Effects 0.000 description 2
- 230000004044 response Effects 0.000 description 2
- 230000035945 sensitivity Effects 0.000 description 2
- 238000000926 separation method Methods 0.000 description 2
- FYYHWMGAXLPEAU-UHFFFAOYSA-N Magnesium Chemical compound [Mg] FYYHWMGAXLPEAU-UHFFFAOYSA-N 0.000 description 1
- OAICVXFJPJFONN-UHFFFAOYSA-N Phosphorus Chemical compound [P] OAICVXFJPJFONN-UHFFFAOYSA-N 0.000 description 1
- ATJFFYVFTNAWJD-UHFFFAOYSA-N Tin Chemical compound [Sn] ATJFFYVFTNAWJD-UHFFFAOYSA-N 0.000 description 1
- 230000002411 adverse Effects 0.000 description 1
- 230000008901 benefit Effects 0.000 description 1
- 230000000694 effects Effects 0.000 description 1
- 230000005611 electricity Effects 0.000 description 1
- 229910003437 indium oxide Inorganic materials 0.000 description 1
- PJXISJQVUVHSOJ-UHFFFAOYSA-N indium(iii) oxide Chemical compound [O-2].[O-2].[O-2].[In+3].[In+3] PJXISJQVUVHSOJ-UHFFFAOYSA-N 0.000 description 1
- 150000002484 inorganic compounds Chemical class 0.000 description 1
- 229910010272 inorganic material Inorganic materials 0.000 description 1
- 238000010030 laminating Methods 0.000 description 1
- 229910052749 magnesium Inorganic materials 0.000 description 1
- 150000002894 organic compounds Chemical class 0.000 description 1
- 230000002093 peripheral effect Effects 0.000 description 1
- 238000005215 recombination Methods 0.000 description 1
- 230000006798 recombination Effects 0.000 description 1
- 230000004043 responsiveness Effects 0.000 description 1
- 229910052709 silver Inorganic materials 0.000 description 1
- 239000004332 silver Substances 0.000 description 1
- 239000007787 solid Substances 0.000 description 1
- 239000013589 supplement Substances 0.000 description 1
- 239000010409 thin film Substances 0.000 description 1
Images
Landscapes
- Electroluminescent Light Sources (AREA)
- Facsimile Heads (AREA)
- Facsimile Scanning Arrangements (AREA)
Priority Applications (1)
| Application Number | Priority Date | Filing Date | Title |
|---|---|---|---|
| JP16321999A JP4091712B2 (ja) | 1999-06-10 | 1999-06-10 | 画像読取装置 |
Applications Claiming Priority (1)
| Application Number | Priority Date | Filing Date | Title |
|---|---|---|---|
| JP16321999A JP4091712B2 (ja) | 1999-06-10 | 1999-06-10 | 画像読取装置 |
Publications (3)
| Publication Number | Publication Date |
|---|---|
| JP2000354132A JP2000354132A (ja) | 2000-12-19 |
| JP2000354132A5 JP2000354132A5 (enExample) | 2006-06-01 |
| JP4091712B2 true JP4091712B2 (ja) | 2008-05-28 |
Family
ID=15769583
Family Applications (1)
| Application Number | Title | Priority Date | Filing Date |
|---|---|---|---|
| JP16321999A Expired - Lifetime JP4091712B2 (ja) | 1999-06-10 | 1999-06-10 | 画像読取装置 |
Country Status (1)
| Country | Link |
|---|---|
| JP (1) | JP4091712B2 (enExample) |
Families Citing this family (8)
| Publication number | Priority date | Publication date | Assignee | Title |
|---|---|---|---|---|
| JP2002325162A (ja) * | 2001-02-22 | 2002-11-08 | Matsushita Electric Ind Co Ltd | 画像読取装置の光源と画像読取装置 |
| CN100423532C (zh) * | 2001-08-09 | 2008-10-01 | 松下电器产业株式会社 | 图像读取装置的光源以及光源的驱动装置 |
| JP4581692B2 (ja) * | 2005-01-11 | 2010-11-17 | セイコーエプソン株式会社 | 有機発光ダイオード装置、画像形成装置および画像読み取り装置 |
| JP2006107755A (ja) * | 2004-09-30 | 2006-04-20 | Seiko Epson Corp | 電気光学装置、画像形成装置および画像読み取り装置 |
| JP4742624B2 (ja) * | 2005-03-04 | 2011-08-10 | セイコーエプソン株式会社 | 電気光学装置、その製造方法、画像印刷装置および画像読み取り装置 |
| JP4902573B2 (ja) * | 2008-02-25 | 2012-03-21 | 株式会社リコー | 画像読取装置 |
| JP4766066B2 (ja) | 2008-03-14 | 2011-09-07 | コニカミノルタビジネステクノロジーズ株式会社 | 画像読み取り装置および光源 |
| JP6340793B2 (ja) | 2013-12-27 | 2018-06-13 | セイコーエプソン株式会社 | 光学装置 |
Family Cites Families (7)
| Publication number | Priority date | Publication date | Assignee | Title |
|---|---|---|---|---|
| JPS56161773A (en) * | 1980-05-16 | 1981-12-12 | Hitachi Ltd | Arraying device of photosensor |
| JPS61131960A (ja) * | 1984-11-30 | 1986-06-19 | Sharp Corp | カラ−画像読取装置 |
| JPS6482758A (en) * | 1987-09-24 | 1989-03-28 | Minolta Camera Kk | Color image reader |
| JPH03107861U (enExample) * | 1990-02-21 | 1991-11-06 | ||
| JPH05191563A (ja) * | 1991-02-27 | 1993-07-30 | Ricoh Co Ltd | 画像読取装置 |
| JPH05328025A (ja) * | 1992-05-27 | 1993-12-10 | Canon Inc | 原稿読み取り装置 |
| JPH0879446A (ja) * | 1994-09-08 | 1996-03-22 | Seiko Epson Corp | 画像入力装置 |
-
1999
- 1999-06-10 JP JP16321999A patent/JP4091712B2/ja not_active Expired - Lifetime
Also Published As
| Publication number | Publication date |
|---|---|
| JP2000354132A (ja) | 2000-12-19 |
Similar Documents
| Publication | Publication Date | Title |
|---|---|---|
| KR100379243B1 (ko) | 선형조명장치 | |
| JP2001135479A (ja) | 発光素子、並びにそれを用いた画像読取装置、情報処理装置及びディスプレイ装置 | |
| TW201044568A (en) | Non-radiatively pumped wavelength converter | |
| JP4091712B2 (ja) | 画像読取装置 | |
| CN1682260A (zh) | 有源显示器 | |
| US9001394B2 (en) | Image scanning apparatus and control method thereof | |
| US8610978B2 (en) | Document reading apparatus | |
| JP2000106617A (ja) | 読取装置および読取システム | |
| JP2002351359A (ja) | Ledアレイおよびled表示装置 | |
| WO2006107011A1 (ja) | 発光ユニット、該発光ユニットを用いた照明装置及び画像読取装置 | |
| JP2000354132A5 (enExample) | ||
| CN218675667U (zh) | 一种激光投影显示屏幕及装置 | |
| JP3956963B2 (ja) | 画像読み取り装置 | |
| JP2006197531A (ja) | 画像スキャナの走査方法 | |
| JPH05191563A (ja) | 画像読取装置 | |
| US7315405B2 (en) | Image forming apparatus and image scanning method | |
| JP2008071664A (ja) | 電気光学装置及び電子機器 | |
| US20030142208A1 (en) | Image reading apparatus | |
| JP5820123B2 (ja) | 照明装置及びこの照明装置を用いた画像読取装置 | |
| JPH05328025A (ja) | 原稿読み取り装置 | |
| JP2004120743A (ja) | 光源 | |
| JP3575394B2 (ja) | 線状照明装置 | |
| JP5059327B2 (ja) | 画像読取装置の照明装置 | |
| TW475325B (en) | Scanner having OLED | |
| JP2009094960A (ja) | 画像読み取り装置 |
Legal Events
| Date | Code | Title | Description |
|---|---|---|---|
| A521 | Request for written amendment filed |
Free format text: JAPANESE INTERMEDIATE CODE: A523 Effective date: 20060410 |
|
| A621 | Written request for application examination |
Free format text: JAPANESE INTERMEDIATE CODE: A621 Effective date: 20060410 |
|
| A977 | Report on retrieval |
Free format text: JAPANESE INTERMEDIATE CODE: A971007 Effective date: 20071112 |
|
| A131 | Notification of reasons for refusal |
Free format text: JAPANESE INTERMEDIATE CODE: A131 Effective date: 20071120 |
|
| A521 | Request for written amendment filed |
Free format text: JAPANESE INTERMEDIATE CODE: A523 Effective date: 20080109 |
|
| TRDD | Decision of grant or rejection written | ||
| A01 | Written decision to grant a patent or to grant a registration (utility model) |
Free format text: JAPANESE INTERMEDIATE CODE: A01 Effective date: 20080205 |
|
| A61 | First payment of annual fees (during grant procedure) |
Free format text: JAPANESE INTERMEDIATE CODE: A61 Effective date: 20080229 |
|
| R150 | Certificate of patent or registration of utility model |
Free format text: JAPANESE INTERMEDIATE CODE: R150 |
|
| FPAY | Renewal fee payment (event date is renewal date of database) |
Free format text: PAYMENT UNTIL: 20110307 Year of fee payment: 3 |
|
| FPAY | Renewal fee payment (event date is renewal date of database) |
Free format text: PAYMENT UNTIL: 20110307 Year of fee payment: 3 |
|
| FPAY | Renewal fee payment (event date is renewal date of database) |
Free format text: PAYMENT UNTIL: 20120307 Year of fee payment: 4 |
|
| FPAY | Renewal fee payment (event date is renewal date of database) |
Free format text: PAYMENT UNTIL: 20130307 Year of fee payment: 5 |