JP4059248B2 - ピストン装置、スターリングエンジン - Google Patents

ピストン装置、スターリングエンジン Download PDF

Info

Publication number
JP4059248B2
JP4059248B2 JP2004378172A JP2004378172A JP4059248B2 JP 4059248 B2 JP4059248 B2 JP 4059248B2 JP 2004378172 A JP2004378172 A JP 2004378172A JP 2004378172 A JP2004378172 A JP 2004378172A JP 4059248 B2 JP4059248 B2 JP 4059248B2
Authority
JP
Japan
Prior art keywords
piston
pressure
flow path
piston device
introduction
Prior art date
Legal status (The legal status is an assumption and is not a legal conclusion. Google has not performed a legal analysis and makes no representation as to the accuracy of the status listed.)
Expired - Fee Related
Application number
JP2004378172A
Other languages
English (en)
Other versions
JP2006183566A (ja
Inventor
大作 澤田
寛 矢口
信一 三谷
Current Assignee (The listed assignees may be inaccurate. Google has not performed a legal analysis and makes no representation or warranty as to the accuracy of the list.)
Toyota Motor Corp
Original Assignee
Toyota Motor Corp
Priority date (The priority date is an assumption and is not a legal conclusion. Google has not performed a legal analysis and makes no representation as to the accuracy of the date listed.)
Filing date
Publication date
Priority to JP2004378172A priority Critical patent/JP4059248B2/ja
Application filed by Toyota Motor Corp filed Critical Toyota Motor Corp
Priority to CN 200580045137 priority patent/CN101091053A/zh
Priority to EP13161328.3A priority patent/EP2628933A3/en
Priority to US11/793,979 priority patent/US7624574B2/en
Priority to PCT/JP2005/023966 priority patent/WO2006070832A1/ja
Priority to CN2009100017374A priority patent/CN101457710B/zh
Priority to CN201110162801.4A priority patent/CN102278229B/zh
Priority to EP13161327.5A priority patent/EP2617977A3/en
Priority to EP05822373A priority patent/EP1837513A4/en
Publication of JP2006183566A publication Critical patent/JP2006183566A/ja
Application granted granted Critical
Publication of JP4059248B2 publication Critical patent/JP4059248B2/ja
Anticipated expiration legal-status Critical
Expired - Fee Related legal-status Critical Current

Links

Images

Landscapes

  • Pistons, Piston Rings, And Cylinders (AREA)
  • Engine Equipment That Uses Special Cycles (AREA)

Description

本発明は、ピストン装置、スターリングエンジンに関する。
近年、乗用車やバス、トラック等の車両に搭載される内燃機関の排熱や工場排熱を回収するために、理論熱効率に優れたスターリングエンジンが注目されてきている。
スターリングエンジンを含む外燃機関に適用可能なピストン装置として、特開2000−46431号公報(特許文献1)に開示された技術が知られている。上記特許文献1に開示された外燃機関のピストンは、ピストンのシリンダ内の往復運動に伴って作動空間内で圧縮、膨張を繰返す作動媒体の働きにより駆動されるディスプレーサを用いるタイプのスターリングエンジンに適用されるものであって、ピストン内部に形成され、作動空間内で圧縮された作動媒体を一時的に蓄える加圧室と、加圧室内の作動媒体をピストンとシリンダーとのクリアランス部に噴出するオリフィスと、加圧室側のオリフィス端部に設けられた逆止弁とを具備し、逆止弁は、ピストンの動きにより作動空間内の作動媒体圧力が下がったときに加圧室内の作動媒体が作動空間内へ逆流するのを防ぐために設けられている。
特開2000−46431号公報
スターリングエンジンのような外燃機関の作動空間内で圧縮された作動媒体をピストン内部に導入し、ピストンの側周部(外周部)に設けられた複数の孔からピストンとシリンダとの間のクリアランス部に噴射することで、気体軸受を構成する場合、従来は、機械的な可動部を持ち、ピストンの上下動毎に開閉する逆止弁(チェック弁)が用いられていたため、信頼性、寿命の確保が難しかった。ピストンの上下動に伴う加速度に対してチェック弁の可動部が不安定な動作をして所定の位置に定まらず、チェック弁としての正確な機能が得られないことがあり、設計上、構造上の制約になっていた。
本発明の目的は、外燃機関の作動空間内で圧縮された作動媒体をピストン内部に導入し、ピストンの側周部に設けられた複数の孔からピストンとシリンダとの間のクリアランス部に噴射することで、気体軸受を構成する場合に、ピストン内部の作動媒体が作動空間内に逆流するのを抑制するという機能が確実に得られ、かつ、信頼性、寿命を容易に確保することが可能なピストン装置、スターリングエンジンを提供することである。
本発明のピストン装置は、外燃機関に適用され、ピストン本体と、前記ピストン本体の内部に形成された蓄圧室と、前記外燃機関の作動空間で圧縮された作動媒体を前記蓄圧室に導入するための導入部と、前記ピストン本体の側周部に設けられ、前記蓄圧室から、前記ピストン本体と前記外燃機関のシリンダとの間のクリアランス部に貫通する孔とを備え、前記導入部は、前記作動媒体の前記蓄圧室への導入方向及び前記導入方向の反対方向のいずれの方向にも流通可能に設けられ、前記導入部において前記反対方向の流路抵抗は、前記導入方向の流路方向に比べて大きくなるように構成されているとともに、前記導入部の前記反対方向における入口側には、前記蓄圧室の方に突出する突起部が設けられ、さらに、前記導入部における前記導入方向と前記反対方向の流路抵抗の相違は、弁体のような可動部の作動による前記導入部の流路の開閉動作に基づくものではなく、前記導入部の形状に基づくものであることを特徴としている。
本発明のピストン装置において、前記導入部における前記導入方向と前記反対方向の流路抵抗の相違は、弁体のような可動部の作動による前記導入部の流路の開閉動作に基づくものではなく、前記導入部の形状に基づくものであることを特徴としている。
本発明のピストン装置において、更に、前記作動空間で圧縮された作動媒体を前記蓄圧室に導入するための、前記導入部とは異なる流路と、前記蓄圧室に設けられ、前記流路を弁体のような可動部の作動により開閉する流路開閉手段とを備え、前記可動部は、前記ピストン装置の起動時に作動し、前記ピストン装置の常用運転域では作動が停止して前記流路を閉状態とするように構成されていることを特徴としている。
本発明のピストン装置において、前記作動空間の平均圧に対する増圧側圧力振幅をP+Pとし、前記導入部による前記蓄圧室の飽和蓄圧値をPFとするとき、前記可動部を開動作させるために必要な圧力Pcは、Pc<P+P、かつ、Pc>(P+P−PF)に設定されていることを特徴としている。
本発明のピストン装置において、前記流路開閉手段は、前記可動部の作動時の移動方向が前記ピストン本体の上下方向と概ね一致するように配置され、前記ピストン装置の常用運転域よりも低い設定回転数における前記可動部に作用する上向きの最大加速度による前記可動部を開動作させるために必要な圧力の上昇分をPAとするとき、前記可動部を開動作させるために必要な圧力Pc’は、(Pc’+PA)<P+P、かつ、(Pc’+PA)>(P+P−PF)に設定されていることを特徴としている。
本発明のピストン装置において、前記流路上において、前記流路開閉手段と前記作動空間との間には、オリフィスを介して前記作動空間と連通し前記作動媒体が通る部屋が設けられていることを特徴としている。
本発明のスターリングエンジンは、上記本発明のピストン装置と、前記シリンダとを備えたことを特徴とするスターリングエンジンである。
本発明の外燃機関は、ピストン装置と、シリンダとを備えた外燃機関であって、前記ピストン装置は、ピストン本体と、前記ピストン本体の内部に形成された蓄圧室と、前記ピストン本体の側周部において所定の高さ位置に対応する第1部分に設けられ、前記外燃機関の作動空間で圧縮された作動媒体を前記蓄圧室に導入するための導入部と、前記ピストン本体の側周部において前記所定の高さ位置よりも下方位置に対応する第2部分に設けられ、前記蓄圧室から、前記ピストン本体と前記シリンダとの間のクリアランス部に貫通する孔とを備え、前記ピストン装置が上死点にあるときと下死点にあるときとの比較において、前記ピストン本体の側周部における前記第1部分と、前記シリンダとの間のクリアランス部の大きさは、前記ピストン装置が上死点にあるときの方が、前記ピストン装置が下死点にあるときに比べて、大きくなるように構成されていることを特徴としている。
本発明の外燃機関であって、前記ピストン装置が上死点にあるときと下死点にあるときとの比較において、前記ピストン本体の側周部における前記第2部分と、前記シリンダとの間のクリアランス部の大きさは、概ね同じとなるように構成され、前記ピストン本体の側周部における前記第1部分と前記第2部分との比較において、前記ピストン装置が下死点にあるときの、前記シリンダとの間のクリアランス部の大きさは、概ね同じとなるように構成されていることを特徴としている。
本発明の外燃機関において、前記ピストン装置が下死点にあるときに前記ピストン本体の側周部における前記第1部分が対向する前記シリンダの内周壁部の径よりも、前記ピストン装置が上死点にあるときに前記ピストン本体の側周部における前記第1部分が対向する前記シリンダの内周壁部の径の方が大きくなるように構成されていることを特徴としている。
本発明の外燃機関において、前記外燃機関は、α型スターリングエンジンであり、前記ピストン本体の側周部における前記第1部分と、前記シリンダとの間のクリアランス部の大きさは、前記ピストン装置が上死点の前後45°以内の範囲にあるときの方が、前記ピストン装置が前記範囲以外にあるときに比べて、大きくなるように構成されていることを特徴としている。
本発明の外燃機関において、前記導入部の上面は、概ね同一の高さとなるように扁平状に形成されていることを特徴としている。
本発明によれば、外燃機関の作動空間内で圧縮された作動媒体をピストン内部に導入し、ピストンの側周部に設けられた複数の孔からピストンとシリンダとの間のクリアランス部に噴射することで、気体軸受を構成する場合に、ピストン内部の作動媒体が作動空間内に逆流するのを抑制するという機能が確実に得られ、かつ、信頼性、寿命の確保が容易となる。
以下、本発明のピストン装置を適用した排気熱回収装置の一実施形態につき図面を参照しつつ詳細に説明する。
(第1実施形態)
本実施形態の目的は、α型スターリングエンジンの作動空間内で圧縮された作動流体をピストン内部に導入し、ピストンの外周部に設けられた複数の孔からピストンとシリンダとの間のクリアランス部に噴射することで、気体軸受を構成する場合に、ピストン内部の作動媒体が作動空間内に逆流するのを抑制するという機能が確実に得られ、かつ、信頼性、寿命を容易に確保することが可能なピストン装置が適用されるスターリングエンジンからなる排気熱回収装置を提供することである。
本実施形態では、特に、スターリングエンジンが例えば車両の内燃機関の排気ガスのような排熱を熱源として作動する場合には、得られる熱量に制約があり、その得られる熱量の範囲でスターリングエンジンを効果的に作動させる必要があることから、ピストンの軽量化が求められている。また、本実施形態では、スターリングエンジンの装置規模(全体構成)の小型化が要求されている。特に、スターリングエンジンが例えば車両の内燃機関の排気ガスのような排熱を熱源として作動する場合には、車両の床下に配される内燃機関の排気管に隣接するスペースのように、限られた空間にスターリングエンジンを搭載しなくてはならない場合があるためである。以下に説明するスターリングエンジンでは、ピストンの軽量化と装置規模のコンパクト化が実現されている。
図3は、本実施形態のスターリングエンジンを示す正面図である。図3に示すように、本実施形態のスターリングエンジン10は、α型(2ピストン形)のスターリングエンジンであり、二つのパワーピストン20、30を備えている。二つのパワーピストン20、30は、直列並行に配置されている。低温側パワーピストン30のピストン31は、図4に示すように、高温側パワーピストン20のピストン21に対して、クランク角で90°程度遅れて動くように位相差がつけられている。
高温側パワーピストン20のシリンダ(以下高温側シリンダという)22の上部の空間(膨張空間)には、加熱器47によって加熱された作動流体が流入する。低温側パワーピストン30のシリンダ(以下低温側シリンダという)32の上部の空間(圧縮空間)には、冷却器45によって冷却された作動流体が流入する。
再生器(再生熱交換器)46は、膨張空間と圧縮空間を作動流体が往復する際に熱を蓄える。即ち、膨張空間から圧縮空間へと作動流体が流れる時には、再生器46は、作動流体より熱を受け取り、圧縮空間から膨張空間へと作動流体が流れる時には、蓄えられた熱を作動流体に渡す。
2つのピストン21、31の往復動に伴い、作動ガスの往復流動が生じて高温側シリンダ22の膨張空間と低温側シリンダ32の圧縮空間にある作動流体の割合が変化するとともに、全内容積も変わるため、圧力の変動が生じる。2つのピストン21、31がそれぞれ同位置にある場合の圧力を比較すると、膨張ピストン21についてはその上昇時より下降時の方がかなり高く、圧縮ピストン31については逆に低くなる。このため、膨張ピストン21は外部に対し大きな正の仕事(膨張仕事)を行い、圧縮ピストン31は外部から仕事(圧縮仕事)を受ける必要がある。膨張仕事は、一部が圧縮仕事に使われ、残りが駆動軸40を介して出力として取り出される。
本実施形態のスターリングエンジン10は、車両においてガソリンエンジン(内燃機関)と共に用いられてハイブリッドシステムを構成する。即ち、スターリングエンジン10は、ガソリンエンジンの排気ガスを熱源として用いる。スターリングエンジン10の加熱器47が車両のガソリンエンジンの排気管100の内部に配置され、排気ガスから回収した熱エネルギーにより作動流体が加熱されてスターリングエンジン10が作動する。
本実施形態のスターリングエンジン10は、排気管100の内部にその加熱器47が収容されるというように車両内の限られたスペースに設置されるため、装置全体がコンパクトである方が設置の自由度が増す。そのために、スターリングエンジン10では、2つのシリンダ22、32をV字形ではなく、直列並行に配置した構成を採用している。
加熱器47が排気管100の内部に配置されるに際しては、排気管100の内部において相対的に高温の排気ガスが流れる排気ガスの上流側(ガソリンエンジンに近い側)100aに、加熱器47の高温側シリンダ22側が位置し、相対的に低温の排気ガスが流れる下流側(ガソリンエンジンから遠い側)100bに加熱器47の低温側シリンダ32側が位置するように配置される。加熱器47の高温側シリンダ22側をより多く加熱するためである。
高温側シリンダ22及び低温側シリンダ32のそれぞれは、円筒状に形成されており、基準体である基板42に支持されている。本実施形態においては、この基板42が、スターリングエンジン10の各構成要素の位置基準となる。このように構成されることで、スターリングエンジン10の各構成要素の相対的位置精度が確保される。また、この基板42は、スターリングエンジン10が排熱回収対象である排気管(排気通路)100等に取り付けられるときの基準として用いられることができる。
排気管100のフランジ100fに対して、断熱材(スペーサ、図示せず)を介して、基板42が固定されている。排気管100と基板42とは、相対的位置精度が確保された状態で固定されるため、基板42は、固定的構造物として排気管100が備えた装置取付面であると捉えることができる。基板42には、高温側シリンダ22の側面(外周面)に設けられたフランジ22fが固定されている。また、基板42には、再生器46の側面(外周面)46cに設けられたフランジ46fが、断熱材(スペーサ、図示せず)を介して固定されている。また、基板42には、後述する隔壁70が固定されている。
基板42に対して、スターリングエンジン10の全ての構造部材が支持されている。このことから、基板42が排気管100内の排気ガスの熱により変形すると、その変形の影響がスターリングエンジン10の全ての構造部材に及ぶ。そのため、排気管100のフランジ100fとの間に上記断熱材を設けるとともに、シュラウド90により、排気管100内の排気ガスの熱が基板42に伝わることが最小限に抑制されている。
排気管100とスターリングエンジン10とは、基板42を介して取り付けられる。このとき、基板42と、高温側シリンダ22において加熱器47が接続される側の端面(頂部22bの上面)、及び低温側シリンダ32において冷却器45が接続される側の端面(頂面32a)とが実質的に平行になるように、スターリングエンジン10が基板42に取り付けられる。あるいは、基板42とクランクシャフト43(又は駆動軸40)の回転軸とが平行になるように、もしくは排気管100の中心軸とクランクシャフト43の回転軸とが平行になるように、スターリングエンジン10が基板42に取り付けられる。これにより、既存の排気管100に大幅な設計変更を加えることなく、容易に排気管100にスターリングエンジン10を取り付けることができる。その結果、排熱回収対象である車両の内燃機関本体の性能や搭載性、騒音等の機能を損なうことなくスターリングエンジン10を排気管100に搭載することができる。また、同一仕様のスターリングエンジン10を異なる排気管に取り付ける場合でも、加熱器47の仕様を変更するだけで対応できるので、汎用性を向上させることができる。
スターリングエンジン10は、車両の床下に配された排気管100に隣接するスペースに、横置き、即ち、車両の床面(図示せず)に対して、高温側シリンダ22及び低温側シリンダ32のそれぞれの軸線方向が概ね平行になるように配置され、2つのピストン21、31は、水平方向に往復動される。本実施形態では、説明の便宜上、2つのピストン21、31の上死点側を上方向、下死点側を下方向であるとして説明する。
作動流体は、その平均圧力が高い程、冷却器45や加熱器47による同じ温度差に対しての圧力差が大きくなるので高い出力が得られる。そのため、上記のように、高温側シリンダ22、低温側シリンダ32内の作動流体は高圧に保持されている。
ピストン(ピストン装置)21,31は、円柱状に形成されている。ピストン21、31の外周面とシリンダ22、32の内周面との間には、それぞれ数十μmの微小クリアランスが設けられており、そのクリアランスには、スターリングエンジン10の作動流体(空気)が介在している。ピストン21,31は、それぞれシリンダ22、32に対して空気軸受48により非接触の状態で支持されている。したがって、ピストン21,31の周囲には、ピストンリングは設けられておらず、また、一般にピストンリングと共に使用される潤滑油も使用されていない。上記のように、空気軸受48は、作動流体(気体)により膨張空間、圧縮空間それぞれの気密を保ち、リングレスかつオイルレスでクリアランスシールを行う。
空気軸受48は、図1を参照して、後述するように、スターリングエンジン10の作動空間内で圧縮された作動流体をピストン21,31の内部に導入し、ピストン21,31の外周部に設けられた複数の孔からピストン21,31とシリンダ22,32との間のクリアランス部に噴射することで構成される、静圧気体軸受である。
本実施形態では、スターリングエンジン10の熱源が車両の内燃機関の排気ガスであることから、得られる熱量に制約があり、その得られる熱量の範囲でスターリングエンジン10を効果的に作動させる必要がある。そのため、膨張空間に、なるべく高温の作動流体が流れるべく、高温側シリンダ22の頂部(上部)22b及び高温側シリンダ22の側面22cの上部が、排気管100の内部に配設されている。これにより、上死点近傍での膨張ピストン21の上部は、排気管100の内部に位置することになり、膨張ピストン21の上部が効果的に加熱される。
次に、図1及び図2を参照して、ピストン21,31の構成について詳細に説明する。
図1は、ピストン21の構成を示す正面図である。図2は、ピストン21の要部の正断面図である。図3に示すように、ピストン21,31の大きさは異なっているが、その構造は共通である。図1及び図2では、ピストン21,31に共通の構造が示されている。以下では、図1及び図2をピストン21の構成として説明する(同様の構成のピストン31についての説明は省略する)。
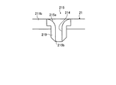
図1に示すように、ピストン21は、ピストン本体211と、そのピストン本体211の内部に形成された中空部(蓄圧室)212とを備えている。ピストン本体211は、上部及び下部が塞がれた円筒状に形成されている。
ピストン本体211は、高温側シリンダ22(図3)と摺動する側周部(摺動部)211aと、側周部211aと一体として(連続的に)蓋状に設けられた頂面部211bとを有している。頂面部211bには、高温側シリンダ22内の作動空間と中空部212とを連通する連絡流路214が形成されている。
連絡流路214は、順流時に比べて逆流時には著しく流路抵抗が大きく、例えば弁体のような可動部の無い流体素子215によって構成されている。即ち、流体素子215は、連絡流路214を通る作動流体の流れの向きが、下方に向かう方向(作動空間側から中空部212に向かう方向)のとき(順流時)には、流路抵抗が相対的に小さく、反対に、上方に向かう方向(中空部212から作動空間側に向かう方向)のとき(逆流時)には、順流時に比べて、流路抵抗が著しく大きくなるような形状に構成されている。
この流体素子215によって、ピストン21の動きにより高温側シリンダ22内の作動空間の作動流体の圧力が下がったときに、中空部212内の作動流体が高温側シリンダ22内の作動空間に逆流することが抑制される。流体素子215は、チェック弁(逆止弁)の弁体のような可動部を有していないため、信頼性、寿命の確保が容易であり、また、設計上、構造上の制約となることが抑制される。
図2は、流体素子215を拡大して示す図である。流体素子215において、順流側入口部215aの曲率R1は相対的に大きく形成され、逆流側入口部215bの曲率R2は無い(ゼロ)又は極めて小さく形成されている。順流側入口部215aは、その開口部の径寸法が漸次小さくなるように形成され、作動流体を連絡流路214に引き込むときの流線が滑らかなになるように形成されている。逆流側入口部215bは、エッジが立っており、中空部212内の作動流体が作動空間に逆流しようとする流体の剥離を起こし、縮流効果等によって、中空部212から作動空間に逆流する流量が抑制される。
流体素子215において、順流側入口部215a側には、頂面部211bから作動空間側に突出する突起が形成されていないのに対し(符号D1)、逆流側入口部215b側には、中空部212の方に突出する突起部D2が設けられ、その突起部D2の先端に逆流側入口部215bが設けられている。
流体素子215において、逆流側入口部215b側の端面Sが連絡流路214の流路となす角度θは、鋭角(90°より小)である。但し、逆流側入口部215bの突起部D2の肉厚が薄く端面自体が極めて小さいときには、この角度を定義する必要はない(後述する図6参照)。図1及び図2に示す連絡流路214を構成する流体素子215は、図8に示すように、ピストン21と一体的に(連続的に)形成されている(一体構造)であってもよいし、図6及び図7に示すように、ピストン21と別体の構成であってもよい。
図8に示す一体構造の場合には、例えば、ピストン21の頂面部211bに相当する部分をプレスで打ち抜き、塑性変形させることにより形成することができる。別体として構成する場合には、図6に示すように、順流側入口部215aはピストン21と一体的に形成し、突起部(逆流側入口部215b)をピストン21とは別体のチューブ218により構成することができる。また、図7に示すように、流体素子215に対応する部分の全体を、チップ219により構成することができる。
図1に示すように、側周部211aには、周方向に等間隔に複数の給気孔216が設けられている。ピストン21の上昇に伴い、高温側シリンダ22の作動空間の作動流体が圧縮されて、その作動流体の圧力が中空部212の圧力より高くなると、順流側入口部215aから連絡流路214を介して、作動空間の作動流体の一部が中空部212に導入される。連絡流路214を介して作動流体が中空部212に導入されると、中空部212の作動流体の一部が、給気孔216を介して、ピストン21とシリンダ22との間のクリアランスに噴出する。
連絡流路214は、その頂面部211bの面上において中央部に形成されている。これにより、連絡流路214と、複数の給気孔216との距離が等しくなる。作動空間の作動流体が連絡流路214を介して中空部212に導入されたときに、複数の給気孔216からそれぞれ噴射される作動流体の噴射状態(噴射量・噴射圧)が等しくなり易く、クリアランスに作動流体が噴射されるときに、周方向において噴射に関して偏りを生じるおそれが少ない。これにより、空気軸受48がより安定的に機能する。
中空部212に封入される作動流体の圧力は、作動流体の最大圧縮圧力よりも僅かに低い値とされることが望ましい。図4は、高温側ピストン21の頂面位置と低温側ピストン31の頂面位置の変化を示している。上述したように、低温側ピストン31は、高温側ピストン21に対して、クランク角で90°遅れて動くように位相差がつけられている。
図4において、高温側ピストン21の波形と、低温側ピストン31の波形の合成波Wが筒内圧を示している。図4において、符号Pmaxは、圧縮工程時の筒内圧の最大値(最大圧縮圧力)を示している。ピストン21の作動時、ピストン本体211には、最大で、最大圧縮圧力Pmaxが作用する。そのため、中空部212に対し、作動流体の最大圧縮圧力Pmaxよりも僅かに低い圧力の作動流体を封入しておくことにより、ピストン本体211に最大圧縮圧力Pmaxよりも所定値以上低い筒内圧(中空部212の圧力よりも低い圧力)が作用している場合(ピストン21が圧縮工程時の上死点近傍にあるとき以外)には、ピストン本体211は、筒内圧に対して十分な耐圧性能(剛性)を有することになる。これにより、ピストン本体211(特に、側周部211aのうち給気孔216が形成された部分以外)の肉厚は、筒内圧に対する耐圧性能の確保を考慮することなく、薄く形成することができ、軽量化が実現される。
中空部212に対し、作動流体の最大圧縮圧力Pmaxよりも僅かに低い圧力の作動流体が封入されている場合の動作は、次の通りである。即ち、圧縮工程時において、ピストン21が上死点近傍の位置にあるときに、中空部212の圧力よりも高温側シリンダ22の作動空間の圧力が上回って、連絡流路214から作動空間の作動流体の一部が導入されるとともに、中空部212の作動流体の一部が給気孔216からピストン21の外部に噴出される。また、ピストン21が上記位置にあるとき以外は、中空部212の圧力の方が高温側シリンダ22の作動空間の圧力よりも高いが、流体素子215は、上記のように、逆流時には、順流時に比べて著しく流路抵抗が大きくなるように構成されているため、中空部212内の作動流体が逆流側入口部215bから連絡流路214を介して、高温側シリンダ22内の作動空間に逆流することが抑制される。
給気孔216は、ピストン21の上下方向の長さの中間位置を挟んで上下に少なくとも1つずつ(図1では2つずつ、計4つが図示されている)設けられている。高温側シリンダ22内でピストン21の位置をバランスさせるために有効である。
加熱器47は、複数の伝熱管(管群)47tを有し、それらの複数の伝熱管47tが概ねU字形の形状に形成されてなるものである。各伝熱管47tの第1端部47aが高温側シリンダ22の上部(頂面22a側の端面)22bに接続されている。複数の伝熱管47tの第1端部47aがそれぞれ概ね同一面(フラット面)上に配置されるように設けられている。その概ねフラット面上に配される複数の伝熱管47tの第1端部47aは、それぞれ、概ねフラット面に形成された高温側シリンダ22の上部22bに接続される。これらのことから、複数の伝熱管47tの第1端部47a側の加工及び接続作業が容易となる。一方、各伝熱管47tの第2端部47bが再生器46の上部(加熱器47側の端面)46aに接続されている。
再生器46は、蓄熱材(マトリックス、図示せず)と、その蓄熱材が収容される再生器ハウジング46hとを備えている。再生器ハウジング46hは、低温側シリンダ32の上部と概ね同じ断面形状を有する概ね円柱状の蓄熱材を収容する。そのため、再生器ハウジング46hは、低温側シリンダ32の上部の断面形状と概ね同じ形の底面及び上面を有する円筒形(中空円柱状)に形成されている。
再生器46の側面(外周面)46cには、フランジ46fが設けられており、そのフランジ46fが断熱材を介して基板42に固定されている。再生器46では、蓄熱材として、積層された金網(積層形材料)が用いられている。金網は、作動流体が流れる方向に沿って積層され、複数の金網が互いに熱伝達を起こし難い状態で設けられている。
作動流体が膨張空間から圧縮空間へと流れるときに、蓄熱材が作動流体から受熱する場合、まず上記積層された複数の金網のうち最も加熱器47に近い最上部の金網が受熱することで作動流体の温度が低下し、次に加熱器47に近い金網が受熱することで作動流体の温度が更に低下し、更に次に加熱器47に近い金網が受熱することで更に作動流体の温度が低下するというように、再生器46において上方から下方に向けて金網の層を通過する度に、作動流体の温度が低下していく。
再生器46には、上述した機能から、以下の条件が要求される。即ち、伝熱性能と蓄熱容量が高く、流動抵抗(流動損失、圧力損失)が小さいことのほか、作動流体の流れ方向の熱伝導率が小さく、温度勾配を大きくとれることが要求される。このことから、複数の金網同士の間の熱伝導は極力小さいことが求められる。その金網の材料は、ステンレス鋼であることができる。
排気管100の内部に配置された再生器46においては、再生器ハウジング46hの作動流体の流れ方向への熱伝導の悪影響を抑制する必要性が非常に高い。このことから、本実施形態では、再生器ハウジング46hに、シュラウド90が設けられている。シュラウド90は、排気管100の内部の熱(例えば約600〜800℃)が、再生器ハウジング46hに伝達されないようにすることを目的としている。この場合、シュラウド90は、特に、再生器ハウジング46hの上面46aを除く面(側面46c及びフランジ46f)に伝達されないようにすることを目的としている。
なお、上記において、膨張ピストン21の上下方向の長さが圧縮ピストン31に比べて大きく形成され、また、高温側シリンダ22の上下方向の長さが低温側シリンダ32に比べて大きく形成されている理由は、以下の通りである。
スターリングエンジン10の効率の低下を抑制するため、高温側パワーピストン20における膨張空間以外の空間及び低温側のパワーピストン30における圧縮空間以外の空間、即ち、高温側パワーピストン20及び低温側のパワーピストン30のそれぞれにおけるクランクシャフト43の周辺の空間は、常温に保たれる必要がある。そのため、膨張空間の高温の作動流体がクランクシャフト43の高温側パワーピストン20側の周辺の空間に流入したり、圧縮空間の低温の作動流体がクランクシャフト43の低温側のパワーピストン30側の周辺の空間に流入することがないように、高温側シリンダ22と膨張ピストン21とのシール及び低温側シリンダ32と圧縮ピストン31とのシールが確実に行われる必要がある(後述のように、そのシールには空気軸受48が使用されている)。
一方で、上記のように、膨張空間を高温にすべく、高温側シリンダ22の頂部22b及び側面22cの上部は、排気管100の内部に収容されるため、高温側シリンダ22の上部及び膨張ピストン21の上部が熱膨張する。高温側シリンダ22及び膨張ピストン21のそれぞれの上部の熱膨張する部分では、シールが確実に行えないおそれがある。このことから、本実施形態では、膨張ピストン21及び高温側シリンダ22の上下方向の長さを長く設定し、これにより、膨張ピストン21の上下方向に温度勾配を持たせて、熱膨張の影響を受けない部分(膨張ピストン21の下部)にてシールが確実に行えるようにしている。また、高温側シリンダ22と膨張ピストン21との間は、膨張ピストン21の下部(熱膨張の影響を受けない部分)にてシールされるので、そのシール部の移動距離を十分に確保して膨張空間を十分に圧縮するために、高温側シリンダ22の上下方向の長さが長く設定されている。
次に、冷却器45の構成について説明する。
図3においては、冷却器45の複数の伝熱管45tのうち一部の伝熱管45tのみが図示され、それ以外の伝熱管45tの図示は省略されている。
再生器46と低温側シリンダ32との間には、上記隔壁(部材)70が設けられている。隔壁70は、熱伝導率の低い材質で形成されている。隔壁70において、低温側シリンダ32の軸線方向(上下方向)の長さ寸法は、後述する伝熱管45tの引き回しの機能を果たすために十分な大きさを確保しつつなるべく小さく設計されている。スターリングエンジン10の小型化に寄与するためである。
上記のように、隔壁70は、基板42に固定されている。隔壁70の上面70aは、再生器46の下面(加熱器47側の上記端面46aと反対側の端面)46bに、直接接触するように設けられている。隔壁70の下面70bは、低温側シリンダ32の頂面32aを兼ねている。隔壁70の側面(外周面)70cには、冷却器45のクーラ容器45cが固定されている。
冷却器45は、水冷の多管式熱交換器(shell-and-tube exchanger, tubular exchanger)により構成されている。冷却器45は、複数の伝熱管(管群)45tと、クーラ容器45cとを有している。冷却器45の複数の伝熱管45tの大部分は、クーラ容器45cに収容されている。伝熱管45tのクーラ容器45cに収容された部分は、クーラ容器45cに供給された冷却水(冷媒)Wtと接触し、これにより、伝熱管45tを流れる作動流体が冷却される。
上記のように、クーラ容器45cは、隔壁70の外周面70cに固定されている。クーラ容器45cは、外周面70cの周方向に亘ってリング状に設けられている。このクーラ容器45cは、低温側シリンダ32の外周部32kの上部(圧縮空間に対応する部分)を周方向に囲むようなリング状に形成されている。クーラ容器45cは、低温側シリンダ32の外周部32kの周方向の全周に亘って設けられている。または、これに代えて、クーラ容器45cは、低温側シリンダ32の外周部32kの周方向の一部を囲むように設けられることができる。
次に、ピストン・シリンダのシール構造及びピストン・クランク部の機構について説明する。
上記のように、スターリングエンジン10の熱源が車両の内燃機関の排気ガスであることから、得られる熱量に制約があり、その得られる熱量の範囲でスターリングエンジン10を作動させる必要がある。そこで、本実施形態では、スターリングエンジン10の内部フリクションを可能な限り低減させることとしている。本実施形態では、スターリングエンジンの内部フリクションのうち最も摩擦損失が大きいピストンリングによる摩擦損失を無くすため、ピストンリングを使用せずに、その代わりに、シリンダ22、32とピストン21、31との間には、それぞれ空気軸受(エアベアリング)48が設けられる。
空気軸受48は、摺動抵抗が極めて小さいため、スターリングエンジン10の内部フリクションを大幅に低減させることができる。空気軸受48を用いても、シリンダ22、32とピストン21、31との間の気密は確保されるため、高圧の作動流体が膨張・収縮の際に漏れるという問題は生じない。
空気軸受48は、シリンダ22、32とピストン21、31の間の微小なクリアランスで発生する空気の圧力(分布)を利用して,ピストン21、31が空中に浮いた形となる軸受である。本実施形態の空気軸受48では、シリンダ22、32とピストン21、31との間の直径クリアランスは数十μmである。空中に物体を浮上させる空気軸受を実現するに際しては、上記静圧気体軸受が適用される。静圧気体軸受とは、加圧流体を噴出させ、発生した静圧によって物体(本実施形態ではピストン21、31)を浮上させるものである。
また、空気軸受48を使用することで、ピストンリングで用いる潤滑油が不要となるので、潤滑油によりスターリングエンジン10の熱交換器(再生器46,加熱器47)が劣化するという問題が発生しない。
空気軸受48を用いて、ピストン21、31をシリンダ22、32内で往復運動させる際には、直線運動精度を空気軸受48の直径クリアランス未満にしなくてはならない。また、空気軸受48の負荷能力が小さいため、ピストン21、31のサイドフォースを実質的にゼロにしなくてはならない。即ち、空気軸受48は、シリンダ22、32の直径方向(横方向,スラスト方向)の力に耐える能力(耐圧能力)が低いため、シリンダ22、32の軸線に対するピストン21、31の直線運動精度が高い必要がある。特に、本実施形態で採用する、微小クリアランスの空気圧を用いて浮上させて支持するタイプの空気軸受48は、高圧の空気を吹き付けるタイプに比べても、スラスト方向の力に対する耐圧能力が低いため、その分だけ高いピストンの直線運動精度が要求される。
上記の理由から、本実施形態では、ピストン・クランク部にグラスホッパの機構(近似直線リンク)50を採用する。グラスホッパの機構50は、他の直線近似機構(例えばワットの機構)に比べて、同じ直線運動精度を得るために必要な機構のサイズが小さくて済むため、装置全体がコンパクトになるという効果が得られる。特に、本実施形態のスターリングエンジン10は、自動車の排気管の内部にその加熱器47が収容されるというように限られたスペースに設置されるため、装置全体がコンパクトである方が設置の自由度が増す。また、グラスホッパの機構50は、同じ直線運動精度を得るために必要な機構の重量が他の機構よりも軽量で済むため、燃費の点で有利である。さらに、グラスホッパの機構50は、機構の構成が比較的簡単であるため、構成(製造・組み立て)し易い。
図5は、スターリングエンジン10のピストン・クランク機構の概略構成を示している。本実施形態において、ピストン・クランク機構は、高温側パワーピストン20側と低温側パワーピストン30側とで共通の構成を採用しているため、以下では、低温側パワーピストン30側についてのみ説明し、高温側パワーピストン20側についての説明は省略する。
図5及び図3に示すように、圧縮ピストン31の往復運動は、コネクティングロッド109によって駆動軸40に伝達され、ここで、回転運動に変換される。コネクティングロッド109は、図5に示す近似直線機構50によって支持されており、低温側シリンダ32を直線状に往復運動させる。このように、コネクティングロッド109を近似直線機構50によって支持することにより、圧縮ピストン31のサイドフォースFがほとんどゼロになるので、負荷能力の小さい空気軸受48によって十分に圧縮ピストン31を支持することができる。
以上に述べた上記実施形態では、スターリングエンジン10は、車両の内燃機関の排ガスを熱源とすべく排気管100に取り付けた構成について説明した。但し、本発明のスターリングエンジンは、車両の内燃機関の排気管に取り付けられる形式のものに限定されるものではない。
なお、上記においては、ピストン装置がスターリングエンジンのピストンに適用された例を用いて、その構成、作用、効果を説明したが、そのピストン装置は、スターリングエンジンのピストン以外の外燃機関に対する用途にも容易に適用可能であり、適用された場合には、上記と同様の有用性を有する。
(第1実施形態の第1変形例)
次に、図9から図11を参照して、第1実施形態の第1変形例について説明する。
図9に示すように、流体素子215は、小室(バッファ)220を介して、2段(多段)構成であってもよい。流体素子215を2段構成にした場合には、上記第1実施形態の1段構成よりも更に高い圧力を中空部212内に取り込むことができる。多段構成にした場合には、逆流時の流路抵抗が順流時に比べて更に小さくなるため、中空部212内の作動流体が逆流側入口部215bから連絡流路214を介して、高温側シリンダ22内の作動空間に逆流することが更に抑制されるためである。
図10に示すように、小室220を介して、流体素子215が2段構成にされる場合には、中空部212側の流体素子215−1の連絡流路214−1が相対的に小さく、作動空間側の流体素子215−2の連絡流路214−2が相対的に大きく構成されるのが好ましい。更に、2段構成の機能を高める場合には、図11に示すように、2つの流体素子215−1,215−2の連絡流路214−1,214−2の流線がオフセットされるように設けられるのが効果的である。2つの流体素子215−1,215−2の連絡流路214−1,214−2の流線がずれていると、逆流の抑制効果が増加する。
(第1実施形態の第2変形例)
次に、図12を参照して、第1実施形態の第2変形例について説明する。
本実施形態では、静圧浮上機構が高温側シリンダ22側に設けられていてもよい。図12において、符号201は、高温側シリンダ22に設けられた蓄圧室であり、符号202は、連絡流路であり、符号203は、浮上用静圧供給孔(給気孔)である。
連絡流路202は、ピストン21の上死点位置よりも上方に設けられており、高温側シリンダ22の作動空間と蓄圧室201とを連通する。連絡流路202は、順流時に比べて逆流時には著しく流路抵抗が大きく、可動部の無い流体素子204によって構成されている。即ち、流体素子204は、連絡流路202を通る作動流体の流れの向きが、順流(作動空間側から蓄圧室201に向かう流れ)のときには、流路抵抗が相対的に小さく、反対に、逆流(蓄圧室201から作動空間側に向かう方向)のときには、順流時に比べて、流路抵抗が著しく大きくなるような形状に構成されている。
高温側シリンダ22には、周方向に等間隔に複数の給気孔203が設けられている。ピストン21の上昇に伴い、高温側シリンダ22の作動空間の作動流体が圧縮されて、その作動流体の圧力が蓄圧室201の圧力より高くなると、流体素子204の順流側入口部から連絡流路202を介して、作動空間の作動流体の一部が蓄圧室201に導入される。連絡流路202を介して作動流体が蓄圧室201に導入されると、蓄圧室201の作動流体の一部が、給気孔203を介して、ピストン21とシリンダ22との間のクリアランスに噴出する。また、流体素子204によって、ピストン21の動きにより高温側シリンダ22内の作動空間の作動流体の圧力が下がったときに、蓄圧室201内の作動流体が高温側シリンダ22内の作動空間に逆流することが抑制される。
(第2実施形態)
次に、図13から図18を参照して、第2実施形態について説明する。
第2実施形態において、上記実施形態と共通する部分についての重複する説明は省略する。
図13及び図14において、符号301は、高温側シリンダ22内の作動空間であり、符号22gは、高温側シリンダ22の拡径部であり、符号314はピストン21に設けられた連通孔(連絡流路)である。
上記第1実施形態と同様に、ピストン21のピストン本体211において、高温側シリンダ22と摺動する側周部(摺動部)211aには、周方向に等間隔に複数の給気孔216が設けられている。側周部211aにおいて、給気孔216が設けられた位置よりも上部には、高温側シリンダ22内の作動空間301と中空部212とを連通する連絡流路314が形成されている。
連絡流路314は、ピストン21が上死点近傍にあるときのみ、中空部212と作動空間301が連通し(図14)、それ以外の時には高温側シリンダ22の壁部により閉ざされる位置に設けられている(図13)。連絡流路314は、高温側シリンダ22の内周壁部に近接対峙する、側周部211a上の頂面部211b近傍に設けられた孔である。
高温側シリンダ22の内周壁部の上部(作動空間301を形成する部分)には、それ以外の部分に比べて拡径された拡径部22gが設けられている。連絡流路314は、ピストン21が上死点近傍にあるときのみ、拡径部22gの高さに位置して、中空部212と作動空間301とを連通させ(図14)、それ以外の時には、高温側シリンダ22の拡径部22g以外の壁部により閉ざされる(図13)。
即ち、図13に示す状態では、ピストン21の動きにより高温側シリンダ22内の作動空間301の作動流体の圧力が下がるが、連絡流路314と高温側シリンダ22の内周壁部との間のクリアランスは、給気孔216と高温側シリンダ22の内周壁部との間のクリアランスと同様に小さく、中空部212内の圧力が外部に流出し難い。
図14に示すように、ピストン21の上昇に伴い、高温側シリンダ22の作動空間301の作動流体が圧縮されるとともに、ピストン21に設けられた連絡流路314が拡径部22gの高さに達して、高温側シリンダ22の内周壁部との間のクリアランスが広がり、作動空間301と連通すると、連絡流路314を介して、作動空間301の作動流体の一部が中空部212に導入される。連絡流路314を介して作動流体が中空部212に導入されると、中空部212の作動流体の一部が、給気孔216を介して、ピストン21とシリンダ22との間のクリアランスに噴出する。
上記のように、連絡流路314は、ピストン本体211の側周部211aにおいて所定の高さ位置に対応する第1部分に設けられ、作動空間301で圧縮された作動流体を蓄圧室212に導入するために用いられる。給気孔216は、ピストン本体211の側周部211aにおいて前記所定の高さ位置よりも下方位置に対応する第2部分に設けられ、蓄圧室212から、ピストン本体211と高温側シリンダ22との間のクリアランス部に貫通している。
ピストン21が上死点にあるときと下死点にあるときとの比較において、ピストン本体211の側周部211aにおける前記第1部分と、高温側シリンダ22との間のクリアランス部の大きさは、ピストン21が上死点にあるときの方が、ピストン21が下死点にあるときに比べて、大きくなるように構成されている。
ピストン21が上死点にあるときと下死点にあるときとの比較において、ピストン本体211の側周部211aにおける前記第2部分と、高温側シリンダ22との間のクリアランス部の大きさは、概ね同じとなるように構成されている。ピストン本体211の側周部211aにおける前記第1部分と前記第2部分との比較において、ピストン21が下死点にあるときの、高温側シリンダ22との間のクリアランス部の大きさは、概ね同じとなるように構成されている。
ピストン21が下死点にあるときにピストン本体211の側周部211aにおける前記第1部分が対向する高温側シリンダ22の内周壁部の径よりも、ピストン21が上死点にあるときにピストン本体211の側周部211aにおける前記第1部分が対向する高温側シリンダ22の内周壁部22gの径の方が大きくなるように構成されている。
図4に示すように、各ピストン21、31の上死点と圧縮工程時の筒内圧の最大値(最大圧縮圧力)Pmaxの点とは、約45°(クランク角)の位相ずれがあるため、中空部212に高圧を確保するため、及び中空部212と作動空間301の間の作動流体の出入りによる効率の悪化を防ぐために、各ピストン21、31の上死点の近傍45°(上死点の前後の45°、即ち、90°の幅)以内で連絡流路314が開(図14の状態)となるように設定する。
上記のように、ピストン本体211の側周部211aにおける前記第1部分と、高温側シリンダ22との間のクリアランス部の大きさは、ピストン21が上死点の前後45°以内の範囲にあるときの方が、ピストン21が前記範囲以外にあるときに比べて、大きくなるように構成されている。
第2実施形態においても、連通孔314は、チェック弁(逆止弁)の弁体のような可動部を有していないため、信頼性、寿命の確保が容易であり、また、設計上、構造上の制約となることが抑制される。
(第2実施形態の第1変形例)
図15及び図16を参照して、第2実施形態の第1変形例について説明する。
図15及び図16に示すように、連絡流路315は、上記第1実施形態と同様に、順流時に比べて逆流時には著しく流路抵抗が大きく、可動部の無い流体素子316によって構成されている。即ち、流体素子316は、連絡流路315を通る作動流体の流れの向きが順流時には、流路抵抗が相対的に小さく、逆流時には、順流時に比べて、流路抵抗が著しく大きくなるような形状に構成されている。
本変形例によれば、中空部212と作動空間310の間の作動流体の出入りによる効率の悪化を防ぐ作用が向上する。
(第2実施形態の第2変形例)
図17及び図18を参照して、第2実施形態の第2変形例について説明する。
図17及び図18に示すように、第2変形例の流体素子317、318では、上記第1変形例の流体素子316と異なり、作動空間301の作動流体の一部が連絡流路315を介して中空部212に流入する際の入口を形成する面のうち上面317a、318aが扁平状に形成されている。これにより、ピストン21の上昇に伴い、流体素子317、318の入口の上面317a、318aの全体が同時に拡径部22gの高さに達して、作動空間310と連通するため、連絡流路315が作動空間301と連通している期間(開期間)の精度が向上する。
(第3実施形態)
次に、図19から図23を参照して、第3実施形態について説明する。
第3実施形態において、上記実施形態と共通する部分についての説明は省略する。
上記第1実施形態のように作動機構(可動部)の無い流体素子を用いると、信頼性、寿命の確保が容易となるが、起動時に中空部の蓄圧値の上昇が遅く、気体軸受により、ピストン21(図1)が十分な浮上力を得られない時間が長くなる。このため、耐摩耗性確保のため、ピストン・シリンダ表面に特殊な硬化処理が必要となる。以下に、起動時に中空部の蓄圧値の上昇が遅くなる理由について説明する。
上記のように、流れの方向(順流、逆流)によって流路抵抗が大幅に変化する流体素子を使用すると、単位時間当たりの導入流量を小さく設計する必要がある。これは、流速を高くとりながら作動空間と蓄圧空間の呼吸(入出量)を小さくするためである。このことから、起動時の蓄圧値の立ち上げに数10サイクルが必要となる。
そこで、第3実施形態では、図19に示すように、ピストン21の中空部(蓄圧室)212への圧力導入装置として、流体素子215とチェック弁401を並用する。ピストン21の頂面部211bには、高温側シリンダ22内の作動空間と中空部212とを連通する第1及び第2の連絡流路214,414が形成されている。第1連絡流路214は、順流時には流路抵抗が相対的に小さく、逆流時には順流時に比べて流路抵抗が著しく大きくなるような流体素子215によって構成されている。また、中空部212において、第2連絡流路414に臨む位置には、チェック弁401が設けられている。
チェック弁401は、弁体(可動部)402と、弁座403と、弁体402を弁座403に押し付けるばね404とを備えている。チェック弁401は、起動時のみ作動(弁が開放)し、通常の運転状態(常用運転域)に入ると、弁体402が停止して(閉じて)、チェック弁としての機能が働かず、常時、第2連絡流路414を閉鎖する。
図20において、符号501は、高温側シリンダ22の作動空間の圧力を示しており、符号502は、起動直後のPFの動きを示している。図20及び図21に示すように、作動空間の圧力501の平均値(平均圧)Pmeanに対する増圧側圧力振幅をP+P、流体素子215による飽和蓄圧値PFとするとき、チェック弁401の開弁圧設定値Pcが、下記のように設計されることにより、チェック弁401は、上記機能を奏する。
Pc<P+P、かつ、
Pc>(P+P+PF)、又は、(Pc+PF)>P+P
起動時、PFが小さな時には、P+Pは、チェック弁401の開弁圧設定値Pcに打ち勝ってチェック弁401が開となり、中空部212は、第2連絡流路414から圧力を導入する。PFが高くなる(起動後中空部212の蓄圧値が上昇する)と、チェック弁401が開弁しなくなり、チェック弁401の弁体402は弁座403に固定され、動かなくなる。
チェック弁401の開弁圧設定値Pcは、図22に示すように、ばね404の力とシート面積に基づいて設計される。また、図23に示すように、リード弁430では、リード431に対して上記開弁圧設定値Pcに対応する残留応力を与える(シート状態のときに)ことによっても達成される。図23において、符号432は、弁ガイドである。
第3実施形態によれば、起動時(起動直後を含む)にチェック弁401,430を介して、中空部212の蓄圧値を比較的早期に立ち上げることができる。また、起動時に中空部212の蓄圧値を所定値まで立ち上げた後は、チェック弁401,430の可動部402,431は停止した(閉じた)ままとなるため、上記第1実施形態において述べたように、作動の確実性、信頼性、耐久性が問題となることは抑制される。
(第3実施形態の第1変形例)
図22から図24を参照して、上記第3実施形態の第1変形例について説明する。
図22または図23のように、チェック弁401,430の可動部402,431の移動方向がピストン21の上下(加速度)方向と一致するようにチェック弁401,430を配置し、弁可動部402,431に作用する加速度を考慮すれば、上記第3実施形態に比べて、更に特性に良いピストン装置が得られる。
図24において、符号503は、チェック弁401,430の可動部402,431に作用する上向き(弁を閉じる方向)の最大加速度(ピストン21の上死点)による開弁圧上昇分を示している。同図に示すように、可動部402,431に作用する上向きの最大加速度による開弁圧上昇分503は、スターリングエンジン10の回転数[rpm]に応じて上昇することが示されている。
これに対して、符号504は、チェック弁401,430の可動部402,431に作用する下向き(弁を開ける方向)の最大加速度(ピストン21の下死点)による閉弁圧上昇分を示している。同図に示すように、可動部402,431に作用する下向きの最大加速度による閉弁圧上昇分504は、スターリングエンジン10の回転数に応じて上昇することが示されている。
図24に示すように、常用運転域よりも低い設定された回転数N1における、チェック弁401,430の可動部402,431に作用する上向きの最大加速度による開弁圧上昇分をPAとすると、チェック弁401,430の可動部402,431の開弁圧Pc’は、以下の通りとする。
Pc’≦(P+P−PA)、かつ、
Pc’+PA<(P+P−PF)、又は、Pc’>(P+P−PF−PA)
上記を満足するように、本変形例によれば、チェック弁401,430の可動部402,431の開弁圧Pc’は、上記第3実施形態の上記開弁圧設定値Pcに比べて、PAの分だけ、小さく設計することができ(例えばチェック弁401では、ばね404の力を弱く設計でき)、起動初期にチェック弁401,430が開き易くすることで、起動初期により少ないサイクル数で中空部212の蓄圧値を立ち上げることができる。
本変形例では、スターリングエンジン10の回転数の上昇に応じて、可動部402,431に作用する上向きの最大加速度による開弁圧上昇分503が上昇し、チェック弁401,430が開き難くなることを利用して、チェック弁401,430の可動部402,431の開弁圧Pc’を小さく設計することができる。これにより、スターリングエンジン10の回転数が低いとき(起動初期)には、チェック弁401,430が開き易くすることができ、より少ないサイクル数で中空部212の蓄圧値を立ち上げることができる。
なお、ピストン21が下死点では、可動部402,431に下向きの最大加速度による閉弁圧上昇分が作用するが、このとき、高温側シリンダ22の作動空間は、中空部212の蓄圧室よりも低い圧力であるので、チェック弁401,430の可動部402,431の開弁圧Pc’を小さく設計しても、チェック弁401,430は開き難い。スターリングエンジン10の回転数が上昇して、可動部402,431に作用する下向きの最大加速度による閉弁圧上昇分504が上昇しても、閉弁圧上昇分504が(Pc’+PF−P-P)を上回らなければ、チェック弁401,430は開かない。図24の例では、回転数が3000回転までは、閉弁圧上昇分504が、符号505で示す(Pc’+PF−P-P)を、上回っていないため、チェック弁401,430は開かないことが示されている。
本変形例では、上記に鑑みて、実用運転域の所定回転数にて、閉弁圧上昇分504が、(Pc’+PF−P-P)505を上回らないように設計する。または、チェック弁401,430の可動部402,431の質量を小さくして回転数に応じて上昇する閉弁圧上昇分504の傾きを小さくすることで、実用運転域の所定回転数にて、閉弁圧上昇分504が、(Pc’+PF−P-P)505を上回らないように設計する。
なお、回転数が上昇しても、又は、チェック弁401,430の可動部402,431の質量が大きい場合であっても、可動部402,431に対する、下向きの最大加速度による閉弁圧上昇分504の影響が及ばないようにして、ピストン21の下死点においてチェック弁401,430の開きを確実に抑制するためには、図22に示すように、チェック弁の可動部の移動方向がピストン21の上下(加速度)方向と一致しないように構成すればよい。
(第3実施形態の第2変形例)
図25から図28を参照して、上記第3実施形態の第2変形例について説明する。
図25及び図26に示すチェック弁440,450と、高温側シリンダ22の作動空間との間には、それぞれ小室(バッファ)610,620が設けられている。小室610,620は、それぞれオリフィス611,621を介して作動空間と連通している。図25において、符号441はチェック弁440のばねであり、符号442は蓄圧室への連通孔であり、符号443は作動流体の導入孔である。図26において、符号451及び452は、それぞれ、チェック弁450の弁体、ばねである。
図27は、作動空間の圧力501の変動の周期が時間の経過とともに短くなる(スターリングエンジン10の回転数が上がる)ことを示している。図28において、符号509は、小室610,620の圧力を示している。
図27に示すように、起動後、回転数が上昇し、作動空間の圧力変動の周期が短くなると、図28に示すように、その作動空間の圧力変動に対応した小室610,620内の圧力振幅が小さくなり、高圧側のピーク圧がチェック弁440,450の開弁圧設定値Pc
よりも低くなる。これにより、チェック弁440,450は閉じた状態に固定される。
本変形例では、チェック弁440,450と作動空間との間に、作動空間とオリフィス611,621で連通された小室610,620を設けることで、スターリングエンジン10の回転数の上昇(作動空間の圧力変動の周期が小さくなること)に応じて、チェック弁440,450が開き難くなることを利用して、チェック弁440,450の開弁圧Pcを小さく設計することができる。これにより、スターリングエンジン10の回転数が低いとき(起動初期)には、チェック弁440,450を開き易くすることができ、より少ないサイクル数で中空部212の蓄圧値を立ち上げることができる。
本変形例は、チェック弁440,450と作動空間との間に、作動空間とオリフィス611,621で連通された小室610,620を設けることで、上記第3実施形態で述べた開弁圧設定値Pcについての条件を満たさない場合であっても、起動時のみチェック弁を作動させ、常用運転域ではチェック弁を閉じるという機能を奏することが可能である。
なお、本変形例は、上記第3実施形態又は上記第3実施形態の第1変形例と組み合わせることができる。
本発明のピストン装置の第1実施形態を示す正断面図である。 本発明のピストン装置の第1実施形態の要部を示す正断面図である。 本発明のスターリングエンジンの第1実施形態を示す正面図である。 本発明のスターリングエンジンの第1実施形態の筒内圧を説明するグラフである。 本発明のスターリングエンジンの第1実施形態において、適用される直線近似機構を説明するための説明図である。 本発明のピストン装置の第1実施形態の他の例の要部を示す正断面図である。 本発明のピストン装置の第1実施形態の更に他の例の要部を示す正断面図である。 本発明のピストン装置の第1実施形態の更に他の例の要部を示す正断面図である。 本発明のピストン装置の第1実施形態の第1変形例を示す正断面図である。 本発明のピストン装置の第1実施形態の第1変形例の他の例を示す正断面図である。 本発明のピストン装置の第1実施形態の第1変形例の更に他の例を示す正断面図である。 本発明のスターリングエンジンの第1実施形態の第2変形例の要部を示す正断面図である。 本発明のピストン装置の第2実施形態の一の動作状態を示す正断面図である。 本発明のピストン装置の第2実施形態の他の動作状態を示す正断面図である。 本発明のピストン装置の第2実施形態の第1変形例を示す正断面図である。 本発明のピストン装置の第2実施形態の第1変形例の要部を示す正断面図である。 本発明のピストン装置の第2実施形態の第2変形例の要部を示す説明図である。 本発明のピストン装置の第2実施形態の第2変形例の要部を示す説明図である。 本発明のピストン装置の第3実施形態を示す正断面図である。 本発明のピストン装置の第3実施形態において作動空間の圧力と流体素子による飽和蓄圧値を示すグラフ図である。 本発明のピストン装置の第3実施形態においてチェック弁の開弁圧設定値を説明する説明図である。 本発明のピストン装置の第3実施形態の第1変形例の要部を示す正断面図である。 本発明のピストン装置の第3実施形態の第1変形例の他の例の要部を示す正断面図である。 本発明のピストン装置の第3実施形態の第1変形例においてチェック弁の開弁圧設定値を説明する説明図である。 本発明のピストン装置の第3実施形態の第2変形例の要部を示す正断面図である。 本発明のピストン装置の第3実施形態の第2変形例の他の例の要部を示す正断面図である。 本発明のピストン装置の第3実施形態の第2変形例において作動空間の圧力の変動の周期を示すグラフ図である。 本発明のピストン装置の第3実施形態の第2変形例において小室の圧力変動を示すグラフ図である。
符号の説明
10 スターリングエンジン
20 高温側パワーピストン
21 膨張ピストン
211 ピストン本体
211a 側周部
211b 頂面部
212 中空部(蓄圧室)
214 連絡流路
215 流体素子
216 給気孔
22 高温側シリンダ
22b 高温側シリンダの頂部
30 低温側パワーピストン
31 圧縮ピストン
32 低温側シリンダ
45 冷却器
46 再生器
46a 再生器の上面
46b 再生器の下面
47 加熱器
47a 第1端部
47b 第2端部
48 空気軸受
50 近似直線機構
60 ピストンピン
100 排気管
Pmax 筒内圧の最大値
W 筒内圧(合成波形)

Claims (6)

  1. 外燃機関に適用され、
    ピストン本体と、
    前記ピストン本体の内部に形成された蓄圧室と、
    前記外燃機関の作動空間で圧縮された作動媒体を前記蓄圧室に導入するための導入部と、
    前記ピストン本体の側周部に設けられ、前記蓄圧室から、前記ピストン本体と前記外燃機関のシリンダとの間のクリアランス部に貫通する孔とを備え、
    前記導入部は、前記作動媒体の前記蓄圧室への導入方向及び前記導入方向の反対方向のいずれの方向にも流通可能に設けられ、前記導入部において前記反対方向の流路抵抗は、前記導入方向の流路方向に比べて大きくなるように構成されているとともに、前記導入部の前記反対方向における入口側には、前記蓄圧室の方に突出する突起部が設けられ、さらに、前記導入部における前記導入方向と前記反対方向の流路抵抗の相違は、弁体のような可動部の作動による前記導入部の流路の開閉動作に基づくものではなく、前記導入部の形状に基づくものである
    ことを特徴とするピストン装置。
  2. 請求項1に記載のピストン装置において、
    更に、
    前記作動空間で圧縮された作動媒体を前記蓄圧室に導入するための、前記導入部とは異なる流路と、
    前記蓄圧室に設けられ、前記流路を弁体のような可動部の作動により開閉する流路開閉手段とを備え、
    前記可動部は、前記ピストン装置の起動時に作動し、前記ピストン装置の常用運転域では作動が停止して前記流路を閉状態とするように構成されている
    ことを特徴とするピストン装置。
  3. 請求項記載のピストン装置において、
    前記作動空間の平均圧に対する増圧側圧力振幅をP+Pとし、前記導入部による前記蓄圧室の飽和蓄圧値をPFとするとき、前記可動部を開動作させるために必要な圧力Pcは、
    Pc<P+P、かつ、
    Pc>(P+P−PF)
    に設定されている
    ことを特徴とするピストン装置。
  4. 請求項記載のピストン装置において、
    前記流路開閉手段は、前記可動部の作動時の移動方向が前記ピストン本体の上下方向と概ね一致するように配置され、
    前記ピストン装置の常用運転域よりも低い設定回転数における前記可動部に作用する上向きの最大加速度による前記可動部を開動作させるために必要な圧力の上昇分をPAとするとき、前記可動部を開動作させるために必要な圧力Pc’は、
    (Pc’+PA)<P+P、かつ、
    (Pc’+PA)>(P+P−PF)
    に設定されている
    ことを特徴とするピストン装置。
  5. 請求項からのいずれか1項に記載のピストン装置において、
    前記流路上において、前記流路開閉手段と前記作動空間との間には、オリフィスを介して前記作動空間と連通し前記作動媒体が通る部屋が設けられている
    ことを特徴とするピストン装置。
  6. 請求項1からのいずれか1項に記載のピストン装置と、
    前記シリンダとを備えたことを特徴とするスターリングエンジン。
JP2004378172A 2004-12-27 2004-12-27 ピストン装置、スターリングエンジン Expired - Fee Related JP4059248B2 (ja)

Priority Applications (9)

Application Number Priority Date Filing Date Title
JP2004378172A JP4059248B2 (ja) 2004-12-27 2004-12-27 ピストン装置、スターリングエンジン
EP13161328.3A EP2628933A3 (en) 2004-12-27 2005-12-27 External combustion engine
US11/793,979 US7624574B2 (en) 2004-12-27 2005-12-27 Piston apparatus, stirling engine, external combustion engine, and fluid device
PCT/JP2005/023966 WO2006070832A1 (ja) 2004-12-27 2005-12-27 ピストン装置、スターリングエンジン、及び外燃機関
CN 200580045137 CN101091053A (zh) 2004-12-27 2005-12-27 活塞设备、斯特林发动机和外燃机
CN2009100017374A CN101457710B (zh) 2004-12-27 2005-12-27 布置在活塞设备中的流体装置
CN201110162801.4A CN102278229B (zh) 2004-12-27 2005-12-27 活塞设备、斯特林发动机和外燃机
EP13161327.5A EP2617977A3 (en) 2004-12-27 2005-12-27 Fluid device
EP05822373A EP1837513A4 (en) 2004-12-27 2005-12-27 PISTON DEVICE, STIRLING ENGINE AND EXTERNAL COMBUSTION ENGINE

Applications Claiming Priority (1)

Application Number Priority Date Filing Date Title
JP2004378172A JP4059248B2 (ja) 2004-12-27 2004-12-27 ピストン装置、スターリングエンジン

Related Child Applications (1)

Application Number Title Priority Date Filing Date
JP2007287596A Division JP4506815B2 (ja) 2007-11-05 2007-11-05 外燃機関

Publications (2)

Publication Number Publication Date
JP2006183566A JP2006183566A (ja) 2006-07-13
JP4059248B2 true JP4059248B2 (ja) 2008-03-12

Family

ID=36736847

Family Applications (1)

Application Number Title Priority Date Filing Date
JP2004378172A Expired - Fee Related JP4059248B2 (ja) 2004-12-27 2004-12-27 ピストン装置、スターリングエンジン

Country Status (2)

Country Link
JP (1) JP4059248B2 (ja)
CN (2) CN101457710B (ja)

Families Citing this family (9)

* Cited by examiner, † Cited by third party
Publication number Priority date Publication date Assignee Title
JP5181575B2 (ja) * 2007-08-15 2013-04-10 トヨタ自動車株式会社 スターリングエンジン
JP4803140B2 (ja) * 2007-08-27 2011-10-26 トヨタ自動車株式会社 ピストン機関及びスターリングエンジン
JP5422883B2 (ja) * 2007-11-14 2014-02-19 トヨタ自動車株式会社 ピストン機関及びスターリングエンジン
JP4858424B2 (ja) * 2007-11-29 2012-01-18 トヨタ自動車株式会社 ピストン機関及びスターリングエンジン
WO2010067728A1 (ja) 2008-12-10 2010-06-17 トヨタ自動車株式会社 ピストンの気体潤滑構造およびスターリングエンジン
JP2011220268A (ja) * 2010-04-12 2011-11-04 Toyota Motor Corp スターリングエンジンの作動流体流路構造
CN102297540B (zh) * 2011-07-12 2013-01-09 浙江大学 利用汽车振动能的脉管制冷机系统
JP6437785B2 (ja) * 2014-10-23 2018-12-12 シナノケンシ株式会社 ピストン駆動装置
CN118310190B (zh) * 2024-06-11 2024-10-18 苏州华冷科技有限公司 一种仅使用单种制冷工质的斯特林制冷机导冷系统

Family Cites Families (2)

* Cited by examiner, † Cited by third party
Publication number Priority date Publication date Assignee Title
GB852618A (en) * 1958-03-14 1960-10-26 Sulzer Ag Compressors having labyrinth-sealed unlubricated pistons
US4455974A (en) * 1981-01-08 1984-06-26 Cummins Engine Company, Inc. Gas bearing piston assembly

Also Published As

Publication number Publication date
JP2006183566A (ja) 2006-07-13
CN101457710B (zh) 2011-05-18
CN101457710A (zh) 2009-06-17
CN101091053A (zh) 2007-12-19

Similar Documents

Publication Publication Date Title
JP5619030B2 (ja) スターリングエンジンのためのピストンアセンブリ
US7624574B2 (en) Piston apparatus, stirling engine, external combustion engine, and fluid device
JP4285338B2 (ja) スターリングエンジン
JP4059248B2 (ja) ピストン装置、スターリングエンジン
JP4289224B2 (ja) スターリングエンジン
JP4506815B2 (ja) 外燃機関
JP4301082B2 (ja) ピストン装置
JP4059249B2 (ja) ピストン機関
JP4239900B2 (ja) スターリングエンジン
JP5359606B2 (ja) スターリングエンジンの冷却器およびスターリングエンジン
JP4737303B2 (ja) スターリングエンジン
JP2006188956A (ja) ピストン機関
US8904779B2 (en) Stirling engine gas lubrication structure
JP2005337179A (ja) スターリングエンジン
JP4337630B2 (ja) スターリングエンジンの故障診断装置
JP4135641B2 (ja) 排気熱回収装置
JP2005248922A (ja) 排気熱回収装置
JP2005325710A (ja) 外燃機関のピストン装置及び排気熱回収装置
JP5470946B2 (ja) スターリングエンジンの熱交換器
JP2006188958A (ja) ピストン装置
JP2011226440A (ja) スターリングエンジンの気体潤滑構造

Legal Events

Date Code Title Description
A131 Notification of reasons for refusal

Free format text: JAPANESE INTERMEDIATE CODE: A131

Effective date: 20070904

A521 Written amendment

Free format text: JAPANESE INTERMEDIATE CODE: A523

Effective date: 20071105

TRDD Decision of grant or rejection written
A01 Written decision to grant a patent or to grant a registration (utility model)

Free format text: JAPANESE INTERMEDIATE CODE: A01

Effective date: 20071127

A61 First payment of annual fees (during grant procedure)

Free format text: JAPANESE INTERMEDIATE CODE: A61

Effective date: 20071210

FPAY Renewal fee payment (event date is renewal date of database)

Free format text: PAYMENT UNTIL: 20101228

Year of fee payment: 3

FPAY Renewal fee payment (event date is renewal date of database)

Free format text: PAYMENT UNTIL: 20101228

Year of fee payment: 3

FPAY Renewal fee payment (event date is renewal date of database)

Free format text: PAYMENT UNTIL: 20111228

Year of fee payment: 4

FPAY Renewal fee payment (event date is renewal date of database)

Free format text: PAYMENT UNTIL: 20111228

Year of fee payment: 4

FPAY Renewal fee payment (event date is renewal date of database)

Free format text: PAYMENT UNTIL: 20121228

Year of fee payment: 5

FPAY Renewal fee payment (event date is renewal date of database)

Free format text: PAYMENT UNTIL: 20131228

Year of fee payment: 6

LAPS Cancellation because of no payment of annual fees