JP4046847B2 - 磁気共鳴イメージング装置 - Google Patents

磁気共鳴イメージング装置 Download PDF

Info

Publication number
JP4046847B2
JP4046847B2 JP12919398A JP12919398A JP4046847B2 JP 4046847 B2 JP4046847 B2 JP 4046847B2 JP 12919398 A JP12919398 A JP 12919398A JP 12919398 A JP12919398 A JP 12919398A JP 4046847 B2 JP4046847 B2 JP 4046847B2
Authority
JP
Japan
Prior art keywords
subject
tomographic plane
magnetic field
movement
imaging
Prior art date
Legal status (The legal status is an assumption and is not a legal conclusion. Google has not performed a legal analysis and makes no representation as to the accuracy of the status listed.)
Expired - Fee Related
Application number
JP12919398A
Other languages
English (en)
Other versions
JPH11318849A (ja
JPH11318849A5 (ja
Inventor
田 常 雄 前
Current Assignee (The listed assignees may be inaccurate. Google has not performed a legal analysis and makes no representation or warranty as to the accuracy of the list.)
Hitachi Healthcare Manufacturing Ltd
Original Assignee
Hitachi Medical Corp
Priority date (The priority date is an assumption and is not a legal conclusion. Google has not performed a legal analysis and makes no representation as to the accuracy of the date listed.)
Filing date
Publication date
Application filed by Hitachi Medical Corp filed Critical Hitachi Medical Corp
Priority to JP12919398A priority Critical patent/JP4046847B2/ja
Publication of JPH11318849A publication Critical patent/JPH11318849A/ja
Publication of JPH11318849A5 publication Critical patent/JPH11318849A5/ja
Application granted granted Critical
Publication of JP4046847B2 publication Critical patent/JP4046847B2/ja
Anticipated expiration legal-status Critical
Expired - Fee Related legal-status Critical Current

Links

Images

Landscapes

  • Magnetic Resonance Imaging Apparatus (AREA)

Description

【0001】
【発明の属する技術分野】
本発明は、核磁気共鳴(NMR)現象を利用して被検体の任意断層面を透視撮像し画像表示する磁気共鳴イメージング装置に関し、特に、被検体の動きに対応して透視撮像の断層面位置を自動的に変え常に関心部位を画像として捕らえることができる磁気共鳴イメージング装置に関する。
【0002】
【従来の技術】
磁気共鳴イメージング装置は、核磁気共鳴(NMR)現象を利用して被検体中の所望の検査部位における原子核スピンの密度分布、緩和時間分布を計測して、この計測データから被検体の任意断層面を画像表示するものである。従来の磁気共鳴イメージング装置は、被検体が配置される空間に静磁場を発生する手段と、この静磁場へ加えられる傾斜磁場を発生する手段と、上記被検体の検査すべきスライス位置に対応した周波数の高周波パルス磁界を発生して照射する手段と、この照射により上記被検体のスライス位置から発生されるNMR信号を検出する手段とを備え、被検体の任意断層面を透視撮像するようになっていた。
【0003】
そして、上記磁気共鳴イメージング装置による被検体の任意断層面の透視撮像は、医師等の術者が被検体の病変部へ穿刺針や生検針を進める際の穿刺位置や進入方向をリアルタイムに確認したり、或いは被検体の関節部の動態検査を行うのに用いられている。この場合、透視撮像における撮像断層面の設定は、透視撮像中において固定としておくか、又は操作器により被検体テーブルを移動させ被検体を動かして変化させるか、或いは操作器により撮像断層面自体を平行移動又は回転させて変化させていた。
【0004】
【発明が解決しようとする課題】
しかし、このような従来の磁気共鳴イメージング装置においては、撮像断層面の設定を固定としておくか、又は被検体テーブルの移動により被検体を動かして変化させるか、或いは操作器により撮像断層面自体を平行移動又は回転させて変化させていたので、被検体の呼吸動や関節部の動き等の小さい変化に対しては撮像断層面の設定を追従させることができなかった。即ち、術者が被検体の病変部へ穿刺針や生検針を進める際、又は被検体の関節部の動態検査を行う際に、撮像断層面を被検体の呼吸動や関節部の動き等の小さい変化に対して自動的に追従させることはできなかった。したがって、被検体の動きに対応して関心部位の画像が見えたり、見えなかったりすることがあった。このことから、透視撮像の途中で撮像断層面の設定をし直すこともあり、円滑な撮像ができないと共に検査時間がかかり且つ被検体の負担も大きくなるものであった。
【0005】
そこで、本発明は、このような問題点に対処し、被検体の動きに対応して透視撮像の断層面位置を自動的に変え常に関心部位を画像として捕らえることができる磁気共鳴イメージング装置を提供することを目的とする。
【0006】
【課題を解決するための手段】
上記目的を達成するために、本発明による磁気共鳴イメージング装置は、被検体が配置される空間に静磁場を発生すると共に、この静磁場へ加えられる傾斜磁場を発生する磁場発生手段と、上記被検体の検査すべきスライス位置に対応した周波数の高周波パルス磁界を発生して照射する送信系と、この照射により上記被検体のスライス位置から発生されるNMR信号を検出する受信系と、この検出されたNMR信号を処理し画像表示する信号処理系とを備え、被検体の任意断層面を透視撮像する磁気共鳴イメージング装置において、上記被検体の動きを検出する手段を設け、この動き検出手段により被検体の動きを検出した位置で撮像位置決め画像を得ると共に、そのときの被検体の透視撮像の断層面を設定しておき、上記動き検出手段からの検出信号を上記信号処理系で参照し、上記検出信号を用いて該検出信号に対応する被検体の動き量を演算し、この被検体の動き量を用いて透視撮像の断層面位置を推定し、被検体の動きに対応して透視撮像の断層面位置を自動的に変えるようにしたものである。
【0007】
【発明の実施の形態】
以下、本発明の実施の形態を添付図面に基づいて詳細に説明する。
図1は本発明による磁気共鳴イメージング装置の実施の形態を示すブロック図である。この磁気共鳴イメージング装置は、NMR現象を利用して被検体中の所望の検査部位における原子核スピンの密度分布、緩和時間分布を計測して、この計測データから被検体の任意断層面を画像表示するもので、図1に示すように、静磁場発生磁石1と、傾斜磁場発生系2と、シーケンサ3と、送信系4と、受信系5と、信号処理系6と、中央処理装置(CPU)7と、操作部8とを有し、さらに動き検出手段9を備えて成る。
【0008】
上記静磁場発生磁石1は、被検体10が配置される空間において該被検体10の周りにその体軸方向又は体軸と直交する方向に均一な静磁場を発生する手段となるもので、上記被検体10の周りのある広がりをもった空間に永久磁石方式又は常電導方式或いは超電導方式の静磁場発生手段が配置されている。
【0009】
傾斜磁場発生系2は、上記静磁場発生磁石1で発生された静磁場へ加えられる傾斜磁場を発生する手段となるもので、X,Y,Zの三軸方向の傾斜磁場コイル11,11,…と、これらの傾斜磁場コイル11を駆動する傾斜磁場電源12とから成る。そして、後述のシーケンサ3からの命令に従ってそれぞれの傾斜磁場コイル11の傾斜磁場電源12を駆動することにより、X,Y,Zの三軸方向に傾斜磁場Gs(スライス方向傾斜磁場)、Gp(位相エンコード方向傾斜磁場)、Gf(周波数エンコード方向傾斜磁場)を被検体10に印加するようになっている。これらの傾斜磁場の印加方法により、上記被検体10に対するスライス位置や断層面を設定することができる。
【0010】
シーケンサ3は、上記被検体10の生体組織を構成する原子の原子核にNMRを起こさせる高周波パルスと傾斜磁場をある所定のパルスシーケンスで繰り返し印加し、被検体10の関心部位について計測データを収集するための制御手段となるもので、CPU7の制御で動作し、被検体10の断層像のデータ収集に必要な種々の命令を、上記傾斜磁場発生系2並びに後述の送信系4及び受信系5に送るようになっている。
【0011】
送信系4は、上記シーケンサ3から命令される高周波パルスにより被検体10の生体組織を構成する原子の原子核にNMRを起こさせるために該被検体の検査すべきスライス位置に対応した周波数の高周波パルス磁界を発生して照射する手段となるもので、高周波発振器13と変調器14と高周波増幅器15と照射コイル16とから成る。そして、上記高周波発振器13から出力された高周波パルスをシーケンサ3の命令に従って変調器14で振幅変調し、この振幅変調された高周波パルスを高周波増幅器15で増幅した後に、被検体10に近接して配置された照射コイル16に供給することにより、電磁波が上記被検体10に照射されるようになっている。
【0012】
受信系5は、上記送信系4の照射コイル16からの高周波パルス磁界の照射により上記被検体10のスライス位置から生体組織の原子核のNMRにより発生されるエコー信号(NMR信号)を検出する手段となるもので、受信コイル17と増幅器18と直交位相検波器19とA/D変換器20とから成る。そして、上記照射コイル16から照射された電磁波による被検体10の応答の電磁波(NMR信号)は被検体10に近接して配置された受信コイル17で検出され、増幅器18及び直交位相検波器19を介して二系列の収集データとされ、A/D変換器20に入力してディジタル信号に変換され、そのディジタル信号が後述の信号処理系6に送られるようになっている。
【0013】
信号処理系6は、上記受信系5からのディジタル信号を入力して処理し画像表示する手段となるもので、CPU7と、磁気ディスク21及び光ディスク22などの記録装置と、CRTなどのディスプレイ23とから成る。そして、上記CPU7でフーリエ変換、補正係数演算、画像再構成などの処理を行い、被検体10の任意断層面の原子核スピンの密度分布、緩和時間分布の計測データに所要の演算を行い、得られた分布データを画像化してディスプレイ23に断層像として表示するようになっている。
【0014】
また、CPU7は、上記各構成要素の動作を制御するものである。さらに、操作部8は、上記信号処理系6で行う処理の制御情報を入力するもので、入力器としてキーボード8やマウス、トラックボールなどを備えている。
【0015】
以上のような装置構成により、被検体10の任意断層面の透視撮像は、該被検体10のスライス位置からのNMR信号の計測、画像再構成などの処理、画像表示を短時間で繰り返し行うことで実施される。
【0016】
ここで、本発明においては、上記被検体10の動きを検出する動き検出手段9が設けられ、この動き検出手段9からの検出信号はA/D変換器25を介して前記CPU7に入力されるようになっている。そして、動き検出手段9で被検体10の動きを定量的に検出し、このアナログの検出信号はA/D変換器25によりディジタル信号に変換されてCPU7に入力され、CPU7は入力したディジタルの検出信号を参照して被検体10の透視撮像の断層面位置を推定し、その制御信号をシーケンサ3へ送る。シーケンサ3は、上記CPU7からの制御信号に応じて前述のように傾斜磁場電源12を制御し、被検体10に対する断層面を自動的に変えるように動作する。
【0017】
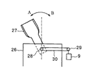
図2は、上記動き検出手段9の具体例を示す平面説明図である。この例は、被検体10の例えば頚部の動態検査を行う際に用いるもので、被検体10を寝載するテーブル26の一端部に、頭部を乗せる板状の頭受け台27を回転軸部28により矢印A,Bのように回動可能に設け、上記回転軸部28と動き検出手段9に設けられたプーリー29とをベルト30で連結し、該動き検出手段9としては例えばポテンショメータを用いたものである。そして、上記頭受け台27が回転軸部28を中心として矢印A,Bのように回動すると、その回動動作がベルト30を介してプーリー29に伝達され、このプーリー29の回転によりポテンショメータが回転され、該ポテンショメータにより上記頭受け台27の回動を定量的に検出するようになっている。この場合、上記頭受け台27上には被検体10の頭部が乗せられるので、その頭受け台27の回動により被検体10の頚部の動きを定量的に検出することができる。
【0018】
図3は、図2に示すテーブル26上に寝載された被検体10とその頚部に設定される透視撮像の断層面とを示す説明図である。このとき、被検体10の頭部31は図2に示す頭受け台27上に乗せられている。図3において、まず、被検体10の頭部31を頭受け台27ごと実線で示すように傾けると、その頚部32も同一方向に傾く。この位置で画像計測して、該位置における断層面Iaを実線で示すように設定する。次に、同じく頭部31を頭受け台27ごと破線で示すように傾けると、その頚部32も同一方向に傾く。この位置で画像計測して、該位置における断層面Ibを破線で示すように設定する。このとき、上記断層面Ia,Ibの設定時に、これらの位置に対応するポテンショメータ(9)からの検出信号が、被検体10の動きの情報としてA/D変換器25を介してCPU7に入力される。
【0019】
図4は、上記動き検出手段9の他の具体例を示す側面説明図である。この例は、被検体10の例えば腹部の病変部に穿刺針や生検針を進める際に用いるもので、被検体10の呼吸による病変部33の動きを検出する動き検出手段9として例えば呼吸動センサを腹部に取り付けたものである。この呼吸動センサは、被検体10の呼吸により内部の病変部33が例えば実線の位置と破線の位置のように動くのを、腹部の上面の実線の位置aと破線の位置bの動きで等価的に検出するもので、例えば腹部の周囲に巻き付けた部材の圧力変化や抵抗値変化などにより上記位置a,bの動きを検出するように構成されている。
【0020】
図5は、被検体10とその腹部の病変部33に設定される透視撮像の断層面とを示す平面説明図である。図4及び図5において、まず、被検体10が息をはいた状態では病変部33は実線の位置にあり、図5に示すようにこの位置で画像計測して該位置における断層面Iaを実線で示すように設定する。ここで、断層面Iaは、穿刺点34と実線で示す病変部33とを含む断面である。次に、被検体10が息をいっぱいに吸った状態では病変部33は破線の位置にあり、図5に示すようにこの位置で画像計測して該位置における断層面Ibを破線で示すように設定する。ここで、断層面Ibは、穿刺点34と破線で示す病変部33とを含む断面である。このとき、上記断層面Ia,Ibの設定時に、これらの位置に対応する呼吸動センサ(9)からの検出信号が、被検体10の動きの情報としてA/D変換器25を介してCPU7に入力される。
【0021】
次に、このように構成された磁気共鳴イメージング装置において透視撮像の断層面位置を推定して自動的に変える動作について、図6及び図7を参照して説明する。これらの図は、図2及び図3に示す被検体10の例えば頚部の動態検査を行う際の動作例を示すものである。
【0022】
まず、図2において、テーブル26上に寝載された被検体10(図示せず)の頭部31を頭受け台27に乗せ、この頭受け台27を図2上で例えば矢印A方向に傾ける。このとき、上記被検体10の頚部32が矢印A方向に曲がる限度の位置まで傾ける。そして、この位置で画像計測し、図6(a)に示すような撮像位置決め画像IM1を得る。また、上記の撮像位置決め画像IM1から被検体10の頚部32についての透視撮像の断層面をIaのように設定する。この状態では、上記断層面Iaは、X,Yの直交座標軸のY軸に対する角度θaと、撮像中心からの距離Laとで規定される。さらに、このときの上記位置に対応する動き検出手段9(図2参照)からの検出信号の大きさをSaとする。
【0023】
次に、図2において、被検体10(図示せず)の頭部31を乗せた頭受け台27を例えば矢印B方向に傾ける。このとき、上記被検体10の頚部32が矢印B方向に曲がる限度の位置まで傾ける。そして、この位置で画像計測し、図6(b)に示すような撮像位置決め画像IM2を得る。また、上記の撮像位置決め画像IM2から被検体10の頚部32についての透視撮像の断層面をIbのように設定する。この状態では、上記断層面Ibは、X,Yの直交座標軸のY軸に対する角度θbと、撮像中心からの距離Lbとで規定される。さらに、このときの上記位置に対応する動き検出手段9(図2参照)からの検出信号の大きさをSbとする。
【0024】
上記動き検出手段9からの検出信号Sa,Sbは、図1に示すA/D変換器25を介してCPU7へ入力される。これにより、CPU7は、上記の各情報Sa,Sb,θa,θb,La,Lbを用いて、図7(a)に示すように動き検出手段9からの検出信号の大きさSに対応する角度θを線形推定できるグラフを作成し、また、図7(b)に示すように検出信号の大きさSに対応する距離Lを線形推定できるグラフを作成する。
【0025】
このようなグラフを用いて、図2及び図3に示す被検体10の頚部32を矢印A,Bのように動かしながら透視撮像する際の断層面位置を、動き検出手段9からの検出信号Sを参照し、この検出信号Sの前述の図7(a),(b)のグラフ上の位置に対応する角度θ及び距離Lを線形推定することにより、図6と同様に角度θと距離Lとで規定されるものとして推定することができる。
【0026】
その後、このように推定された透視撮像の断層面位置の制御信号を図1に示すシーケンサ3へ送る。このシーケンサ3は、上記CPU7からの制御信号に応じて前述のように傾斜磁場電源12を制御し、被検体10に対する断層面を自動的に変える。これにより、被検体10の動きに対応して透視撮像の断層面位置を自動的に変え、常に関心部位を画像として捕らえることができる。
【0027】
なお、図7(a),(b)のグラフを作成する際に、情報Sa,Sbの点数を増やしてグラフを作成すれば、より精度の高い断層面位置の推定ができる。また、図6においては、断層面の位置決めを(a),(b)の2断面を使用して行ったが、これら2断面と直交するもう一つの断面を使用することにより、3次元画像への応用も可能である。
【0028】
また、図6及び図7は、図2及び図3に示す被検体10の例えば頚部の動態検査を行う際の動作例を示すものであるが、図4及び図5に示す被検体10の例えば腹部の病変部に穿刺針や生検針を進める際の動作例についても、上記と同様に撮像位置決め画像を得ると共に、動き検出手段9からの検出信号の大きさに対応して角度、距離などを線形推定できるグラフを作成すればよい。
【0029】
【発明の効果】
本発明は以上のように構成されたので、動き検出手段により被検体の動きを検出し、この動き検出手段により被検体の動きを検出した位置で撮像位置決め画像を得ると共に、そのときの被検体の透視撮像の断層面を設定しておき、信号処理系で上記動き検出手段からの検出信号を参照し、上記検出信号を用いて該検出信号に対応する被検体の動き量を演算し、この被検体の動き量を用いて透視撮像の断層面位置を推定し、被検体の動きに対応して透視撮像の断層面位置を自動的に変えることができる。これにより、例えば術者が被検体の病変部へ穿刺針や生検針を進める際、又は被検体の関節部の動態検査を行う際に、撮像断層面を被検体の呼吸動や関節部の動き等の小さい変化に対して自動的に追従させることができ、上記被検体の動きに対応して透視撮像の断層面位置を自動的に変え、常に関心部位を画像として捕らえることができる。このことから、従来のように透視撮像の途中で撮像断層面の設定をし直すことはなく、円滑な撮像ができると共に検査時間を短縮でき且つ被検体の負担も軽減することができる。
【図面の簡単な説明】
【図1】本発明による磁気共鳴イメージング装置の実施形態を示すブロック図である。
【図2】動き検出手段の具体例を示す平面説明図である。
【図3】テーブル上に寝載された被検体とその頚部に設定される透視撮像の断層面とを示す説明図である。
【図4】動き検出手段の他の具体例を示す側面説明図である。
【図5】被検体とその腹部の病変部に設定される透視撮像の断層面とを示す平面説明図である。
【図6】透視撮像の断層面位置を推定して自動的に変える動作を説明するもので、撮像位置決め画像を得る状態を示すものである。
【図7】動き検出手段からの検出信号の大きさに対応する角度又は距離を線形推定できるグラフを作成する状態を示すものである。
【符号の説明】
1…静磁場発生磁石
2…傾斜磁場発生系
3…シーケンサ
4…送信系
5…受信系
6…信号処理系
7…CPU
8…操作部
9…動き検出手段
10…被検体
25…A/D変換器
31…頭部
32…頚部
33…病変部
34…穿刺点
Ia,Ib…断層面
IM1,IM2…撮像位置決め画像

Claims (1)

  1. 被検体が配置される空間に静磁場を発生すると共に、この静磁場へ加えられる傾斜磁場を発生する磁場発生手段と、上記被検体の検査すべきスライス位置に対応した周波数の高周波パルス磁界を発生して照射する送信系と、この照射により上記被検体のスライス位置から発生されるNMR信号を検出する受信系と、この検出されたNMR信号を処理し画像表示する信号処理系とを備え、被検体の任意断層面を透視撮像する磁気共鳴イメージング装置において、
    上記被検体の動きを検出する手段を設け、この動き検出手段により被検体の動きを検出した位置で撮像位置決め画像を得ると共に、そのときの被検体の透視撮像の断層面を設定しておき、上記動き検出手段からの検出信号を上記信号処理系で参照し、上記検出信号を用いて該検出信号に対応する被検体の動き量を演算し、この被検体の動き量を用いて透視撮像の断層面位置を推定し、被検体の動きに対応して透視撮像の断層面位置を自動的に変えるようにしたことを特徴とする磁気共鳴イメージング装置。
JP12919398A 1998-05-12 1998-05-12 磁気共鳴イメージング装置 Expired - Fee Related JP4046847B2 (ja)

Priority Applications (1)

Application Number Priority Date Filing Date Title
JP12919398A JP4046847B2 (ja) 1998-05-12 1998-05-12 磁気共鳴イメージング装置

Applications Claiming Priority (1)

Application Number Priority Date Filing Date Title
JP12919398A JP4046847B2 (ja) 1998-05-12 1998-05-12 磁気共鳴イメージング装置

Publications (3)

Publication Number Publication Date
JPH11318849A JPH11318849A (ja) 1999-11-24
JPH11318849A5 JPH11318849A5 (ja) 2005-09-29
JP4046847B2 true JP4046847B2 (ja) 2008-02-13

Family

ID=15003454

Family Applications (1)

Application Number Title Priority Date Filing Date
JP12919398A Expired - Fee Related JP4046847B2 (ja) 1998-05-12 1998-05-12 磁気共鳴イメージング装置

Country Status (1)

Country Link
JP (1) JP4046847B2 (ja)

Families Citing this family (5)

* Cited by examiner, † Cited by third party
Publication number Priority date Publication date Assignee Title
US8731270B2 (en) 2009-06-25 2014-05-20 Hitachi Medical Corporation Magnetic resonance imaging apparatus and imaging slice determination method
US20150157277A1 (en) * 2012-08-13 2015-06-11 Hitachi Medical Corporation Magnetic resonance imaging apparatus and magnetic resonance imaging method
JP2015084893A (ja) * 2013-10-30 2015-05-07 株式会社日立メディコ 磁気共鳴イメージング装置および磁気共鳴イメージング方法
US11171277B2 (en) * 2016-03-31 2021-11-09 Sumitomo Chemical Company, Limited Compound and thermoelectric conversion material
EP4290262B1 (en) 2022-06-08 2025-09-10 Siemens Healthineers AG Prospective slice tracking through interleaved perpendicular acquisitions of dynamic 2d cardiovascular mri

Also Published As

Publication number Publication date
JPH11318849A (ja) 1999-11-24

Similar Documents

Publication Publication Date Title
Larson et al. Design of an MRI-compatible robotic stereotactic device for minimally invasive interventions in the breast
JP4632508B2 (ja) 超音波穿刺支援装置
JP5542936B2 (ja) 少なくとも一つの電磁量を決定するための装置及び方法
Tsekos et al. A prototype manipulator for magnetic resonance-guided interventions inside standard cylindrical magnetic resonance imaging scanners
WO2003005902A1 (en) Endoscopic image pickup method and magnetic resonance imaging device using the same
JPH10192268A (ja) 医療用画像診断装置
Christoforou et al. Robotic arm for magnetic resonance imaging guided interventions
CN102497811A (zh) 用于控制导管移动以及用于导管定位的设备和方法
US20240036126A1 (en) System and method for guiding an invasive device
JP4032293B2 (ja) 超音波−磁気共鳴複合医療装置
JP2907963B2 (ja) 磁気共鳴モニタリング治療装置
Tsekos et al. Development of a robotic device for MRI-guided interventions in the breast
JP4046847B2 (ja) 磁気共鳴イメージング装置
JP2004008398A (ja) 医療画像診断装置
JP2002085419A (ja) 医用画像診断装置を用いた穿刺針挿入制御システム
JP3911602B2 (ja) 磁気共鳴撮像装置
JP3300895B2 (ja) 磁気共鳴イメージング装置及びそのテーブル制御方法
JP2000300535A (ja) Mri装置を用いた時系列温度計測方法
JP4377645B2 (ja) イメージガイド治療用処置器具及び磁気共鳴イメージング装置
JP4118119B2 (ja) 磁気共鳴イメージング装置
JP4074513B2 (ja) 磁気共鳴イメージング装置
JP3971268B2 (ja) 磁気共鳴イメージング装置
JP4219028B2 (ja) 磁気共鳴イメージング装置
JP2614726B2 (ja) 核磁気共鳴イメージング装置
JP3749334B2 (ja) 磁気共鳴イメージング装置

Legal Events

Date Code Title Description
A521 Request for written amendment filed

Free format text: JAPANESE INTERMEDIATE CODE: A523

Effective date: 20050509

A621 Written request for application examination

Free format text: JAPANESE INTERMEDIATE CODE: A621

Effective date: 20050509

A977 Report on retrieval

Free format text: JAPANESE INTERMEDIATE CODE: A971007

Effective date: 20070904

A131 Notification of reasons for refusal

Free format text: JAPANESE INTERMEDIATE CODE: A131

Effective date: 20070911

A521 Request for written amendment filed

Free format text: JAPANESE INTERMEDIATE CODE: A523

Effective date: 20071029

TRDD Decision of grant or rejection written
A01 Written decision to grant a patent or to grant a registration (utility model)

Free format text: JAPANESE INTERMEDIATE CODE: A01

Effective date: 20071120

A61 First payment of annual fees (during grant procedure)

Free format text: JAPANESE INTERMEDIATE CODE: A61

Effective date: 20071121

FPAY Renewal fee payment (event date is renewal date of database)

Free format text: PAYMENT UNTIL: 20101130

Year of fee payment: 3

R150 Certificate of patent or registration of utility model

Free format text: JAPANESE INTERMEDIATE CODE: R150

FPAY Renewal fee payment (event date is renewal date of database)

Free format text: PAYMENT UNTIL: 20101130

Year of fee payment: 3

FPAY Renewal fee payment (event date is renewal date of database)

Free format text: PAYMENT UNTIL: 20111130

Year of fee payment: 4

FPAY Renewal fee payment (event date is renewal date of database)

Free format text: PAYMENT UNTIL: 20111130

Year of fee payment: 4

FPAY Renewal fee payment (event date is renewal date of database)

Free format text: PAYMENT UNTIL: 20121130

Year of fee payment: 5

FPAY Renewal fee payment (event date is renewal date of database)

Free format text: PAYMENT UNTIL: 20131130

Year of fee payment: 6

LAPS Cancellation because of no payment of annual fees