JP4013450B2 - ドットパターン表示媒体並びにこの作製方法 - Google Patents

ドットパターン表示媒体並びにこの作製方法 Download PDF

Info

Publication number
JP4013450B2
JP4013450B2 JP2000143284A JP2000143284A JP4013450B2 JP 4013450 B2 JP4013450 B2 JP 4013450B2 JP 2000143284 A JP2000143284 A JP 2000143284A JP 2000143284 A JP2000143284 A JP 2000143284A JP 4013450 B2 JP4013450 B2 JP 4013450B2
Authority
JP
Japan
Prior art keywords
dot
dot pattern
display medium
dots
image
Prior art date
Legal status (The legal status is an assumption and is not a legal conclusion. Google has not performed a legal analysis and makes no representation as to the accuracy of the status listed.)
Expired - Fee Related
Application number
JP2000143284A
Other languages
English (en)
Other versions
JP2001324949A (ja
Inventor
章 久保
智 牛腸
Current Assignee (The listed assignees may be inaccurate. Google has not performed a legal analysis and makes no representation or warranty as to the accuracy of the list.)
Toppan Inc
Original Assignee
Toppan Inc
Priority date (The priority date is an assumption and is not a legal conclusion. Google has not performed a legal analysis and makes no representation as to the accuracy of the date listed.)
Filing date
Publication date
Application filed by Toppan Inc filed Critical Toppan Inc
Priority to JP2000143284A priority Critical patent/JP4013450B2/ja
Publication of JP2001324949A publication Critical patent/JP2001324949A/ja
Application granted granted Critical
Publication of JP4013450B2 publication Critical patent/JP4013450B2/ja
Anticipated expiration legal-status Critical
Expired - Fee Related legal-status Critical Current

Links

Images

Landscapes

  • Credit Cards Or The Like (AREA)
  • Printing Methods (AREA)
  • Cleaning In Electrography (AREA)

Description

【0001】
【発明の属する技術分野】
本発明は、ハエの目レンズやレンチキュラー等のレンズアレイにより隠し絵や遊びに用いる画像のチェンジング、アニメーション、ステレオなどの画像を表示するドットパターンを有する表示媒体、さらに、証券媒体等のセキュリティー性を向上させる潜像やコピー牽制の効果を有するドットパターン表示媒体およびその作製方法に関するものである。
【0002】
【従来の技術】
従来、絵柄中に文字等のパターンを忍ばせる方法としては、図9に示すように印刷絵柄を構成する網点のスクリーン角度をパターンを形成する部分だけ変える方法がある。この絵柄に網点が形成されたフィルム(92)を当ててみると、スクリーン角度が同じ部分がモアレを起こし、隠しパターン(93)が現れる技術が用いられている。
しかし、この方法では、同じ場所に入れることができる画像の数が限られ、色も単色に限られる。
【0003】
【発明が解決しようとする課題】
そこで、複数のカラー画像を潜像としてドットパターンで形成しレンズアレイを位置合わせすると潜像が表示できるドットパターン表示媒体、さらに、このドットパターンを有する表示媒体がコピーされた場合には、それを検出することができ偽造、改竄を防止する機能を有する表示媒体を提供することを課題とする。
また、上記機能を利用して、有価証券類の真偽判定及び複製防止を図ることも課題としている。
【0004】
【課題を解決するための手段】
本発明において上記の課題を解決するためになされた発明は、レンズアレイのレンズのピッチと同じピッチの少なくとも2種類以上の色のドットからなるドットパターンを設け、前記レンズアレイを重ねることにより画像が現れるドットパターンを設けたことを特徴
とするドットパターン表示媒体を前提とするものである。
【0005】
まず、請求項1に記載の発明は、周辺の、同じピッチの少なくとも2種類以上の色のドットからなるドットパターンを構成するそれぞれのドットに隣接しドットと等面積を有する補色の領域部分を設けたドットパターンと異なる、同じピッチの少なくとも2種類以上の色のドットからなる、前記ピッチと同じレンズアレイを重ねることにより画像が現れるドットパターンを構成するそれぞれのドットに隣接し、ドットと等面積を有する補色の領域部分を設けたドットパターンを潜像として設けてなるドットパターン表示媒体である。
また、請求項2に記載の発明は、通常の画像の一部分に、同じピッチの少なくとも2種類以上の色のドットからなる、前記ピッチと同じレンズアレイを重ねることにより画像が現れるドットパターンを構成するそれぞれのドットに隣接し、ドットと等面積を有する補色の領域部分を設けたドットパターンを潜像として設けてなるドットパターン表示媒体である。
【0006】
また、請求項に記載の発明は、周辺の、同じピッチの少なくとも2種類以上の色のドットからなるドットパターンを構成するそれぞれのドットに隣接しドットと等面積を有する補色の領域部分を設けたドットパターンと異なる、同じピッチの少なくとも2種類以上の色のドットからなる、前記ピッチと同じレンズアレイを重ねることにより画像が現れるドットパターンを構成するそれぞれのドットの近傍に、ドットと等面積を有する補色の領域部分を設けたドットパターンを潜像として設けてなることを特徴とするドットパターン表示媒体である。
また、請求項4に記載の発明は、通常の画像の一部分に、同じピッチの少なくとも2種類以上の色のドットからなる、前記ピッチと同じレンズアレイを重ねることにより画像が現れるドットパターンを構成するそれぞれのドットの近傍に、ドットと等面積を有する補色の領域部分を設けたドットパターンを潜像として設けてなるドットパターン表示媒体である。
【0007】
また、請求項に記載の発明は、ドットパターンを構成するそれぞれのドットが少なくとも2種類以上のスクリーン線数の網点からなることを特徴とする請求項1から4何れかに記載のドットパターン表示媒体である。
【0008】
また、請求項に記載の発明は、ドットパターンを構成するそれぞれのドットが少なくとも2種類以上のスクリーン角度の網点からなることを特徴とする請求項1から4何れかに記載のドットパターン表示媒体である。
【0009】
また、請求項に記載の発明は、ドットパターンを構成するそれぞれのドットが少なくとも2種類以上のスクリーン線数、且つ少なくとも2種類以上のスクリーン角度の網点からなることを特徴とする請求項1から4何れかに記載のドットパターン表示媒体である。
【0010】
また、請求項に記載の発明は、ドットパターンを構成するドットが互いに重なり合わないようにずらして形成したことを特徴とする請求項1から7何れかのいずれか1項に記載のドットパターン表示媒体である。
【0011】
また、請求項に記載の発明は、ドットパターンをドットピッチと同じピッチのレンズアレイを通した場合に右目と左目で別々の視差を有する画像が見えるように配置したことを特徴とする請求項1から8何れかのいずれか1項に記載のドットパターン表示媒体である。
【0012】
【0013】
また、請求項10に記載の発明は、印刷またはプリンタを用いて請求項1〜請求項
いずれか1項に記載のドットパターン表示媒体を作製することを特徴とするドットパターン表示媒体の作製方法である。
【0014】
また、請求項1記載の発明は、請求項10記載のドッドパターン表示媒体の作製方法において、ドットパターンが表す通常の画像の少なくとも一部分を同じピッチの少なくとも2種類以上の色のドットからなる、前記ピッチと同じレンズアレイを重ねることにより画像が現れるドットパターンに変更して設ける過程を具備していることを特徴とするドットパターン表示媒体の作製方法である。
【0015】
【0016】
【0017】
一般的にドットと網点とは同義語である。しかし、本明細書においては、発明を判り易くするために、ドットは本発明のレンズアレイを重ねた時に表示される画像の構成要素となっている点(面積)を、網点は印刷分野で定義されている通常の点を指し、区別して表現している。すなわち、網点が集合して一つの画像構成要素になって塊もドットと称している。
【0018】
【発明の実施の形態】
以下、発明の実施の形態を図面を参照して詳細に説明する。
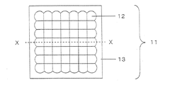
図1は、本発明で用いるレンズアレイの一種であるハエの目レンズの形状を示す平面図である。また、図2は、図1のX−Xにおける断面図を示す。
【0019】
図1のハエの目レンズ(11、21)は、インテグラルフォトグラフィ(IP)や立体テレビなどで用いられる複眼レンズであり、透明な平面板(13、23)の上に凸レンズ(12、22)を敷き詰めた構造になっている。このハエの目レンズの作製方法としては、透明な平面板に凸レンズを敷き詰める他に、金型を作製しての射出成形やプレス成形を用いて作製する方法などが考えられる。
【0020】
本発明に用いるハエの目レンズを構成する凸レンズ(12、22)は、0.1mmから10mm程度のピッチ幅をもつものが好ましく、その倍率は2倍から20倍程度が好ましい。
【0021】
図3はハエの目レンズに対応したドッドパターンを有する表示媒体(30)を説明する概念平面図を示し、レンズアレイの1個のサイズに対応する面積を本明細書ではセルと称することとする。即ち、レンズの縦、横のピッチで囲まれた部分がセルであり、図3(a)では31がセルを示す。
このセル(31)中には複数の画像を構成するドットパターン(32a,32b)を有している。
例えば、図3(a)において32aのドットパターンが「T」の画像を表示するドットパターン、32bのドットパターンが「O」の画像を表示するドットパターンであった場合、図3(b)に示すようにドットパターン表示媒体(30)にハエの目レンズ(11)を重ねて、レンズの焦点を32aのドットパターンに合わせると図4(a)に示す「T」の画像が、ハエの目レンズを移動させ32bのドットパターンにレンズの焦点を合わせると図4(b)に示す「O」の画像が表示される。
【0022】
ドットパターンを構成するドットは、レンズのフォーカスサイズと同程度の大きさで設ける。また、ドットパターンを構成するドットの色は何色でもよく、フルカラーのドットによりドットパターンを形成し、ハエの目レンズを通して見た場合、フルカラーの画像が現れる。
【0023】
図3のセル(31)には、2画像を構成するドットしか示していないが、これ以上の画像のドット数を形成して、レンズアレイを各ドットに重ねることで形成したドット数の画像を表示させることは可能である。
【0024】
また、同一のセルに複数のドットを設けた場合、ハエの目レンズを構成する凸レンズのピッチ内でずらしてドットパターンを設けることにより、複数のドットを同じセルに設けることができる。
これらのドットパターンは、レンズをどれか一つのドットパターンに合わせると、見る角度を変えることにより、他のドットパターンの画像が現れる。このことを利用して、画像が変化するチェンジング、画像が動きを持つアニメーションを実現する。
【0025】
図5は、潜像(隠し絵)を構成しているドットパターンをカモフラージュし、潜像を判別できないようにし偽造、改竄を防止する機能を有するドットパターン表示媒体を説明する図である。
【0026】
図5(a)は、ドット(42)に隣接しドットと補色で、且つドット(42)と等面積を有する領域部分(43)を設けた疑似ドット(41a)を示す。また図5(b)は、41aの疑似ドットとは反対に、42に相当する44の領域には前記疑似ドットの43の色に、43に相当する45の領域には前記ドット(42)の色して、もう一方の疑似ドット(41b)である。
【0027】
上記のような構成の疑似ドット(41a,41b)は、ドットパターンがフルカラー画像であっても遠目には単なる網点にしか見えなく、且つ両者は同じ色調に見えることで区別がつかなく、単に画像構成要素である網点が形成されているとしか認識されず、どのような潜像画像が埋め込まれているか判らなくすることができる。
【0028】
従って、図5(c)のように41aの疑似ドットで画像「T」を潜像(隠し絵)とし、この周辺に41bの疑似ドットを配置させると、どのような潜像(隠し絵)を埋め込ませてあるか肉眼で表示媒体を見た場合、判別が付きにくい。
従って、潜像(隠し絵)が設けられていることが判らないと言う効果が生じ、証券類にドットパターンによる潜像(隠し絵)を設けておくことで偽造、改竄を防ぐことができる。
【0029】
この図5では、ドットの形状及び疑似ドットの形状が矩形で示しているが、円形等どのような形状であってもよいが、通常は矩形、円形が一般的である。
【0030】
上記の図5において、ドットと隣接して異なる色を有する領域部を設けた場合であるが、必ずしもドットと接している必要はなく、離れていても目の解像度より小さい距離であれば、同様な効果が得られる。更に、ドット(42)と領域部分(43)の色を互いに補色関係にすると潜像(隠し絵)が判り難くなる。
【0031】
図6の(a)、(b)はドットパターンを構成するドットのスクリーン線数およびスクリーン角度を変えた例であり、(c)はスクリーン線数を変えたドットにより構成したドットパターンの例である。
ドットは必ずしも、1個の点で形成されている必要はなく、小さな点の集合であっても何ら差支えなく同様な効果が得られる。
【0032】
従って、網点面積率が同じであれば普通にハエの目レンズを通して見た場合には同じ様に見えるが、コピーすると、線数が大きい或いは網点角度によって再現されるドットの濃度が変わる。
このことを利用してスクリーン線数および/もしくはスクリーン角度にドットによって変化させたドットパターンを形成することにより、コピーされたものかどうか識別することができる。
【0033】
すなわち、スクリーン線数が細かな例えば300線/inch以上の網点でドットを形成した場合、複写機では解像できなく潰れてしまい、潰れたドットパターン(特定の画像)が現れる。また、複写機の解像度は方向性によって異なる機種があるので、スクリーン角度を変えることによっても、潰れが生じ同様に潰れたドットパターン(特定の画像)が現れる。
【0034】
また、スクリーン線数及びスクリーン角度とを同時に変えてドットパターンを作製することで、より複製困難になり偽造防止効果を高めることができる。
【0035】
レンズアレイをドットパターンに重ね合わせ、レンズアレイを構成している各レンズの焦点位置とドットの位置が合致すればドットパターンで構成された潜像(隠し絵)を表示できる。しかし、ドットが重なった場合は、重なった部分がノイズとなるので、鮮明に画像を分離して表示させるにはドットが重なり合わないようにした方が良い。
しかし、画像の分離を犠牲にしても、潜像(隠し絵)が埋め込まれていることを第3者に知られないようにカモフラージュし、偽造、改竄を防止する場合には重なり有っていても構わない。
【0036】
このドットパターン表示媒体上にレンズアレイを置き、ドットパターンで構成された潜像(隠し絵)が現れるか否かで真正品であるか、偽造されたものであるか判定でき、有価証券等の偽造防止対策の1手段として利用可能である。
【0037】
また偽造、改竄を防止する方法の他の方法として、通常の絵柄(81)の一部に図8に示すように、ドットの周辺の絵柄、色調と違和感なく溶け込むようにドットパターン(82)を形成しておく。この時に通常の絵柄を構成している網点と重なりあっても良い。
【0038】
また、図7図に示す如く、右目(71)と左目(72)の視差を用いて、ハエの目レンズ(73)を通した場合、別々の視差を有する画像が見えるように右目で見るドットパターン(75)および左目で見るドットパターン(74)を設けることにより、立体画像を現すことができる。
【0039】
ドットパターンは、媒体に印刷により形成することができ、ドットパターンを有する表示媒体を作製することができる。ここで用いる印刷方法としては、オフセット、グラビア、凸版、スクリーンなど既存の印刷技術を用いることができ、媒体は、紙、樹脂フィルム、金属箔など通常印刷に用いる材質のものが挙げられる。
【0040】
また、ドットパターン媒体の形成に情報処理機器に接続したプリンタを用いた場合には、情報処理機器(コンピュータ)で処理され作製された画像のドットパターンを形成した表示媒体を作製することができる。又、ナンバリングされた証券媒体などの番号と関連したドットパターンを形成することにより、セキュリティー性が向上する。
【0041】
本発明で使用するレンズアレイは、2次元に配列した場合はハエの目レンズ、ハニカムレンズであり、1次元に配列した場合はレンチキュラーである。
【0042】
【実施例】
通常の画像中に「T」(82)の文字を矩形ドットとして、「COPY」(83)の文字をスクリーン線数が大きいドットパターンとし、周りの通常の絵柄に溶け込むようにし
たドットで図8に示すような画像をコンピュータ上で作製し、フィルム出力機でY、M、C、K用の4枚のフィルムを作製し、印刷版を作製し、オフセット印刷機を用いて印刷して媒体を得た。
【0043】
このものは、一見、通常の画像であるが、ハエの目レンズを通して見ると、「T」、「COPY」の文字が現れ、潜像媒体として機能した。
また、印刷によって得られた媒体をカラーコピーし、コピーして得られたものは、スクリーン線数の大きなドットで作製された「COPY」のいう文字が潰れて現れて偽造、改竄の牽制媒体として機能した。
【0044】
【発明の効果】
本発明は、上記に記述したように複数のカラー画像を構成するドットを一のセルに設けることで、画像が変化するチェンジング、画像が動きを持つアニメーション画像を実現することができる。また、ドットパターンが視差を有する画像である場合には、立体画像を得ることができる。
【0045】
また、ドットパターンを構成するそれぞれのドットに隣接しドットとは異なる色で、ドットと等面積を有する領域部分を設けた疑似ドットを設け、ドットパターンをカモフラージュすることで、どのような潜像(隠し絵)が埋め込まれているか判らなくしているので、偽造、改竄等が困難となる。従って、有価証券と偽造防止対策に有効な手段となる。
【0046】
また、通常の絵柄の一部に本発明のドットパターンを通常の絵柄と違和感なく埋め込むことで、どのような潜像(隠し絵)が埋め込まれているか判らなくしているので、偽造、改竄等が困難となる。従って、有価証券と偽造防止対策に有効な手段となる。
【0047】
また、ドットパターン表示媒体にレンズアレイを置き、特定の画像が現れるか否かによって真偽判定ができ、更に複製する場合解像できないようなスクリーン線数或いはスクリーン角度でドットパターンを形成することで偽造、改竄防止の効果が生じる。
【図面の簡単な説明】
【図1】 本発明で用いるハエの目レンズの平面図である。
【図2】 図1のX−Xにおける断面図である。
【図3】 ドットパターンおよびドットパターンにハエの目レンズを通したときに現れる画像を説明するものであり、
(a)は、ドットパターンを有する表示媒体の平面図、
(b),(c)は、表示媒体の各ドットに焦点を合わせた場合を説明する断面図
である。
【図4】 図3に於ける1のドットに焦点を合わせて場合に表示される像を示し、
(a)は、「T」の画像を構成するドットに焦点を合わせた場合、(b)は「O」の画像を構成するドットに焦点を合わせた場合に表示される像を示す。
【図5】 ドットパターンを構成するドットに隣接し、ドットとは異なる色で、ドットと等面積を有する領域部分を設けた疑似ドットを用いたドットパターンを有する表示媒体を説明するものであり、
(a)、(b)は疑似ドットを、(c)はこの疑似ドットを有する表示媒体の概念平面図である。
【図6】 スクリーン線数およびスクリーン角度を変えたドットおよびドットパターンを説明するものであり、
(a)、(b)はスクリーン線数およびスクリーン角度を変えたドットを、(c)は、このドットを有する表示媒体の概念平面図である。
【図7】 右目と左目の視差を用いて立体画像を表示する場合を説明する模式図である。
【図8】 通常の画像中にドットパターンを形成した一例を示す平面図である。
【図9】 従来の潜像パターンを設ける方法を説明するものであり、
(a)はスクリーン角度を変えて潜像を設けた概略平面図、
(b)はモアレを生じさせるためのフィルムの概略平面図、
(c)は(a)に(b)を重ねた時にモアレによって生じた潜像を示す概略平面図、
をそれぞれ示す。
【符号の説明】
11…ハエの目レンズ
12…凸レンズ
13…透明な平面版
21…ハエの目レンズ
22…凸レンズ
23…透明な平面版
30…表示媒体
31…セル
32a,32b…ドットパターン
40…表示媒体
41a,41b…疑似ドット
42…ドット
50…表示媒体
71…右目
72…左目
74…右目で見るドットパターン
75…左目で見るドットパターン
80…表示媒体
81…通常の画像
82…ドットパターン潜像
83…スクリーン線数が大きいドットパターン潜像
91…隠しパターン(潜像)
92…フィルム
93…モワレにより現れた隠しパターン

Claims (11)

  1. 周辺の、同じピッチの少なくとも2種類以上の色のドットからなるドットパターンを構成するそれぞれのドットに隣接しドットと等面積を有する補色の領域部分を設けたドットパターンと異なる、同じピッチの少なくとも2種類以上の色のドットからなる、前記ピッチと同じレンズアレイを重ねることにより画像が現れるドットパターンを構成するそれぞれのドットに隣接し、ドットと等面積を有する補色の領域部分を設けたドットパターンを潜像として設けてなるドットパターン表示媒体。
  2. 通常の画像の一部分に、同じピッチの少なくとも2種類以上の色のドットからなる、前記ピッチと同じレンズアレイを重ねることにより画像が現れるドットパターンを構成するそれぞれのドットに隣接し、ドットと等面積を有する補色の領域部分を設けたドットパターンを潜像として設けてなるドットパターン表示媒体。
  3. 周辺の、同じピッチの少なくとも2種類以上の色のドットからなるドットパターンを構成するそれぞれのドットに隣接しドットと等面積を有する補色の領域部分を設けたドットパターンと異なる、同じピッチの少なくとも2種類以上の色のドットからなる、前記ピッチと同じレンズアレイを重ねることにより画像が現れるドットパターンを構成するそれぞれのドットの近傍に、ドットと等面積を有する補色の領域部分を設けたドットパターンを潜像として設けてなることを特徴とするドットパターン表示媒体。
  4. 通常の画像の一部分に、同じピッチの少なくとも2種類以上の色のドットからなる、前記ピッチと同じレンズアレイを重ねることにより画像が現れるドットパターンを構成するそれぞれのドットの近傍に、ドットと等面積を有する補色の領域部分を設けたドットパターンを潜像として設けてなるドットパターン表示媒体。
  5. ドットパターンを構成するそれぞれのドットが少なくとも2種類以上のスクリーン線数の網点からなることを特徴とする請求項1から4何れか記載のドットパターン表示媒体。
  6. ドットパターンを構成するそれぞれのドットが少なくとも2種類以上のスクリーン角度の網点からなることを特徴とする請求項1から4何れか記載の記載のドットパターン表示媒体。
  7. ドットパターンを構成するそれぞれのドットが少なくとも2種類以上のスクリーン線数、且つ少なくとも2種類以上のスクリーン角度の網点からなることを特徴とする請求項1から4何れか記載の記載のドットパターン表示媒体。
  8. ドットパターンを構成するドットが互いに重なり合わないようにずらして形成したことを特徴とする請求項1から4何れかのいずれか1項に記載のドットパターン表示媒体。
  9. ドットパターンをドットピッチと同じピッチのレンズアレイを通した場合に右目と左目で別々の視差を有する画像が見えるように配置したことを特徴とする請求項1から請求項8のいずれか1項に記載のドットパターン表示媒体。
  10. 印刷またはプリンタを用いて請求項1〜請求項のいずれか1項に記載のドットパターン表示媒体を作製することを特徴とするドットパターン表示媒体の作製方法。
  11. 請求項10記載のドッドパターン表示媒体の作製方法において、ドットパターンが表す通常の画像の少なくとも一部分を同じピッチの少なくとも2種類以上の色のドットからなる、前記ピッチと同じレンズアレイを重ねることにより画像が現れるドットパターンに変更して設ける過程を具備していることを特徴とするドットパターン表示媒体の作製方法。
JP2000143284A 2000-05-16 2000-05-16 ドットパターン表示媒体並びにこの作製方法 Expired - Fee Related JP4013450B2 (ja)

Priority Applications (1)

Application Number Priority Date Filing Date Title
JP2000143284A JP4013450B2 (ja) 2000-05-16 2000-05-16 ドットパターン表示媒体並びにこの作製方法

Applications Claiming Priority (1)

Application Number Priority Date Filing Date Title
JP2000143284A JP4013450B2 (ja) 2000-05-16 2000-05-16 ドットパターン表示媒体並びにこの作製方法

Publications (2)

Publication Number Publication Date
JP2001324949A JP2001324949A (ja) 2001-11-22
JP4013450B2 true JP4013450B2 (ja) 2007-11-28

Family

ID=18650125

Family Applications (1)

Application Number Title Priority Date Filing Date
JP2000143284A Expired - Fee Related JP4013450B2 (ja) 2000-05-16 2000-05-16 ドットパターン表示媒体並びにこの作製方法

Country Status (1)

Country Link
JP (1) JP4013450B2 (ja)

Cited By (3)

* Cited by examiner, † Cited by third party
Publication number Priority date Publication date Assignee Title
CN102725148A (zh) * 2009-07-09 2012-10-10 Ovd基尼格拉姆股份公司 多层体
US8876167B2 (en) 2008-10-03 2014-11-04 National Printing Bureau, Incorporated Administrative Agency Anti-counterfeit printed matter
US8985634B2 (en) 2008-09-16 2015-03-24 National Printing Bureau, Incorporated Administrative Agency Anti-counterfeit printed matter, method of manufacturing the same, and recording medium storing halftone dot data creation software

Families Citing this family (28)

* Cited by examiner, † Cited by third party
Publication number Priority date Publication date Assignee Title
AU2002952371A0 (en) * 2002-10-31 2002-11-14 Robert Van Der Zijpp Mutli Image to Merged Image Software Process
US8867134B2 (en) 2003-11-21 2014-10-21 Visual Physics, Llc Optical system demonstrating improved resistance to optically degrading external effects
JP2006051646A (ja) * 2004-08-11 2006-02-23 National Printing Bureau 真偽判別可能な印刷物
DE602006020712D1 (de) * 2005-04-11 2011-04-28 Nippon Carbide Kogyo Kk Rückreflektierende folie mit gedrucktem bildsatz
KR101265368B1 (ko) * 2005-05-18 2013-05-20 비쥬얼 피직스 엘엘씨 화상 표시 및 마이크로-광학 보안 시스템
JP2007068032A (ja) 2005-09-01 2007-03-15 Ricoh Co Ltd 画像表示媒体、合成画像表示データの作成方法及び画像生成システム
JP4649612B2 (ja) * 2005-11-25 2011-03-16 独立行政法人 国立印刷局 真偽判別可能な印刷物
CN1888949A (zh) * 2006-07-12 2007-01-03 张华升 隐藏图像识别系统、制品、识别装置及制作方法
KR101437031B1 (ko) * 2007-09-03 2014-09-03 내셔널 프린팅 뷰로우 인코퍼레이티드 어드미니스트레이티브 에이전시 위조방지용 인쇄물
SG174172A1 (en) * 2009-03-04 2011-10-28 Securency Int Pty Ltd Improvements in methods for producing lens arrays
JP2011025557A (ja) * 2009-07-27 2011-02-10 Dainippon Printing Co Ltd 印刷物と、印刷物の真偽検証方法
WO2011019912A1 (en) 2009-08-12 2011-02-17 Visual Physics, Llc A tamper indicating optical security device
JP2011173267A (ja) * 2010-02-23 2011-09-08 Toppan Printing Co Ltd Idカード、及びカードケース
RU2614643C9 (ru) 2011-01-28 2017-10-09 Кране & Ко., Инк Маркированное лазером устройство
KR101948363B1 (ko) 2011-08-19 2019-04-22 비쥬얼 피직스 엘엘씨 두께가 감소된 선택적으로 전사가능한 광학적 시스템
CA2834978A1 (fr) * 2012-06-12 2012-11-08 Media Relief Procede de fabrication d'une image iridescente, image obtenue et dispositif la comprenant, programme associe
AU2012387659A1 (en) 2012-08-17 2015-02-26 Visual Physics, Llc A process for transferring microstructures to a final substrate
JP6061192B2 (ja) * 2013-02-12 2017-01-18 独立行政法人 国立印刷局 立体表示形成体及びその作製方法
AU2014228012B2 (en) 2013-03-15 2018-07-26 Visual Physics, Llc Optical security device
US9873281B2 (en) 2013-06-13 2018-01-23 Visual Physics, Llc Single layer image projection film
US10766292B2 (en) 2014-03-27 2020-09-08 Crane & Co., Inc. Optical device that provides flicker-like optical effects
RU2687171C9 (ru) 2014-03-27 2019-07-22 Визуал Физикс, Ллс Оптическое устройство, создающее похожие на мерцание оптические эффекты
ES2721757T3 (es) 2014-07-17 2019-08-05 Visual Physics Llc Material de lámina polimérico mejorado para su uso en la obtención de documentos de seguridad poliméricos tales como billetes de banco
AU2015317844B2 (en) 2014-09-16 2019-07-18 Crane Security Technologies, Inc. Secure lens layer
US10189292B2 (en) 2015-02-11 2019-01-29 Crane & Co., Inc. Method for the surface application of a security device to a substrate
MX2019009459A (es) 2017-02-10 2019-12-16 Crane & Co Inc Dispositivo de seguridad optico legible por maquina.
JP2019045791A (ja) * 2017-09-06 2019-03-22 凸版印刷株式会社 偽造防止媒体、その作製方法およびドットパターンの表示方法
JP7251134B2 (ja) * 2018-12-21 2023-04-04 凸版印刷株式会社 偽造防止媒体、表示方法およびその作製方法

Cited By (3)

* Cited by examiner, † Cited by third party
Publication number Priority date Publication date Assignee Title
US8985634B2 (en) 2008-09-16 2015-03-24 National Printing Bureau, Incorporated Administrative Agency Anti-counterfeit printed matter, method of manufacturing the same, and recording medium storing halftone dot data creation software
US8876167B2 (en) 2008-10-03 2014-11-04 National Printing Bureau, Incorporated Administrative Agency Anti-counterfeit printed matter
CN102725148A (zh) * 2009-07-09 2012-10-10 Ovd基尼格拉姆股份公司 多层体

Also Published As

Publication number Publication date
JP2001324949A (ja) 2001-11-22

Similar Documents

Publication Publication Date Title
JP4013450B2 (ja) ドットパターン表示媒体並びにこの作製方法
US5924870A (en) Lenticular image and method
US7845572B2 (en) Solid-color embedded security feature
JPH0793503A (ja) 微小凸レンズ状光学機械及びカラーマスキングを使用する偽造防止方法
JP2010217886A (ja) 高解像度のスケール変更可能なグロス効果
MX2008014176A (es) Medios de impresion con seguridad mejorada con proteccion contra duplicacion.
JP2020089971A (ja) 偽造防止印刷物、偽造防止印刷物用データの作成方法及び偽造防止印刷物の作製システム
JPS60645B2 (ja) モアレ効果を利用した暗証形成物
US20060129823A1 (en) Security device
JP5692663B2 (ja) 複写、改竄防止用印刷物
JP5652789B2 (ja) 立体印刷物
JP3686953B2 (ja) 偽造防止印刷物とその作製方法
JP5365133B2 (ja) 画像形成体及び画像の製版方法
JP4411399B2 (ja) 真偽判別形成体
JP4415542B2 (ja) 潜像を有する印刷物およびその顕像化方法
JP6112357B2 (ja) 偽造防止用潜像画像表出構造
JP2011189690A (ja) 偽造防止印刷物
JPH0725130A (ja) 潜像がカラー画像として出現する表裏模様合成印刷物及びその作製方法
KR101470619B1 (ko) 복사 위조방지용 잠상원도 제조방법
JP4595068B2 (ja) 真偽判別可能な印刷物
JP3840944B2 (ja) 暗号化情報を有する情報記録媒体
JP7352232B2 (ja) 複写牽制画線印刷物及び複写牽制画線印刷物の作成方法
JP2007068032A (ja) 画像表示媒体、合成画像表示データの作成方法及び画像生成システム
JP2021011098A (ja) 複写防止用紙及びその製造方法
JP2006051646A (ja) 真偽判別可能な印刷物

Legal Events

Date Code Title Description
A621 Written request for application examination

Free format text: JAPANESE INTERMEDIATE CODE: A621

Effective date: 20040318

A977 Report on retrieval

Free format text: JAPANESE INTERMEDIATE CODE: A971007

Effective date: 20050929

A131 Notification of reasons for refusal

Free format text: JAPANESE INTERMEDIATE CODE: A131

Effective date: 20051101

A521 Request for written amendment filed

Free format text: JAPANESE INTERMEDIATE CODE: A523

Effective date: 20051227

A521 Request for written amendment filed

Free format text: JAPANESE INTERMEDIATE CODE: A523

Effective date: 20051227

A131 Notification of reasons for refusal

Free format text: JAPANESE INTERMEDIATE CODE: A131

Effective date: 20061010

A521 Request for written amendment filed

Free format text: JAPANESE INTERMEDIATE CODE: A523

Effective date: 20061207

A02 Decision of refusal

Free format text: JAPANESE INTERMEDIATE CODE: A02

Effective date: 20070123

A521 Request for written amendment filed

Free format text: JAPANESE INTERMEDIATE CODE: A523

Effective date: 20070323

A911 Transfer to examiner for re-examination before appeal (zenchi)

Free format text: JAPANESE INTERMEDIATE CODE: A911

Effective date: 20070404

A131 Notification of reasons for refusal

Free format text: JAPANESE INTERMEDIATE CODE: A131

Effective date: 20070612

A521 Request for written amendment filed

Free format text: JAPANESE INTERMEDIATE CODE: A523

Effective date: 20070727

TRDD Decision of grant or rejection written
A01 Written decision to grant a patent or to grant a registration (utility model)

Free format text: JAPANESE INTERMEDIATE CODE: A01

Effective date: 20070821

A61 First payment of annual fees (during grant procedure)

Free format text: JAPANESE INTERMEDIATE CODE: A61

Effective date: 20070903

FPAY Renewal fee payment (event date is renewal date of database)

Free format text: PAYMENT UNTIL: 20100921

Year of fee payment: 3

R150 Certificate of patent or registration of utility model

Free format text: JAPANESE INTERMEDIATE CODE: R150

FPAY Renewal fee payment (event date is renewal date of database)

Free format text: PAYMENT UNTIL: 20110921

Year of fee payment: 4

FPAY Renewal fee payment (event date is renewal date of database)

Free format text: PAYMENT UNTIL: 20110921

Year of fee payment: 4

FPAY Renewal fee payment (event date is renewal date of database)

Free format text: PAYMENT UNTIL: 20120921

Year of fee payment: 5

FPAY Renewal fee payment (event date is renewal date of database)

Free format text: PAYMENT UNTIL: 20120921

Year of fee payment: 5

FPAY Renewal fee payment (event date is renewal date of database)

Free format text: PAYMENT UNTIL: 20130921

Year of fee payment: 6

LAPS Cancellation because of no payment of annual fees