JP3981069B2 - 無段変速機用金属ベルト、金属リングの製造方法および金属リングの形状測定方法 - Google Patents

無段変速機用金属ベルト、金属リングの製造方法および金属リングの形状測定方法 Download PDF

Info

Publication number
JP3981069B2
JP3981069B2 JP2003434282A JP2003434282A JP3981069B2 JP 3981069 B2 JP3981069 B2 JP 3981069B2 JP 2003434282 A JP2003434282 A JP 2003434282A JP 2003434282 A JP2003434282 A JP 2003434282A JP 3981069 B2 JP3981069 B2 JP 3981069B2
Authority
JP
Japan
Prior art keywords
metal ring
metal
radius
continuously variable
variable transmission
Prior art date
Legal status (The legal status is an assumption and is not a legal conclusion. Google has not performed a legal analysis and makes no representation as to the accuracy of the status listed.)
Expired - Fee Related
Application number
JP2003434282A
Other languages
English (en)
Other versions
JP2005188712A (ja
Inventor
英明 青山
徹 矢ケ崎
学 村上
茂 金原
Current Assignee (The listed assignees may be inaccurate. Google has not performed a legal analysis and makes no representation or warranty as to the accuracy of the list.)
Honda Motor Co Ltd
Original Assignee
Honda Motor Co Ltd
Priority date (The priority date is an assumption and is not a legal conclusion. Google has not performed a legal analysis and makes no representation as to the accuracy of the date listed.)
Filing date
Publication date
Application filed by Honda Motor Co Ltd filed Critical Honda Motor Co Ltd
Priority to JP2003434282A priority Critical patent/JP3981069B2/ja
Priority to CNB2004100946927A priority patent/CN1306184C/zh
Priority to EP04029910A priority patent/EP1548325B1/en
Priority to DE602004025785T priority patent/DE602004025785D1/de
Priority to US11/019,385 priority patent/US7670241B2/en
Publication of JP2005188712A publication Critical patent/JP2005188712A/ja
Application granted granted Critical
Publication of JP3981069B2 publication Critical patent/JP3981069B2/ja
Anticipated expiration legal-status Critical
Expired - Fee Related legal-status Critical Current

Links

Images

Classifications

    • FMECHANICAL ENGINEERING; LIGHTING; HEATING; WEAPONS; BLASTING
    • F16ENGINEERING ELEMENTS AND UNITS; GENERAL MEASURES FOR PRODUCING AND MAINTAINING EFFECTIVE FUNCTIONING OF MACHINES OR INSTALLATIONS; THERMAL INSULATION IN GENERAL
    • F16GBELTS, CABLES, OR ROPES, PREDOMINANTLY USED FOR DRIVING PURPOSES; CHAINS; FITTINGS PREDOMINANTLY USED THEREFOR
    • F16G5/00V-belts, i.e. belts of tapered cross-section
    • F16G5/16V-belts, i.e. belts of tapered cross-section consisting of several parts

Landscapes

  • Engineering & Computer Science (AREA)
  • General Engineering & Computer Science (AREA)
  • Mechanical Engineering (AREA)
  • Transmissions By Endless Flexible Members (AREA)
  • General Details Of Gearings (AREA)

Description

本発明は、無端状の金属リングを複数枚積層した金属リング集合体に多数の金属エレメントを支持した無段変速機用金属ベルトと、その金属リングの製造方法と、その金属リングの形状測定方法とに関する。
かかる無段変速機用金属ベルトの金属リングにおいて、その側端縁に近い部分を金属リングの幅方向外側に向けて徐々に薄くなるように塑性変形させることにより、金属ベルトの曲げに伴う側端縁の圧縮応力および引張応力を低減して疲労寿命の延長を図るものが、下記特許文献1により公知である。
特公平6−6970号公報
ところで、上記従来のものは、金属リングの側端縁の疲労寿命を曲げ応力に基づいて考察しているにも関わらず、前記側端縁が疲労破損の開始点となる原因であるプーリのV面や金属エレメントのネック部との接触によるヘルツ応力を全く考慮していないため、金属リングの側端縁の疲労寿命を効果的に延長することは困難であった。
本発明は前述の事情に鑑みてなされたもので、無段変速機用金属ベルトの金属リングの側端縁の疲労寿命を効果的に延長することを目的とする。
上記目的を達成するために、請求項1に記載された発明によれば、無端状の金属リングを複数枚積層した金属リング集合体に多数の金属エレメントを支持した無段変速機用金属ベルトにおいて、径方向外周面および径方向内周面を有する前記金属リングの側端縁を、前記径方向外周面に連なる第1切欠部と前記径方向内周面に連なる第2切欠部とによって先細の薄肉状とし、その先端に所定半径を有する円の一部である円弧状の突出部を前記金属リングの径方向中心面と前記径方向内周面との間に位置するように形成し、前記所定半径を有する円は前記径方向内周面から径方向外側に離れた位置にあり、かつ前記第1切欠部の前記金属リングの幅方向長さは、前記第2切欠部の前記金属リングの幅方向長さよりも長く設定されることを特徴とする無段変速機用金属ベルトが提案される。
また請求項2に記載された発明によれば、請求項1に記載の無段変速機用金属ベルトの金属リングの製造方法であって、前記金属リングの側端縁を押し切りにより切断した後に研磨することで、前記側端縁の突出部に所定の半径を付与することを特徴とする金属リングの製造方法が提案される。
また請求項3に記載された発明によれば、請求項1に記載の無段変速機用金属ベルトの金属リングの突出部の半径を算出する金属リングの形状測定方法であって、金属リングの側端縁の断面形状を所定間隔を有する複数の測定点の座標として測定する工程と、所定の連続する測定点の座標の移動平均を算出する工程と、前記移動平均を所定間隔で少なくとも3個選出し、それら少なくとも3個の移動平均から突出部の半径を算出する工程とを含むことを特徴とする金属リングの形状測定方法が提案される。
請求項1の構成によれば、金属リングの側端縁を先細の薄肉状とし、その先端に所定半径を有する円の一部である円弧状の突出部を金属リングの径方向中心面と径方向内周面との間に位置するように形成し、かつ前記所定半径を有する円は金属リングの径方向内周面から径方向外側に離れた位置にあるので、金属リングの径方向内周面に接する前記所定半径を有する円がプーリのV面に当接する場合に比べて、その突出部がプーリのV面に当接する位置を金属リングの径方向外側に移動させ、プーリに巻きついた金属リングに作用する曲げによる圧縮応力と、前記突出部がプーリのV面に接触して発生するヘルツ応力との総和を減少させることで、金属リングの疲労寿命を高めることができる。しかも金属リングを積層すると、それらの薄肉状となった側端縁間にオイルを保持する凹部が形成されるため、隣接する金属リングの摺動面を効果的に潤滑して耐久性を更に高めることができる。更に金属リングの側端縁において、径方向外周面に連なる第1切欠部の金属リングの幅方向長さを、径方向内周面に連なる第2切欠部の金属リングの幅方向長さよりも長く設定したので、上層の金属リングの幅広の径方向内周面が下層の金属リングの幅狭の径方向外周面を覆うことにより、クラウニングによる金属リング集合体のセンタリング機能が一層高められる。
請求項2の構成によれば、金属リングの側端縁を押し切りにより切断した後に研磨して前記側端縁の突出部に所定の半径を付与するので、所望の側端縁形状を有する金属リング効率良く、かつ精度良く製造することができる。
請求項3の構成によれば、金属リングの側端縁の断面形状を所定間隔を有する複数の測定点の座標として測定し、所定の連続する測定点の座標の移動平均を算出し、前記移動平均を所定間隔で少なくとも3個選出して該少なくとも3個の移動平均から突出部の半径を算出するので、各測定点の座標の検出誤差や、金属リングの突出部の細かい傷の影響を排除し、突出部の半径を精度良く検出することができる。
以下、本発明の実施の形態を、添付の図面に示した本発明の実施例に基づいて説明する。
図1〜図8は本発明の一実施例を示すもので、図1は金属ベルト式無段変速機を搭載した車両の動力伝達系のスケルトン図、図2は金属ベルトの部分斜視図、図3は金属リングの押し切り工程の説明図、図4は押し切りされた金属リングと研磨された金属リングとを示す図、図5は実施例および比較例の金属リングがプーリのV面に当接した状態を示す図、図6は実施例および比較例の金属リングに作用する応力を示すグラフ、図7は金属リング集合体の端部の拡大図、図8は金属リングの突出部の半径を測定する手法の説明図である。
尚、本実施例で用いる金属エレメントあるいは金属リングの前後方向、幅方向、径方向の定義は図2に示されている。径方向はその金属エレメントが当接するプーリの径方向として定義されるもので、プーリのシャフトに近い側が径方向内側であり、プーリのシャフトに遠い側が径方向外側である。また幅方向は金属エレメントが当接するプーリのシャフトに沿う方向として定義され、前後方向は金属エレメントの車両の前進走行時における進行方向に沿う方向として定義される。
図1に示すように、車両用の金属ベルト式無段変速機Tは平行に配置されたドライブシャフト1およびドリブンシャフト2を備えており、エンジンEのクランクシャフト3の左端はダンパー4を介してドライブシャフト1の右端に接続される。
ドライブシャフト1に支持されたドライブプーリ5は、該ドライブシャフト1に対して相対回転自在な固定側プーリ半体5aと、この固定側プーリ半体5aに対して軸方向摺動自在な可動側プーリ半体5bとを備える。可動側プーリ半体5bは、作動油室6に作用する油圧により固定側プーリ半体5aとの間の溝幅が可変である。ドリブンシャフト2に支持されたドリブンプーリ7は、該ドリブンシャフト2に一体に形成された固定側プーリ半体7aと、この固定側プーリ半体7aに対して軸方向摺動自在な可動側プーリ半体7bとを備える。可動側プーリ半体7bは、作動油室8に作用する油圧により固定側プーリ半体7aとの間の溝幅が可変である。そしてドライブプーリ5とドリブンプーリ7との間に、2本の金属リング集合体に多数の金属エレメントを装着した金属ベルト9が巻き掛けられる。
ドライブシャフト1の左端に、前進変速段を確立する際に係合してドライブシャフト1の回転を同方向にドライブプーリ5に伝達するフォワードクラッチ10と、後進変速段を確立する際に係合してドライブシャフト1の回転を逆方向にドライブプーリ5に伝達するリバースブレーキ11とを備えた、シングルピニオン式の遊星歯車機構よりなる前後進切換機構12が設けられる。前後進切換機構12のサンギヤ27はドライブシャフト1に固定され、プラネタリキャリヤ28はリバースブレーキ11によりケーシングに拘束可能であり、リングギヤ29はフォワードクラッチ10によりドライブプーリ5に結合可能である。
ドリブンシャフト2の右端に設けられる発進用クラッチ13は、ドリブンシャフト2に相対回転自在に支持した第1中間ギヤ14を該ドリブンシャフト2に結合する。ドリブンシャフト2と平行に配置された中間軸15に、前記第1中間ギヤ14に噛合する第2中間ギヤ16が設けられる。ディファレンシャルギヤ17のギヤボックス18に設けた入力ギヤ19に、前記中間軸15に設けた第3中間ギヤ20が噛合する。ギヤボックス18にピニオンシャフト21,21を介して支持した一対のピニオン22,22に、ギヤボックス18に相対回転自在に支持した左車軸23および右車軸24の先端に設けたサイドギヤ25,26が噛合する。左車軸23および右車軸24の先端にそれぞれ駆動輪W,Wが接続される。
しかして、セレクトレバーでフォワードレンジを選択すると、電子制御ユニットU1により作動する油圧制御ユニットU2からの指令により、先ずフォワードクラッチ10が係合し、その結果ドライブシャフト1はドライブプーリ5に一体に結合される。続いて発進用クラッチ13が係合し、エンジンEのトルクがドライブシャフト1、ドライブプーリ5、金属ベルト9、ドリブンプーリ7、ドリブンシャフト2およびディファレンシャルギヤ17を経て駆動輪W,Wに伝達され、車両は前進発進する。セレクトレバーでリバースレンジを選択すると、油圧制御ユニットU2からの指令により、リバースブレーキ11が係合してドライブプーリ5がドライブシャフト1の回転方向と逆方向に駆動されるため、発進用クラッチ13の係合により車両は後進発進する。
このようにして車両が発進すると、油圧制御ユニットU2からの指令でドライブプーリ5の作動油室6に供給される油圧が増加し、ドライブプーリ5の可動側プーリ半体5bが固定側プーリ半体5aに接近して有効半径が増加するとともに、ドリブンプーリ7の作動油室8に供給される油圧が減少し、ドリブンプーリ7の可動側プーリ半体7bが固定側プーリ半体7aから離反して有効半径が減少することにより、金属ベルト式無段変速機TのレシオがLOW側からOD側に向けて連続的に変化する。
図2に示すように、金属ベルト9は左右一対の金属リング集合体31,31に多数の金属エレメント32…を支持したもので、各々の金属リング集合体31は複数枚の金属リング33…を積層して構成される。金属板材から打ち抜いて成形した金属エレメント32は、エレメント本体34と、金属リング集合体31,31が係合する左右一対のリングスロット35,35間に位置するネック部36と、ネック部36を介して前記エレメント本体34の径方向外側に接続される概略三角形のイヤー部37とを備える。エレメント本体34の左右方向両端部には、ドライブプーリ5およびドリブンプーリ7のV面38…(図5参照)に当接可能な一対のプーリ当接面39,39が形成される。また金属エレメント32の進行方向前側および後側には相互に当接する主面40がそれぞれ形成され、また進行方向前側の主面40の下部には左右方向に延びるロッキングエッジ41を介して傾斜面42が形成される。更に、前後に隣接する金属エレメント32,32を結合すべく、イヤー部37の前後面に相互に嵌合可能な凹凸部43が形成される。そして左右のリングスロット35,35の下縁に、金属リング集合体31,31の内周面を支持するサドル面44,44が形成される。
次に、金属リング集合体31を構成する金属リング33の製造工程を説明する。
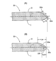
図3に示すように、金属リング33は円筒状に形成された金属リング素材33′を所定幅に輪切りにすることで製造される。即ち、回転するマンドレル51の表面に一対の傾斜部52a,52aと、両傾斜部52a,52aを接続する等径部52bとを備えた円周溝52を形成しておき、マンドレル51の外周に金属リング素材33′を支持した状態で、その外周に断面3角形の刃部53aを有する円板状のカッター53を回転させながら押し付けることで、円周溝52と刃部53aとの協働で金属リング素材33′を押し切りにより切断する。図4(A)に示すように、切断された金属リング33の側端縁は径方向外側に僅かに湾曲するとともに、概ね平坦な二つの面a,bと尖った二つのエッジ33a,33bとが形成される。
続いて、金属リング33の側端縁を回転する砥粒入りブラシで研磨することで、前記尖った二つのエッジ33a,33bを削り落とし、図4(B)に示すような所定半径Rの円弧状の突出部33cを金属リング33の側端縁に形成する。本実施例において、この突出部33cの位置は、金属リング33の径方向中心面Cと径方向内周面Iとの間にある。
金属リング33の側端縁において、径方外周面Oには該金属リング32の幅方向の長さがLaの第1切欠部33eが形成されるとともに、径方内周面Iには該金属リング32の幅方向の長さがLbの第2切欠部33fが形成され、第1、第2切欠部33e,33fの先端に突出部33cが連なっている。また前記第2切欠部33fを設けたことにより、突出部33cを構成する所定半径Rの円は、金属リング33の径方向内周面Iよりも径方向外側に位置している。
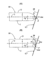
図5(A)は、金属ベルト9がプーリ5,7に巻き付きいて厚さT(例えば、0.2mm)の金属リング33の側端縁がプーリ5,7のV面38に接触した状態を示している。このとき、金属リング33の側端縁の突出部33cとプーリ5,7のV面38との接点Pは、金属リング33の径方向中心面Cよりも、Δyだけ径方向内側にずれている。図6(A)に示すように、プーリ5,7に巻き付くことで湾曲した金属リング33は、その径方向外周面Oが最も引き伸ばされて引張応力が最大になり、その径方向内周面Iが最も押し縮められて圧縮応力が最大になり、かつ径方向中心面Cでは応力がゼロになる。つまり、径方向外周面Oおよび径方向内周面I間で応力はσaから−σaまでリニアに変化する。また突出部33cとプーリ5,7のV面38との接点Pには、接触により圧縮応力(接触応力−σb)が作用する。従って、前記接点Pには、曲げによる圧縮応力|−σa1|と前記接触応力|−σb|との和である|σ|=|−σa1−σb|が作用することになる。
比較例の金属リング33はマンドレルの外周に支持した円筒状の金属リング素材33′を回転砥石により切断したもので、切断時の金属リング33の断面は矩形状となる。この金属リング33をバレル研磨すると、図5(B)に示すように金属リング33の側端縁の径方向外端および径方向内端が研磨されて半径Rを有する二つの角部33d,33dが形成される。
図5(B)に示すように、比較例の金属リング33は端縁部の径方向内側の角部33dがプーリ5,7のV面38に接点P′で接触する。前記角部33dがプーリ5,7のV面38に接触する接点P′の位置は、金属リング33の径方向中心面CよりもΔy′だけ径方向内側にずれており、そのずれΔy′は図5(A)に示す実施例のΔyよりも大きくなる。つまり、比較例の接点P′の位置は、実施例の接点Pの位置に比べて金属リング33の径方向内周面Iに近い位置にある。従って、比較例の接点P′には、曲げによる圧縮応力|−σa1′|と前記接触応力|−σb′|との和である|σ′|=|−σa1′−σb′|が作用することになる。
実施例の金属リング33の突出部33cの半径Rと、比較例の角部33dの半径Rとが等しければ、両接触応力|−σb|,|−σb′|は一致するが、接点P,P′の位置が異なることで、実施例の接点Pでの曲げによる圧縮応力|σa1|は、比較例の接点P′での曲げによる圧縮応力|σa1′|よりも小さくなる。従って、実施例の接点Pでのトータルの圧縮応力|σ|=|−σa1−σb|は、比較例の接点P′でのトータルの圧縮応力|σ′|=|−σa1′−σb′|よりも小さくなる。
このように、実施例の金属リング33は、比較例33の金属リング33に比べて接点P,P′の接触応力を考慮したトータルの圧縮応力を低減し、繰り返し曲げに対する耐久性を高めることができる。しかも、押し切り工程と研磨工程とを行うことで、所望の側端縁形状を有する金属リング33…を効率良く、かつ精度良く製造することができる。
また図7から明らかなように、複数の金属リング33…を積層した金属リング集合体31の側端縁は、隣接する金属リング33…の突出部33c…間の凹部にオイルが保持され易くなるため、隣接する金属リング33…間の摺動面の潤滑が促進されて耐久性が更に向上する。更に積層状態にある金属リング33…はクラウニングが施された金属エレメント32のサドル面44によって幅方向にセンタリングされるが、その際に、上層の金属リング33の幅広の径方向内周面Iが下層の金属リング33の幅狭の径方向外周面Oを覆うことによりセンタリング機能が一層高められる。
次に、完成した金属リング33の側端縁の突出部33aの半径Rが目標値に一致しているか否かを検証する手法について説明する。
本実施例の金属リング33は、側端縁の突出部33aのうちの半径Rの円弧部分が60°(π/3)の中心角を有するため、その円弧部分の長さLはR×(π/3)となる。
先ず、金属リング33の側端縁の断面の座標を所定ピッチpで測定する。そして連続する複数個(例えば3個)の測定点の座標の移動平均を、測定点を一つずつずらしながら算出する。この移動平均の座標をプロットしたものが図8のm1,m2,m3,…m17であり、そのうち円弧部分の両端に最も近い位置の移動平均m4,m14と、その中央に最も近い位置の移動平均m9とが求まれば、それら3個の移動平均m4,m9,m14を通る円の半径Rを算出し、それが目標値に一致しているか否かを確認することができる。
隣接する移動平均m1〜m17間のピッチpは測定点間のピッチpと同じであるため、円弧部分の長さL=R×(π/3)をピッチpで除算することで、円弧部分の長さLに含まれる移動平均m4〜m14の間隔の数が算出される。ここで移動平均m4〜m14を選択したのは、それらの外側のデータは他の曲率部を含むために誤差を生じるからである。実施例では前記間隔の数が約10個になるため、5個置きの3個の移動平均m4,m9,m14を選択することで、それらの移動平均m4,m9,m14を通る円の半径Rを精度良く算出することができる。
特に、移動平均m1〜m17を算出することで、各測定点の座標の検出誤差や、金属リング33の突出部33aの細かい傷の影響を排除し、突出部33aの円弧部分の半径Rを精度良く検出することができる。
以上、本発明の実施例を詳述したが、本発明はその要旨を逸脱しない範囲で種々の設計変更を行うことが可能である。
例えば、実施例では金属リング33の突出部33aの円弧部分の半径Rを3個の移動平均m4,m9,m14に基づいて算出しているが、4個以上の移動平均に基づいて算出することができる。
金属ベルト式無段変速機を搭載した車両の動力伝達系のスケルトン図 金属ベルトの部分斜視図 金属リングの押し切り工程の説明図 押し切りされた金属リングと研磨された金属リングとを示す図 実施例および比較例の金属リングがプーリのV面に当接した状態を示す図 実施例および比較例の金属リングに作用する応力を示すグラフ 金属リング集合体の端部の拡大図 金属リングの突出部の半径を測定する手法の説明図
符号の説明
9 金属ベルト
31 金属リング集合体
33 金属リング
33c 突出部
33e 第1切欠部
33f 第2切欠部
C 金属リングの径方向中心面
I 金属リングの径方向内周面
La 第1切欠部の金属リングの幅方向長さ
Lb 第2切欠部の金属リングの幅方向長さ
O 金属リングの径方向外周面

Claims (3)

  1. 無端状の金属リング(33)を複数枚積層した金属リング集合体(31)に多数の金属エレメント(32)を支持した無段変速機用金属ベルトにおいて、
    径方向外周面(O)および径方向内周面(I)を有する前記金属リング(33)の側端縁を、前記径方向外周面(O)に連なる第1切欠部(33e)と前記径方向内周面(I)に連なる第2切欠部(33f)とによって先細の薄肉状とし、その先端に所定半径を有する円の一部である円弧状の突出部(33c)を前記金属リング(33)の径方向中心面(C)と前記径方向内周面(I)との間に位置するように形成し、
    前記所定半径を有する円は前記径方向内周面(I)から径方向外側に離れた位置にあり、かつ前記第1切欠部(33e)の前記金属リング(33)の幅方向長さ(La)は、前記第2切欠部(33f)の前記金属リング(33)の幅方向長さ(Lb)よりも長く設定されることを特徴とする無段変速機用金属ベルト。
  2. 請求項1に記載の無段変速機用金属ベルト(9)の金属リング(33)の製造方法であって、
    前記金属リング(33)の側端縁を押し切りにより切断した後に研磨することで、前記側端縁の突出部(33c)に所定の半径を付与することを特徴とする金属リングの製造方法。
  3. 請求項1に記載の無段変速機用金属ベルト(9)の金属リング(33)の突出部(33c)の半径を算出する金属リングの形状測定方法であって、
    金属リング(33)の側端縁の断面形状を所定間隔を有する複数の測定点の座標として測定する工程と、
    所定の連続する測定点の座標の移動平均を算出する工程と、
    前記移動平均を所定間隔で少なくとも3個選出し、それら少なくとも3個の移動平均から突出部(33c)の半径を算出する工程と、
    を含むことを特徴とする金属リングの形状測定方法。
JP2003434282A 2003-12-26 2003-12-26 無段変速機用金属ベルト、金属リングの製造方法および金属リングの形状測定方法 Expired - Fee Related JP3981069B2 (ja)

Priority Applications (5)

Application Number Priority Date Filing Date Title
JP2003434282A JP3981069B2 (ja) 2003-12-26 2003-12-26 無段変速機用金属ベルト、金属リングの製造方法および金属リングの形状測定方法
CNB2004100946927A CN1306184C (zh) 2003-12-26 2004-11-12 无级变速器用金属带、金属环的制造方法及形状测定方法
EP04029910A EP1548325B1 (en) 2003-12-26 2004-12-16 Continuously variable transmission metal belt, process for producing metal ring.
DE602004025785T DE602004025785D1 (de) 2003-12-26 2004-12-16 Metalltreibriemen für stufenlos regelbares Getriebe,Verfahren zur Herstellung von einem Metallring.
US11/019,385 US7670241B2 (en) 2003-12-26 2004-12-23 Continuously variable transmission metal belt, process for producing metal ring, and process for measuring shape of metal ring

Applications Claiming Priority (1)

Application Number Priority Date Filing Date Title
JP2003434282A JP3981069B2 (ja) 2003-12-26 2003-12-26 無段変速機用金属ベルト、金属リングの製造方法および金属リングの形状測定方法

Publications (2)

Publication Number Publication Date
JP2005188712A JP2005188712A (ja) 2005-07-14
JP3981069B2 true JP3981069B2 (ja) 2007-09-26

Family

ID=34545098

Family Applications (1)

Application Number Title Priority Date Filing Date
JP2003434282A Expired - Fee Related JP3981069B2 (ja) 2003-12-26 2003-12-26 無段変速機用金属ベルト、金属リングの製造方法および金属リングの形状測定方法

Country Status (5)

Country Link
US (1) US7670241B2 (ja)
EP (1) EP1548325B1 (ja)
JP (1) JP3981069B2 (ja)
CN (1) CN1306184C (ja)
DE (1) DE602004025785D1 (ja)

Cited By (1)

* Cited by examiner, † Cited by third party
Publication number Priority date Publication date Assignee Title
US8926404B2 (en) 2010-06-25 2015-01-06 Honda Motor Co., Ltd. Method for manufacturing metal ring of continuously variable transmission metal belt

Families Citing this family (5)

* Cited by examiner, † Cited by third party
Publication number Priority date Publication date Assignee Title
US8190075B2 (en) 2009-09-30 2012-05-29 Canon Kabushiki Kaisha Endless metallic belt, electrophotographic endless belt, fixing assembly, and electrophotographic image forming apparatus
EP2453313B1 (en) * 2009-09-30 2019-08-21 Canon Kabushiki Kaisha Endless metal belt, endless belt for use in electrophotography, fixing device, and electrophotographic image-forming device
JP2015194226A (ja) * 2014-03-31 2015-11-05 本田技研工業株式会社 無段変速機用金属ベルト
AT517952B1 (de) * 2016-02-23 2017-06-15 Berndorf Band Gmbh Verfahren zur Herstellung endloser Metallbänder beliebiger Breite
JP7215887B2 (ja) * 2017-12-07 2023-01-31 株式会社アイシン 伝達ベルトおよび無段変速機

Family Cites Families (10)

* Cited by examiner, † Cited by third party
Publication number Priority date Publication date Assignee Title
JPS6129025A (ja) * 1984-07-20 1986-02-08 東芝テック株式会社 鍵スイツチ装置
NL8403388A (nl) * 1984-11-07 1986-06-02 Gayliene Investments Ltd Eindloze metalen band.
JPS61290257A (ja) * 1985-06-17 1986-12-20 Nissan Motor Co Ltd Vベルト
JP3361835B2 (ja) 1992-06-17 2003-01-07 横河電機株式会社 スイッチング電源
JPH0743119A (ja) 1993-07-27 1995-02-10 Nkk Corp 管体の寸法測定装置
EP0950830B1 (en) * 1998-04-14 2002-06-26 Van Doorne's Transmissie B.V. Metal belt and method for producing such
JP3534033B2 (ja) * 2000-02-29 2004-06-07 日産自動車株式会社 積層式金属ベルト用リングとその製造方法
JP3977023B2 (ja) 2000-03-01 2007-09-19 本田技研工業株式会社 金属ベルト式無段変速機
NL1020809C2 (nl) * 2002-06-07 2003-12-17 Doornes Transmissie Bv Duwband, ringelement, en werkwijze en inrichting voor het elektrochemisch bewerken daarvan.
EP1598146B1 (en) * 2003-02-10 2013-09-18 Honda Motor Co., Ltd. Method and device for polishing endless belt metal rings for continuously variable transmission

Cited By (1)

* Cited by examiner, † Cited by third party
Publication number Priority date Publication date Assignee Title
US8926404B2 (en) 2010-06-25 2015-01-06 Honda Motor Co., Ltd. Method for manufacturing metal ring of continuously variable transmission metal belt

Also Published As

Publication number Publication date
JP2005188712A (ja) 2005-07-14
US7670241B2 (en) 2010-03-02
DE602004025785D1 (de) 2010-04-15
EP1548325B1 (en) 2010-03-03
CN1637315A (zh) 2005-07-13
EP1548325A3 (en) 2005-09-07
EP1548325A2 (en) 2005-06-29
US20050170926A1 (en) 2005-08-04
CN1306184C (zh) 2007-03-21

Similar Documents

Publication Publication Date Title
US20080051235A1 (en) Power transmission chain, method for manufacturing power transmission member of the power transmission chain, and power transmission device
JP6540832B2 (ja) 伝達ベルト
JP3981069B2 (ja) 無段変速機用金属ベルト、金属リングの製造方法および金属リングの形状測定方法
US6612954B2 (en) Belt for continuously variable transmission
JP5031071B2 (ja) 無段変速機用金属ベルトの金属リングの製造方法および無段変速機用金属ベルトの金属リングの形状測定方法
EP1638724A2 (en) Double flank delash gear mechanism
JP2009103293A (ja) 金属vベルト
US20060160657A1 (en) Infinitely variable transmission
JP4678307B2 (ja) Cvtエレメントおよびcvtエレメントの製造方法
WO2017006914A1 (ja) 摩擦プーリ
JP4910982B2 (ja) 動力伝達チェーンの製造方法
JP2014059213A (ja) 動力伝達チェーンの検査治具、検査装置および検査方法
JP5968332B2 (ja) 表面形状を有するフレキシブルな金属リング、及び積層されたフレキシブルな金属リングセットを備える駆動ベルト
JP4474945B2 (ja) トロイダル型無段変速機
JP6276464B2 (ja) ベルト式無段変速機用治具
JP7364719B2 (ja) 無段変速機
JP5494092B2 (ja) 動力伝達チェーンの製造方法
EP1130283B1 (en) Thin metal ring for metal belt type nonstep variable-speed transmission
JP2009204151A (ja) 無端金属ベルトおよびその製造方法
JP2009264509A (ja) 軸継ぎ手およびこれを備えたプーリ
JP4673635B2 (ja) 金属ベルト
JP4302008B2 (ja) シャフト及びハブの動力伝達機構
JP3636713B2 (ja) シャフト及びハブの動力伝達機構
JP2011052803A (ja) 動力伝達チェーン用ピンの製造方法
JP2011112105A (ja) 無段変速装置

Legal Events

Date Code Title Description
A977 Report on retrieval

Free format text: JAPANESE INTERMEDIATE CODE: A971007

Effective date: 20060714

A131 Notification of reasons for refusal

Free format text: JAPANESE INTERMEDIATE CODE: A131

Effective date: 20060726

A521 Written amendment

Free format text: JAPANESE INTERMEDIATE CODE: A523

Effective date: 20060915

A131 Notification of reasons for refusal

Free format text: JAPANESE INTERMEDIATE CODE: A131

Effective date: 20070228

A521 Written amendment

Free format text: JAPANESE INTERMEDIATE CODE: A523

Effective date: 20070420

TRDD Decision of grant or rejection written
A01 Written decision to grant a patent or to grant a registration (utility model)

Free format text: JAPANESE INTERMEDIATE CODE: A01

Effective date: 20070613

A61 First payment of annual fees (during grant procedure)

Free format text: JAPANESE INTERMEDIATE CODE: A61

Effective date: 20070628

R150 Certificate of patent or registration of utility model

Ref document number: 3981069

Country of ref document: JP

Free format text: JAPANESE INTERMEDIATE CODE: R150

Free format text: JAPANESE INTERMEDIATE CODE: R150

FPAY Renewal fee payment (event date is renewal date of database)

Free format text: PAYMENT UNTIL: 20100706

Year of fee payment: 3

FPAY Renewal fee payment (event date is renewal date of database)

Free format text: PAYMENT UNTIL: 20100706

Year of fee payment: 3

FPAY Renewal fee payment (event date is renewal date of database)

Free format text: PAYMENT UNTIL: 20110706

Year of fee payment: 4

FPAY Renewal fee payment (event date is renewal date of database)

Free format text: PAYMENT UNTIL: 20110706

Year of fee payment: 4

FPAY Renewal fee payment (event date is renewal date of database)

Free format text: PAYMENT UNTIL: 20120706

Year of fee payment: 5

FPAY Renewal fee payment (event date is renewal date of database)

Free format text: PAYMENT UNTIL: 20120706

Year of fee payment: 5

FPAY Renewal fee payment (event date is renewal date of database)

Free format text: PAYMENT UNTIL: 20130706

Year of fee payment: 6

FPAY Renewal fee payment (event date is renewal date of database)

Free format text: PAYMENT UNTIL: 20140706

Year of fee payment: 7

LAPS Cancellation because of no payment of annual fees