JP3965568B2 - 靴中底及び靴中敷の製造方法、及び足型 - Google Patents
靴中底及び靴中敷の製造方法、及び足型 Download PDFInfo
- Publication number
- JP3965568B2 JP3965568B2 JP2002210796A JP2002210796A JP3965568B2 JP 3965568 B2 JP3965568 B2 JP 3965568B2 JP 2002210796 A JP2002210796 A JP 2002210796A JP 2002210796 A JP2002210796 A JP 2002210796A JP 3965568 B2 JP3965568 B2 JP 3965568B2
- Authority
- JP
- Japan
- Prior art keywords
- shoe insole
- elastic plate
- insole
- foot
- mold
- Prior art date
- Legal status (The legal status is an assumption and is not a legal conclusion. Google has not performed a legal analysis and makes no representation as to the accuracy of the status listed.)
- Expired - Fee Related
Links
- 238000004519 manufacturing process Methods 0.000 title claims description 27
- 239000000463 material Substances 0.000 claims description 39
- 238000003825 pressing Methods 0.000 claims description 9
- 238000005520 cutting process Methods 0.000 claims description 7
- 238000000465 moulding Methods 0.000 description 7
- 229920001875 Ebonite Polymers 0.000 description 6
- 238000006116 polymerization reaction Methods 0.000 description 6
- 229910052751 metal Inorganic materials 0.000 description 5
- 239000002184 metal Substances 0.000 description 5
- 239000000047 product Substances 0.000 description 5
- 239000005038 ethylene vinyl acetate Substances 0.000 description 3
- 238000000034 method Methods 0.000 description 3
- 229920001200 poly(ethylene-vinyl acetate) Polymers 0.000 description 3
- 230000015572 biosynthetic process Effects 0.000 description 2
- 238000010586 diagram Methods 0.000 description 2
- 238000001746 injection moulding Methods 0.000 description 2
- 230000002093 peripheral effect Effects 0.000 description 2
- JOYRKODLDBILNP-UHFFFAOYSA-N Ethyl urethane Chemical compound CCOC(N)=O JOYRKODLDBILNP-UHFFFAOYSA-N 0.000 description 1
- 229910052782 aluminium Inorganic materials 0.000 description 1
- XAGFODPZIPBFFR-UHFFFAOYSA-N aluminium Chemical compound [Al] XAGFODPZIPBFFR-UHFFFAOYSA-N 0.000 description 1
- 239000000470 constituent Substances 0.000 description 1
- 238000001816 cooling Methods 0.000 description 1
- 230000007547 defect Effects 0.000 description 1
- 230000000694 effects Effects 0.000 description 1
- 229920001971 elastomer Polymers 0.000 description 1
- 239000006260 foam Substances 0.000 description 1
- 239000000203 mixture Substances 0.000 description 1
- 229920002635 polyurethane Polymers 0.000 description 1
- 239000004814 polyurethane Substances 0.000 description 1
- 229920005989 resin Polymers 0.000 description 1
- 239000011347 resin Substances 0.000 description 1
- 239000011265 semifinished product Substances 0.000 description 1
Images
Landscapes
- Footwear And Its Accessory, Manufacturing Method And Apparatuses (AREA)
Description
【発明が属する技術分野】
本発明は、靴中敷及び靴中底(以下、端に靴中底等という。)の製造方法、及び該製造方法において使用される成形足型に関するものである。
【0002】
【従来の技術】
従来より、靴中底等を製造するには、アルミ等の金属製金型を使用した熱プレス成形手段(以下、先行技術1という。)を用いたり、或いは、モールド等の成形用型により形成されたキャビティ内にポリウレタン等の溶融樹脂を射出する所謂射出成形等の手段(以下、先行技術2という。)が一般的に行われている。
【0003】
しかしながら、これら先行技術1及び先行技術2に係る成形手段は、いずれも高温条件が必要であることから、作業安全性にも問題が生じやすく、また、設備稼動コストも上昇することとなる。
【0004】
更に、靴中底自体の単価が非常に安価で利益率が低いことと、金型製作費用が非常に高価であり、且つ当該靴中底のサイズに併せて、夫々複数個の金型を要する場合も多いことから、当該金型製作費用は企業の利益を大きく圧迫することとなり、使用できなかったり、また使用する場合にも十分な利益を得ることが困難な場合も多かった。
【0005】
また、先行技術1のような熱プレス成形手段を使用する場合、靴中底の生産量は通常の規模の製造装置で1日当たり150足分程度のものであり、生産効率を改善する必要があった。
【0006】
これに加えて、熱プレス成形の場合には、製品として得られる靴中底等の起伏部分にはプレスによる応力が集中し、当該起伏部分の密度が高くなり、これに伴って硬度も高くなることから、当該靴中底等を使用した靴を履いた場合に、起伏部分が固く、足裏に対するフィット感を得られず、違和感や痛みを生じたり、歩行時には、足の疲れを招来する原因となっていた。
【0007】
【発明が解決しようとする課題】
本発明は以上の事情に鑑みてなされたものであり、作業安全性を確保でき、設備稼動コストを含めた生産コストを大幅に低減することができ、更には、生産効率が高く、また、足裏の痛み等を生じないでフィット感に優れた靴中敷及び靴中底を得ることができる、当該靴中敷及び靴中底の製造方法、及び該製造方法に使用する成形型を提供することを課題とするものである。
【0008】
【課題を解決するための手段】
硬度30乃至80の反発弾性を有する弾性板材と、可撓性を有し、且つ、前記弾性板材との当接面に凹部又は凸部を形成した足型とを重合し、平行して上下に配置される加圧ローラーによって、当該重合した弾性板材及び足型を挟み込み、順次送り込み加圧し、前記弾性板材の被加圧部位をローラー軸方向と平行に、帯状刃で、足型に当接する側の切断片と、外側となる切断片とに、切断することにより、当該上下二枚の切断片に分断された弾性板材のうち前記足型に当接する側となる切断片を靴中敷若しくは靴中底として得ることを特徴とする靴中底若しくは靴中敷の製造方法を、課題を解決するための手段とするものである。
【0009】
また、本発明は、上記製造方法を行うに適した、靴中底(20)又は靴中敷の材料となる弾性板材(2)を、上下に配置した加圧ローラー(31)(32)によるプレスで、弾性板材(2)の一部を一時的に変形させるための足型(1)であって、可撓性を有し、且つ、靴中底(20)又は靴中敷との当接面(12)には、プレス時の靴中底(20)又は靴中敷を変形させるための凹部(13)を形成するとともに、該凹部(13)内に開口する貫通孔(11)を設けたことを特徴とする足型を基本とするものである。
【0010】
【発明の効果】
本発明によれば、反発弾性を有する弾性板材と、可撓性を有し、且つ、前記弾性板材との当接面に凹部又は凸部を形成した足型とを重合し、平行して上下に配置される加圧ローラーによって、当該重合した弾性板材及び足型を挟み込み、順次送り込み加圧し、前記弾性板材の被加圧部位をローラー軸方向と平行に、帯状刃で切断する構成としたことによって、熱源を必要とせず、従って、作業安全性を確保する事ができる。
【0011】
また、同構成によって、安価な板状の足型を製作して、加圧ローラー間に通し、弾性板材を切断するのみよいので、高価な成型用金型を製作する必要もなく、極めて安価に、靴中底若しくは靴中敷を得ることができる。
【0012】
更に、熱プレス成形や射出成形と異なり、成形後に冷却等の時間や手段を何ら必要とせず、切断により製品を得た後、直ちに靴内への取付け、若しくは製品としての検査梱包等を可能とする事ができ、また、弾性板材と足型を重合して、加圧ローラーを通すのみで極めて簡単に成形できることから、円滑な供給が可能であるとともに、単位時間当たりの生産量を飛躍的に増加させ、生産効率を高めることができる。
【0013】
これに加え、本発明に係る製造方法によって、靴中底及び靴中敷は材料の密度と製品の密度に差を生じず、起伏部分についても同一の密度、同一の特性を具備したものとなることから、当該起伏が固くなることもなく、足裏に違和感や痛みを生じ難く、足の疲れを招来し難いフィット感に優れた靴中底若しくは靴中敷を得ることができる。
【0014】
また、足型(1)より長さ及び幅寸法の大きい足輪郭形状の弾性板材と、可撓性を有し、且つ、前記弾性板材との当接面に凹部を形成した足型とを、夫々の中央が略一致するように重合した場合には、周縁部を反り上がった起伏形状とすることができ、靴中敷若しくは靴中底として、フィット感のよい好適な形状とする事ができる。
【0015】
【発明の実施の形態及び実施例】
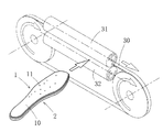
図1は本発明の実施例に係る足型(1)の外面(10)側を示す平面図、図2は同実施例に係る足型(1)の当接面(12)側を示す底面図、図3は図1におけるA−A断面図、図4は足型(1)と弾性板材(2)との重合状態を示す斜視図、図5は本発明の実施例に係る製造方法の主要な構成を示す概略説明斜視図、図6は足型(1)と弾性板材(2)との重合状態を示す一部拡大断面図、図7は足型(1)と弾性板材(2)とのプレス状態を示す一部拡大断面図、図8はプレス状態から通常状態における起伏部への復帰の状態を示す拡大説明断面図、図9は本発明の実施例に係る製造方法によって製造された靴中底(20)の平面図、図10は図9におけるB−B断面図、図11は本発明に係る製造方法によって製造され、起伏による模様を形成した靴中敷を示す平面図、図12は本発明の他の実施例に係るプレス状態から通常状態における窪み部の形成の状態を示す拡大説明断面図である。
【0016】
本発明の実施例に係る靴中底(20)の製造方法は、図1乃至図3に示すように、後記弾性板材(2)との当接面(12)に凹部(13)を形成した硬質の足型(1)と、該足型(1)と外周輪郭が略相似形で、且つ、当該足型(1)より長さ及び幅寸法の大きい弾性板材(2)とを、図4に示すように、双方の中央部を略一致させて、凹部(13)を有する当接面(12)側を下にして弾性板材(2)に当接するように重合して、図5に示すように、金属製の加圧ローラー(31)を上側、硬質ゴム製の加圧ローラー(32)を下側として、平行に上下に配置した二本の加圧ローラー(31)(32)間の隙間に順次送り込み加圧するとともに、加圧状態での弾性板材(2)を、前記加圧ローラー(31)(32)の軸方向と平行に、帯状刃(30)で切断し、分断された上下二枚の切断片(イ)(ロ)のうち、足型(1)に当接する側の切断片(イ)を靴中底(20)若しくは靴中敷として得るものである。以下、詳細に説明する。
【0017】
先ず、本発明の実施例に使用する足型(1)は、厚さ6mm程度、硬度95程度の硬質ゴム板からなり、図2に示すように、弾性板材(2)と当接する当接面(12)側に、足裏の形状に適合しやすい多様な凹部(13)を形成し、各凹部(13)の中央には、図1の外面(10)及び図3のA−A断面図にも示すように、貫通孔(11)が形成されている。当該足型(1)は、一般向けに量販される硬質ゴム板を利用して容易に製作することができ、非常に安価なものとすることができるものである。
【0018】
また、当該実施例に係る弾性板材(2)は、図4の斜視図中に示すように、EVA(エチレン酢酸ビニル共重合体)を使用しており、予め厚さ6mm程度、幅、長さは前記足型(1)より20mm程度ずつ長い寸法を有する足裏輪郭形状となっている。このように、足型(1)よりも幅、長さを大きくしたのは、足型(1)と重合した状態において、当該足型(1)の周囲に弾性板材(2)の周縁部(22)がはみ出すこととなり、該はみ出した部分が、最終的に靴中底(20)若しくは靴中敷の周縁部(22)の反り上がった起伏形状となり、靴中底(20)若しくは靴中敷の形状として好適となるためである。
【0019】
次に、図5に示すように、スイッチを入れることによって相互に正逆回転方向に軸動する、平行した二本の加圧ローラー(31)(32)間に、足型(1)と、当該足型(1)より長さ及び幅寸法の大きい弾性板材(2)とを、双方の中央部を略一致させて重合し、当該足型(1)を上側として送り込む。ここで、本実施例においては、二本の加圧ローラー(31)(32)は、上側に金属製の加圧ローラー(31)、下側に硬質ゴム製の加圧ローラー(32)は硬質ゴム製を相互に平行として配置することにより、金属の加圧ローラー(31)で十分な加圧を行うとともに、硬質ゴムの加圧ローラー(32)の摩擦抵抗により、円滑に加圧対象物である足型(1)及び弾性板材(2)を送り出すことができる。尚、本発明においては、前記二本の加圧ローラー(31)(32)の材質は実施例のものに限られず、例えば、加圧ローラー(31)(32)の二本とも、硬質ゴム製又は金属製とすることもでき、押圧力、摩擦抵抗を、二本の加圧ローラー(31)(32)間の最短距離や、当該加圧ローラー(31)(32)の具体的な材質の選択により、調整する事ができる。
【0020】
図6に示すように、足型(1)及び弾性板材(2)を重合した状態においては、足型(1)の凹部(13)によって空間(14)が形成されているが、上下の加圧ローラー(31)(32)によって挟みこまれることによって、図7に示すように、弾性板材(2)が凹部(13)によって形成された空間(14)に進入する。また、これに併せて、凹部(13)に開口する貫通孔(11)を形成したことによって、凹部(13)によって形成された空間(14)内の空気は貫通孔(11)から外部へ逃げることから、当該弾性板材(2)の進入の妨げとなることを回避することができる。
【0021】
そして、図7に示すように、加圧ローラー(31)(32)間の最短距離線上には、前記弾性板材(2)を上下に分断するための帯状刃(30)が配置されており、加圧ローラー(31)(32)の回転によって、送り込まれる弾性板材(2)に対して、当該帯状刃(30)が、図5に示すように加圧ローラー(31)(32)の軸方向と平行に移動し、当該弾性板材(2)を足型に当接する側の切断片(イ)と、外側となる切断片(ロ)とに、切断する。
【0022】
このうち上側に位置する、切断された足型(1)に当接する側の切断片(イ)、即ち、製品若しくは半製品として得られる靴中底(20)若しくは靴中敷は、図7と対照すると、切断中には図8上図のように凹部(13)の空間(14)に嵌り込んだ状態であるが、切断後は、弾性板材(2)の復元力によって、すぐに変形して、図8下図のように下面側に起伏が形成される。この際に形成された起伏が、図9及び図10に示す当該靴中底(20)若しくは靴中敷における起伏となる。
【0023】
また、図11に示すように、靴中底又は靴中敷の表面に形成する起伏(21)によって、種々の模様を現すことができ、これによって、当該靴中底又は靴中敷の意匠を向上させることができる。
【0024】
本発明に係る靴中底(20)の製造方法を可能とする装置としては、当該構成を基本として新たに靴中敷、靴中底(20)の製造装置として製造することができるが、本実施例においては、上記の構成を有する既存の靴皮革の漉き機を利用することによって行うことができる。
【0025】
尚、本発明における弾性板材(2)の硬度は、実施例においては70のものを使用したが、本発明は上記硬度のみに限られるものではなく、30乃至80程度の硬度においても良好に使用する事ができる。また、弾性板材(2)の構成材料は、反発弾性(プレス後の復元力)を有するものであればよい。そして、当該反発弾性力が大きいほど、起伏(21)はより明瞭となるので好ましい。具体的な材質については、特に限定しないが、実施例に開示したEVAの他、例えばウレタンフォーム等が好適である。
【0026】
また、本発明における足型は、実施例においては硬度95のものを使用したが、本発明は上記硬度のみに限られず、90乃至95で最も好適に使用できる。また、この範囲以外であっても、プレス時において、足型自体がプレス圧に負けて凹部によって形成される空間内に当該凹部の縁が落込み、起伏(21)が明瞭に形成できない等の不具合が生じない程度の硬度があればよいとする趣旨である。
【0027】
更に、本実施例においては、足型(1)と、該足型(1)と外周輪郭が略相似形で、且つ、当該足型(1)より長さ及び幅寸法の大きい弾性板材(2)とによるものであるが、本発明はこれに限定されるものではなく、足型(1)と弾性板材(2)は、外形輪郭が同一のものでもよい。即ち、例えば、製品となる靴中底若しくは靴中敷の周縁部(22)を反り上がった起伏形状としない場合に、足型(1)と弾性板材(2)は、外形輪郭が同一のものとすることができる。
【0028】
尚、上記実施例においては、切断された足型(1)に当接する側の切断片(イ)については、勿論靴中底若しくは靴中敷として得るものであるが、切断片(ロ)についても、靴中底若しくは靴中敷として使用することができる。
【0029】
また、上記実施例において、弾性部材(2)は、予め足輪郭形状とした後加圧していたが、本発明はこれに限られるものではなく、一般的な取引形態である平板形状等のものを使用して加圧することもできる。
【0030】
これに加えて、本発明の足型(1)の当接面(12)には、図12に他の実施例として示すように、前記凹部(13)に代えて、凸部(15)を形成することができる。この場合には、弾性部材(2)における前記凸部(15)との当接位置の裏面には、加圧後、窪み(23)が形成されることとなる。
【図面の簡単な説明】
【図1】本発明の実施例に係る足型の外面側を示す平面図である。
【図2】本発明の実施例に係る足型の当接面側を示す底面図である。
【図3】図1におけるA−A断面図である。
【図4】本発明の実施例に係る足型と弾性板材との重合状態を示す斜視図である。
【図5】本発明の実施例に係る製造方法の主要な構成を示す概略説明斜視図である。
【図6】本発明の足型と弾性板材との重合状態を示す一部拡大断面図である。
【図7】本発明の足型と弾性板材とのプレス状態を示す一部拡大断面図である。
【図8】プレス状態から通常状態における起伏部への復帰の状態を示す拡大説明断面図である。
【図9】本発明の実施例に係る製造方法によって製造された靴中底の平面図である。
【図10】図9におけるB−B断面図である。
【図11】本発明に係る製造方法によって製造され、起伏による模様を形成した靴中敷を示す平面図である。
【図12】本発明の他の実施例に係るプレス状態から通常状態における窪み部の形成の状態を示す拡大説明断面図である。
【符号の説明】
(1) 足型
(10) 外面
(11) 貫通孔
(12) 当接面
(13) 凹部
(14) 空間
(15) 凸部
(2) 弾性板材
(20) 靴中底(靴中敷)
(21) 起伏
(22) 周縁部
(23) 窪み
(30) 帯状刃
(31) 加圧ローラー
(32) 加圧ローラー
(イ) 切断片
(ロ) 切断片
Claims (7)
- 硬度30乃至80の反発弾性を有する弾性板材(2)と、可撓性を有し、且つ、前記弾性板材(2)との当接面(12)に凹部(13)又は凸部(15)を形成した足型(1)とを重合し、
平行して上下に配置される加圧ローラー(31)(32)によって、当該重合した弾性板材(2)及び足型(1)を挟み込み、順次送り込み加圧し、前記弾性板材(2)の被加圧部位をローラー軸方向と平行に、帯状刃(30)で、足型に当接する側の切断片(イ)と、外側となる切断片(ロ)とに、切断することにより、
上下二枚の切断片(イ)(ロ)に分断された弾性板材(2)のうち前記足型(1)に当接する側となる切断片(イ)を靴中敷若しくは靴中底(20)とすることを特徴とする靴中底若しくは靴中敷の製造方法。 - 弾性板材(2)は、足輪郭形状としたことを特徴とする請求項1記載の靴中底若しくは靴中敷の製造方法。
- 硬度30乃至80の反発弾性を有し、後記足型(1)より長さ及び幅寸法の大きい足輪郭形状の弾性板材(2)と、可撓性を有し、且つ、前記弾性板材(2)との当接面(12)に凹部(13)又は凸部(15)を形成した足型(1)とを、夫々の中央が略一致するように重合し、
平行して上下に配置される加圧ローラー(31)(32)によって、当該重合した弾性板材(2)及び足型(1)を挟み込み、順次送り込み加圧し、前記弾性板材(2)の被加圧部位をローラー軸方向と平行に、帯状刃(30)で、足型に当接する側の切断片(イ)と、外側となる切断片(ロ)とに、切断することにより、
上下二枚の切断片(イ)(ロ)に分断された弾性板材(2)のうち前記足型(1)に当接する側となる切断片(イ)を靴中敷若しくは靴中底(20)とすることを特徴とする靴中底若しくは靴中敷の製造方法。 - 硬度30乃至80の反発弾性を有し、後記足型(1)より長さ及び幅寸法の大きい足輪郭形状の弾性板材(2)と、可撓性を有し、且つ、前記弾性板材(2)との当接面(12)に凹部(13)を形成した足型(1)とを、夫々の中央が略一致するように重合し、
平行して上下に配置される加圧ローラー(31)(32)によって、当該重合した弾性板材(2)及び足型(1)を挟み込み、順次送り込み加圧し、前記弾性板材(2)の被加圧部位をローラー軸方向と平行に、帯状刃(30)で、足型に当接する側の切断片(イ)と、外側となる切断片(ロ)とに、切断することにより、
上下二枚の切断片(イ)(ロ)の双方を、靴中敷若しくは靴中底(20)とすることを特徴とする靴中底若しくは靴中敷の製造方法。 - 凹部(13)内に開口する貫通孔(11)を設けたことを特徴とする請求項1、2、3又は4記載の靴中底若しくは靴中敷の製造方法。
- 靴中底(20)又は靴中敷の材料となる弾性板材(2)を、上下に配置した加圧ローラー(31)(32)によるプレスで、弾性部材(2)の一部を一時的に変形させるための足型(1)であって、可撓性を有し、且つ、靴中底(20)又は靴中敷との当接面(12)には、プレス時の靴中底(20)又は靴中敷を変形させるための凹部(13)を形成するとともに、該凹部(13)内に開口する貫通孔(11)を設けたことを特徴とする足型。
- 靴中底(20)又は靴中敷の材料となる弾性板材(2)を、上下に配置した加圧ローラー(31)(32)によるプレスで、弾性板材(2)の一部を一時的に変形させるための足型(1)であって、可撓性を有し、且つ、靴中底(20)又は靴中敷との当接面(12)には、プレス時の靴中底(20)又は靴中敷を変形させるための凸部(15)を形成したことを特徴とする足型。
Priority Applications (1)
| Application Number | Priority Date | Filing Date | Title |
|---|---|---|---|
| JP2002210796A JP3965568B2 (ja) | 2002-07-19 | 2002-07-19 | 靴中底及び靴中敷の製造方法、及び足型 |
Applications Claiming Priority (1)
| Application Number | Priority Date | Filing Date | Title |
|---|---|---|---|
| JP2002210796A JP3965568B2 (ja) | 2002-07-19 | 2002-07-19 | 靴中底及び靴中敷の製造方法、及び足型 |
Publications (2)
| Publication Number | Publication Date |
|---|---|
| JP2004049526A JP2004049526A (ja) | 2004-02-19 |
| JP3965568B2 true JP3965568B2 (ja) | 2007-08-29 |
Family
ID=31934206
Family Applications (1)
| Application Number | Title | Priority Date | Filing Date |
|---|---|---|---|
| JP2002210796A Expired - Fee Related JP3965568B2 (ja) | 2002-07-19 | 2002-07-19 | 靴中底及び靴中敷の製造方法、及び足型 |
Country Status (1)
| Country | Link |
|---|---|
| JP (1) | JP3965568B2 (ja) |
Cited By (1)
| Publication number | Priority date | Publication date | Assignee | Title |
|---|---|---|---|---|
| CN104188274A (zh) * | 2014-08-31 | 2014-12-10 | 成都卡美多鞋业投资有限公司 | 基于对空腰式凉鞋内底的斜剖刻穿方法 |
Families Citing this family (2)
| Publication number | Priority date | Publication date | Assignee | Title |
|---|---|---|---|---|
| JP4500067B2 (ja) * | 2004-02-26 | 2010-07-14 | アキレス株式会社 | ホールド性の高い中敷及びその製造方法。 |
| CN101433391B (zh) * | 2007-11-13 | 2010-07-21 | 刘坤钟 | 鞋垫的制造方法 |
-
2002
- 2002-07-19 JP JP2002210796A patent/JP3965568B2/ja not_active Expired - Fee Related
Cited By (1)
| Publication number | Priority date | Publication date | Assignee | Title |
|---|---|---|---|---|
| CN104188274A (zh) * | 2014-08-31 | 2014-12-10 | 成都卡美多鞋业投资有限公司 | 基于对空腰式凉鞋内底的斜剖刻穿方法 |
Also Published As
| Publication number | Publication date |
|---|---|
| JP2004049526A (ja) | 2004-02-19 |
Similar Documents
| Publication | Publication Date | Title |
|---|---|---|
| JP6125623B2 (ja) | 一体化クリート部材を備えるソール構造および製造方法 | |
| JP4906153B2 (ja) | スポーツ用シューズのミッドソール構造 | |
| JP3965568B2 (ja) | 靴中底及び靴中敷の製造方法、及び足型 | |
| CN104023580B (zh) | 鞋底制造模具 | |
| CN101279567A (zh) | 一种皮雕工艺 | |
| CN220883098U (zh) | 护士鞋鞋垫压合模具 | |
| CN101711612A (zh) | 大量生产功能性鞋内填充物的方法以及用所述方法生产的多功能鞋内填充物 | |
| CN204292338U (zh) | 凹凸鞋面结构 | |
| CN219667233U (zh) | 一种鞋垫的热压模具及热压装置 | |
| CN1736285B (zh) | 双硬度eva发泡鞋底之制造方法 | |
| US11849779B2 (en) | Method of manufacturing a flexible, impact-resistant pad | |
| JP4913263B2 (ja) | 中敷き及び中敷きの作成方法 | |
| JP4831774B2 (ja) | プラスチック材を柔軟な布の上で成型する製造方法 | |
| AU750421B2 (en) | Method of making a shoe having a foamed insole | |
| US20120304490A1 (en) | Orthotic insert and method of making the same | |
| JP4484203B2 (ja) | 靴底の製造方法 | |
| JPS6122484Y2 (ja) | ||
| CN117227069A (zh) | 护士鞋鞋垫压合模具 | |
| CN205795037U (zh) | 复合式鞋垫 | |
| CN112704301B (zh) | 一种鞋材凹槽辊切快速成型方法及其成型装置 | |
| JPH077511U (ja) | 月型芯 | |
| CN117102352A (zh) | 杆头图样成型方法 | |
| EP0953437A1 (en) | Integral EVA insole with peripheral ornamental strip and manufacturing process thereof | |
| CN211431286U (zh) | 一种鞋子压底工装 | |
| CN119791364A (zh) | 一种内置鞋拔的鞋子及其制造方法 |
Legal Events
| Date | Code | Title | Description |
|---|---|---|---|
| A621 | Written request for application examination |
Free format text: JAPANESE INTERMEDIATE CODE: A621 Effective date: 20040421 |
|
| A977 | Report on retrieval |
Free format text: JAPANESE INTERMEDIATE CODE: A971007 Effective date: 20061130 |
|
| TRDD | Decision of grant or rejection written | ||
| A01 | Written decision to grant a patent or to grant a registration (utility model) |
Free format text: JAPANESE INTERMEDIATE CODE: A01 Effective date: 20070508 |
|
| A61 | First payment of annual fees (during grant procedure) |
Free format text: JAPANESE INTERMEDIATE CODE: A61 Effective date: 20070515 |
|
| R150 | Certificate of patent or registration of utility model |
Free format text: JAPANESE INTERMEDIATE CODE: R150 |
|
| FPAY | Renewal fee payment (event date is renewal date of database) |
Free format text: PAYMENT UNTIL: 20100608 Year of fee payment: 3 |
|
| FPAY | Renewal fee payment (event date is renewal date of database) |
Free format text: PAYMENT UNTIL: 20110608 Year of fee payment: 4 |
|
| FPAY | Renewal fee payment (event date is renewal date of database) |
Free format text: PAYMENT UNTIL: 20110608 Year of fee payment: 4 |
|
| FPAY | Renewal fee payment (event date is renewal date of database) |
Free format text: PAYMENT UNTIL: 20120608 Year of fee payment: 5 |
|
| FPAY | Renewal fee payment (event date is renewal date of database) |
Free format text: PAYMENT UNTIL: 20130608 Year of fee payment: 6 |
|
| R250 | Receipt of annual fees |
Free format text: JAPANESE INTERMEDIATE CODE: R250 |
|
| R250 | Receipt of annual fees |
Free format text: JAPANESE INTERMEDIATE CODE: R250 |
|
| LAPS | Cancellation because of no payment of annual fees |