JP3961908B2 - 免震装置 - Google Patents

免震装置 Download PDF

Info

Publication number
JP3961908B2
JP3961908B2 JP2002247021A JP2002247021A JP3961908B2 JP 3961908 B2 JP3961908 B2 JP 3961908B2 JP 2002247021 A JP2002247021 A JP 2002247021A JP 2002247021 A JP2002247021 A JP 2002247021A JP 3961908 B2 JP3961908 B2 JP 3961908B2
Authority
JP
Japan
Prior art keywords
support
seismic isolation
intermediate support
isolation device
lower support
Prior art date
Legal status (The legal status is an assumption and is not a legal conclusion. Google has not performed a legal analysis and makes no representation as to the accuracy of the status listed.)
Expired - Fee Related
Application number
JP2002247021A
Other languages
English (en)
Other versions
JP2004084313A (ja
Inventor
健一 川口
憲昭 松本
嘉之 江良
啓一 阿部
純一郎 阿部
徹 古川
朝康 田口
Current Assignee (The listed assignees may be inaccurate. Google has not performed a legal analysis and makes no representation or warranty as to the accuracy of the list.)
Individual
Original Assignee
Individual
Priority date (The priority date is an assumption and is not a legal conclusion. Google has not performed a legal analysis and makes no representation as to the accuracy of the date listed.)
Filing date
Publication date
Application filed by Individual filed Critical Individual
Priority to JP2002247021A priority Critical patent/JP3961908B2/ja
Publication of JP2004084313A publication Critical patent/JP2004084313A/ja
Application granted granted Critical
Publication of JP3961908B2 publication Critical patent/JP3961908B2/ja
Anticipated expiration legal-status Critical
Expired - Fee Related legal-status Critical Current

Links

Images

Landscapes

  • Buildings Adapted To Withstand Abnormal External Influences (AREA)
  • Vibration Prevention Devices (AREA)

Description

【0001】
【発明の属する技術分野】
本発明は、建物の躯体側と基礎コンクリート等の地盤側と間を絶縁して、地震等の外力から建物を保護する免震装置に関する。
【0002】
【従来の技術】
建物の免震装置に関しては、従来から種々の形式のものが知られている。例えば、積層ゴムを使用する形式のもの、転がり支承を使用する形式のもの、滑り支承を使用する形式のものなど、種々の形式のものが知られている(特許庁編特許マップシリーズ「耐震・免震・制震構造、装置」平成12年7月25日社団法人発明協会発行)。ところで、免震装置には対応できる水平方向の変位の範囲、すなわち当該免震装置として許容される動作範囲が存在し、この動作範囲を大きくとるには装置の規模を大きくする必要があり、設置コストが割高になったり設置スペースが大きくとられるといった問題がある。前記従来技術における種々の形式の免震装置においても、この点に関する的確な解決は得られていない。
【0003】
【発明が解決しようとする課題】
本発明は、以上のような従来技術の状況に鑑みて開発したものであり、装置の大きさの割に動作範囲を大きくとることができ、大きな振幅に対する絶縁機能を有するとともに、その絶縁機能に加えて、元の設置状態に戻る機能(復帰機能)や地震作用が所定値を超えた場合に動作を開始する機能(トリガ機能)を付加したり、動作範囲を規制したりするなどの設定の自由度も大きい免震装置を提供することを目的とする。
【0004】
【課題を解決するための手段】
前記課題を解決するため、請求項1の発明では、少なくとも躯体側又は地盤側に対していずれの方向にも傾斜し得るように回動自在に支持された支軸に遊嵌することにより、躯体側の特定点と地盤側の特定点とを結ぶ軸線上に変位する前記支軸に対して相対移動可能に設けられた盤状部を有する中間支持体と、該中間支持体と躯体側との間に配設された上部支持体と、前記中間支持体と地盤側との間に配設された下部支持体とを備え、それらの上部支持体及び下部支持体の少なくとも一方を前記中間支持体の盤状部に形成した支持面に相対移動可能に接触させるという技術手段を採用した。本発明によれば、免震装置としての大きさの割に躯体側と地盤側との大きな相対的変位に対応できる点で特徴を有する。すなわち、装置の規模の割に大きな相対的変位に対して絶縁機能を発揮することが可能である。
【0005】
請求項2の発明では、少なくとも躯体側又は地盤側に対していずれの方向にも傾斜し得るように回動自在に支持された支軸に遊嵌することにより、躯体側の特定点と地盤側の特定点とを結ぶ軸線上に変位する前記支軸に対して相対移動可能に設けられた筒状部を有する中間支持体と、該中間支持体と躯体側との間に配設された上部支持体と、前記中間支持体と地盤側との間に配設された下部支持体とを備え、それらの上部支持体及び下部支持体の少なくとも一方に形成した支持面に前記中間支持体の筒状部を相対移動可能に接触させるという技術手段を採用した。本発明は、相対移動可能に支持する支持面を、請求項1の発明では中間支持体側に形成したのに対して、上部支持体ないし下部支持体側に形成した点で特徴を有するものであり、請求項1の発明と基本的に同様の機能を奏する。
【0006】
請求項3の発明では、前記中間支持体を、躯体側に回動自在に支持された上部支軸及び地盤側に回動自在に支持された下部支軸に対して、それらの軸線に沿って相対移動し得るように遊嵌するようにした。また、請求項4の発明では、前記中間支持体に地盤側に回動自在に支持された支軸を貫通させ、中間支持体を支軸の軸線に沿って相対移動可能に遊嵌するとともに、前記支軸の他側を躯体側に配設した自在支持部を貫通させて回動自在に支持するようにした。すなわち、請求項3の発明では、上部支軸と下部支軸の上下に分れた支軸を用いて中間支持体を相対移動可能に遊嵌したのに対して、請求項4の発明では、1本の長尺の支軸を用いた点で相違している。なお、前記中間支持体と前記支軸との間は、例えばキー結合やスプライン結合あるいは断面矩形状の支軸及び遊嵌孔の採用等により、支軸の軸線方向にのみ相対移動可能に遊嵌し、相対回転運動は阻止するように構成してもよい(請求項5)。
【0007】
請求項6の発明では、請求項1の発明に関して、前記上部支持体を前記中間支持体の盤状部の上部支持面に対して相対移動可能に接触させるとともに、前記下部支持体を前記中間支持体の盤状部の下部支持面に対して相対移動可能に接触させるという技術手段を採用した。また、請求項7の発明では、前記上部支持体が相対移動可能に接触する前記中間支持体の盤状部の上部支持面及び/又は前記下部支持体が相対移動可能に接触する前記中間支持体の盤状部の下部支持面の縦断面形状として、その盤状部の中央部から放射方向に凹状の曲面を採用した。
【0008】
請求項8の発明では、前記躯体側の特定点と地盤側の特定点との間の水平方向の相対移動距離に関係なく、前記上部支持体と前記中間支持体側との接触部と、前記下部支持体と前記中間支持体側との接触部との間の上下方向の間隔が常に一定になるように設定した。本発明は、復帰手段が別途設置される場合に好適な復帰機能を有しない形式の免震装置に関する。請求項9の発明では、前記躯体側の特定点と地盤側の特定点との間の水平方向の相対移動距離が大きくなるにつれて、前記上部支持体と前記中間支持体側との接触部と、前記下部支持体と前記中間支持体側との接触部との間の上下方向の間隔が大きくなるように設定した。本発明によれば、水平方向の相対移動距離に応じて躯体側が上昇して位置のエネルギが増加することから、位置のエネルギが減少する相対的変位の小さい方向へ復帰する復帰機能の付加が可能である。
【0009】
請求項10の発明では、前記躯体側の特定点と地盤側の特定点との間に水平方向のズレのない状態において、前記上部支持体及び/又は下部支持体と前記中間支持体が円周上で接触するように構成した。本発明によれば、前記躯体側の特定点と地盤側の特定点との間に水平方向のズレのない状態において、前記上部支持体及び/又は下部支持体と前記中間支持体が円周上で線接触して安定した状態にあることから、前記躯体側の特定点と地盤側の特定点との間の水平方向の相対移動の開始を地震が所定規模以上の場合に抑制するトリガ機能の付加が可能である。すなわち、ここでは少なくとも円周上の線接触による摩擦作用に基づく安定性を活用して、小規模の地震に対しては、水平動作を開始しないように構成した。請求項11の発明では、前記中間支持体の前記上部支持体及び/又は下部支持体との接触部に、それらの間の相対移動の範囲を規制する動作規制部を設けるという技術手段を採用し、請求項12の発明では、前記躯体側に回動自在に支持された上部支軸と地盤側に回動自在に支持された下部支軸との間に、それらの上部支軸と下部支軸との間の相対移動を抑制する手段を付加するという技術手段を採用した。
【0010】
【発明の実施の形態】
本発明に係る免震装置は、各種の建物の免震装置として広く適用することが可能である。前記中間支持体、上部支持体あるいは下部支持体の具体的構成や、それらの間の具体的な関連構成に関しては種々の形態が可能である。基本的な形態としては、中間支持体と上部支持体ないし下部支持体との間の相対移動を可能にする支持面を請求項1の発明のように中間支持体側に設ける形態と、請求項2の発明のように上部支持体ないし下部支持体側に設ける形態とがある。本発明の基本的な機能を得るには、前記上部支持体及び下部支持体の少なくとも一方を中間支持体と相対移動可能に接触させればよい。後述の各実施例のように、上部支持体及び下部支持体の双方を中間支持体に対して相対移動可能に接触させる形態を採用してもよいし、あるいは第10実施例のように下部支持体のみを中間支持体に対して相対移動可能に接触させるか、逆に上部支持体のみを中間支持体に対して相対移動可能に接触させる形態を採用することも可能である。その選択に応じて、中間支持体や上部支持体あるいは下部支持体の具体的構成も変化することになる。因みに、本発明に係る複数台の免震装置を上下方向に重ねて設置する形態も可能である。
【0011】
前記中間支持体の盤状部に支持面を形成する形態に関しては、後述の各実施例で例示したように盤状部の中央部から放射状に凹状の曲面に形成したものが好例であるが、必ずしもこれに限定されるわけではない。平面からなるものでもよいし、凸状の曲面からなるものでもよい。また、上部支持体あるいは下部支持体と接触する可能性のある盤状部全体の放射方向の形状が曲面だけで形成される必要性はなく、途中に直線的な部分が混在してもよい。支持面の具体的形状に関しては、その支持面を中間支持体側に設置するか、あるいは上下の支持体側に設置するかに関わらず、上部支持体側との接触部と下部支持体側との接触部との間の上下方向の間隔が常に一定になる復帰機能を有しない形態に設定することも可能であるし、躯体側と地盤側との間の水平方向の相対移動距離に応じて前記間隔が増加する復帰機能を有する形態に設定することも可能である。また、その間隔の増加率の設定により復帰特性を調整することも可能である。さらに、後述の実施例のように、トリガ機能や動作範囲の規制に適した形状を取込むことも可能である。以上のように、中間支持体の盤状部あるいは上部支持体ないし下部支持体に形成する支持面の形状により、種々の特性を有する形態を容易に設定し得るところにも本発明の特徴が存在する。
【0012】
前記中間支持体は、その中心部に形成した中央孔を、躯体側に対していずれの方向にも傾斜し得るように回動自在に支持された上部支軸及び地盤側に対していずれの方向にも傾斜し得るように回動自在に支持された下部支軸に遊嵌することにより、それらの支軸の軸線に沿って相対移動可能に組付けることが可能である。その場合に、それらの上部支軸と下部支軸の先端部間をゴム等の弾性材等からなる伸縮材にて連結し、適度の初期張力を付加してトリガ機能を付加したり、復帰特性や減衰特性を向上することも可能である。なお、中間支持体の中央孔と各支軸との遊嵌状態における両者間の摩擦作用を減衰機能に活用することも可能である。また、前記上部支軸と下部支軸の先端部間に油圧ダンパや空圧ダンパ等の流体圧ダンパ手段を組込み、その減衰特性を調整することにより、免震装置としてのトリガ機能や減衰機能を付加することも可能である。さらに、前記上部支軸と下部支軸の先端部間をワイヤ等で連結することにより、免震装置としての動作範囲を規制することも可能である。以上のように、上部支軸と下部支軸の先端部間に設置する連結手段により種々の機能を付加し得るところにも本発明の特徴が存在する。なお、場合に応じて、上述の各形態を選定して組合わせ構成することが可能なことはいうまでもない。因みに、後述の第9実施例及び第12実施例のように、中間支持体を移動可能に貫通支持する支軸として1本からなる長尺の支軸を使用し、その支軸の下端部を下部支持体に設けた自在支持部を介して回動自在に支持するとともに、他側を上部支持体に設けた自在支持部を移動可能に貫通させて上方へ突出させ、前記自在支持部おいて回動自在に支持した形態も可能である。
【0013】
【実施例】
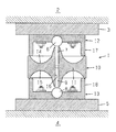
図1は本発明に係る第1実施例の設置状態を示した縦断面図である。図示のように、本発明に係る免震装置1は、躯体側2に設置した座板3と基礎コンクリート等の地盤側4に設置した座板5との間に設置される。本実施例では、免震装置1が、躯体側2に球面自在軸受け等の自在支持部6を介してあらゆる方向に傾斜し得るように回動自在に支持した上部支軸7と同様に地盤側4に自在支持部8を介して回動自在に支持した下部支軸9とを結ぶ軸線に沿って相対移動可能に設けた中間支持体10と、この中間支持体10の盤状部11の上面と躯体側2との間に配設した上部支持体12と、中間支持体10の盤状部11の下面と地盤側4との間に配設した下部支持体13とから構成される場合を示した。図1は躯体側2の特定点としての自在支持部6と地盤側4の特定点としての自在支持部8との間に水平方向のズレがない平常状態における設置状態を示したものである。
【0014】
本実施例では、前記中間支持体10の盤状部11の上下面に形成した上部支持面14及び下部支持面15は、図示のようにその盤状部11の中央部から放射状に凹状の曲面になるように形成した。また、中間支持体10の中心部に形成した中央孔部16に上部支軸7と下部支軸9の自由端側を移動可能に遊嵌するように構成した。上部支持体12及び下部支持体13は、有底の低い円筒状に形成し、それらの底部をそれぞれ座板3,5に対して植込みボルトとナットを用いて固定した。それらの上部支持体12及び下部支持体13の筒状部17,18の端部は、中間支持体10の盤状部11の上下面に形成した上部支持面14及び下部支持面15に相対移動可能に接触させ、それらの接触を介して躯体側2の荷重を上部支持体12、中間支持体10、下部支持体13へ順次伝達して地盤側4によって支持するように構成した。なお、上部支持体12及び下部支持体13の筒状部17,18の端部は、上部支持面14あるいは下部支持面15との間の相対移動の円滑性のために円弧状断面が好適であるが、他の断面形状のものでもよい。さらに、その筒状部17,18の端部に相対移動の円滑性を改善するための滑り材や鋼製ボールないし小さいベアリング等を付設してもよいし、両支持面14,15を自己潤滑材料で構成したりメッキを施したりしてもよい。また、それらの接触部に潤滑油や防錆材を供給するようにしたり、摩擦低減材を塗布したり、貼付したり、含浸させたりしてもよい。さらに、中間支持体10の周囲をジャバラ等の防塵用のカバー材により外部と遮断するようにしてもよい。
【0015】
図2は前記第1実施例の要部の挙動を示した動作説明図である。状態(A)は、躯体側2と地盤側4との間に水平方向のズレがない平常状態を示したものであり、図示のように、上部支持体12の筒状部17の下端部が中間支持体10の盤状部11の上部支持面14の周辺部の円周上に線接触するとともに、下部支持体13の筒状部18の上端部が前記盤状部11の下部支持面15の周辺部の円周上に線接触した状態で安定的に停止している。この状態では、躯体側の荷重は、それらの円周上の線接触を介して上部支持体12、中間支持体10、下部支持体13へと順次伝達され、地盤側によって支持されている。
【0016】
しかして、地震等の外力が作用し、その水平方向成分により躯体側2と地盤側4との間に水平方向の相対的な変位が生じると、状態(B)に示したように上部支軸7と下部支軸9が中央孔部16内を相対移動しながら、自在支持部6,8を中心に回動して傾斜する。すなわち、図示のように、上部支軸7と下部支軸9が特定点としての自在支持部6,8を結ぶ軸線上に変位する。この上部支軸7と下部支軸9の傾斜に伴って中間支持体10も傾斜し、上部支持体12及び下部支持体13の筒状部17,18の端部と中間支持体10の盤状部11の上部支持面14ないし下部支持面15との接触部が移動して、躯体側2の荷重を支持しながら地盤側4との相対的な変位を吸収することになる。そして、躯体側2と地盤側4との間の相対的な変位が更に大きくなると、状態(C)に示したように、より大きな傾斜状態に移行することになる。また、躯体側2と地盤側4との間の相対的な変位が縮小すれば、逆に辿って傾斜角が縮小する方向に移行することになる。なお、上部支軸7及び下部支軸9と中間支持体10の中央孔部16との案内支持関係を長く設定しておけば、理論的には状態(C)から更に相対変位が増えた場合にも対応することができる。
【0017】
なお、本実施例では、図示のように、状態(A)から状態(B)、状態(C)へと移行しても、上部支持体12の筒状部17の下端部と上部支持面14との接触部と、下部支持体13の筒状部18の上端部と下部支持面15との接触部の間の間隔Saが常に一定になるように両支持面14,15の形状を設定した場合を示した。これにより、本実施例では、自在支持部6は水平の軌道Aを辿り、躯体側2と地盤側4との間の水平方向の相対移動距離に関係なく、上部支持体12の上面と下部支持体13の下面との間の上下方向の間隔St、すなわち躯体側2と地盤側4との間の支持間隔が常に一定になる。因みに、本実施例の場合には、復帰機能を有していないことから、復帰手段を別に設ける必要がある。なお、地震エネルギ等の外部エネルギは、主として上部支持体12及び下部支持体13の筒状部17,18の端部と中間支持体10の盤状部11に形成した上部支持面14ないし下部支持面15との接触部における摩擦により減衰されることになる。
【0018】
図3は本発明に係る第2実施例の要部の挙動を示した動作説明図である。なお、以下の説明では、前記第1実施例と共通している構成部分には同じ符号を使用して説明する。本実施例は、前記第1実施例に復帰機能を付加した点で特徴を有する。その復帰機能の付加のため、本実施例では、平常状態の状態(A)から状態(B)、更に状態(C)へ移行するにつれて、自在支持部6が軌道Bで示したように徐々に上昇するように、中間支持体19の盤状部20の上下面に形成した凹状曲面からなる上部支持面21及び下部支持面22の具体的形状を設定した。すなわち、上部支持体12の筒状部17の下端部と上部支持面21との接触部と、下部支持体13の筒状部18の上端部と下部支持面22との接触部の間の間隔Sbが、状態(A)から状態(B)、更に状態(C)へ移行するにつれて徐々に増加するように、前記上部支持面21及び下部支持面22の具体的形状を設定した。これにより、本実施例の場合には、状態(A)から状態(B)、更に状態(C)へ移行するにつれて、上部支持体12と共に躯体側2が徐々に上昇して位置のエネルギを蓄えることになる。したがって、位置のエネルギが減少する状態(A)側への復帰機能が付加されることになる。その具体的な復帰特性は、前記間隔Sbの変化率の設定を介して調整することができる。
【0019】
図4は本発明に係る第3実施例の要部の挙動を示した動作説明図である。本実施例は、前記第1実施例にトリガ機能を付加した点で特徴を有する。図示のように、本実施例では、状態(A)で示した平常状態において、上部支持体12の筒状部17の下端部が中間支持体23の盤状部24の上面に形成した凹状曲面からなる上部支持面25の周辺部に線接触するとともに、下部支持体13の筒状部18の上端部が前記盤状部24の下面に形成した凹状曲面からなる下部支持面26の周辺部に線接触した状態で安定的に停止している。図5の部分拡大図で示したように、上部支持面25及び下部支持面26の周辺部には、トリガ機能を奏する小さな平坦面からなるトリガ当接部27,28を形成している。なお、それらのトリガ当接部27,28としては、当接状態の安定性や動作の円滑性の観点から平坦面が適しているが、他の形状も可能である。因みに、本実施例では、躯体側2と地盤側4との間の相対的移動の開始時にトリガ当接部27,28を介して躯体側2が上昇するように構成し、その躯体側2の上昇に伴う強力な対抗力よりトリガ機能を奏する場合を例示したが、円周上の線接触による摩擦のみに基づく安定性を活用した、躯体側2の上昇を伴わない形態によってもトリガ機能を奏することは可能である。また、中間支持体23の中央の支軸遊嵌部の下端部と下部支持体13側の適宜部位との間及び/又は中間支持体23の中央の支軸遊嵌部の上端部と上部支持体12側の適宜部位との間にスプリング等の適宜の弾性手段を介在させて、トリガ当接部27,28に作用する荷重の度合を調整することによりトリガ機能を調整し得るように構成することも可能である。
【0020】
しかして、本実施例において地震等の外力が作用した場合には、平常状態の状態(A)から状態(B)へ移行する際に、上部支持体12の筒状部17の下端部及び下部支持体13の筒状部18の上端部と、中間支持体23の盤状部24の上下面に形成した上部支持面25及び下部支持面26の周辺部に形成したトリガ当接部27,28との接触部の軌跡との関係から、自在支持部6は軌道Cを辿ることから、状態(B)へ移行するには上部支持体12と共に躯体側2を持上げる必要がある。すなわち、平常状態の状態(A)から状態(B)への移動開始時に、その移動を抑制するかなり強力なトリガ機能が作用することになる。状態(B)に至った後は、前記第1実施例の場合と同様の動作過程を経て状態(C)へ移行する。なお、以上では、第1実施例にトリガ機能を付加した場合を示したが、第2実施例に適用することにより、復帰機能とトリガ機能を付加し得ることはいうまでもない。
【0021】
図6は本発明に係る第4実施例の要部の挙動を示した動作説明図である。本実施例は、免震装置としての動作範囲を規制する動作規制部を付加した点で特徴を有する。図示のように、本実施例では、中間支持体29の盤状部30の上下面に形成した凹状曲面からなる上部支持面31及び下部支持面32の中央部側に形成した係止段部33,34により動作範囲を規制するように構成した。すなわち、地震等の外力が作用し、状態(A)から状態(B)を経て状態(C)の状態に至った場合には、上部支持体12の筒状部17の下端部及び下部支持体13の筒状部18の上端部が係止段部33,34に係止して動作範囲を規制する。
【0022】
図7は本発明に係る第5実施例の要部の挙動を示した動作説明図である。本実施例は、第4実施例と同様に免震装置としての動作範囲を規制する動作規制部を付加した点で特徴を有する。図示のように、本実施例では、中間支持体35の盤状部36の上下面に形成した凹状曲面からなる上部支持面37及び下部支持面38の中央部側に規制用傾斜部39,40を設けて動作範囲を規制するように構成した。本実施例の場合には、地震等の外力が作用し、状態(A)から状態(B)を経て状態(C)の状態に至ると、上部支持体12の筒状部17の下端部及び下部支持体13の筒状部18の上端部が前記規制用傾斜部39,40に係合し、それ以後の上部支持体12と下部支持体13との相対移動には躯体側2の上昇が伴うことになる。この躯体側2の上昇にはより大きな水平方向の外力が必要なことから、逆に上部支持体12と下部支持体13との相対移動が抑制されて動作範囲が規制されることになる。なお、本実施例では動作範囲の規制手段として規制用傾斜部39,40を採用しているので、前記係止段部33,34に比べて規制作用が緩やかである。
【0023】
図8は本発明に係る第6実施例の要部を示した縦断面図である。本実施例の場合も、免震装置としての動作範囲を規制する動作規制部を付加した点で特徴を有する。図示のように、本実施例では、躯体側2に回動自在に支持された上部支軸7と地盤側4に回動自在に支持された下部支軸9との間をワイヤ41等によって連結することにより、それらの上部支軸7と下部支軸9との間の相対移動を所定の範囲に制限するという技術手段を採用した。すなわち、図示のようにワイヤ41が張った時点で、免震装置としての動作が規制されることになる。なお、以上の第4実施例から第6実施例の動作規制手段を複数採用して同時に設置することも可能である。
【0024】
図9は本発明に係る第7実施例の要部を示した縦断面図である。本実施例は、躯体側2に回動自在に支持された上部支軸7と地盤側4に回動自在に支持された下部支軸9との間に、それらの上部支軸7と下部支軸9との間の相対移動を抑制する手段を付加した点で特徴を有する。図示のように、本実施例では、上部支軸7と下部支軸9との間の相対移動を抑制する手段として、それらの上部支軸7と下部支軸9との間をゴム等の弾性材などからなる減衰機能を有する伸縮材42を用いて連結するという技術手段を採用した。しかして、地震等の外力が作用して状態(A)から状態(B)に移行する場合には伸縮材42の伸長を伴うことから、その伸縮材42に適度の初期張力を付加してトリガ機能を付加したり、復帰特性や減衰特性を向上したりすることが可能である。
【0025】
図10は本発明に係る第8実施例の要部を示した縦断面図である。本実施例は、躯体側2に回動自在に支持された上部支軸43と地盤側4に回動自在に支持された下部支軸44との間に、それらの相対移動を抑制する手段を付加した点で特徴を有する。図示のように、本実施例では、上部支軸43と下部支軸44との間の相対移動を抑制する手段として、それらの上部支軸43と下部支軸44との間に油圧ダンパないし空圧ダンパからなる従来の流体圧ダンパ手段を組込み、例えば上部支軸43内に設置する図示しない絞り部を流通する際の流体抵抗により減衰機能を付加するというダンパ技術を採用した。しかして、地震等の外力が作用した場合には、上部支軸43と下部支軸44が傾斜して、それらの間に相対的な移動が生じることになるが、その際には前記流体圧ダンパ手段の減衰機能が作用する。したがって、その流体圧ダンパ手段の減衰特性を適当に調整することにより、免震装置としてのトリガ機能や減衰機能を付加することができる。さらに、上部支軸43と下部支軸44との自由端側の嵌合部をテーパ状の外面と内面に形成して注油した状態で遊嵌することにより、その間の相対移動を抑制したり、移動範囲を規制したりすることも可能である。なお、図中45は防塵機能を有する軸受部である。
【0026】
図11は本発明に係る第9実施例の要部を示した縦断面図である。本実施例は前記第1実施例の変形例である。本実施例に係る免震装置46は、中間支持体47を移動可能に貫通支持する支軸として1本からなる長尺の支軸48を使用した点に特徴がある。支軸48の下端部は、下部支持体49に設けた球面自在軸受け等の自在支持部50を介してあらゆる方向に傾斜し得るように回動自在に支持している。また、支軸48の他側は、上部支持体51に設けた自在支持部52を移動可能に貫通して上方に突出した状態にあり、前記自在支持部52おいて回動自在に支持されている。そして、自在支持部52から突出した支軸48の上部は、上部支持体51に形成した開口部53、上部座板54に形成した開口部55及び躯体側2に形成した開口部56を介して上方に延びた状態に設置される。因みに、本実施例に係る免震装置46の地震時における免震動作に関しては、前記第1実施例と基本的に異なるところはなく、同様の挙動を示す。
【0027】
図12は本発明に係る第10実施例の要部を示した縦断面図であり、図13はその要部の挙動を示した動作説明図である。本実施例に係る免震装置は、上述の各実施例が上部支持体12及び下部支持体13を共に中間支持体の盤状部の上下面に形成した上部支持面あるいは下部支持面に相対移動可能に接触させた形態を採用しているのに対して、下部支持体のみを中間支持体の盤状部の下部支持面に対して相対移動可能に接触させる形態を採用した点で大きな特徴を有する。図12に示したように、本実施例に係る免震装置57は、躯体側2に設置した座板3に固定される上板58と該上板58に固着された支軸体59とその先端部に設置された球状部60からなる上部支持体61と、前記球状部60に対してあらゆる方向に傾斜し得るように回動自在に嵌合する嵌合凹部62を有し、盤状部63の下面を放射方向に凹状の曲面に形成して下部支持面64を形成するとともに、中心部に中央孔65を形成した中間支持体66と、有底筒状からなり、底部67を介して基礎コンクリート等の地盤側4に設置した座板5に固着されるとともに、その底部67の上面中央部に、前記中間支持体66の中央孔65に相対移動可能に挿入される下部支軸68の下端部を球面自在軸受け等の自在支持部69を介してあらゆる方向に傾斜し得るように回動自在に支持し、筒状部70の上端部を前記中間支持体66の盤状部63の下面に形成した下部支持面64に相対移動可能に接触させた下部支持体71とから構成した。なお、前記支軸体59に関しては、上方がより大径からなるテーパ状等に形成することも可能である。さらに、本実施例では、前記球状部60の下部に円錐状の嵌合凹部72を形成するとともに、下部支軸68の先端部にその嵌合凹部72に嵌合し得る円錐状の嵌合凸部73を形成し、平常の設置状態において、それらの嵌合凹部72と嵌合凸部73とを嵌合させることにより、トリガ機能を付加するように構成している。
【0028】
しかして、地震等の外力が作用した場合には、図13に示したように、状態(A)で示した平常の設置状態から、上部支持体61と下部支持体71との相対変位量に応じて、状態(B)、状態(C)へと移行することになる。状態(A)から状態(B)への移行の際には、前記球状部60の下部に形成した嵌合凹部72と下部支軸68の先端部に形成した嵌合凸部73を嵌合状態から脱出させる必要があるため、これがトリガ手段として機能する。しかる後は、下部支持体71の筒状部70の上端部が中間支持体66の盤状部63の下面に形成した凹状曲面からなる下部支持面64と接触しながら相対移動することにより、前述の実施例と同様に、躯体側2と地盤側4との間の絶縁機能を奏することになる。因みに、本実施例の場合には、上部支持体61が中間支持体66と一体的に動作するため、吸収し得る水平方向の相対変位量は、前述の実施例の半分になる。なお、図13に示した実施例においては、水平方向の相対変位に対して上板58の上面と下部支持体71の底部67の下面との間の間隔が一定の復帰機能を有しない場合を例示したが、前述の実施例の場合と同様に、中間支持体66の盤状部63の下面に形成する凹状曲面からなる下部支持面64の具体的形状に関する設定の仕方により、水平方向の相対変位に応じて上板58の上面と下部支持体71の底部67の下面との間の間隔が増えるように設定することにより、復帰機能を付加することも可能である。その他、前述の各実施例で説明した技術手段は、必要に応じて本実施例に適用することも可能である。
【0029】
次に、図14〜図18を用いて他の形態の実施例に関して説明する。図14は本発明に係る第11実施例の要部を示した縦断面図である。図示のように、本発明に係る免震装置74は、前述の各実施例と同様に、躯体側2に設置した座板3と基礎コンクリート等の地盤側4に設置した座板5との間に設置される。本実施例では、座板3を挟んで躯体側2に固定した上部支持体75の下面周辺部に上部支持面76を形成するとともに、下面中央部に球面自在軸受け等からなる自在支持部77を配設し、その自在支持部77を介して上部支軸78をあらゆる方向に傾斜し得るように回動自在に支持した。また、座板5を挟んで地盤側4に固定した下部支持体79の上面周辺部に下部支持面80を形成するとともに、上面中央部に球面自在軸受け等からなる自在支持部81を配設し、その自在支持部81を介して上部支軸82をあらゆる方向に傾斜し得るように回動自在に支持した。図示のように、それらの上部支持体75と下部支持体79との間には、中間支持体83が配設される。この中間支持体83は、中央に位置する支軸嵌合部84と、周辺部に位置する筒状部85と、それらの支軸嵌合部84と筒状部85とを連結する連結板部86とから構成される。前記上部支軸78と下部支軸82は、支軸嵌合部84に形成した中央孔部87に上下から遊嵌され、中間支持体83を自在支持部77,81を結ぶ軸線に沿って相対移動可能に支持する。また、中間支持体83の筒状部85は、その上端部を上部支持体75の下面周辺部に形成した上部支持面76に当接するとともに、下端部を下部支持体79の上面周辺部に形成した下部支持面80に当接するとにより、上部支持体75に作用する躯体側2の荷重を下部支持体79を介して地盤側4に伝達するように構成されている。なお、前述のように、前記上部支軸78ないし下部支軸82と中央孔部87との嵌合状態に関しては、軸線方向の移動のみを許容し、相対的な回転は阻止するように構成してもよい。
【0030】
図15は中間支持体に関する実施例を示した横断面図である。図中、実施例Aとして示した形状は、図14に示した第11実施例に使用した中間支持体83のA−A断面を示したものである。図示のように、この中間支持体の横断面形状に関しては、実施例B〜Eに例示したように、支軸嵌合部84と筒状部85とを、前記連結板部86に替えて、適宜数の連結片部88にて連結するように構成することにより、それらの連結片部88相互間に空間部89を形成し、材料の削減や軽量化を図ることも可能である。
【0031】
図16は前記第11実施例の要部の挙動を示した動作説明図である。状態(A)は、躯体側2と地盤側4との間に水平方向のズレがない平常状態を示したものである。図示のように、中間支持体83の筒状部85の上端部及び下端部が上部支持体75に形成した上部支持面76及び下部支持体79に形成した下部支持面80に対してそれぞれ円周上に線接触した状態にあり、安定的に停止している。この状態では、躯体側2の荷重は、それらの円周上の線接触を介して上部支持体75、中間支持体83、下部支持体79へと順次伝達され、地盤側4によって支持されている。
【0032】
しかして、地震等の外力が作用し、その水平方向成分により躯体側2と地盤側4との間に水平方向の相対的な変位が生じると、状態(B)に示したように上部支軸78と下部支軸82が中間支持体83の支軸嵌合部84に形成した中央孔部87内を相対移動しながら、自在支持部77,81を中心に回動して傾斜する。すなわち、図示のように、上部支軸78と下部支軸82が特定点としての自在支持部77,81を結ぶ軸線上に変位する。この上部支軸78と下部支軸82の傾斜に伴って中間支持体83も傾斜し、上部支持体75及び下部支持体79の支持面76,80と中間支持体83の筒状部85の上下端部との接触部が移動して、躯体側2の荷重を支持しながら地盤側4との相対的な変位を吸収することになる。そして、躯体側2と地盤側4との間の相対的な変位が更に大きくなると、状態(C)に示したように、より大きな傾斜状態に移行することになる。また、躯体側2と地盤側4との間の相対的な変位が縮小すれば、逆に辿って傾斜角が縮小する方向に移行することになる。
【0033】
なお、本実施例では、図示のように、状態(A)から状態(B)、状態(C)へと移行しても、中間支持体83の筒状部85の上端部と上部支持体75に形成した上部支持面76との接触部と、中間支持体83の筒状部85の下端部と下部支持体79に形成した下部支持面80との接触部との間の間隔が常に一定になるように両支持面76,80の形状を設定した場合を示した。これにより、本実施例では、躯体側2と地盤側4との間の水平方向の相対移動距離に関係なく、上部支持体75の上面と下部支持体79の下面との間の上下方向の間隔、すなわち躯体側2と地盤側4との間の支持間隔が常に一定に保持されることになる。なお、本実施例の場合には、復帰機能を有していないことから、復帰手段を別に設ける必要がある。因みに、前述の実施例の場合と同様に、上部支持体75及び下部支持体79に形成する支持面76,80の形状を変え、躯体側2と地盤側4との間の水平方向の相対変位に応じて、上部支持体75の上面と下部支持体79の下面との間の上下方向の間隔が増大するように設定すれば、復帰機能を付加することも可能である。
【0034】
図17は本発明に係る第12実施例の要部を示した縦断面図である。本実施例は前記第11実施例の変形例である。本実施例に係る免震装置90は、中間支持体91を移動可能に貫通支持する支軸として1本からなる長尺の支軸92を使用した点に特徴がある。支軸92の下端部は、下部支持体93に設けた球面自在軸受け等の自在支持部94を介してあらゆる方向に傾斜し得るように回動自在に支持している。また、支軸92の他側は、上部支持体95に設けた自在支持部96を移動可能に貫通して上方に突出した状態にあり、前記自在支持部96おいて回動自在に支持されている。そして、自在支持部96から突出した支軸92の上部は、上部支持体95に形成した開口部97、上部座板98に形成した開口部99及び躯体側2に形成した開口部100を介して上方に延びた状態に設置される。
【0035】
図18は前記第12実施例の要部の挙動を示した動作説明図である。図示のように、本実施例に係る免震装置90の地震時における免震動作に関しては、前記第11実施例と基本的に異なるところはなく、同様の挙動を示す。すなわち、状態(A)に示した躯体側2と地盤側4との間に水平方向のズレがない平常状態において、地震等の外力が作用してその水平方向成分により躯体側2と地盤側4との間に水平方向の相対的な変位が生じると、状態(B)に示したように1本の長尺の支軸92が中間支持体91の支軸嵌合部101に形成した中央孔部102内を相対移動しながら、下部支持体93側に配設した下方の自在支持部94を中心に回動して傾斜する。すなわち、図示のように、支軸92が特定点としての自在支持部94,96を結ぶ軸線上に変位する。この支軸92の傾斜に伴って中間支持体91も傾斜し、その筒状部103の上端部と上部支持体95に形成した上部支持面104との接触部及び筒状部103の下端部と下部支持体93に形成した下部支持面105との接触部が移動して、躯体側2の荷重を支持しながら地盤側4との相対的な変位を吸収することになる。そして、躯体側2と地盤側4との間の相対的な変位が更に大きくなると、状態(C)に示したように、より大きな傾斜状態に移行することになる。また、躯体側2と地盤側4との間の相対的な変位が縮小すれば、逆に辿って傾斜角が縮小する方向に移行することになる。
【0036】
【発明の効果】
本発明によれば、次の効果を得ることができる。
(1)免震装置としての大きさの割に躯体側と地盤側との間の大きな相対的変位に対応することができ、大きな振幅に対する絶縁機能を得ることが可能である。
(2)中間支持体や上部支持体あるいは下部支持体に形成する支持面に関する具体的形状の設定の仕方により、復帰機能の有無や、その復帰特性を調整したり、更にはトリガ機能や動作範囲の規制も可能であり、設定の自由度がきわめて大きい。
(3)支軸として上部支軸と下部支軸の組合せを採用する場合には、それらの先端部間をゴム等の弾性材等からなる伸縮材にて連結し、適度の初期張力を付加してトリガ機能を付加したり、復帰特性や減衰特性を向上することも可能である。
(4)また、上部支軸と下部支軸の先端部間に流体圧ダンパ手段を組込み、その減衰特性を調整することにより、免震装置としてのトリガ機能や減衰機能を付加することも可能である。
(5)また、上部支軸と下部支軸の先端部間をワイヤ等で連結することにより、免震装置としての動作範囲を規制することも可能である。
【図面の簡単な説明】
【図1】 本発明に係る第1実施例の設置状態を示した縦断面図である。
【図2】 同第1実施例の要部の挙動を示した動作説明図である。
【図3】 第2実施例の要部の挙動を示した動作説明図である。
【図4】 第3実施例の要部の挙動を示した動作説明図である。
【図5】 同第3実施例の部分拡大図である。
【図6】 第4実施例の要部の挙動を示した動作説明図である。
【図7】 第5実施例の要部の挙動を示した動作説明図である。
【図8】 第6実施例の要部を示した縦断面図である。
【図9】 第7実施例の要部を示した縦断面図である。
【図10】 第8実施例の要部を示した縦断面図である。
【図11】 第9実施例の要部を示した縦断面図である。
【図12】 第10実施例の要部を示した縦断面図である。
【図13】 同第10実施例の要部の挙動を示した動作説明図である。
【図14】 第11実施例の要部を示した縦断面図である。
【図15】 中間支持体に関する実施例を示した横断面図である。
【図16】 同第11実施例の要部の挙動を示した動作説明図である。
【図17】 第12実施例の要部を示した縦断面図である。
【図18】 第12実施例の要部の挙動を示した動作説明図である。
【符号の説明】
1…免震装置、2…躯体側、3…座板、4…地盤側、5…座板、6…自在支持部、7…上部支軸、8…自在支持部、9…下部支軸、10…中間支持体、11…盤状部、12…上部支持体、13…下部支持体、14…上部支持面、15…下部支持面、16…中央孔部、17,18…筒状部、19…中間支持体、20…盤状部、21…上部支持面、22…下部支持面、23…中間支持体、24…盤状部、25…上部支持面、26…下部支持面、27,28…トリガ当接部、29…中間支持体、30…盤状部、31…上部支持面、32…下部支持面、33,34…係止段部、35…中間支持体、36…盤状部、37…上部支持面、38…下部支持面、39,40…規制用傾斜部、41…ワイヤ、42…伸縮材、43…上部支軸、44…下部支軸、45…軸受部、46…免震装置、47…中間支持体、48…支軸、49…下部支持体、50…自在支持部、51…上部支持体、52…自在支持部、53…開口部、54…上部座板、55,56…開口部、57…免震装置、58…上板、59…支軸体、60…球状部、61…上部支持体、62…嵌合凹部、63…盤状部、64…下部支持面、65…中央孔、66…中間支持体、67…底部、68…下部支軸、69…自在支持部、70…筒状部、71…下部支持体、72…嵌合凹部、73…嵌合凸部、74…免震装置、75…上部支持体、76…上部支持面、77…自在支持部、78…上部支軸、79…下部支持体、80…下部支持面、81…自在支持部、82…下部支軸、83…中間支持体、84…支軸嵌合部、85…筒状部、86…連結板部、87…中央孔部、88…連結片部、89…空間部、90…免震装置、91…中間支持体、92…支軸、93…下部支持体、94…自在支持部、95…上部支持体、96…自在支持部、97…開口部、98…上部座板、99,100…開口部、101…支軸嵌合部、102…中央孔部、103…筒状部、104…上部支持面、105…下部支持面

Claims (12)

  1. 少なくとも躯体側又は地盤側に対していずれの方向にも傾斜し得るように回動自在に支持された支軸に遊嵌することにより、躯体側の特定点と地盤側の特定点とを結ぶ軸線上に変位する前記支軸に対して相対移動可能に設けられた盤状部を有する中間支持体と、該中間支持体と躯体側との間に配設された上部支持体と、前記中間支持体と地盤側との間に配設された下部支持体とを備え、それらの上部支持体及び下部支持体の少なくとも一方を前記中間支持体の盤状部に形成した支持面に相対移動可能に接触させたことを特徴とする免震装置。
  2. 少なくとも躯体側又は地盤側に対していずれの方向にも傾斜し得るように回動自在に支持された支軸に遊嵌することにより、躯体側の特定点と地盤側の特定点とを結ぶ軸線上に変位する前記支軸に対して相対移動可能に設けられた筒状部を有する中間支持体と、該中間支持体と躯体側との間に配設された上部支持体と、前記中間支持体と地盤側との間に配設された下部支持体とを備え、それらの上部支持体及び下部支持体の少なくとも一方に形成した支持面に前記中間支持体の筒状部を相対移動可能に接触させたことを特徴とする免震装置。
  3. 前記中間支持体は、躯体側に回動自在に支持された上部支軸及び地盤側に回動自在に支持された下部支軸に対して、それらの軸線に沿って相対移動し得るように遊嵌した請求項1又は2に記載の免震装置。
  4. 前記中間支持体に地盤側に回動自在に支持された支軸を貫通させ、前記中間支持体を支軸の軸線に沿って相対移動可能に遊嵌するとともに、前記支軸の他側を躯体側に配設した自在支持部を貫通させて回動自在に支持した請求項1又は2に記載の免震装置。
  5. 前記中間支持体と該中間支持体に対して軸線方向に相対移動可能に遊嵌される支軸との間の相対回転運動を阻止するように構成した請求項3又は4に記載の免震装置。
  6. 前記上部支持体を前記中間支持体の盤状部の上部支持面に対して相対移動可能に接触させ、前記下部支持体を前記中間支持体の盤状部の下部支持面に対して相対移動可能に接触させた請求項1に記載の免震装置。
  7. 前記上部支持体が相対移動可能に接触する前記中間支持体の盤状部の上部支持面及び/又は前記下部支持体が相対移動可能に接触する前記中間支持体の盤状部の下部支持面を、その盤状部の中央部から放射方向に凹状の曲面とした請求項1に記載の免震装置。
  8. 前記躯体側の特定点と地盤側の特定点との間の水平方向の相対移動距離に関係なく、前記上部支持体と前記中間支持体側との接触部と、前記下部支持体と前記中間支持体側との接触部との間の上下方向の間隔が常に一定になるように設定した請求項1又は2に記載の免震装置。
  9. 前記躯体側の特定点と地盤側の特定点との間の水平方向の相対移動距離が大きくなるにつれて、前記上部支持体と前記中間支持体側との接触部と、前記下部支持体と前記中間支持体側との接触部との間の上下方向の間隔が大きくなるように設定した請求項1又は2に記載の免震装置。
  10. 前記躯体側の特定点と地盤側の特定点との間に水平方向のズレのない状態において、前記上部支持体及び/又は下部支持体と前記中間支持体が円周上で接触するように構成した請求項1又は2に記載の免震装置。
  11. 前記中間支持体の前記上部支持体及び/又は下部支持体との接触部に、それらの間の相対移動の範囲を規制する動作規制部を設けた請求項1又は2に記載の免震装置。
  12. 前記躯体側に回動自在に支持された上部支軸と地盤側に回動自在に支持された下部支軸との間に、それらの上部支軸と下部支軸との間の相対移動を抑制する手段を付加した請求項3に記載の免震装置。
JP2002247021A 2002-08-27 2002-08-27 免震装置 Expired - Fee Related JP3961908B2 (ja)

Priority Applications (1)

Application Number Priority Date Filing Date Title
JP2002247021A JP3961908B2 (ja) 2002-08-27 2002-08-27 免震装置

Applications Claiming Priority (1)

Application Number Priority Date Filing Date Title
JP2002247021A JP3961908B2 (ja) 2002-08-27 2002-08-27 免震装置

Publications (2)

Publication Number Publication Date
JP2004084313A JP2004084313A (ja) 2004-03-18
JP3961908B2 true JP3961908B2 (ja) 2007-08-22

Family

ID=32054767

Family Applications (1)

Application Number Title Priority Date Filing Date
JP2002247021A Expired - Fee Related JP3961908B2 (ja) 2002-08-27 2002-08-27 免震装置

Country Status (1)

Country Link
JP (1) JP3961908B2 (ja)

Families Citing this family (2)

* Cited by examiner, † Cited by third party
Publication number Priority date Publication date Assignee Title
JP5841043B2 (ja) * 2012-11-01 2016-01-06 有限会社藤井住建 木造建築の免震装置
CN119467608A (zh) * 2024-10-31 2025-02-18 华北水利水电大学 一种用于飞轮储能装置的隔减振装置

Also Published As

Publication number Publication date
JP2004084313A (ja) 2004-03-18

Similar Documents

Publication Publication Date Title
US6324795B1 (en) Seismic isolation system between floor and foundation comprising a ball and socket joint and elastic or elastomeric element
US4644714A (en) Earthquake protective column support
US3771270A (en) Self-centering horizontally translatable support/hold-down apparatus for building structures and the like
JP3361292B2 (ja) 免震装置の滑り支承
JP3961908B2 (ja) 免震装置
JP2000304089A (ja) 建造物の転倒防止装置と積層ゴムアイソレータの引抜き防止装置
US6367207B1 (en) Friction resistance generator
JP2020109246A (ja) 橋梁耐震装置
JP5601644B2 (ja) 制振装置を備えた免震装置及び制振装置付き免震構造物
JPH09158984A (ja) 免震装置
KR101173683B1 (ko) 구조물 지지장치
JP4439694B2 (ja) 高層建物の高減衰架構
JP4843881B2 (ja) 回転慣性力を利用した連結制振装置
JP2000266116A (ja) 揺動ベアリング式免震装置
JP2755868B2 (ja) 免震装置
JP4126436B2 (ja) 構造体用耐震システム及びこのシステムに利用可能な耐震連結装置
JP4434966B2 (ja) 軸組フレームの接続構造
JP4234036B2 (ja) 免震装置
JP4121787B2 (ja) 免震装置と免震構造体
JPH02248551A (ja) 建造物用免震装置
JP3732744B2 (ja) 免震方法およびその装置
AU6532099A (en) Friction resistance generator
JPH11294529A (ja) 免震装置
JP7501321B2 (ja) 増幅機構、及び、増幅機構の組立方法
JP2002213101A (ja) 免震装置および免震建物

Legal Events

Date Code Title Description
A621 Written request for application examination

Free format text: JAPANESE INTERMEDIATE CODE: A621

Effective date: 20050601

A977 Report on retrieval

Free format text: JAPANESE INTERMEDIATE CODE: A971007

Effective date: 20061019

A131 Notification of reasons for refusal

Free format text: JAPANESE INTERMEDIATE CODE: A131

Effective date: 20061101

A521 Written amendment

Free format text: JAPANESE INTERMEDIATE CODE: A523

Effective date: 20061227

A02 Decision of refusal

Free format text: JAPANESE INTERMEDIATE CODE: A02

Effective date: 20070214

A521 Written amendment

Free format text: JAPANESE INTERMEDIATE CODE: A523

Effective date: 20070315

A521 Written amendment

Free format text: JAPANESE INTERMEDIATE CODE: A523

Effective date: 20070413

A911 Transfer of reconsideration by examiner before appeal (zenchi)

Free format text: JAPANESE INTERMEDIATE CODE: A911

Effective date: 20070420

TRDD Decision of grant or rejection written
A01 Written decision to grant a patent or to grant a registration (utility model)

Free format text: JAPANESE INTERMEDIATE CODE: A01

Effective date: 20070515

A61 First payment of annual fees (during grant procedure)

Free format text: JAPANESE INTERMEDIATE CODE: A61

Effective date: 20070517

R150 Certificate of patent or registration of utility model

Free format text: JAPANESE INTERMEDIATE CODE: R150

FPAY Renewal fee payment (event date is renewal date of database)

Free format text: PAYMENT UNTIL: 20110525

Year of fee payment: 4

FPAY Renewal fee payment (event date is renewal date of database)

Free format text: PAYMENT UNTIL: 20130525

Year of fee payment: 6

FPAY Renewal fee payment (event date is renewal date of database)

Free format text: PAYMENT UNTIL: 20140525

Year of fee payment: 7

LAPS Cancellation because of no payment of annual fees